|
|
(21), (22) Заявка: 2006108874/06, 21.03.2006
(24) Дата начала отсчета срока действия патента:
21.03.2006
(43) Дата публикации заявки: 27.09.2007
(46) Опубликовано: 20.11.2008
(56) Список документов, цитированных в отчете о поиске:
RU 2132970 С1, 10.07.1999. RU 2215195 С1, 27.10.2003. US 2727680 А, 20.12.1955. ЕР 0867619 А, 30.09.1998. DE 1403083 А, 09.01.1969. FR 1141406 А, 02.09.1957.
Адрес для переписки:
127572, Москва, ул. Череповецкая, 15, кв.3, В.Г. Сергееву
|
(72) Автор(ы):
Караджи Вячеслав Георгиевич (RU), Московко Юрий Георгиевич (RU)
(73) Патентообладатель(и):
Караджи Вячеслав Георгиевич (RU), Московко Юрий Гергиевич (RU), Балакирев Евгений Борисович (RU)
|
(54) РАДИАЛЬНЫЙ ВЕНТИЛЯТОР (ВАРИАНТЫ)
(57) Реферат:
Изобретение относится к радиальным вентиляторам в спиральном корпусе и их входным устройствам. Технический результата изобретения – увеличение напорной характеристики и коэффициента полезного действия вентилятора в рабочей зоне. Вентилятор содержит спиральный корпус 1, рабочее колесо с лопатками 8 и покрывным диском 7, входной коллектор с цилиндрическим участком, выходной патрубок 5, равный ширине L корпуса 1, кольцевой зазор между поверхностями коллектора и диска 7. В 1-м варианте пластина 12 вихрегасителя высотой hB=HB/D=10…0,16 установлена на внешней поверхности коллектора между меридиональными плоскостями, проходящими через линию полного раскрытия корпуса 1 и на 45° от указанной плоскости в сторону языка. Во 2-м варианте пластина 15 высотой hСП=НСП/D=10…0,14 соединена с корпусом 1 напротив лопаток 8 между меридиональными плоскостями, проходящими через линию наибольшего раскрытия корпуса 1 и носок языка. 2 н. и 10 з.п.ф-лы, 14 ил.
Изобретение относится к радиальным вентиляторам в спиральном корпусе и их входным устройствам.
Из уровня техники известны радиальные вентиляторы с направляющим аппаратом на входе в рабочее колесо.
В описании изобретения «Центробежный вентилятор», защищенного патентом РФ №2132970, МПК F04D 17/08, приоритет 21.01.1998 г., дата публикации 10.07.1999 г. [1], представлен радиальный вентилятор, содержащий спиральный корпус, оснащенный языком, установленное в корпусе на валу рабочее колесо с загнутыми назад лопатками и с конусным покрывным диском, входной коллектор с участками криволинейного профиля в меридиональном сечении, внешняя поверхность которого образует с внутренней поверхностью покрывного диска на входе в рабочее колесо кольцевой зазор, вихрегаситель, выполненный в виде, по меньшей мере, одной пластины, размещенной с внешней стороны входного коллектора перед кольцевым зазором в зоне наибольшего раскрытия корпуса, выходной патрубок, равный по ширине корпусу вентилятора.
В описании изобретения «Центробежный вентилятор», защищенного патентом РФ №2215195, МПК F04D 17/08, приоритет 27.04.2002 г., дата публикации 27.10.2003 г. [2], представлен радиальный вентилятор, содержащий спиральный корпус, установленное в нем на валу рабочее колесо с загнутыми назад лопатками и с конусным покрывным диском, входной коллектор с участками криволинейного профиля в меридиональном сечении, внешняя поверхность которого образует с внутренней поверхностью покрывного диска на входе в рабочее колесо окружной зазор, вихрегаситель, выполненный в виде, по меньшей мере, одной пластины, размещенной с внешней стороны входного коллектора перед окружным зазором в зоне наибольшего раскрытия корпуса, выходной патрубок, равный по ширине корпусу вентилятора, причем ширина корпуса L составляет 0,9…1,1 диаметра D рабочего колеса, входной коллектор содержит цилиндрический участок, длина входного коллектора LВХ составляет 0,48…0,63 диаметра D рабочего колеса, а диаметр входа DBX в рабочее колесо равен 0,66…0,69 диаметра D рабочего колеса. Изобретение [2] принято за наиболее близкий аналог вариантов изобретения.
Размещение пластины вихрегасителя в изобретениях [1, 2] в зоне наибольшего раскрытия корпуса обеспечивает получение высоких аэродинамических характеристик вентилятора, однако проведенные исследования показали возможность их улучшения.
Решаемой технической задачей является повышение эффективности вентилятора. Технический результат заключается в увеличении напорной характеристики и коэффициента полезного действия вентилятора в рабочей зоне.
Раскрытие вариантов изобретения
Радиальный вентилятор по 1-му варианту, как и в наиболее близком аналоге [2], содержит спиральный корпус, оснащенный языком, установленное в корпусе на валу рабочее колесо с загнутыми назад лопатками и с конусным покрывным диском, входной коллектор с участками криволинейного профиля в меридиональном сечении, внешняя поверхность которого образует с внутренней поверхностью покрывного диска на входе в рабочее колесо кольцевой зазор, вихрегаситель, выполненный в виде, по меньшей мере, одной пластины, размещенной с внешней стороны входного коллектора перед кольцевым зазором в зоне наибольшего раскрытия спирального корпуса, выходной патрубок, но в отличие от наиболее близкого аналога [2] пластина вихрегасителя расположена между двумя меридиональными плоскостями, одна из которых пересекает линию наибольшего раскрытия корпуса, а другая расположена под углом 45° от нее в сторону языка спирального корпуса, при этом высота пластины вихрегасителя составляет 0,10…0,12 диаметра рабочего колеса.
Радиальный вентилятор по 1-му варианту характеризуется тем, что ширина выходного патрубка равна ширине спирального корпуса, составляющей 0,9…1,1 диаметра рабочего колеса, входной коллектор содержит цилиндрический участок, длина входного коллектора составляет 0,48…0,63 диаметра рабочего колеса, а диаметр входа в рабочее колесо равен 0,66…0,69 диаметра рабочего колеса.
При этом внешняя кромка, по меньшей мере, одной пластины соприкасается с входным коллектором.
Кроме того, по меньшей мере, одна пластина вихрегасителя в диаметральном сечении расположена под углом ±10° к входному коллектору с отсчетом от меридионального направления навстречу направлению вращения рабочего колеса и под углом ±10° к плоскости, проходящей через ось вращения рабочего колеса.
Радиальный вентилятор по 1-му варианту характеризуется тем, что, по меньшей мере, одна пластина вихрегасителя выполнена плоской.
Радиальный вентилятор по 2-му варианту, как и в наиболее близком аналоге [2], содержит спиральный корпус, оснащенный языком, установленное в корпусе на валу рабочее колесо с загнутыми назад лопатками и с конусным покрывным диском, входной коллектор с участками криволинейного профиля в меридиональном сечении, внешняя поверхность которого образует с внутренней поверхностью покрывного диска на входе в рабочее колесо кольцевой зазор, вихрегаситель, выполненный в виде, по меньшей мере, одной пластины, размещенной с внешней стороны входного коллектора перед кольцевым зазором в зоне наибольшего раскрытия спирального корпуса, выходной патрубок, но в отличие от наиболее близкого аналога [2] радиальный вентилятор оснащен пластиной, установленной на стенке сужающейся части спирального корпуса напротив лопаток рабочего колеса между двумя меридиональными плоскостями, пересекающими соответственно линию наибольшего раскрытия спирального корпуса и носок языка спирального корпуса в сужающейся части спирального корпуса, примыкающей к линии наибольшего раскрытия корпуса, при этом высота пластины составляет 0,10…0,14 диаметра рабочего колеса.
Радиальный вентилятор по 2-му варианту характеризуется тем, что пластина на стенке спирального корпуса установлена под углом 70±5° к оси вращения рабочего колеса.
Радиальный вентилятор по 2-му варианту характеризуется тем, что, по меньшей мере, одна пластина, установленная в спиральном корпусе, выполнена плоской.
Радиальный вентилятор по 2-му варианту характеризуется тем, что пластина вихрегасителя расположена между проходящими меридиональными плоскостями, одна из которых пересекает линию наибольшего раскрытия корпуса, а другая расположена под углом 45° в сторону языка спирального корпуса, при этом высота пластины вихрегасителя составляет 0,10…0,12 диаметра рабочего колеса.
Радиальный вентилятор по 2-му варианту характеризуется тем, что ширина выходного патрубка равна ширине спирального корпуса, составляющей 0,9…1,1 диаметра рабочего колеса, входной коллектор содержит цилиндрический участок, длина входного коллектора составляет 0,48…0,63 диаметра рабочего колеса, а диаметр входа в рабочее колесо равен 0,66…0,69 диаметра рабочего колеса.
При этом, по меньшей мере, одна пластина вихрегасителя в меридиональном сечении расположена под углом ±10° к входному коллектору с отсчетом от радиального направления навстречу направлению вращения рабочего колеса и под углом ±10° к плоскости, проходящей через ось вращения рабочего колеса.
Радиальный вентилятор по 2-му варианту характеризуется тем, что, по меньшей мере, одна пластина вихрегасителя выполнена плоской.
Изобретение поясняется чертежами.
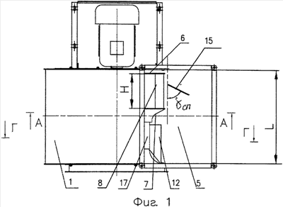
На фиг.1 представлен вентилятор при виде сверху.
На фиг.2 показан разрез А-А на фиг.1.
На фиг.3 показан разрез Б-Б на фиг.2.
На фиг.4 показан выносной элемент В на фиг.3.
На фиг.5 показан вид Д на фиг.4.
На фиг.6 дан разрез Г-Г на фиг.1.
На фиг.7 показан вид Е на фиг.4.
На фиг.8 показан выносной элемент Ж на фиг.2.
На фиг.9 представлен график зависимости коэффициента полного давления вентилятора от угла установки пластины вихрегасителя.
На фиг.10 представлен график зависимости коэффициента полезного действия вентилятора от угла установки пластины вихрегасителя.
На фиг.11 представлен график зависимости коэффициента полного давления вентилятора от высоты пластины вихрегасителя.
На фиг.12 представлен график зависимости коэффициента полезного действия вентилятора от высоты пластины вихрегасителя.
На фиг.13 представлен график зависимости коэффициента полного давления вентилятора от высоты пластины в спиральном корпусе.
На фиг.14 представлен график зависимости коэффициента полезного действия вентилятора от высоты пластины в спиральном корпусе.
Варианты радиального вентилятора устроены следующим образом.
Радиальный вентилятор в обоих вариантах содержит спиральный корпус 1 (фиг.1, 2, 3), установленное в нем рабочее колесо 2, вал 3 которого кинематически связан с энергоприводом, например с электродвигателем (фиг.3), входной коллектор 4 с криволинейным профилем в диаметральном сечении и выходной патрубок 5 (фиг.1, 3). Рабочее колесо 2 включает основной 6 и покрывной 7 диски и установленные между ними лопатки 8. Между внешней поверхностью 9 входного коллектора 4 (фиг.4), покрывным диском 7 и стенками корпуса 1 образуется циркуляционная камера 10 (фиг.3).
На входе в рабочее колесо 2 между внутренней поверхностью покрывного диска 7 и внешней поверхностью 9 входного коллектора 4 образован кольцевой зазор 11 (фиг.4, 5). По окружности с внешней стороны входного коллектора 4 размещен вихрегаситель, выполненный в виде, по меньшей мере, одной пластины.
В соответствии с 1-м вариантом выполнения радиального вентилятора, как показано на фиг.6, одна из пластин вихрегасителя, например пластина 12, установлена в секторе между условными меридиональными плоскостями (т.е. плоскостями, проходящими через ось 13 вращения рабочего колеса 2), одна из плоскостей (Пл.А, фиг.6) пересекает линию наибольшего раскрытия спирального корпуса 1, а другая (Пл.Б, фиг.6) расположена под углом 45 град. в сторону языка 14 спирального корпуса 1 (в системе координат на фиг.6, =0…-45°). Внутренняя кромка пластины 12 вихрегасителя соединена с поверхностью входного коллектора 4 (фиг.4, 7). Относительная высота hB пластины 12 вихрегасителя, равная отношению высоты HВ пластины 12 вихрегасителя к диаметру D рабочего колеса 2 (равного диаметру окружности, описываемой концами лопаток 8), составляет hВ=НВ/D=0,10…0,12. Пластина 12 вихрегасителя в диаметральном сечении может устанавливаться под углом =0±10° к входному коллектору 4 с отсчетом навстречу направлению вращения рабочего колеса 2 (фиг.5) и под углом =±10° относительно оси 13 вращения рабочего колеса 2 (фиг.7), а внешняя кромка пластины 12 может выполняться как прямолинейной (фиг.4), так и криволинейной (не показано).
В соответствии со 2-м вариантом радиальный вентилятор оснащен пластиной 15, установленной на стенке спирального корпуса 1 напротив лопаток 8 рабочего колеса 2 в сужающейся части спирального корпуса 1, примыкающей к линии наибольшего раскрытия корпуса, между условными меридиональными плоскостями, одна из которых проходит через носок 16 языка 14 спирального корпуса 1 (Пл.В, фиг.2), а другая (Пл.А, фиг.2) пересекает линию наибольшего раскрытия спирального корпуса 1 (фиг.1, 3). При этом относительная высота hСП пластины 15, равная отношению высоты НСП пластины 15 к диаметру D рабочего колеса 2 (фиг.8), составляет hСП=HСП/D=0,10…0,14. Пластина 15 установлена под острым углом СП к оси 13 вращения рабочего колеса (фиг.1) и может выполняться с прямолинейной или произвольной формой внешней и боковых кромок, с плоской или сложной поверхностью. При переменной ширине пластины 15 (например, при прямолинейной внешней кромке) высота НСП берется в ее средней части (на фиг.8). Длина пластины 15 может изменяться в широких пределах, однако, как правило, не превышает ширины Н лопаток 8 рабочего колеса 2.
В предпочтительном выполнении радиальный вентилятор по 1-му варианту содержит одну плоскую пластину 12 вихрегасителя, которая соприкасается кромкой с внешней поверхностью 9 входного коллектора 4 и установлена под углами В=0° и В=0°, входной коллектор 4 выполнен с цилиндрической вставкой 17, длина LВХ входного коллектора 4 составляет 0,48…0,63 диаметра D рабочего колеса 2, диаметр DВХ всасывающего патрубка 4 на входе в рабочее колесо 2 равен 0,66…0,69 диаметра D рабочего колеса 2, ширина Н лопаток 8 рабочего колеса 2 равна не менее 0,35 диаметра D рабочего колеса 2, ширина выходного патрубка 5 равна ширине L спирального корпуса 1 вентилятора и составляет 0,9…1,1 диаметра D рабочего колеса 2: LВХ=(0,48…0,63)D; DВХ=(0,66…0,69)D; H 0,35D; L=(0,9…1,1)D (фиг.1, 3). В предпочтительном выполнении вентилятора по 2-му варианту дополнительно установлена пластина 15 под углом СП=70±10° к оси 13 вращения рабочего колеса 2, расположенная ближе к меридиональной плоскости Пл.В, проходящей через носок 16 языка 14 спирального корпуса 1 (фиг.2).
Радиальный вентилятор работает следующим образом.
При вращении рабочего колеса 2 за счет зазоров между лопатками 8 и стенками спирального корпуса 1, а также входного коллектора 4 и вращающейся внешней поверхности покрывного диска 7 в циркуляционной камере 10 возникает закрученное тороидальное (вихревое) течение. Установка вихрегасителя, содержащего, по меньшей мере, одну пластину 12, обеспечивает торможение тороидального (вихревого) течения, что сопровождается повышением давления в циркуляционной камере 10 перед кольцевым зазором 11. В результате разности давления в циркуляционной камере 10 и на входе в рабочее колесо 2 через кольцевой зазор 11 на внутреннюю поверхность покрывного диска 7 выдувается кольцевая струя и увеличивается импульс струи, формируемой в кольцевом зазоре 11. Это создает дополнительное разрежение на внутренней поверхности покрывного диска 7, снижающее интенсивность вихря и, следовательно, уменьшающее аэродинамические потери не только на входе в рабочее колесо 2, но и вентилятора в целом.
Зависимость коэффициента полного давления =2PV/ u2 и коэффициента полезного действия В (КПД) вентилятора при постоянных величинах коэффициента производительности =4Q/ D2u (где Q – производительность вентилятора, РV – полное давление, D – диаметр рабочего колеса 2 вентилятора, u – окружная скорость концов лопаток 8 рабочего колеса 2 вентилятора, – плотность воздуха) от места установки пластины 12 вихрегасителя, полученная в экспериментах с вентилятором, выполненным по 1-му варианту, представлена соответственно на фиг.9 и фиг.10. В соответствии с графиками на фиг.9, 10 в диапазоне углов установки пластины 12 вихрегасителя от 0° до 45° в сторону языка 14 (в представленной на фиг.6 системе координат положительная величина углов отсчитывается от Пл.А в сторону сужения корпуса 1, поэтому диапазон углов составляет =0°…45°) расположены максимумы КПД В и коэффициента полного давления . С ростом коэффициента производительности вентилятора максимумы становятся более выраженными и по мере приближения к границе указанного диапазона углов модули производных d /d и d /d уменьшается. Изменение относительной высоты hВ пластины 12 вихрегасителя, как показано на фиг.11 и 12, также влияет на величину полного давления и КПД В вентилятора с максимумом в диапазоне hВ=0,10…0,12. Это, по всей видимости, связано с толщиной вовлеченного в движение воздуха при вращении переднего диска 7 и возникающей за пластиной 12 застойной зоны. При малой высоте hВ=HВ/D пластины 12 не обеспечивается торможение струи на полной ее толщине, что снижает импульс струи, формирующейся в окружном зазоре 11. При большой высоте пластины 12 за ней возникает застойная зона, вследствие чего из вытекающей в кольцевой зазор 11 струи подсасывается воздух, что снижает импульс струи, вытекающей на поверхность переднего диска 7, причем высота hВ пластины 12 имеет достаточно четко выраженные величины, при которых достигается максимум коэффициентов и В. Это подтверждает существенность признака, касающегося выбранных границ установки вихрегасителя.
При выполнении пластины 12 изогнутой аэродинамические потери меньше, чем при выполнении пластины 12 плоской. Углы В, В установки изогнутой пластины 12 и профиль канала в окружном зазоре 11 должны быть оптимизированы в зависимости от параметров и условий эксплуатации вентилятора. Однако сопряжение пластины 12 с внешней поверхностью 9 входного коллектора 4 имеет сложный пространственный контур, что усложняет технологию изготовления направляющего аппарата центробежного вентилятора.
Выполнение пластины 12 плоской с внешней кромкой, соприкасающейся с внешней поверхностью 9 входного коллектора 4, и расположение пластины 12 вдоль образующей в диаметральном сечении входного коллектора 4 под углом =±10° навстречу направлению вращения рабочего колеса 2 обеспечивает технологичность изготовления вихрегасителя и вентилятора в целом. Размещение пластины 12 под углом =±10° обусловлено снижением требований к точности соединения пластины 12 с внешней поверхностью 9 входного коллектора 4 и практически мало влияет на технический результат.
Коэффициенты полного давления и полезного действия В вентилятора, выполненного по 2-му варианту, при изменении относительной высоты hСП=HСП/D пластины 15 также имеют максимум (фиг.13 и фиг.14). Наличие пластины способствует более равномерному распределению поля скоростей в выходном коллекторе 5 посредством направления части потока в сторону стенки спирального корпуса 1. При расположении пластины 15 ближе к выходному коллектору 5 от меридиональной плоскости Пл.А не достигается достаточной равномерности поля скоростей, как и при расположении пластины 15 в сторону сужения спирального корпуса 1 от меридиональной плоскости Пл.В.
Выполнение входного коллектора 4 длиной LВХ=(0,48…0,63)D за счет цилиндрического участка 17 с диаметром входа в рабочее колесо 2 равным DВХ=(0,66…0,69)D обеспечивает повышение равномерности входящего в рабочее колесо 2 потока, что затягивает отрыв пограничного слоя с поверхности покрывного диска 7 и с лопаток 8 рабочего колеса 2 при его вращении. В результате можно увеличить ширину Н лопаток 8 до 0,35 и выше диаметра D рабочего колеса 2: H 0,35D. Это дает возможность увеличить ширину L корпуса до L=(0,9…1,1)D, вследствие чего увеличивается статическое давление выходящего потока вентилятора как по 1-му, так и по 2-му варианту выполнения. Выполнение выходного патрубка 5 и спирального корпуса 1 одинаковой ширины L упрощает технологию изготовления вентилятора.
Представленные в описании варианты радиальных вентиляторов в спиральном корпусе могут быть изготовлены на любом специализированном предприятии. Реализация изобретения обеспечивает достижение заявленного технического результата. Параметры вихрегасителя, выполненного в виде пластины 12, размеры окружного зазора 11, а также параметры и место установки пластины 15 в спиральном корпусе 1 могут быть оптимизированы в указанных диапазонах углов в зависимости от условий эксплуатации и характеристик вентилятора.
Формула изобретения
1. Радиальный вентилятор, содержащий спиральный корпус, оснащенный языком, установленное в корпусе на валу рабочее колесо с загнутыми назад лопатками и с конусным покрывным диском, входной коллектор с участками криволинейного профиля в меридиональном сечении, внешняя поверхность которого образует с внутренней поверхностью покрывного диска на входе в рабочее колесо кольцевой зазор, вихрегаситель, выполненный в виде, по меньшей мере, одной пластины, размещенной с внешней стороны входного коллектора перед кольцевым зазором в зоне наибольшего раскрытия спирального корпуса, выходной патрубок, отличающийся тем, что пластина вихрегасителя расположена между двумя меридиональными плоскостями, одна из которых пересекает линию наибольшего раскрытия корпуса, а другая расположена под углом 45° от нее в сторону языка спирального корпуса, при этом высота указанной пластины вихрегасителя составляет 0,10…0,12 диаметра рабочего колеса.
2. Радиальный вентилятор по п.1, отличающийся тем, что ширина выходного патрубка равна ширине спирального корпуса, составляющей 0,9…1,1 диаметра рабочего колеса, входной коллектор содержит цилиндрический участок, длина входного коллектора составляет 0,48…0,63 диаметра рабочего колеса, а диаметр входа в рабочее колесо равен 0,66…0,69 диаметра рабочего колеса.
3. Радиальный вентилятор по п.1 или 2, отличающийся тем, что внешняя кромка, по меньшей мере, одной пластины соприкасается с входным коллектором.
4. Радиальный вентилятор по п.1 или 2, отличающийся тем, что, по меньшей мере, одна пластина вихрегасителя в меридиональном сечении расположена под углом ±10° к входному коллектору с отсчетом от радиального направления навстречу направлению вращения рабочего колеса и под углом ±10° к плоскости, проходящей через ось вращения рабочего колеса.
5. Радиальный вентилятор по п.1 или 2, отличающийся тем, что, по меньшей мере, одна пластина вихрегасителя выполнена плоской.
6. Радиальный вентилятор, содержащий спиральный корпус, оснащенный языком, установленное в корпусе на валу рабочее колесо с загнутыми назад лопатками и с конусным покрывным диском, входной коллектор с участками криволинейного профиля в меридиональном сечении, внешняя поверхность которого образует с внутренней поверхностью покрывного диска на входе в рабочее колесо кольцевой зазор, вихрегаситель, выполненный в виде, по меньшей мере, одной пластины, размещенной с внешней стороны входного коллектора перед кольцевым зазором в зоне наибольшего раскрытия спирального корпуса, выходной коллектор, отличающийся тем, что радиальный вентилятор оснащен пластиной, установленной на стенке спирального корпуса напротив лопаток рабочего колеса между двумя меридиональными плоскостями, пересекающими соответственно линию наибольшего раскрытия спирального корпуса и носок языка спирального корпуса, в сужающейся части спирального корпуса, примыкающей к линии наибольшего раскрытия корпуса, при этом высота пластины составляет 0,10…0,14 диаметра рабочего колеса.
7. Радиальный вентилятор по п.6, отличающийся тем, что пластина на стенке спирального корпуса установлена под углом 70±10° к оси вращения рабочего колеса.
8. Радиальный вентилятор по п.6 или 7, отличающийся тем, что, по меньшей мере, одна пластина, установленная в спиральном корпусе, выполнена плоской.
9. Радиальный вентилятор по п.6, отличающийся тем, что пластина вихрегасителя расположена между проходящими через ось вращения рабочего колеса плоскостями, одна из которых пересекает линию наибольшего раскрытия корпуса, а другая расположена под углом 45° в сторону языка спирального корпуса, при этом высота пластины вихрегасителя составляет 0,10…0,16 диаметра рабочего колеса.
10. Радиальный вентилятор по п.6, или 7, или 9, отличающийся тем, что ширина выходного патрубка равна ширине спирального корпуса, составляющей 0,9…1,1 диаметра рабочего колеса, входной коллектор содержит цилиндрический участок, длина входного коллектора составляет 0,48…0,63 диаметра рабочего колеса, а диаметр входа в рабочее колесо равен 0,66…0,69 диаметра рабочего колеса.
11. Радиальный вентилятор по п.9, отличающийся тем, что, по меньшей мере, одна пластина вихрегасителя в меридиональном сечении расположена под углом ±10° к входному коллектору с отсчетом от радиального направления навстречу направлению вращения рабочего колеса и под углом ±10° к плоскости, проходящей через ось вращения рабочего колеса.
12. Радиальный вентилятор по п.9, отличающийся тем, что, по меньшей мере, одна пластина вихрегасителя выполнена плоской.
РИСУНКИ
|
|