|
|
(21), (22) Заявка: 2007119507/06, 16.05.2007
(24) Дата начала отсчета срока действия патента:
16.05.2007
(46) Опубликовано: 20.11.2008
(56) Список документов, цитированных в отчете о поиске:
SU 987188 A, 07.01.1983. RU 2276289 C1, 10.05.2006. RU 2194881 C1, 20.12.2002. SU 1820928 A3, 07.06.1993. US 4793767 A, 27.12.1988. GB 1270105 A, 12.04.1972.
Адрес для переписки:
420088, г.Казань, а/я 24, ООО “Холдинговая компания “Тетра-Инвест”, руководителю
|
(72) Автор(ы):
Гильмутдинов Талгат Ахатович (RU), Зарифов Ян Шамилевич (RU), Рябчиков Александр Александрович (RU), Халитов Мансур Ахатович (RU)
(73) Патентообладатель(и):
Общество с ограниченной ответственностью “Холдинговая компания “Тетра-Инвест” (RU)
|
(54) НАСОС ШНЕКОВЫЙ ДЛЯ ПЕРЕКАЧИВАНИЯ ВЯЗКОПЛАСТИЧНЫХ МАСС
(57) Реферат:
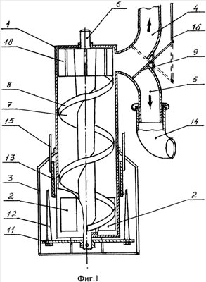
Изобретение относится к технике транспортирования и перекачивания вязкопластичных масс (например, жидкого навоза). Насос шнековый имеет приемный патрубок, выполненный в виде заборных окон 2, расположенных по периметру нижней части корпуса 1. Заборные окна снабжены регулируемыми по высоте заслонками 13. Нижняя часть корпуса 1 снабжена защитной сеткой 3. Приводной вал 6 выполнен с цилиндрической и (или) конической поверхностью, в нижней части вала установлено измельчающее устройство, выполненное в виде диска 11 с установленными на нем под углом ножами 12. Шнек 7 снабжен одно- и (или) многозаходной винтовой лопастью с бортами 8. Шаг лопасти уменьшается с каждым витком по направлению к нагнетательному патрубку 4. На нагнетательном патрубке 4 выполнен клапан 9 для подачи перекачиваемых масс к нагнетательному или рециркуляционному патрубкам 4, 5. В верхней части вала 6 размещено лопастное колесо 10. На конце рециркуляционного патрубка 5 тангенциально его продольной оси установлена с возможностью вращения насадка 14 Г-образной формы. Изобретение направлено на упрощение конструкции насоса, повышение его универсальности, и надежности с одновременным увеличением производительности. 1 з.п. ф-лы, 7 ил.
Изобретение относится к технике транспортирования и перекачивания вязкопластичных масс (например, навоза различной консистенции).
Известен шнековый насос, содержащий корпус с решеткой, исключающей попадание инородных предметов во всасывающую магистраль, и ротор с расположенным на его оси пропеллером (см. SU 86809 А, «Шнековый насос для подачи густых и вязких масс», 11.10.1960).
Недостатком известной конструкции является забивание решетки вязкими массами, что приводит к необходимости частой остановки насоса для чистки решетки, что снижает производительность устройства.
Известен шнековый насос, содержащий решетчатый корпус, тангенциально установленный выходной патрубок, шнек, приводной вал и лопасти, оснащенные бортами в нижней части (см. RU 2276289 С1, «Шнековый насос Землякова для перекачки вязких масс», 10.05.2006).
Недостатком известного насоса является низкая производительность, что объясняется отсутствием измельчающего устройства и рециркуляционного патрубка, отсутствием бортов на верхней части лопастей, что приводит к обратному току жидкости, забиванию выходного патрубка посторонними включениями, а также к забиванию решетки, что приводит к снижению производительности насоса.
Наиболее близким к изобретению является шнековый насос, содержащий корпус, приемный, нагнетательный и сообщенный с нагнетательным рециркуляционный патрубки, приводной вал и закрепленные на нем шнек, размещенный между приемным и нагнетательным патрубками, разрыхлитель, размещенный перед приемным патрубком, перемешивающее устройство и заслонки (см. SU 987188 А, «Шнековый насос для перекачки вязких сред», 07.01.1983).
Недостатком известного шнекового насоса является сложность конструкции, низкая надежность работы насоса ввиду забивания нагнетательного и рециркуляционного патрубков перекачиваемыми массами вследствие сложности конструкции заслонок, установленных раздельно на нагнетательном и рециркуляционном патрубках, отсутствие возможности плавного регулирования вязкости перекачиваемых масс, наличие обратного тока течения массы в корпусе насоса из-за отсутствия бортов на лопастях шнека, что также снижает эффективность работы устройства по назначению и соответственно приводит к снижению производительности насоса.
Задачей изобретения является упрощение конструкции шнекового насоса, повышение его универсальности (возможность перекачивания вязкопластичных масс любой консистенции, имеющих самостоятельную текучесть, от залежалого навоза до жидкого, имеющего как максимальное количество инородных включений – сено, солома, одеревеневшие стебли травы и т.д., так и минимальное их содержание в перекачиваемой массе), надежности, с одновременным увеличением производительности.
Технический результат достигается за счет того, что в насосе шнековом для перекачивания вязкопластичных масс, содержащем корпус, приемный, нагнетательный и сообщенный с нагнетательным рециркуляционный патрубки, приводной вал и закрепленные на нем шнек, размещенный между приемным и нагнетательным патрубками, измельчающее устройство, размещенное перед приемным патрубком, перемешивающее устройство, заслонки, согласно изобретению приемный патрубок выполнен в виде заборных окон, расположенных по периметру нижней части корпуса и снабженных регулируемыми по высоте заслонками, при этом нижняя часть корпуса снабжена защитной сеткой, расположенной равноудалено снаружи измельчающего устройства, приводной вал выполнен с цилиндрической и (или) конической поверхностью, в нижней части вала установлено измельчающее устройство, выполненное в виде диска с установленными на нем под углом ножами, а шнек снабжен одно – и (или) многозаходной винтовой лопастью с бортами, при этом шаг лопасти уменьшается с каждым витком по направлению к нагнетательному патрубку, на нагнетательном патрубке выполнен клапан для подачи перекачиваемых масс к нагнетательному или рециркуляционному патрубкам, в верхней части вала размещено лопастное колесо.
На конце рециркуляционного патрубка тангенциально его продольной оси может быть установлена с возможностью вращения насадка Г-образной формы.
На фиг.1 изображен общий вид насоса шнекового для перекачивания вязкопластичных масс;
на фиг.2 изображена насадка к рециркуляционному патрубку;
на фиг.3 – часть лопасти с бортом;
на фиг.4 показано лопастное колесо;
на фиг.5-7 приведены возможные варианты установки ножей 12 под разными углами по отношению к радиусу диска на фиг.1 (вид сверху).
Насос шнековый содержит корпус 1 с заборными окнами 2, расположенными по периметру нижней части корпуса 1, защитную сетку 3, охватывающую нижнюю часть корпуса 1, нагнетательный патрубок 4, рециркуляционный патрубок 5, приводной вал 6 с цилиндрической, конической или составной (состоящей из цилиндрической и конической частей) поверхности, шнек 7, снабженный винтовой лопастью с бортами 8, клапан 9, лопастное колесо 10, измельчающее устройство, выполненное в виде диска 11, оснащенного ножами 12, заслонки 13, насадку 14, тягу 15, обеспечивающую подъем и опускание заслонок 13, привод 16 поворотного клапана 9.
Насос работает следующим образом.
Перед началом работы заборные окна 2 закрываются заслонками 13 посредством тяг 15. Включается насос. Измельчающее устройство, выполненное в виде диска 11 с ножами 12, установленное на валу 6, начинает вращаться вокруг нижней части корпуса 1, одновременно захватывая, измельчая и подавая поступающую массу к заборным окнам 2 через защитную сетку 3, охватывающую нижнюю часть корпуса 1. Степень измельчения, захвата и подачи перекачиваемой массы к заборным окнам 2 обеспечивается ножами 12. Измельчающее устройство с ножами 12 обеспечивает измельчение включений в исходной перекачиваемой массе до необходимых размеров, снижая тем самым возможность засорения как шнека 7 с лопастями, так и нагнетательного 4 и рециркуляционного 5 патрубков и поворотного клапана 9. Ножи могут быть установлены под разными углами по отношению к радиусу диска 11 (см. фиг.5-7). При установке ножей 12 на диске 11 под углом 90° к радиусу диска 11 (см. фиг.5) обеспечивается интенсивное измельчение поступающей массы. При установке ножей 12 на диске 11 под углом более 90° к радиусу диска (см. фиг.6) увеличивается производительность насоса, а при включении реверса интенсифицируется процесс очистки защитной сетки 3 при ее засорении. При установке ножей 12 на диске 11 под углом менее 90° к радиусу диска 11 (см. фиг.7) уменьшается производительность насоса. Для начала процесса перекачки заслонки 13 посредством тяги 15 поднимают на необходимую высоту для обеспечения плавного, без гидравлических ударов, процесса перекачки. В случае снижения производительности насоса включают реверс, обеспечивая тем самым очистку защитной сетки 3 без привлечения к процессу очистки ручного труда, и продолжают перекачку. Измельченная масса посредством шнека 7 подается в верхнюю часть насоса, захватывается лопастным колесом 10 и поступает в нагнетательный патрубок 4 и далее – в емкость. При этом клапан 9 переводится в положение (нижнее), закрывающее рециркуляционный патрубок посредством привода 16. Изменение направления подачи массы с выгрузки на рециркуляцию осуществляется поворотом поворотного клапана 9 (в верхнее положение) при помощи тяги 16. При высокой вязкости перекачиваемая масса для получения необходимой консистенции направляется в рециркуляционный патрубок 5, оснащенный насадкой 14. Насадка, вращаясь под действием реактивной силы перекачиваемых масс, распределяет массу по периферии. После достижения необходимой степени измельчения и вязкости перекачиваемых масс клапан 9 переводится в нижнее положение, закрывающее нагнетательный патрубок, посредством привода 16.
Производительность насоса может плавно регулироваться посредством перемещения заслонок 13 тягой 15 от нуля до максимального значения.
В случае засорения защитной сетки 3 и резком снижении производительности насоса включается реверс насоса и производится очистка защитной сетки 3 посредством подачи противотоком перекачиваемых масс, которые обеспечивают очистку сетки 3. Интенсивность очистки сетки 3 можно регулировать также за счет перемещения заслонок 13 по высоте посредством тяги 15. Таким образом, изменение направления вращения вала 6 при забивании насоса перекачиваемыми массами в режиме реверса обеспечивает самоочищение насоса, что также повышает его производительность и эффективность работы насоса по назначению за счет исключения простоев и использования ручного труда для очистки защитной сетки 3.
Применение шнека с однозаходной винтовой лопастью и с цилиндрической поверхностью по всей длине целесообразно при перекачивании масс с высокой вязкостью, с большим количеством посторонних включений и при малом объеме перекачиваемой массы. Применение шнека с многозаходной винтовой лопастью и конической поверхностью шнека целесообразно при перекачивании масс с относительно невысокой вязкостью, с небольшим количеством посторонних включений, при больших объемах и в случае подачи перекачиваемой массы на большую высоту. Применение шнека с однозаходной лопастью – в нижней части и многозаходной – в верхней части целесообразно при значениях вязкости перекачиваемой массы в промежуточных значениях вязкости между высокой и средней. Применение шнека с однозаходной лопастью – в верхней части и многозаходной – в нижней части целесообразно при вязкости перекачиваемой массы в промежуточных значениях вязкости между средней и низкой. Наличие бортов на винтовых лопастях 8 значительно снижает обратный ток перекачиваемой массы, повышая производительность насоса. Уменьшение шага лопасти (ей) с каждым витком по направлению к нагнетательному патрубку также повышает производительность насоса. Производительность насоса увеличивается также за счет формы выполнения поверхности приводного вала: чем больше конусность поверхности приводного вала 6 в направлении к верхней части корпуса 1, тем больше давление и производительность насоса. В случае необходимости перекачивания залежалого навоза, в емкость с перекачиваемыми массами доливают необходимое количество воды и производят действия в соответствии с описанием работы устройства.
Формула изобретения
1. Насос шнековый для перекачивания вязкопластичных масс, содержащий корпус, приемный, нагнетательный и сообщенный с нагнетательным рециркуляционный патрубки, приводной вал и закрепленные на нем шнек, размещенный между приемным и нагнетательным патрубками, измельчающее устройство, размещенное перед приемным патрубком, перемешивающее устройство, заслонки, отличающийся тем, что приемный патрубок выполнен в виде заборных окон, расположенных по периметру нижней части корпуса и снабженных регулируемыми по высоте заслонками, при этом нижняя часть корпуса снабжена защитной сеткой, расположенной равноудаленно снаружи измельчающего устройства, приводной вал выполнен с цилиндрической и (или) конической поверхностью, в нижней части вала установлено измельчающее устройство, выполненное в виде диска с установленными на нем ножами, а шнек снабжен одно- и(или) многозаходной винтовой лопастью с бортами, при этом шаг лопасти(ей) уменьшается с каждым витком по направлению к нагнетательному патрубку, на нагнетательном патрубке выполнен клапан для подачи перекачиваемых масс к нагнетательному или рециркуляционному патрубкам, в верхней части вала размещено лопастное колесо.
2. Насос по п.1, отличающийся тем, что на конце рециркуляционного патрубка тангенциально его продольной оси установлена с возможностью вращения насадка Г-образной формы.
РИСУНКИ
|
|