|
|
(21), (22) Заявка: 2006143693/06, 11.12.2006
(24) Дата начала отсчета срока действия патента:
11.12.2006
(43) Дата публикации заявки: 20.06.2008
(46) Опубликовано: 20.11.2008
(56) Список документов, цитированных в отчете о поиске:
PR 1373365 А, 25.09.1964. SU 1825874 А, 07.07.1993. FR 2880381 A1, 07.07.2006. DE 2521566 A1, 02.12.1976. US 1831263 A, 10.11.1931. EP 0379832 A1, 01.08.1990.
Адрес для переписки:
125130, Москва, ул. З. и А. Космодемьянских, 11-15, кв.69, А.Д. Царькову
|
(72) Автор(ы):
Сагаков Станислав Святославович (RU), Локтев Вячеслав Викторович (RU), Царьков Алексей Данилович (RU)
(73) Патентообладатель(и):
Сагаков Станислав Святославович (RU), Локтев Вячеслав Викторович (RU)
|
(54) ДИСКОЛОПАСТНОЙ ДВИГАТЕЛЬ
(57) Реферат:
Изобретение относится к двигателям внутреннего сгорания. Дисколопастной двигатель содержит корпус, два лопастных тракта, каждый из которых образован лопастями, между которыми неподвижно закреплен двухсторонний сегмент, и тремя дисками, из которых два крайних и один средний. Двигатель снабжен дополнительным средним диском, коленчатой осью и коленвалами, последние установлены между средними дисками, на их осях неподвижно закреплены лопасти. Концы осей по периметру введены в зацепление с крайними дисками. Двухсторонние сегменты закреплены на коленчатой оси. Все диски выполнены одинаковыми. Лопасти одного тракта расположены перпендикулярно к лопастям второго. Улучшаются массогабаритные характеристики двигателя, повышается механический КПД. 2 ил.
Изобретение относится к двигателям внутреннего сгорания (ДВС), кинематическая схема которого может быть использована при проектировании компрессоров, турбин, насосов, а также движителей транспортных средств.
Известен колесно-лопаточный двигатель по RU 2293857 С1. Лопатки этого ДВС установлены на полуосях, что требует большого запаса прочности.
Известен дисколопастной двигатель, содержащий корпус, два лопастных тракта, каждый из которых образован лопастями, между которыми неподвижно закреплен двухсторонний сегмент, и тремя дисками, из которых два крайних и один средний (см. FR 1373365 А). При этом один из дисков предназначен только для ориентации лопастей в трактах. Данный двигатель принят в качестве ближайшего аналога (прототипа).
Задача изобретения – улучшение массогабаритных характеристик двигателя и повышение его механического КПД.
Поставленная задача решена в дисколопастном двигателе, содержащем корпус, два лопастных тракта, каждый из которых образован лопастями, между которыми неподвижно закреплен двухсторонний сегмент, и тремя дисками, из которых два крайних и один средний, согласно изобретению, двигатель снабжен дополнительным средним диском, коленчатой осью и коленвалами, последние установлены между средними дисками, на их осях неподвижно закреплены лопасти, а концы осей по периметру введены в зацепление с крайними дисками, причем двухсторонние сегменты закреплены на коленчатой оси, все диски выполнены одинаковыми, а лопасти одного тракта расположены перпендикулярно к лопастям второго.
Изменена кинематическая схема прототипа, что в свою очередь позволяет ориентировать лопасти в двух трактах двигателя без дисков, ответственных исключительно за ориентацию лопаток.
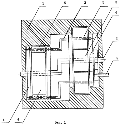
На фиг.1 изображен дисколопастной двигатель,
фиг.2 – вид дисколопастного тракта.
Цифрами обозначены: 1 – корпус, 2 – коленчатая ось, 3 – коленвал, 4 – диск, 5 – лопасть, 6 – двухсторонний сегмент и 7 – выходной вал.
Работа устройства
В случае если рабочие поверхности лопастей цилиндрические, то между любыми соседними лопастями объем частично герметичный, даже когда они находятся по разные стороны угла двухстороннего сегмента. При подаче и воспламенении топлива в зонах «А» дисколопастного тракта (см. фиг.2) между двумя верхними лопастями 5, находящимися на одной высоте (тоже самое касается и нижних лопастей), возникает избыточное давление. При перемещении этих лопастей в зону «Б» (по часовой стрелке) объем между ними возрастает, т.е. лопасти совершают полезную работу по вращению дисков 4. В зонах «Б» объем между лопастями разгерметизируется и продукты сгорания удаляются. В зонах «В» происходит забор свежего воздуха и далее его очередное сжатие при подходе к зонам «А». После чего процесс повторяется. Несмотря на небольшую степень сжатия 2-3 мощность предложенного дисколопастного двигателя, нормированная на единицу его веса или объема, весьма значительна за счет большого количества лопастей и двух «рабочих ходов» каждой лопасти на одном обороте вала двигателя. В процессе работы коленчатая ось 2 остается неподвижной, а коленвалы 3 обеспечивают строгую ориентацию лопастей 5 параллельно самим себе.
Двухсторонний сегмент 6 служит для создания лопастного тракта. Предложенный дисколопастной двигатель (см. фиг.1) имеет два лопастных тракта. При этом лопасти одного тракта расположены перпендикулярно к лопастям второго. Это сделано для более равномерной работы двигателя. Не исключается компоновка дисколопастного двигателя, когда крайние диски отсутствуют, а двухсторонние сегменты неподвижно закреплены на полом корпусе. Лопасти могут быть выполнены плоскими. В этом случае точки впрыска и воспламенения топлива в зонах «А» смещаются по ходу вращения до места, где находятся две соседние лопасти, только что прошедшие угол двухстороннего сегмента.
Необходимо отметить, что все поверхности дисколопастного двигателя являются либо плоскими, либо цилиндрическими с радиусом кривизны, равным радиусу дисков. Мощность с дисколопастного двигателя снимается выходным валом 7 с помощью шестерни, неподвижно закрепленной на одном из дисков. Не исключается компоновка дисколопастного двигателя, где отбор мощности производится непосредственно с коленчатой оси 2, выполненной из двух частей, одна из которых неподвижно закреплена на диске 4.
Формула изобретения
Дисколопастной двигатель, содержащий корпус, два лопастных тракта, каждый из которых образован лопастями, между которыми неподвижно закреплен двухсторонний сегмент, и тремя дисками, из которых два крайних и один средний, отличающийся тем, что двигатель снабжен дополнительным средним диском, коленчатой осью и коленвалами, последние установлены между средними дисками, на их осях неподвижно закреплены лопасти, а концы осей по периметру введены в зацепление с крайними дисками, причем двухсторонние сегменты закреплены на коленчатой оси, все диски выполнены одинаковыми, а лопасти одного тракта расположены перпендикулярно к лопастям второго.
РИСУНКИ
|
|