|
|
(21), (22) Заявка: 2007111109/03, 26.03.2007
(24) Дата начала отсчета срока действия патента:
26.03.2007
(46) Опубликовано: 20.11.2008
(56) Список документов, цитированных в отчете о поиске:
Шварц Ю.Д. и др. Безотходное горно-обогатительное производство на базе подземных комплексов. Горный журнал, N5, 1992, с.42. SU 1267487 А1, 30.10.1986. SU 1666737 А1, 30.07.1991. RU 2074958 С1, 10.03.1997. RU 2206744 С1, 20.06.2003. US 5137337 А, 11.08.1992.
Адрес для переписки:
672039, г.Чита, ул. Александро-Заводская, 30, ЧитГУ, научно-исследовательский отдел
|
(72) Автор(ы):
Пирогов Геннадий Георгиевич (RU)
(73) Патентообладатель(и):
Государственное образовательное учреждение высшего профессионального образования Читинский государственный университет (ЧитГУ) (RU)
|
(54) СПОСОБ РАЗРАБОТКИ РУДНЫХ МЕСТОРОЖДЕНИЙ
(57) Реферат:
Изобретение относится к горной промышленности и предназначено для подземной разработки рудных крутопадающих, преимущественно мощных и средней мощности месторождений. Способ включает подземную разработку месторождений 8 с добычей руд в очистных блоках и полное обогащение добытых руд с помощью обогатительной фабрики, расположенной в подземном пространстве, транспортирование и подъем руд до приемного бункера фабрики. Хвосты, образующиеся при подземном обогащении, размещают в выработанных пространствах в качестве закладочного материала, на земную поверхность выдают готовый концентрат. Для обеспечения условий строительства и эксплуатации подземной обогатительной фабрики осуществляют проходку стволов 1 для вентиляции, подъема (спуска) обслуживающего персонала, обогатительного оборудования, материалов, хвостов, концентратов, транспортных, вентиляционных и вспомогательных горных выработок для перемещения минерального сырья по технологической линии обогащения, подачи свежего воздуха на рабочие места и отвода загрязненного. Сооружают технологические камеры 2, 3 с установкой обогатительного оборудования и накопительные камеры 9 для промежуточного складирования текущих хвостов. Место расположения обогатительной фабрики в подземном пространстве устанавливают в породном массиве со стороны лежачего бока месторождения вне сферы влияния сейсмических воздействий от взрывных работ при добыче руды по направлениям простирания месторождения, вкрест простирания и по глубине после детальной геомеханической разведки и условиям минимальных затрат. Хвосты обогащения в зависимости от их выхода размещают в выработанных пространствах в виде закладки, оставшуюся часть на поверхности. В целях существенного уменьшения объемов накопительных камер отработку очистных блоков осуществляют слоями с закладкой каждого отработанного слоя хвостами обогащения. Изобретение позволяет повысить эффективность подземной разработки крутопадающих мощных и средней мощности рудных месторождений и безопасность эксплуатации обогатительной фабрики в подземном пространстве в течение длительного периода времени. Рациональной областью использования изобретения является подземная разработка рудных месторождений, преимущественно расположенных в горных районах, в районах с высокой плотностью населения, в районах с неблагоприятными климатическими условиями, а также месторождений, залегающих на большой глубине. 1 ил.
Изобретение относится к горной промышленности и предназначено для подземной разработки рудных крутопадающих, преимущественно мощных и средней мощности месторождений.
Недостатком известного технического решения является то, что на подземной обогатительной фабрике осуществляется не полное, а предварительное обогащение рудной массы с выдачей на поверхность чернового концентрата, содержащего большое количество породы, что обусловливает существенное повышение затрат на его подъем на земную поверхность.
Одним из существенных недостатков прототипа является то, что обогатительная фабрика расположена между рабочими горизонтами рудника, что повышает опасность ее эксплуатации, так как она в этом случае находится в сфере влияния сейсмических воздействий на рудный массив от взрывных работ при добыче руды.
Другим существенным недостатком прототипа является недостаточно высокая эффективность подземной разработки крутопадающих мощных и средней мощности рудных месторождений.
Техническим результатом заявляемого изобретения является повышение эффективности подземной разработки крутопадающих мощных и средней мощности рудных месторождений и безопасности эксплуатации обогатительной фабрики в подземном пространстве в течение длительного периода времени.
Сущность заявляемого изобретения состоит в том, что способ разработки крутопадающих рудных мощных и средней мощности месторождений, включающий проходку комплекса вскрывающих, подготовительных и нарезных подземных горных выработок, отбойку и доставку руды, управление горным давлением, при этом отработку очистных блоков осуществляют с помощью этажно-камерной системы разработки или подэтажных штреков, или иными камерными системами с последующей закладкой выработанного пространства отработанных камер хвостами, образующимися при подземном обогащении, транспортирование, подъем до горизонта рудоприемного бункера и полное обогащение добытой руды с помощью подземной обогатительной фабрики, для чего осуществляют проходку стволов, транспортных, вентиляционных и вспомогательных выработок, сооружение технологических камер с установкой в них обогатительного оборудования, включающего устройства для дробления, измельчения, классификации руды с грохочением после каждого процесса рудоподготовки, магнитной сепарации, или гравитации, или флотации, или для иных методов обогащения в зависимости от типа обогащаемой руды, обезвоживания, обезвреживания и сушки концентрата и выдачи готового концентрата на земную поверхность, отличается тем, что место расположения обогатительной фабрики устанавливают за пределами рудного массива в породах лежачего бока вне сферы влияния сейсмических воздействий от взрывных работ при добыче руды после детальной геомеханической разведки, включающей работы по установлению длительной прочности, устойчивости, способности пород допускать большие площади горизонтального и вертикального обнажения, и по условиям минимальных затрат по направлениям простирания месторождения, вкрест простирания и по глубине от поверхности осуществляют промежуточное складирование текущих хвостов в накопительных камерах, сооружаемых в непосредственной близости от технологической камеры, в которой осуществляют процессы гравитации, флотации, магнитной сепарации или иные процессы получения концентратов с одновременным образованием хвостов с целью уменьшения объемов накопительных камер, отработку очистных блоков осуществляют слоями снизу вверх с закладкой выработанного пространства каждого слоя, а при выходе хвостов свыше 60% оставшуюся часть размешают на поверхности.
Расположение обогатительной фабрики за пределами рудного массива в породах лежачего бока позволит исключить сейсмические воздействия от взрывных работ при добыче руды. В то же время породные массивы в отдельных частях могут иметь тектонические нарушения, породы могут быть неустойчивыми, недостаточно прочными, не допускать требуемых площадей горизонтального и вертикального обнажения при подземном строительстве технологических и накопительных камер. В таких породах невозможно обеспечить безопасные условия строительства и длительной эксплуатации подземной фабрики. Установление прочных, устойчивых, ненарушенных пород возможно только в результате детальной геомеханической разведки вмещающих пород со стороны лежачего бока рудного месторождения по направлениям простирания, вкрест простирания и глубине от поверхности. Размеры породного массива (части массива) могут быть значительными, что позволяет устанавливать окончательное место расположения фабрики по условиям минимальных затрат. При обогащении образуется значительное количество текущих хвостов, которые перед размещением в выработанных пространствах требуют промежуточного складирования, что осуществляют в накопительных камерах, сооружаемых в непосредственной близости от технологической камеры получения концентратов и хвостов. Крутопадающие мощные и средней мощности рудные месторождения разрабатывают очистными камерами, входящими в очистные блоки, с помощью этажно-камерной системы разработки, или подэтажных штреков, или другими камерными системами, при этом очистные камеры имеют объемы, исчисляемые десятками тысяч м3, что требует с целью последующей закладки выработанных пространств соответствующих объемов накопительных камер. Уменьшение объемов накопительных камер достигается отработкой очистных блоков слоями, которые имеют объемы в десятки раз меньше объемов очистных камер. При полном обогащении руд цветных металлов хвостов в зависимости от их выхода и разрыхленного состояния образуется больше, чем может вместить выработанное пространство. Техническим решением является размещение «избыточной» части на земной поверхности в хвостохранилищах, имеющих, однако, небольшие размеры.
Применение заявляемого технического решения позволит повысить эффективность подземной разработки крутопадающих мощных и средней мощности рудных месторождений и безопасность эксплуатации обогатительной фабрики в подземном пространстве в течение длительного периода времени.
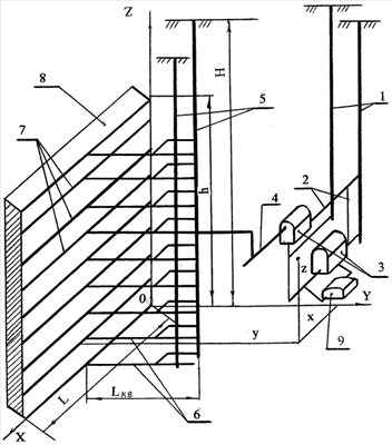
На чертеже представлена общая принципиальная технологическая схема подземной разработки крутопадающего рудного месторождения с расположением обогатительной фабрики в подземном пространстве за пределами месторождения со стороны лежачего бока. На указанной схеме приведена объемная система координат ZOXY, 1 – главный и вентиляционный стволы обогатительной фабрики, 2 – технологические и вспомогательные выработки фабрики, 3 – технологические камеры фабрики, 4 – горизонт рудоприемного бункера фабрики, 5 – главный и вентиляционный стволы рудника, 6 – квершлаги, 7 – транспортные штреки, 8 – крутопадающее рудное месторождение, 9 – накопительные камеры.
Способ разработки рудного месторождения осуществляют следующим образом.
После детальной геомеханической разведки, а также по условиям минимальных затрат устанавливают место расположения обогатительной фабрики за пределами рудного массива в устойчивых, прочных, ненарушенных породах лежачего бока, допускающих большие площади горизонтального и вертикального обнажения по направлению простирания месторождения (координата X), по направлению вкрест его простирания (координата Y) и по глубине от поверхности (координата Z). Сооружают стволы фабрики 1, технологические камеры 3 для установки обогатительного оборудования и накопительные камеры 9 для промежуточного размещения текущих хвостов, а также транспортные, вентиляционные и вспомогательные выработки 3, 4 для перемещения минерального сырья по технологической линии обогащения, подвода свежего воздуха к рабочим местам и отвода загрязненного, перемещения людей, материалов и оборудования, транспортирования руды от рудника до приемного бункера фабрики, транспортирования хвостов обогащения от накопительных камер до закладочного комплекса. Одновременно со строительством и оборудованием подземной обогатительной фабрики осуществляют проходку стволов 5 и квершлагов 6 рудника, проходку подготовительных 7 и нарезных выработок для добычи руды, осуществляют иные вспомогательные работы таким образом, чтобы обеспечить одновременную добычу и полное обогащение руды. Добытая руда транспортируется и осуществляется ее подъем до горизонта рудоприемного бункера подземной обогатительной фабрики. Готовый концентрат выдают на земную поверхность, текущие хвосты обогащения из технологической камеры получения хвостов и концентратов поступают в накопительные камеры, откуда подаются в закладочный комплекс, затем в составе закладочной смеси транспортируются в подготовленные к закладке выработанные пространства очистных блоков. В целях уменьшения объемов накопительных камер очистные блоки отрабатывают не очистными камерами, в них входящими, а слоями снизу вверх с закладкой выработанного пространства каждого слоя. «Избыточные» хвосты с целью складирования и последующего хранения выдают на поверхность в небольшие по объемам хвостохранилища.
Предлагаемый способ разработки крутопадающих мощных и средней мощности рудных месторождений позволит повысить эффективность подземной разработки крутопадающих мощных и средней мощности рудных месторождений и безопасность эксплуатации обогатительной фабрики в подземном пространстве в течение длительного периода времени.
Формула изобретения
Способ разработки рудных месторождений, включающий проходку комплекса вскрывающих, подготовительных и нарезных подземных горных выработок, отбойку и доставку руды, управление горным давлением, при этом отработку очистных блоков осуществляют с помощью этажно-камерной системы разработки, или подэтажных штреков, или иными камерными системами с последующей закладкой выработанного пространства отработанных камер хвостами, образующимися при подземном обогащении, транспортирование, подъем до горизонта рудоприемного бункера и полное обогащение добытой руды с помощью подземной обогатительной фабрики, для чего осуществляют проходку стволов, транспортных, вентиляционных и вспомогательных выработок, сооружение технологических камер с установкой в них обогатительного оборудования, включающего устройства для дробления, измельчения, классификации руды с грохочением после каждого процесса рудоподготовки, магнитной сепарации, или гравитации, или флотации, или для иных методов обогащения в зависимости от типа обогащаемой руды, обезвоживания, обезвреживания и сушки концентрата и выдачи готового концентрата на земную поверхность, отличающийся тем, что место расположения обогатительной фабрики устанавливают за пределами рудного массива в породах лежачего бока вне сферы влияния сейсмических воздействий от взрывных работ при добыче руды после детальной геомеханической разведки, включающей работы по установлению длительной прочности, устойчивости, способности пород допускать большие площади горизонтального и вертикального обнажения, и по условиям минимальных затрат по направлениям простирания месторождения, вкрест простирания и по глубине от поверхности осуществляют промежуточное складирование текущих хвостов в накопительных камерах, сооружаемых в непосредственной близости от технологической камеры, в которой осуществляют процессы гравитации, флотации, магнитной сепарации или иные процессы получения концентратов с одновременным образованием хвостов с целью уменьшения объемов накопительных камер, отработку очистных блоков осуществляют слоями с закладкой выработанного пространства каждого слоя, а при выходе хвостов свыше 60% оставшуюся часть размещают на поверхности.
РИСУНКИ
|
|