|
|
(21), (22) Заявка: 2007104237/12, 27.06.2005
(24) Дата начала отсчета срока действия патента:
27.06.2005
(30) Конвенционный приоритет:
05.07.2004 DE 102004032628.2
(46) Опубликовано: 20.11.2008
(56) Список документов, цитированных в отчете о поиске:
DE 9421374 U1, 23.11.1995. DE 10064957 А1, 27.06.2002. US 4939868 А, 10.07.1990. RU 2156852 С2, 27.09.2000.
(85) Дата перевода заявки PCT на национальную фазу:
05.02.2007
(86) Заявка PCT:
EP 2005/006895 (27.06.2005)
(87) Публикация PCT:
WO 2006/002848 (12.01.2006)
Адрес для переписки:
101000, Москва, М.Златоустинский пер., 10, кв.15, “ЕВРОМАРКПАТ”, пат.пов. И.А.Веселицкой, рег. № 11
|
(72) Автор(ы):
КЛЕЧЕР Вильфрид (DE)
(73) Патентообладатель(и):
ДОРМА ГМБХ+КО. КГ (DE)
|
(54) СТЕКЛЯННАЯ ДВЕРНАЯ СТВОРКА, ПОВОРАЧИВАЕМАЯ ВОКРУГ ВЕРХНЕЙ И НИЖНЕЙ ПОВОРОТНЫХ ЦАПФ
(57) Реферат:
Стеклянная дверная створка, поворачиваемая вокруг верхней и нижней поворотных цапф, имеет профили, образующие верхнее и нижнее окончания дверного стекла. Створка также имеет скрыто установленный в верхнем профиле дверной доводчик с приводным рычагом. Рычаг одним концом соединен с поворотной осью дверного доводчика, а другим концом прикреплен с возможностью поворота к верхней опорной конструкции. Поворотные цапфы образуют поворотные опоры, расположенные у края стеклянной дверной створки по ее ширине между дверной створкой, а также верхней опорной конструкцией и нижней опорной конструкцией. Створка выполнена в виде качающейся двери. Поворотные цапфы образуют поворотные опоры и расположены в установочных отверстиях, выполненных, соответственно, в верхнем и нижнем профилях дверной створки. Верхняя опорная конструкция состоит из привинченной к потолку планки дверной опоры, в которую входит верхняя поворотная цапфа. Планка дверной опоры имеет ограниченную с торцов выемку, в которую съемным образом вмонтирована направляющая. В направляющей размещен перемещаемый в ней ползун, соединенный с приводным рычагом. Данная конструкция позволяет использовать створку в помещении с относительно небольшой монтажной высотой. 3 з.п. ф-лы, 9 ил.
Настоящее изобретение относится к стеклянной дверной створке, поворачиваемой вокруг верхней и нижней поворотных цапф и имеющей профили, образующие верхнее и нижнее окончания дверного стекла, а также скрыто установленный в верхнем профиле дверной доводчик с приводным рычагом, который одним концом соединен с поворотной осью дверного доводчика, а другим концом прикреплен с возможностью поворота к верхней опорной конструкции, причем поворотные цапфы образуют поворотные опоры, расположенные у края стеклянной дверной створки по ее ширине между дверной створкой, а также верхней опорной конструкцией и нижней опорной конструкцией.
Стеклянные дверные створки указанного в начале описания типа могут применяться как отдельные дверные элементы или в комбинации с жесткими стеклянными элементами, присоединенными с боков к стеклянной дверной створке. Дополнительной установкой дверного доводчика достигается требуемое закрытие двери, прежде всего при неблагоприятных погодных условиях. Такого рода стеклянные дверные створки используются также в многостворчатых входных дверях, в которых отдельные дверные элементы могут перемещаться в парковочное положение как путем поворота, так и путем перемещения по верхней направляющей.
Рассмотренное ниже изобретение касается технического решения стеклянной дверной створки, которая только поворачивается относительно верхней и нижней опорных конструкций, т.е. без крепления дверной створки с возможностью ее перемещения в верхней направляющей.
Устройство подобного назначения известно из публикации DE 10157805 А1. В известном устройстве в сдвижной стеновой элемент встроена поворачиваемая дверная створка, способная и перемещаться, и поворачиваться. Для этого дверная створка подвешена к подвижной каретке, расположенной примерно посередине ширины этой дверной створки и имеющей для нее ось поворота. Функцию второй оси поворота выполняет поворотная цапфа дверного доводчика. Другой конец приводного рычага, соединенного с поворотной цапфой дверного доводчика, соединяется осью поворота с поворотной опорой, представляющей собой элемент опорной конструкции. При отклонении или повороте дверной створки из исходного положения ее торцовые кромки, определяющие ее ширину, поворачиваются в обе стороны относительно направляющей вокруг оси поворота, расположенной примерно посередине ширины дверной створки в зоне крепления каретки, в которой направленно перемещается каретка. Это требует наличия достаточного свободного пространства с обеих сторон от дверной створки в ее исходном положении. Помимо этого размещение полого цилиндрического крепежного профиля, примыкающего к собственной верхней опорной конструкции, а также находящейся под этим крепежным профилем направляющей требует наличия относительно большого по высоте монтажного пространства под все это устройство.
В публикации DE 9421374 U1 описана поворотно-сдвижная дверь, состоящая из перемещаемых дверных створок, из которых две средние створки выполнены как сдвижные, а две крайние створки – как поворотные, при этом все створки имеют возможность поворачиваться относительно осей, расположенных вблизи бокового торца в пределах ширины каждой створки. Створки имеют соответственно верхний и нижний закрепляющие дверное стекло профили, к каждому из которых крепится по дополнительной поперечине, представляющей собой полый цилиндр в поперечном сечении. Поперечина предназначена для скрытого размещения в ней дверного доводчика, приводной рычаг которого другим своим концом соединен с ползуном, расположенным в рамном профиле, также представляющем собой полый цилиндр и образующем элемент опорной конструкции. Поскольку профиль створки, поперечина и рамный профиль расположены друг над другом, это известное решение предполагает наличие достаточной высоты потолка в помещении.
В основу настоящего изобретения была положена задача, отказавшись от возможности сдвига дверного элемента, усовершенствовать дверь со стеклянной створкой указанного в начале описания типа таким образом, чтобы при скрытом расположении дверного доводчика и применении двери со сдвижными створками в виде качающейся двери обеспечить – при помощи соответствующего расположения поворотных опор и дверного доводчика в сочетании с особым выполнением верхней опорной конструкции – возможность применения двери со стеклянной створкой также в тех помещениях, где в распоряжении имеется относительно небольшая монтажная высота.
Указанная задача решается в изобретении совокупностью существенных признаков пункта 1 формулы изобретения.
Согласно изобретению как верхняя и нижняя поворотные опоры, так и дверной доводчик расположены внутри соответствующего профиля створки, причем опорная конструкция, в которой находится ползун дверного доводчика, выполнена экономичным и компактным образом в виде плоской планки, требуемая толщина которой определяется лишь выемкой под направляющую.
Другие предпочтительные варианты осуществления изобретения представлены в зависимых пунктах формулы изобретения.
Согласно изобретению стеклянная дверная створка, применяемая как качающаяся дверь, может быть реализована при наличии небольшой монтажной высоты, чему дополнительно способствует то, что поворотная цапфа, вставляемая в выполненное под нее нижнее установочное отверстие, входит в опорную пластину, привинченную к полу и образующую нижнюю опорную конструкцию.
Поскольку поворотные цапфы, образующие верхнюю и нижнюю поворотные опоры, расположены в установочных отверстиях, выполненных под эти цапфы соответственно в верхнем и нижнем профилях дверной створки, крепление дверного стекла с помощью верхнего и нижнего профиля оказывается достаточным, благодаря чему дверное стекло может быть смонтировано без его обрамления по кромкам, определяющим его ширину.
Ниже изобретение более подробно рассмотрено на примере его осуществления со ссылкой на прилагаемые чертежи, на которых показано:
на фиг.1 – вид двери со стеклянной створкой в продольном разрезе вертикальной плоскостью,
на фиг.2 – вид в разрезе по линии II-II, показанной на фиг.1,
на фиг.3 – вид в аксонометрии нижней поворотной опоры в увеличенном масштабе,
на фиг.4 – вид в аксонометрии планки дверной опоры в увеличенном масштабе по сравнению с фиг.1,
на фиг.5 и 6 – вид в аксонометрии соответственно верхнего и нижнего профилей дверной створки,
на фиг.7 – вид в аксонометрии планки дверной опоры, которая в отличие от показанной на фиг.4 планки дверной опоры снабжена направляющей и показана в разобранном виде,
на фиг.8 и 9 – общий вид двери в закрытом и открытом положениях соответственно.
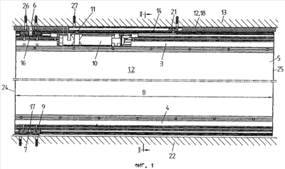
Показанная на фиг.1 стеклянная дверная створка 1 выполнена в виде качающейся двери 2, при этом дверное стекло 5 закреплено между верхним 3 и нижним 4 профилями дверной створки. В верхнем профиле 3 дверной створки расположена поворотная цапфа 6, образующая верхнюю поворотную опору 8, а в нижнем профиле 4 дверной створки расположена поворотная цапфа 7, образующая нижнюю поворотную опору 9. Поворотные цапфы 6 и 7 крепятся соответственно в верхнем 16 и нижнем 17 установочных отверстиях и тем самым образуют соответственно верхнюю 8 и нижнюю 9 поворотные опоры. Как показано на чертеже, поворотные опоры 8 и 9 вставлены соответственно в верхний 3 и нижний 4 профили дверной створки. Верхняя поворотная цапфа 6 входит в планку 18 дверной опоры, образующую верхнюю опорную конструкцию 12, а нижняя поворотная цапфа 7 входит в опорную пластину 23, привинченную к полу 22 и образующую нижнюю опорную конструкцию 15.
В верхнем профиле 3 дверной створки скрыто установлен дверной доводчик 10, приводной рычаг 14 которого соединен с поворотной осью 11 дверного доводчика 10. Как показано на чертежах, прежде всего на фиг.7, в пластинчатой планке 18 дверной опоры, образующей верхнюю опорную конструкцию 12 и закрепленной на потолке 13 с помощью резьбовых соединений 26, предусмотрена ограниченная с торцов выемка 19, в которую вставлена направляющая 20, закрепляемая с помощью других резьбовых соединений 27. В направляющей 20 принудительно перемещается ползун 21, расположенный на свободном конце приводного рычага 14.
Поскольку верхний и нижний профили 3 и 4 дверной створки, показанные соответственно на фиг.5 и 6, надежно крепят дверное стекло 5, последнее может быть выполнено без обрамления по кромкам 24, 25, определяющим ширину В качающейся двери 2.
Формула изобретения
1. Стеклянная дверная створка (1), поворачиваемая вокруг верхней и нижней поворотных цапф и имеющая профили, образующие верхнее и нижнее окончания дверного стекла, а также скрыто установленный в верхнем профиле дверной доводчик с приводным рычагом, который одним концом соединен с поворотной осью дверного доводчика, а другим концом прикреплен с возможностью поворота к верхней опорной конструкции, причем поворотные цапфы образуют поворотные опоры, расположенные у края стеклянной дверной створки по ее ширине между дверной створкой, а также верхней опорной конструкцией и нижней опорной конструкцией, отличающаяся тем, что она выполнена в виде качающейся двери (2), поворотные цапфы (6, 7), образующие поворотные опоры (8, 9), расположены в установочных отверстиях (16, 17), выполненных, соответственно, в верхнем (3) и нижнем (4) профилях дверной створки, верхняя опорная конструкция (12) состоит из привинченной к потолку (13) планки (18) дверной опоры, в которую входит верхняя поворотная цапфа (6), и планка (18) дверной опоры имеет ограниченную с торцов выемку (19), в которую съемным образом вмонтирована направляющая (20) с перемещаемым в ней ползуном (21), соединенным с приводным рычагом (14) с возможностью поворота относительно него.
2. Стеклянная дверная створка по п.1, отличающаяся тем, что поворотная цапфа (7), вставленная в нижнее установочное отверстие (17), входит в опорную пластину (23), привинченную к полу (22) и образующую нижнюю опорную конструкцию (15).
3. Стеклянная дверная створка по п.1, отличающаяся тем, что дверное стекло (5) смонтировано без его обрамления по кромкам (24, 25), определяющим его ширину (В).
4. Стеклянная дверная створка по одному из предыдущих пунктов, отличающаяся тем, что планка (18) дверной опоры проходит по всей ширине двери (1) со стеклянной створкой.
РИСУНКИ
MM4A – Досрочное прекращение действия патента СССР или патента Российской Федерации на изобретение из-за неуплаты в установленный срок пошлины за поддержание патента в силе
Дата прекращения действия патента: 28.06.2009
Извещение опубликовано: 20.09.2010 БИ: 26/2010
|
|