|
(21), (22) Заявка: 2007113602/28, 11.04.2007
(24) Дата начала отсчета срока действия патента:
11.04.2007
(46) Опубликовано: 10.11.2008
(56) Список документов, цитированных в отчете о поиске:
RU 27951 U1, 27.02.2003. RU 21617762 C2, 10.01.2001. RU 2098759 C1, 10.12.1997. US 3832787 A, 03.09.1974. GB 172412 A, 15.12.1921.
Адрес для переписки:
195112, Санкт-Петербург, Новочеркасский пр., 1, ОАО “Штурманские приборы”, генеральному директору А.Е. Тетерину
|
(72) Автор(ы):
Кардашинский-Брауде Леонид Александрович (RU), Пугачев Валерий Николаевич (RU), Шорохов Владилен Федорович (RU), Юлпатов Евгений Константинович (RU)
(73) Патентообладатель(и):
ОАО (открытое акционерное общество) “Штурманские приборы” (RU)
|
(54) МАГНИТНЫЙ КОМПАС
(57) Реферат:
Изобретение относится к области навигационного приборостроения и может быть использовано в визуальных и дистанционных магнитных компасах для судов и кораблей. Сущность: компас содержит магнитный чувствительный элемент, нактоуз и компенсатор четвертной девиации в виде наборов плоских стальных магнитомягких пластин. Наборы пластин закреплены на нактоузе и размещены в плоскостях, параллельных основанию нактоуза, симметрично относительно продольной плоскости симметрии нактоуза. Наборы пластин имеют крестообразную форму и содержат радиальную и касательную к нактоузу прямоугольные части. Оси симметрии радиальной и касательной частей наборов перпендикулярны. Ось симметрии радиальной части перпендикулярна продольной плоскости симметрии нактоуза и проходит через его вертикальную ось симметрии. Отношение длины к ширине радиальной и касательной частей наборов равны. Соотношение длин радиальной и касательной частей определяется неравенством
R2(R2+l2)3/2 (R2+2l1 2)(R2+l1 2)3/2,
где R – расстояние между вертикальной осью симметрии нактоуза и вертикальной осью симметрии набора пластин, l – половина длины радиальной части набора пластин; l1 – половина длины касательной части набора пластин. Технический результат: уменьшение погрешности курсоуказания. 5 ил.
Предлагаемое изобретение относится к области навигационного приборостроения и может быть использовано в визуальных и дистанционных магнитный компасах для судов и кораблей, имеющих магнитную систему чувствительного элемента в виде системы стрелок или монолитного кольцевого магнита, и содержит безындукционный компенсатор четвертной девиации, увеличивающий коэффициент , характеризующий магнитные условия работы компаса на судне (корабле).
Известен магнитный компас, описанный в книге «Девиация магнитного компаса» (В.П.Кожухов, В.В.Воронов, В.В.Григорьев, Л.: Морской транспорт, 1960 г., стр.198-199, рис.69, стр.207-209).
Компас содержит магнитный чувствительный элемент, нактоуз-корпус. В верхней части нактоуза компаса справа и слева от его продольной плоскости симметрии ОХ по касательной к нактоузу размещены продольные бруски мягкого (магнитомягкого) железа, образующие компенсатор четвертной девиации. Бруски установлены параллельно продольной плоскости ОХ (рис.69).
Основными недостатками компаса являются
1. Продольные бруски мягкого железа (см. стр.207-209) уменьшают суммарный коэффициент , характеризующий магнитные условия в месте размещения компаса

обусловленные совместным влиянием судового мягкого железа – коэффициент 0 и брусками компенсатора четвертной девиации – коэффициент 1, при этом < 0, поскольку 1<1.
2. Бруски компенсатора четвертной девиации, расположенные на нактоузе компаса вблизи его магнитного чувствительного элемента, помимо намагниченности, обусловленной магнитным полем Земли, дополнительно намагничиваются магнитным полем магнитного чувствительного элемента компаса и, в свою очередь, воздействуют на магнитный чувствительный элемент, вызывая погрешность курсоуказания – девиацию от индукции (см. стр.210-215, рис.76).
Известны магнитные компасы, содержащие магнитный чувствительный элемент- картушку (размещенную в штатном котелке компаса), нактоуз, компенсатор четвертной девиации в виде набора продольных брусков магнитомягкого железа и поперечно установленные индукционные пластины, изготовленные из мягкого железа и размещенные внутри нактоуза под котелком компаса. Индукционные пластины обеспечивают уничтожение девиации от индукции. Компасы рассмотрены в книге «Девиация магнитного компаса», стр.215-221.
Недостатками таких компасов являются
1. Уменьшение коэффициента за счет использования компенсатора четвертной девиации в виде наборов продольных брусков, расположенных параллельно продольной оси симметрии компаса.
2. Трудоемкость работ по уничтожению девиации от индукции при помощи индукционных пластин, выполнение которых требует большого навыка. Работы включают в себя следующее:
– демонтаж компаса (или его верхней части) со штатного места на судне (корабле) и размещение его на специальном поворотном основании на берегу;
– последовательное (поэтапное) выполнение специальных работ и расчетов для подбора брусков компенсатора четвертной девиации соответствующих размеров и их установку на компасе вместе с индукционными пластинами;
– перемещение компаса (или его верхней части), с закрепленными брусками и индукционными пластинами, на судно (корабль) и установку его на штатное место (см. стр.217-221).
Известны магнитные компасы, снабженные безындукционными компенсаторами четвертной девиации, рассмотренные в книге «Девиация магнитного компаса», стр.221-225. Такой компас содержит магнитный чувствительный элемент, нактоуз, безындукционный компенсатор четвертной девиации в виде брусков магнитомягкого железа, которые установлены в кронштейнах по бокам шейки нактоуза (см. стр.224).
Безындукционность компенсатора обеспечена соотношением размеров бруска и определяется его относительной длиной

где l – длина бруска;
d – диаметр бруска.
Величина , при которой брусок становится безындукционным, зависит от объема бруска, его удаления от центра симметрии магнитного чувствительного элемента и магнитной восприимчивости материала. Точное значение для любого объема бруска находится экспериментально.
Уничтожение четвертной девиации с помощью безындукционных брусков значительно упрощается, так как вся работа может быть выполнена на судне (корабле) и отпадает необходимость свозить компас на берег для подбора индукционных пластин.
Однако существенными недостатками рассмотренного компаса являются:
1. Необходимость изготовления и комплектования компаса комплектом брусков (из 5-6 пар) различного объема, имеющих отличающиеся размеры (см. стр.223).
2. Использование продольных брусков компенсатора четвертной девиации, что уменьшает коэффициент , так как 1<1.
В настоящее время в отечественных и зарубежных магнитных компасах используются безындукционные компенсаторы четвертной девиации в форме комплекта тонких прямоугольных пластин, имеющих относительную длину

где l – длина пластины;
b – ширина пластины,
см. книгу Воронов В.В., Григорьев В.В., Яловенко А.В. «Магнитные компасы. Теория, конструкция и девиационные работы. Учебное пособие», СПб.: Элмор, 2004 г, стр.85-87, рис.43, 44 и 45.
Наиболее близким к предлагаемому изобретению по технической сущности является магнитный компас, рассмотренный в книге «Магнитные компасы», стр.87, рис.45. – отечественный магнитный компас КМ 145-прототип.
Компас подробно описан также в «Компас КМ 145 техническое описание и инструкция по эксплуатации КБ0.115.071 ТО», стр.19, 20, 23, рис.1, позиция 4.
Компас содержит магнитный чувствительный элемент, нактоуз-корпус, безындукционный компенсатор четвертной девиации в виде комплекта из 16 пластин, которые установлены в двух пеналах, по 8 пластин с каждой стороны нактоуза, по касательной к нактоузу (см. книгу «Магнитные компасы», стр.87, рис.45), при этом продольная ось симметрии пластин параллельна продольной оси симметрии компаса – его нактоуза, то есть наборы пластин являются продольными.
Основным недостатком компаса-прототипа является использование в безындукционном компенсаторе четвертной девиации продольных магнитомягких пластин, что приводит к уменьшению суммарного коэффициента , то есть уменьшает напряженность горизонтальной составляющей магнитного поля Земли в месте размещения компаса, создавая предпосылки для увеличения погрешности его курсоуказания.
Основной задачей, на решение которой направлено предлагаемое изобретение, является увеличение значения суммарного коэффициента , характеризующего магнитные условия в месте размещения магнитного компаса, и, соответственно, уменьшение погрешности курсоуказания компаса при сохранении безындукционности и компенсации четвертной девиации компаса.
Для решения указанной задачи в магнитном компасе, содержащем магнитный чувствительный элемент, нактоуз и компенсатор четвертной девиации в виде наборов плоских стальных магнитомягких пластин, закрепленных на нактоузе и размещенных в плоскостях, параллельных основанию нактоуза, симметрично относительно продольной плоскости симметрии нактоуза, наборы пластин имеют крестообразную форму и содержат радиальную и касательную к нактоузу прямоугольные части, при этом оси симметрии радиальной и касательной частей наборов пластин взаимно перпендикулярны, ось симметрии радиальной части перпендикулярна продольной плоскости симметрии нактоуза и проходит через его вертикальную ось симметрии; отношение длины к ширине радиальной и касательной частей наборов пластин равны, а соотношение длин радиальной и касательной частей определяется неравенством
R2(R2+l2)3/2 (R2+2l1 2)(R2+l1 2)3/2,
где R – расстояние между вертикальной осью симметрии нактоуза, проходящей через центр симметрии чувствительного элемента компаса, и вертикальной осью симметрии набора пластин, проходящей через центр симметрии радиальной и касательной частей набора пластин;
l – половина длины радиальной части набора пластин;
l1 – половина длины касательной части набора пластин.
Предлагаемый компас представлен на фиг.1, 2, 3, 4, 5, 6.
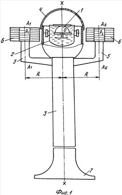
На фиг.1 изображен общий вид магнитного компаса с безындукционным компенсатором четвертной девиации в разрезе.
На фиг.2 представлен магнитный компас с безындукционным компенсатором четвертной девиации вид сверху.
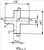
На фиг.3 представлен набор плоских стальных магнитомягких пластин безындукционного компенсатора четвертной девиации вид сверху.
На фиг.4 представлены проекции напряженности магнитного поля, создаваемого намагничением радиальной части крестообразной пластины полем магнитного чувствительного элемента на ось, перпендикулярную к магнитному меридиану, в центре магнитного чувствительного элемента.
На фиг.5 представлены проекции напряженности магнитного поля, создаваемого намагничением касательной части крестообразной пластины полем магнитного чувствительного элемента на ось, перпендикулярную к магнитному меридиану, в центре магнитного чувствительного элемента.
На фиг.6 представлены проекции напряженности магнитного поля, создаваемого намагничением радиальной и касательной частей крестообразной пластины полем магнитного чувствительного элемента на ось, перпендикулярную к магнитному меридиану, в центре магнитного чувствительного элемента, которые компенсируются.
Предлагаемый магнитный компас содержит (см. фиг.1) магнитный чувствительный элемент 1, размещенный на опорном устройстве внутри корпуса 2, заполненного демпфирующей жидкостью, нактоуз (корпус) 3 с колпаком 4 на кронштейнах 5, в верхней части нактоуза 3 закреплены наборы плоских стальных магнитомягких пластин 6 безындукционного компенсатора четвертной девиации. Наборы пластин размещены в плоскостях, параллельных основанию 7 нактоуза 3, симметрично относительно продольной плоскости симметрии нактоуза ХОХ.
Наборы пластин 6 (см. фиг.2) имеют крестообразную форму и содержат радиальную 8 и касательную 9 к нактоузу 3 прямоугольные части. Оси симметрии радиальной n1n1 (или n2n2) и касательной m1m1 (или m2m2) частей наборов пластин взаимно перпендикулярны. Ось симметрии n1n1 (или n2n2) радиальной части набора перпендикулярна продольной плоскости симметрии нактоуза ХОХ и проходит через его вертикальную ось симметрии, проходящую через центр симметрии 0 магнитного чувствительного элемента 1.
Отношение длины (см. фиг.3) радиальной части 8 набора 2l к ее ширине 2d и длины касательной части 9 набора 2l1 к ее ширине 2d1, определяется зависимостью

где l – половина длины радиальной части набора пластин;
d – половина ширины радиальной части набора пластин;
l1 – половина длины касательной части набора пластин;
d1 – половина ширины касательной части набора пластин.
Соотношение длин радиальной и касательной частей набора пластин определяется неравенством

где R – расстояние между вертикальной осью симметрии XX нактоуза 3 (см. фиг.1), проходящей через центр симметрии 0 чувствительного элемента 1 компаса, и вертикальной осью симметрии набора пластин A1A1 (или А2А2), проходящей через совмещенный центр симметрии P1 (или Р2) радиальной и касательной частей набора пластин 6.
Предлагаемое устройство работает следующим образом.
Известно, что на любом современном судне (корабле), корпус и надстройки которого выполнены из стали, имеет место ослабление магнитного поля Земли из-за экранирующего действия стальных элементов конструкций судна (корабля), см. книгу «Девиация магнитного компаса», стр.207-209.
Ослабление Земного магнитного поля, в том числе его горизонтальной составляющей Н3, характеризуется коэффициентом 0 (стр.208), величина которого может достигать значений до 0,8 – на крышах ходовых рубок в местах установки основных компасов; до 0,6 – внутри ходовых рубок в местах установки путевых компасов.
В отдельных случаях, на практике, величина 0 может достигать значений еще меньших: 0,4-0,6 (стр.209). Таким образом, горизонтальная составляющая индукции (напряженности) судового (корабельного) магнитного поля может составлять

то есть индукция магнитного поля Земли в месте размещения компаса на судне (корабле), приводящая его чувствительный элемент в плоскость магнитного меридиана, может уменьшаться, соответственно, на (60÷20)%, что обуславливает увеличение погрешности курсоуказания компаса.
Одновременно, широко используемые в настоящее время в составе визуальных и дистанционных магнитных компасов как отечественных, так и зарубежных безындукционные компенсаторы четвертной девиации в виде набора продольных прямоугольных стальных магнитомягких пластин (см. книгу «Магнитные компасы», стр.86), в свою очередь, дополнительно уменьшают магнитное поле Земли в области магнитного чувствительного элемента компаса на (10-15)%. Их коэффициент 1<1,0.
В процессе полной циркуляции судна, то есть изменения его курса на 360°, стальные конструкции судна перемагничиваются под воздействием горизонтальной составляющей напряженности магнитного поля Земли. Вследствие этого, девиация – отклонение магнитной оси чувствительного элемента компаса от плоскости магнитного меридиана изменяется, причем амплитуды отклонений одинаковы, количество отклонений – четыре, а направления отклонений чередуются. Эти отклонения – четвертная девиация – компенсируются после установки на кронштейны 5 в верхней части нактоуза 3 наборов плоских стальных магнитомягких пластин, образующих наборы 6 крестообразной формы (см. фиг.1). Наборы 6 создают при воздействии на них горизонтальной составляющей напряженности магнитного поля Земли, ослабленной экранированием судовыми конструкциями, также четвертную девиацию с теми же амплитудами, но с противоположными знаками, тем самым уничтожая четвертную девиацию, вызванную перемагничиванием стальных конструкций судна. Крестообразная форма наборов пластин компенсатора обеспечивает усиление воздействия на чувствительный элемент компаса напряженности магнитного поля Земли за счет наличия радиальных частей пластин, направленных к магнитному чувствительному элементу компаса. Усиление осуществляется за счет преобладания воздействия на чувствительный элемент компаса поля радиальных частей над полем касательных частей при намагничении тех и других горизонтальной составляющей магнитного поля Земли.
В то же время, воздействие магнитного поля, создаваемого чувствительным элементом, на радиальные и касательные части пластин компенсатора не вызывает постоянную четвертную девиацию – девиацию от индукции, которая снижает точность показаний компаса при плаваниях с изменениями широты. Постоянная четвертная девиация от индукции компенсируется за счет одинаковых отношений длины к ширине радиальных и касательных частей пластин и определенного отношения их длин.
Наборы 6 могут состоять из цельных пластин крестообразной формы или могут быть набраны из чередующихся пластин прямоугольной формы с совмещением их центров симметрии.
Предлагаемое устройство по сравнению с прототипом обеспечивает улучшение эксплуатационных характеристик магнитного компаса за счет:
1) усиления радиальной частью набора пластин компенсатора четвертной девиации горизонтальной составляющей магнитного поля Земли, в зоне размещения магнитного чувствительного элемента компаса, ослабленной ее экранированием судовыми конструкциями и касательной частью набора пластин компенсатора;
2) усиление горизонтальной составляющей магнитного поля Земли уменьшает погрешность курсоуказания компаса;
3) усиление горизонтальной составляющей магнитного поля позволит размещать компас в замкнутых помещениях судов, ограниченных стальными палубами и переборками, где компасы с существующими компенсаторами четвертной девиации имеют большие погрешности или теряют работоспособность.
Теоретическое приложение к изобретению «Магнитный компас».
Для одновременного выполнения требования безындукционности и получения коэффициента 1 компенсатора 1 1,0 к продольным прямоугольным пластинам, касательным к нактоузу, добавлены поперечные, направленные радиально.
Составим выражение для проекций напряженности магнитного поля, создаваемого намагничением радиальной части 8 крестообразной пластины полем магнитного чувствительного элемента 1 на ось, перпендикулярную к магнитному меридиану NM, в центре 0 магнитного чувствительного элемента 1 (фиг.4).

где Hp 1n, Hp 2n – проекции напряженности, вызванной поперечной и продольной немагниченностями радиальной части пластины;
æp 1, æp 2 – магнитная восприимчивость радиальной части пластины по продольной и поперечной осям соответственно;
Vp – объем радиальной части пластины;
– угол между продольной осью пластины и перпендикуляром к магнитному меридиану;
М – магнитный момент чувствительного элемента компаса;
– угол между вектором напряженности поля Н чувствительного элемента в центре пластины и продольной осью радиальной части пластины;
R – расстояние между центрами симметрии чувствительного элемента и радиальной части пластины;
l – половина длины радиальной части пластины.
Составим аналогичное выражение для касательной части пластины 9 (фиг.5):

где и проекции напряженности, вызванной продольной и поперечной намагниченностями касательной части пластины;
Vk – объем касательной части пластины.
Для безындукционности должно выполняться уравнение (фиг.6)

Учитывая, что обе части пластины имеют одинаковую толщину, =45°, æp 2<<æp 1, æк 2<<æk 1, при æp 1=æk 1 получим, введя (7) и (8) в (9):

где d и d1 – половины ширины радиальной и касательной части пластины.
Кроме требования безындукционности существует требование 1 1,0, что может быть выражено неравенством:

После сокращения (æp 1=æk 1) получим

Для одновременного выполнения условий (10) и (12)можно получить значение l1d1 из (10) и подставить его в (12). После преобразований получим неравенство

Неравенство (13) приведено в формуле изобретения заявки на изобретение.
Литература
1. Кожухов В.П., Воронов В.В., Григорьев В.В. Девиация магнитного компаса. Л.: Морской транспорт, 1960 г, стр.198, 199, 207-221, 223, 224.
2. Воронов В.В., Григорьев В.В., Яловенко А.В. Магнитные компасы. Теория, конструкция и девиационные работы. Учебное пособие. СПб.: Элмор, 2004 г, стр.85, 86, 87.
3. Компас КМ 145. Техническое описание и инструкция по эксплуатации КБ0.115.071 ТО, стр.19, 20, 23.
Формула изобретения
Магнитный компас, содержащий магнитный чувствительный элемент, нактоуз и компенсатор четвертной девиации в виде наборов плоских стальных магнитомягких пластин, закрепленных на нактоузе и размещенных в плоскостях, параллельных основанию нактоуза, симметрично относительно продольной плоскости симметрии нактоуза, отличающийся тем, что наборы пластин имеют крестообразную форму и содержат радиальную и касательную к нактоузу прямоугольные части, при этом оси симметрии радиальной и касательной частей наборов пластин взаимно перпендикулярны, ось симметрии радиальной части перпендикулярна продольной плоскости симметрии нактоуза и проходит через его вертикальную ось симметрии; отношение длины к ширине радиальной и касательной частей наборов пластин равны, а соотношение длин радиальной и касательной частей определяется неравенством
R2(R2+l2)3/2 (R2+2l1 2)(R2+l1 2)3/2,
где R – расстояние между вертикальной осью симметрии нактоуза, проходящей через центр симметрии чувствительного элемента компаса, и вертикальной осью симметрии набора пластин, проходящей через центр симметрии радиальной и касательной частей набора пластин;
l – половина длины радиальной части набора пластин;
l1 – половина длины касательной части набора пластин.
РИСУНКИ
|