|
|
(21), (22) Заявка: 2007110476/28, 22.03.2007
(24) Дата начала отсчета срока действия патента:
22.03.2007
(46) Опубликовано: 10.11.2008
(56) Список документов, цитированных в отчете о поиске:
US 5074049 А, 24.12.1991. JP 2000018942 A, 21.01.2000. US 5367782 A, 29.11.2004. RU 19576 U1, 10.09.2001.
Адрес для переписки:
117624, Москва, ул. Изюмская, 47, корп.2, кв.10, С.Н. Таратухину
|
(72) Автор(ы):
Бабаев Азер Кахраман Оглы (RU)
(73) Патентообладатель(и):
Бабаев Азер Кахраман Оглы (RU)
|
(54) ГИДРОУРОВЕНЬ
(57) Реферат:
Изобретение относится к измерительной технике и может найти применение в строительстве для определения превышения одной точки сооружения над другой. Сущность: устройство выполнено в виде частично заполненного жидкостью гибкого шланга. По крайней мере, на одном конце гибкого прозрачного шланга выполнены деления шкалы. На другом конце гибкого прозрачного шланга выполнена, по крайней мере, одна риска. Технический результат: упрощение конструкции. 2 ил.
Изобретение относится к измерительной технике и строительству, а именно к нивелированию с помощью сообщающихся сосудов, заполненных жидкостью и установленных в разнесенных пунктах, в частности к конструкциям гидроуровней, предназначенных для определения превышения одной точки сооружения над другой.
Наиболее близким по технической сущности к предлагаемому изобретению является выбранный в качестве прототипа гидроуровень, содержащий закрытые крышками прозрачные сосуды, соединяющий их гибкий шланг, частично заполненные жидкостью, и измерительную шкалу, деления которой выполнены на прозрачных сосудах (см. Свидетельство на полезную модель RU №19576, кл. G01C 5/02, 2001 г.).
Недостатком прототипа является недостаточная простота конструкции гидроуровня.
Технический результат, достигаемый предлагаемым изобретением, заключается в упрощении гидроуровня за счет исключения из его конструкции прозрачных сосудов.
Поставленный технический результат достигается тем, что в гидроуровне, содержащем частично заполненный жидкостью гибкий прозрачный шланг и измерительную шкалу, деления последней выполнены на гибком прозрачном шланге, по крайней мере, на одном его конце, при этом на другом конце гибкого прозрачного шланга выполнена, по крайней мере, одна риска.
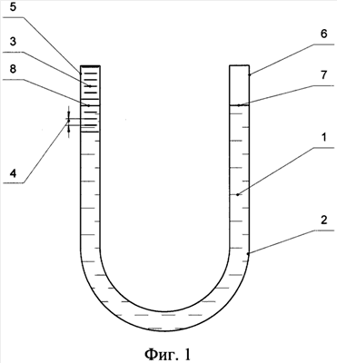
На фиг.1 изображен предлагаемый гидроуровень с делениями измерительной шкалы на одном его конце,
на фиг.2 – гидроуровень с делениями измерительной шкалы по всей его длине.
Гидроуровень содержит частично заполненный жидкостью 1 гибкий прозрачный шланг 2 и измерительную шкалу 3. Деления 4 (например, 1 деление = 1 см) измерительной шкалы 3 выполнены на гибком прозрачном шланге 2, по крайней мере, на одном его конце 5, при этом на другом конце 6 гибкого прозрачного шланга 2 выполнена, по крайней мере, одна риска 7 (см. фиг.1), т.е. деления 4 могут быть выполнены на двух концах 5 и 6 (на фигурах не показано) и по всей длине шланга 2 (фиг.2). Жидкость заполняется в прозрачный шланг 2 до определенного уровня, например, до риски 7 на конце 6 шланга 2 и соответствующей ей (согласно закону сообщающихся сосудов) риски 8 на конце 5. При хранении и транспортировке шланг 2 может быть закрыт с торцов крышками (позициями не обозначены). Для повышения контрастности может быть использована подкрашенная жидкость.
Гидроуровень работает следующим образом.
Работа основана на законе сообщающихся сосудов. При использовании гидроуровня, например, для проверки горизонтальности фундаментных опор конец 6 шланга 2 прикладывают к одной из опор, совмещая при этом ее верхнюю плоскость с уровнем жидкости 1 и риской 7 на данном конце 6 шланга 2. Конец 5 шланга 2 прикладывают к другой опоре и проверяют, на каком уровне находится уровень жидкости 1 с риской 8 в данном конце 5 шланга 2. Если этот уровень совпадает с верхней плоскостью второй опоры, следовательно, обе фундаментные опоры установлены на одном горизонтальном уровне. Если же не совпадают, например, уровень жидкости 1 с риской 8 на конце 5 на три деления выше верхней плоскости второй опоры, следовательно, вторую опору необходимо «нарастить» (увеличить) на три сантиметра. Выполнение делений 4 измерительной шкалы 3 непосредственно на гибком прозрачном шланге 2 существенно упрощает конструкцию гидроуровня и соответственно затраты на его производство.
Формула изобретения
Гидроуровень, содержащий частично заполненный жидкостью гибкий прозрачный шланг и измерительную шкалу, отличающийся тем, что деления измерительной шкалы выполнены на гибком прозрачном шланге, по крайней мере, на одном его конце, при этом на другом конце гибкого прозрачного шланга выполнена, по крайней мере, одна риска.
РИСУНКИ
|
|