|
|
(21), (22) Заявка: 2007100840/02, 09.01.2007
(24) Дата начала отсчета срока действия патента:
09.01.2007
(46) Опубликовано: 10.11.2008
(56) Список документов, цитированных в отчете о поиске:
RU 2082929 C1, 27.06.1997. SU 1702139 A1, 30.12.1991. RU 98106397 A, 10.02.2000. KR 20040078381 A, 10.09.2004. US 6931876 B2, 23.08.2005.
Адрес для переписки:
432027, г.Ульяновск, Северный Венец, 32, ГОУ ВПО “Ульяновский государственный технический университет”, проректору по научной работе
|
(72) Автор(ы):
Попов Анатолий Григорьевич (RU), Попов Дмитрий Анатольевич (RU)
(73) Патентообладатель(и):
Государственное образовательное учреждение высшего профессионального образования “Ульяновский государственный технический университет” (RU)
|
(54) УСТАНОВКА УТИЛИЗАЦИИ ТЕПЛОТЫ ОТХОДЯЩИХ ПЕЧНЫХ ГАЗОВ
(57) Реферат:
Изобретение относится к установке утилизации теплоты отходящих печных газов. Установка содержит нагревательную печь с рабочей камерой, в которой установлены топливные горелки, теплоизолированный канал с теплообменными трубами, по внутренней поверхности которого удаляются продукты сгорания из рабочей камеры печи, при этом часть внутренней поверхности теплоизолированного канала образована цилиндром двигателя с внешним подводом теплоты, с которым соединены теплообменные трубы. Располагаясь на внутренней поверхности теплоизолированного канала, цилиндр и теплообменные трубы отводят теплоту от высокотемпературных отходящих печных газов к рабочему телу двигателя с внешним подводом теплоты, в котором теплота преобразовывается в механическую энергию с высоким к.п.д. Оребрение поверхности цилиндра двигателя интенсифицирует процесс отвода теплоты от отходящих печных газов и способствуют повышению мощности и к.п.д. двигателя. Установка обеспечивает более эффективное использование теплоты сгорания топлива в нагревательных и термических печах кузнечно-штамповочного производства 1 з.п. ф-лы, 2 ил.
Изобретение относится к термическому оборудованию, в частности к установкам утилизации тепла отходящих газов нагревательных и термических печей в кузнечно-штамповочном производстве.
Известны устройства для использования тепла отходящих печных газов в теплообменнике (рекуператоре), установленном в газоотводящем тракте, на нагрев воздуха, поступающего в топливные горелки нагревательных печей [Немзер Г.Г. Теплотехнология кузнечно-прессового производства. – Л.: Машиностроение, 1988, с.208-210]. Эффективность использования тепла отходящих газов в рекуператорах не превышает 20-30%, ограничена предельной температурой нагрева воздуха для топливных горелок и не может использоваться при пуске и остановке пламенных печей.
В качестве прототипа принято устройство охлаждения и утилизации тепла отходящих из печи газов [Патент РФ №2082929, МПК F27D 17/00, опубл. 27.05.2003, Бюл. №15], содержащее нагревательную печь, отводящий продукты сгорания канал с теплообменниками, в которых циркулирует жидкометаллический теплоноситель (жидкий натрий), пароводяной контур с паротурбинной установкой и парогенератором, нагреваемым жидкометаллическим теплоносителем. Жидкометаллический теплоноситель позволяет производить отвод тепла при высокой температуре, получать в парогенераторе пар с высокими термодинамическими параметрами и обеспечить работу паротурбинной установки с высоким к.п.д. Однако данное устройство охлаждения и утилизации тепла обладает сложной конструкцией и низкой эффективностью работы в небольших пламенных нагревательных и термических печах, расположенных на значительных расстояниях друг от друга в кузнечно-штамповочном производстве. Периодический режим работы нагревательных термических печей также приводит к дополнительным затратам энергоресурсов при запуске и остановке известного устройства и дополнительному снижению его к.п.д.
Технический результат изобретения заключается в повышении эффективности установок утилизации тепла отходящих печных газов, работающих с нагревательными и термическими печами кузнечно-штамповочного производства в условиях периодического отключения печей по технологическим причинам.
Для достижения технического результата в предлагаемой установке утилизации тепла отходящих печных газов, содержащей нагревательную печь с рабочей камерой с топливными горелками, теплоизолированный канал с теплообменными трубами нагревателя, по которому удаляются продукты сгорания из рабочей камеры печи, в начальной части внутренней поверхности теплоизолированного канала расположен цилиндр с поршнем двигателя с внешним подводом тепла, который соединен с теплообменными трубами для обеспечения движения рабочего тела в них. При этом поверхность цилиндра двигателя, находящаяся в теплоизолированном канале, выполнена с оребрением.
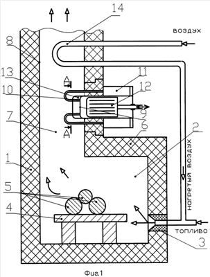
На фиг.1 представлена схема установки утилизации тепла отходящих печных газов.
На фиг.2 приведен разрез, показывающий теплоизоляционный канал нагревательной печи с цилиндром двигателя с внешним подводом тепла, теплообменными трубами нагревателя и оребрением.
Установка утилизации тепла отходящих печных газов состоит из нагревательной печи 1 с теплоизолированной рабочей камерой 2, в которой установлены топливные горелки 3. В рабочей камере 2 на загрузочном столе 4 размещаются нагреваемые заготовки 5. В своде 6 нагревательной печи 1 выполнен теплоизолированный канал 7, по внутренней поверхности 8 которого отходящие печные газы в виде продуктов сгорания удаляются из рабочей камеры 2 печи. В начальной части теплоизолированного канала 7, примыкающей к рабочей камере 2, на внутренней поверхности 8 расположен цилиндр 9 и теплообменные трубы 10 нагревателя, сообщающие цилиндр 9 и регенератор двигателя 11 с внешним подводом тепла. Цилиндр 9 содержит поршень 12, за счет перемещения которого осуществляется движение рабочего тела (газа) в теплообменных трубах 10. Для интенсификации нагрева рабочего тела (газа) поверхность цилиндра 9, находящаяся в теплоизолированном канале 7 выполнена с оребрением 13 (см. фиг.2).
За теплообменными трубами 10 нагревателя двигателя 11 в теплоизолированном канале 7 установлен рекуператор 14 для нагрева воздуха, поступающего в топливные горелки 3.
Установка утилизации тепла отходящих печных газов работает следующим образом. Топливо смешивается с воздухом в горелке 3 и сгорает в рабочей камере 2, нагревая стальные заготовки 5 перед ковкой и горячей объемной штамповкой до 1150-1250°С. Отходящие печные газы в виде продуктов сгорания с температурой 1100-1200°С под действием естественной или искусственной тяги удаляются из рабочей камеры 2 в теплоизолированный канал 7. Проходя по внутренней поверхности 8 теплоизолированного канала 7, отходящие печные газы (продукты сгорания) нагревают теплообменные трубы 10 и оребрение 13 цилиндра 9 двигателя 11 и поддерживают высокую температуру (900-1000°С) рабочего тела (газа) в теплообменных трубах 10 и в цилиндре 9 двигателя. При таком уровне нагрева рабочего тела путем осуществления термодинамического цикла с периодическим расширением и сжатием рабочего тела в цилиндре 9 обеспечивается работа двигателя 11 с внешним подводом тепла с эффективным к.п.д. преобразования тепла в механическую энергию 30-40 %, что в несколько раз превосходит к.п.д. паротурбинных установок аналогичной мощности. Тепло, отводимое от рабочего тела в охладителе двигателя 11, также может быть использовано в системах отопления помещения и горячего водоснабжения. В установках утилизации тепла отходящих печных газов могут применяться двигатели с внешним подводом тепла мощностью от 1 до 100 кВт, при этом в теплоизолированном канале 7 может быть последовательно установлено несколько двигателей 11 для более полной утилизации тепла отходящих печных газов. Запуск и остановка двигателей 11 с внешним подводом тепла производится без значительных затрат внешней энергии и просто механизируется. На выходе двигателя 11 преобразованная тепловая энергия может быть получена в виде механической энергии для привода электрогенератора, насоса, холодильного агрегата или компрессора, а также в виде сжатого газа под высоким давлением.
Использование двигателя 11 с внешним подводом тепла может сочетаться с применением рекуператоров 14 для нагрева воздуха, поступающего в топливные горелки 3, или других устройств утилизации тепла отходящих печных газов.
Нагревательные и термические печи в машиностроительном производстве располагаются в соответствии с размещением кузнечно-штамповочного оборудования на значительном расстоянии друг от друга. Компактные, эффективные и автономные двигатели с внешним подводом тепла, способные работать в автоматизированном режиме, могут обеспечить не только высокий уровень утилизации тепла отходящих печных газов, но и распределение полученной механической энергии в виде сжатого газа, электроэнергии или жидкости под давлением по производству.
Применение данного технического решения предполагается в нагревательных и термических печах кузнечно-штамповочного и термического производств машиностроительного завода. Использование двигателей с внешним подводом тепла, работающих от пламенных печей, для привода тепловых насосов и компрессоров позволит полностью обеспечить потребность производства в отоплении помещений, горячем водоснабжении, холодоснабжении и сжатом воздухе и сократить потребление электрической энергии от внешних источников.
Формула изобретения
1. Установка утилизации тепла отходящих печных газов, содержащая нагревательную печь с рабочей камерой с топливными горелками, теплоизолированный канал с теплообменными трубами, по которому удаляются продукты сгорания из рабочей камеры печи, отличающаяся тем, что в начальной части внутренней поверхности теплоизолированного канала расположен цилиндр с поршнем двигателя с внешним подводом тепла, который соединен с теплообменными трубами для обеспечения движения рабочего тела в них.
2. Установка по п.1, отличающаяся тем, что поверхность цилиндра двигателя, находящаяся в теплоизолированном канале, выполнена с оребрением.
РИСУНКИ
MM4A – Досрочное прекращение действия патента СССР или патента Российской Федерации на изобретение из-за неуплаты в установленный срок пошлины за поддержание патента в силе
Дата прекращения действия патента: 10.01.2009
Извещение опубликовано: 20.06.2010 БИ: 17/2010
|
|