|
| На основании пункта 1 статьи 1366 части четвертой Гражданского кодекса Российской Федерации патентообладатель обязуется заключить договор об отчуждении патента на условиях, соответствующих установившейся практике, с любым гражданином Российской Федерации или российским юридическим лицом, кто первым изъявил такое желание и уведомил об этом патентообладателя и федеральный орган исполнительной власти по интеллектуальной собственности. |
|
(21), (22) Заявка: 2007123300/06, 22.06.2007
(24) Дата начала отсчета срока действия патента:
22.06.2007
(46) Опубликовано: 10.11.2008
(56) Список документов, цитированных в отчете о поиске:
RU 2293923 C1, 20.02.2007. SU 89273 A, 07.02.1950. SU 80812 01.03.1950. SU 1262210 A1, 07.10.1986. GB 894776 A, 26.04.1962.
Адрес для переписки:
123458, Москва, ул. Твардовского, 11, кв.92, О.С. Кочетову
|
(72) Автор(ы):
Кочетов Олег Савельевич (RU), Голубева Мария Владимировна (RU), Колаева Лидия Владимировна (RU), Боброва Екатерина Олеговна (RU), Духанина Елена Владимировна (RU), Горнушкина Надежда Игоревна (RU), Павлова Дарья Олеговна (RU)
(73) Патентообладатель(и):
Кочетов Олег Савельевич (RU), Голубева Мария Владимировна (RU)
|
(54) СИСТЕМА УВЛАЖНЕНИЯ ВОЗДУХА
(57) Реферат:
Изобретение относится к технике кондиционирования воздуха и может быть использовано для создания комфортных условий микроклимата в производственных помещениях, в частности в качестве систем местного доувлажнения воздуха. Технический результат – повышение эффективности и надежности процесса пневматического распыления воды. В системе увлажнения воздуха, состоящей из пневматических форсунок, сетей трубопроводов, служащих для подачи к ним воды и сжатого воздуха, и блока управления работой пневматических форсунок, пневматическая форсунка выполнена акустической, содержащей корпус с размещенным внутри генератором акустических колебаний в виде сопла и резонатора, трубок для подвода воздуха и жидкости, при этом корпус выполнен в виде вертикально расположенной цилиндрической втулки, в верхней части которой расположена трубка для подвода воздуха, а перпендикулярно ее оси расположена трубка для подвода жидкости, причем внутри корпуса, соосно ему, жестко закреплена втулка с верхним и нижним фланцами, при этом нижний фланец жестко зафиксирован в проточке, выполненной в корпусе, а внутри втулки, соосно ей, расположен кольцевой объемный резонатор, выполненный в виде чашки с конической поверхностью, чашка запрессована на стержне диаметром d резонатора, а в его хвостовой части расположены фиксирующие диски, выполненные в виде упругих лепестков, взаимодействующих с внутренней поверхностью втулки, а в нижнем фланце расположено по крайней мере одно сопло под углом к оси резонатора, величина которого лежит в следующем интервале величин: 20°-40°, при этом продолжение оси сопла лежит на окружности, находящейся в средней части конической поверхности резонатора. 2 з.п. ф-лы, 2 ил.
Изобретение относится к технике кондиционирования воздуха и может быть использовано для создания комфортных условий микроклимата в бытовых, офисных и производственных помещениях, в частности в качестве систем местного доувлажнения воздуха, систем распыливания ароматизированных и лекарственных растворов.
Наиболее близким техническим решением к заявляемому объекту является система увлажнения по патенту РФ №2293923, кл. F24F 3/06 от 10.10.96, содержащая распылитель в виде пневматической форсунки и блок управления.
Недостатком его является сравнительно невысокая эффективность процесса пневматического распыления.
Технический результат – повышение эффективности и надежности процесса пневматического распыления воды.
Это достигается тем, что в системе доувлажнения воздуха, состоящей из пневматических форсунок, сетей трубопроводов, служащих для подачи к ним воды и сжатого воздуха, и блока управления работой пневматических форсунок, пневматическая форсунка выполнена акустической, содержащей корпус с размещенным внутри генератором акустических колебаний в виде сопла и резонатора, трубок для подвода воздуха и жидкости, при этом корпус выполнен в виде вертикально расположенной цилиндрической втулки, в верхней части которой расположена трубка для подвода воздуха, а перпендикулярно ее оси расположена трубка для подвода жидкости, причем внутри корпуса, соосно ему, жестко закреплена втулка с верхним и нижним фланцами, при этом нижний фланец жестко зафиксирован в проточке, выполненной в корпусе, а внутри втулки, соосно ей, расположен кольцевой объемный резонатор, выполненный в виде чашки с конической поверхностью, при этом чашка запрессована на стержне диаметром d резонатора, а в его хвостовой части расположены фиксирующие диски, выполненные в виде упругих лепестков, взаимодействующих с внутренней поверхностью втулки, а в нижнем фланце расположено по крайней мере одно сопло под углом к оси резонатора, величина которого лежит в следующем интервале величин: 20°÷40°, при этом продолжение оси сопла лежит на окружности, находящейся в средней части конической поверхности резонатора.
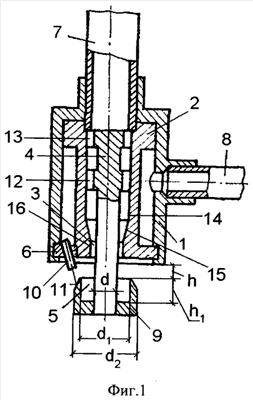
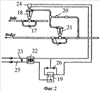
На фиг.1 представлен фронтальный разрез пневматической форсунки системы увлажнения, на фиг.2 – блок управления работой пневматических форсунок.
Пневматические системы увлажнения состоят из форсунок (фиг.1), сетей трубопроводов, служащих для подачи к ним воды и сжатого воздуха, и блока управления работой пневматических форсунок (фиг.2). Кроме того, имеются предохранительные устройства, исключающие возможность выливания воды из форсунок при прекращении подачи к ним сжатого воздуха (не показано).
Пневматическая акустическая форсунка (фиг.1) содержит корпус 1 с размещенным внутри генератором звуковых колебаний ультразвукового частотного диапазона в виде сопла 3 и кольцевого объемного резонатора 5. Корпус 1 выполнен в виде вертикально расположенной цилиндрической втулки, в верхней части которой расположена трубка 7 для подвода воздуха, а перпендикулярно ее оси расположена трубка 8 для подвода жидкости (воды). Внутри корпуса 1, соосно ему, жестко закреплена втулка 14 с фланцами – верхним 2 и нижним 6, причем нижний фланец 6 жестко зафиксирован в проточке, выполненной в корпусе 1.
Внутри втулки 2, соосно ей, расположен кольцевой объемный резонатор 5, выполненный в виде чашки 9 с конической поверхностью 11. Чашка 9 запрессована на стержне диаметром d резонатора 5, а в его хвостовой части 4 расположены фиксирующие диски 12 и 13, выполненные в виде упругих лепестков, взаимодействующих с внутренней поверхностью втулки 14. В нижнем фланце 6 расположено по крайней мере одно сопло 10 под углом к оси резонатора 5, величина которого лежит в следующем интервале величин: 20°÷40°, причем продолжение оси сопла 10 лежит на окружности, находящейся в средней части конической поверхности 11 резонатора 5. На внутренней поверхности втулки 14 выполнены соосные коническое 15 и цилиндрическое 1 6 отверстия.
Для оптимальной работы и снижения энергозатрат пневматическая форсунка выполнена со следующими соотношениями размеров ее основных элементов, которые находятся в оптимальном интервале величин:
отношение высоты h1 кольцевого объемного резонатора 5 к расстоянию h между верхним основанием конической поверхности 11 и нижней торцевой поверхностью корпуса 1 лежит в оптимальном интервале величин: h1/h=1÷3;
отношение внутреннего диаметра d1 чашки 9 резонатора 5 к диаметру d2 его внешней цилиндрической поверхности лежит в оптимальном интервале величин: d1/d2=0,7÷0,9;
отношение внутреннего диаметра d1 чашки 9 резонатора 5 к диаметру d его стержня лежит в оптимальном интервале величин: d1/d=1÷3;
отношение внутреннего диаметра d1 чашки 9 резонатора 5 к высоте h1 кольцевого объемного резонатора 5 лежит в оптимальном интервале величин: d1/h1=1÷2.
На фиг.2 представлен блок управления работой пневматических форсунок. Он содержит волосяной регулятор влажности 19, мембранные клапаны 18 и 21, запорные вентили 17, игольчатый дроссель 20 для регулирования давления сжатого воздуха перед мембранными клапанами, трансформатор напряжения 22, контрольные лампы 23 и 26, выключатель 25 и электропневматическое реле 24.
Система увлажнения работает следующим образом.
Пневматические форсунки (фиг.1) распыляют воду с помощью сжатого воздуха, выходящего из сопла 3 со скоростью свыше 300 м/с. Струи сжатого воздуха захватывают подводимую к ним воду из сопел 10 и, расширяясь, распыляют ее на мелкие капли, которые испаряются в зоне движения поддерживающего их во взвешенном состоянии воздушного потока. Распыливающий агент, например воздух, подается по трубке 7, где встречает на своем пути кольцевой объемный резонатор 5. В результате прохождения резонатора 5 распыливающим агентом (например, воздухом) в последнем возникают пульсации давления, создающие акустические колебания, частота которых зависит от параметров резонатора. Акустические колебания распыливающего агента способствуют более тонкому распыливанию жидкости, подаваемой через трубку 8 в сопла 10, откуда она попадает на окружность, находящуюся в средней части конической поверхности 11 резонатора 5, затем дробится под воздействием акустических колебаний воздуха на мелкие капли, в результате чего образуется факел распыленного раствора с воздухом, корневой угол которого определяется величиной угла наклона конической поверхности 11 резонатора 5.
Блок управления (фиг.2) работой пневматических форсунок работает следующим образом. При подводе сжатого воздуха в полости над мембранами клапанов 14 и 17 вначале открывается подача сжатого воздуха, а затем – воды. После выключения подачи сжатого воздуха клапаны закрываются в обратном порядке; это предохраняет от опасности вытекания через форсунки остатка нераспыленной воды, находящейся в трубах. Описанное предохранительное устройство используется также и для автоматического управления работой форсунок, которое осуществляется с помощью регулятора влажности 15, воздействующего на электропневматическое реле (электромагнитный клапан) 20, установленное над мембранным клапаном 14, расположенным на линии подачи воды. Это реле в зависимости от включения или выключения электрического тока открывает или закрывает узкое отверстие в крышке клапана 14, открывая или закрывая выход в атмосферу воздуху, находящемуся под мембраной. Одновременно изменяется и давление на соответствующие мембраны, а следовательно, подача воды и сжатого воздуха к форсункам. В некоторых случаях к каждому мембранному клапану устанавливают свое электропневматическое реле, которое включается через самостоятельное реле времени. Электропневматические реле отрегулированы таким образом, чтобы подача воды выключалась на 10 с раньше прекращения подачи сжатого воздуха, а включалась на 10 с позже возобновления подачи воздуха.
Формула изобретения
1. Система увлажнения воздуха, состоящая из пневматических форсунок, сетей трубопроводов, служащих для подачи к ним воды и сжатого воздуха, и блока управления работой пневматических форсунок, отличающаяся тем, что пневматическая форсунка выполнена акустической, содержащей корпус с размещенным внутри генератором акустических колебаний в виде сопла и резонатора, трубок для подвода воздуха и жидкости, при этом корпус выполнен в виде вертикально расположенной цилиндрической втулки, в верхней части которой расположена трубка для подвода воздуха, а перпендикулярно ее оси расположена трубка для подвода жидкости, причем внутри корпуса, соосно ему, жестко закреплена втулка с верхним и нижним фланцами, при этом нижний фланец жестко зафиксирован в проточке, выполненной в корпусе, а внутри втулки, соосно ей, расположен кольцевой объемный резонатор, выполненный в виде чашки с конической поверхностью, чашка запрессована на стержне диаметром d резонатора, а в его хвостовой части расположены фиксирующие диски, выполненные в виде упругих лепестков, взаимодействующих с внутренней поверхностью втулки, а в нижнем фланце расположено по крайней мере одно сопло под углом к оси резонатора, величина которого лежит в следующем интервале величин: 20°-40°, при этом продолжение оси сопла лежит на окружности, находящейся в средней части конической поверхности резонатора.
2. Система увлажнения воздуха по п.1, отличающаяся тем, что блок управления работой пневматических форсунок содержит волосяной регулятор влажности, мембранные клапаны, запорные вентили, игольчатый дроссель для регулирования давления сжатого воздуха перед мембранными клапанами, трансформатор напряжения, контрольные лампы, выключатель и электропневматическое реле.
3. Система увлажнения воздуха по п.1, отличающаяся тем, что пневматическая акустическая форсунка выполнена со следующими соотношениями размеров ее основных элементов: отношение высоты h1 кольцевого объемного резонатора к расстоянию h между верхним основанием конической поверхности и нижней торцевой поверхностью корпуса лежит в оптимальном интервале величин: h1/h=1÷3; отношение внутреннего диаметра d1 чашки резонатора к диаметру d2 его внешней цилиндрической поверхности лежит в оптимальном интервале величин: d1/d2=0,7÷0,9; отношение внутреннего диаметра d1 чашки резонатора к диаметру d его стержня лежит в оптимальном интервале величин: d1/d=1÷3; отношение внутреннего диаметра d1 чашки резонатора к высоте h1 кольцевого объемного резонатора 5 лежит в оптимальном интервале величин: d1/h1=1÷2.
РИСУНКИ
|
|