|
|
(21), (22) Заявка: 2007108383/06, 06.03.2007
(24) Дата начала отсчета срока действия патента:
06.03.2007
(46) Опубликовано: 10.11.2008
(56) Список документов, цитированных в отчете о поиске:
RU 2070652 C1, 20.12.1996. RU 2274761 C2, 20.04.2006. US 2004055277 A, 25.03.2004. JP 2001329911 А, 30.11.2001. DE 299167454 A, 23.12.1999. GB 2328006 A, 10.02.1999. FR 1531594 A1, 05.07.1968.
Адрес для переписки:
141410, Московская обл., г. Химки-10, ул. Родионова, 4, кв.69, Н.Н. Иванову
|
(72) Автор(ы):
Иванов Николай Николаевич (RU), Иванов Алексей Николаевич (RU), Иванова Екатерина Алексеевна (RU)
(73) Патентообладатель(и):
Иванов Николай Николаевич (RU)
|
(54) ГИБРИДНЫЙ РАКЕТНЫЙ ДВИГАТЕЛЬ
(57) Реферат:
Изобретение относится к ракетно-космической технике. Предложенный гибридный ракетный двигатель содержит отсек с размещенными в нем баком и системой подачи жидкого компонента, корпус камеры сгорания, заряд из твердого топливного компонента, сопло, при этом система отбора и генерации рабочего газа для привода турбины турбонасосного агрегата (ТНА) содержит смонтированный на сопловом днище и сопле отборник-газогенератор, входной охлаждаемый газоход которого герметично и жестко закреплен в закладном элементе корпуса камеры сгорания и одновременно в коллекторе отборника-газогенератора, вход жидкого компонента отборника-газогенератора связан с выходным патрубком насоса жидкого компонента магистралью с размещенным в ней агрегатом гидроавтоматики, выход этого отборника-газогенератора связан магистралью с входным коллектором турбины, при этом выходной коллектор турбины, связанный газовой связью со вспомогательными двигателями, выполнен в виде криогенного теплообменника, на вход которого жидкий компонент подается по содержащей агрегат гидроавтоматики магистрали, связанной с выходным патрубком насоса жидкого компонента, а выход этого криогенного теплообменника состыкован газоходом подачи газифицированного компонента с устройством наддува, размещенным внутри бака жидкого компонента. Изобретение обеспечивает повышение эффективности, стабильности и надежности работы турбины ТНА гибридного двигателя и использование сработанного на турбине рабочего газа во вспомогательных устройствах ГРД. 1 ил.
Изобретение относится к области ракетно-космической техники, а именно к гибридным ракетным двигателям (далее ГРД). Поиск сокращения стоимости доставки полезного груза на орбиту искусственного спутника Земли (ОИСЗ) и обратно, с орбиты ИСЗ на орбиту искусственного спутника Луны (ОИСЛ) и обратно, с ОИСЛ на поверхность Луны и обратно, транспортные операции по доставке 3Не с планеты, например, Уран являются актуальными задачами для всех стран, разрабатывающих ракеты-носители и межорбитальные пилотируемые буксиры (МПБ). При этом конструкция двигательной установки, задействованная в такой ракете-носителе или МПБ, должна быть простой и надежной [1].
Известно семейство гибридных ракетных двигателей, разрабатываемых американской фирмой AMROC [2]. В качестве прототипа выбран гибридный ракетный двигатель по американскому патенту №5119627, запатентованный сотрудниками вышеупомянутой фирмы 9 июня 1992 г.
ГРД по патенту №5119627 включает в себя отсек с размещенными в нем баком жидкого компонента, камерой сгорания, зарядом твердого компонента, агрегатами автоматики, размещенным частично в заряде баллоном газификации жидкого компонента, соплом.
Двигатель-прототип работает следующим образом. Вначале открываются клапаны, расположенные на магистралях подвода жидкого компонента, и последний под воздействием начального давления наддува начинает поступать в камеру сгорания. Далее происходит поджиг и начинается горение заряда твердого компонента. В результате поступления тепла к баллону, смонтированному в заряде твердого компонента, находящийся в баллоне жидкий компонент газифицируется и по магистрали подается в верхнюю часть бака жидкого компонента. Газ, поступивший в бак жидкого компонента, сжимает жидкий компонент и вытесняет его в камеру сгорания ГРД, где осуществляется внутрикамерный рабочий процесс.
Данный прототип имеет ряд недостатков:
– баллон газификации жидкого компонента расположен в высокотемпературной камере сгорания двигателя, в которой температура продуктов сгорания равна Ткс 3500 К и более,
– возможно разрушение тепловой защиты баллона, прогар баллона и взрыв всего двигателя;
– использование в данном двигателе вытеснительной системы подачи жидкого компонента приводит к утолщению стенок и днищ бака жидкого компонента и к утяжелению летательного аппарата (в данной схеме Рб>Pк, здесь Рб – давление наддува в баке жидкого компонента, Pк – давление продуктов сгорания в камере ГРД; если Рк 30 кгс/см2 3 МПа, то Рб (35…40) кгс/см2 (3,5…4) МПа;
– весьма трудно контролировать и обеспечивать постоянное давление наддува в баке жидкого компонента;
– надежность данной конструкции ГРД невысока.
Целью данного изобретения является повышение эффективности, стабильности и надежности работы гибридного ракетного двигателя, использование сработанного на турбине рабочего газа во вспомогательных устройствах ГРД.
Поставленная цель достигается тем, что система отбора и генерации рабочего газа для привода турбины турбонасосного агрегата (ТНА) содержит смонтированный на сопловом днище и сопле отборник-газогенератор, входной охлаждаемый газоход которого герметично и жестко закреплен в закладном элементе корпуса камеры сгорания и одновременно в коллекторе отборника-газогенератора, вход жидкого компонента отборника-газогенератора связан с выходным патрубком насоса жидкого компонента магистралью с размещенным в ней агрегатом гидроавтоматики, выход этого отборника-газогенератора связан магистралью с входным коллектором турбины, при этом выходной коллектор турбины, связанный газовой связью со вспомогательными двигателями, выполнен в виде криогенного теплообменника, на вход которого жидкий компонент подается по содержащей агрегат гидроавтоматики магистрали, связанной с выходным патрубком насоса жидкого компонента, а выход этого криогенного теплообменника состыкован газоходом подачи газифицированного компонента с устройством наддува, размещенным внутри бака жидкого компонента.
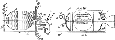
Изобретение поясняется чертежом, где представлена пневмогидравлическая схема заявляемого ГРД.
Заявляемый ГРД содержит следующие основные агрегаты и узлы (см. чертеж):
бак с жидким компонентом (например, жидким кислородом) 1; заправочно-дренажный клапан 2; нормально-закрытый пироклапан 3; обратный клапан 4; устройство наддува бака 5; заправочно-сливной клапан жидкого компонента 6; магистраль жидкого компонента 7; насос жидкого компонента 8; турбину ТНА 9; форсуночную головку 10; емкость с воспламеняющимся составом 11; пирозапал 12; трубку датчика давления 13; заряд твердого топливного компонента (например, полибутадиеновый каучук С4Н6) 14; камеру сгорания 15; отборник-газогенератор 16; магистраль подвода жидкого компонента к отборнику-газогенератору 17; магистраль подвода «рабочего» газа к входному коллектору турбины 18; пиростартер 19; криогенный теплообменник 20; вспомогательные двигатели 21; отсечной клапан насоса жидкого компонента 22; магистраль подвода жидкого компонента к криогенному теплообменнику 23; главный клапан жидкого компонента 24; магистраль подвода газифицированного жидкого компонента к устройству наддува 25; закладной элемент камеры сгорания 26; агрегаты гидроавтоматики 27; охлаждаемый газоход 28.
Работа заявляемого ГРД происходит следующим образом.
Вначале срабатывает пиростартер 19, который раскручивает турбину ТНА 9 и насос жидкого компонента 8. В случае многократного включения заявляемый ГРД комплектуется несколькими пиростартерами. Далее срабатывают главный клапан 24 и отсечной клапан 22 жидкого компонента, в результате чего через форсуночную головку 10 по магистралям 17 и 23, на которых смонтированы агрегаты гидроавтоматики 27, жидкий компонент начинает поступать соответственно в камеру сгорания 15, отборник-газогенератор 16 и криогенный теплообменник 20. Через заданный временной интервал (порядка t 0,1 с) срабатывает емкость с воспламеняющимся составом 11 (например, пропаном С3Н8) и пусковое горючее также начинает поступать в камеру сгорания 15. После этого срабатывает пирозапал 12, воспламеняется распыленное в камере сгорания пусковое горючее, форсы пламени прогревают и воспламеняют заряд твердого топливного компонента 14. Двигатель запущен. В отборник-газогенератор 16 начинают поступать высокотемпературные продукты сгорания. Взаимодействуя с поступающим в отборник-газогенератор 16 жидким компонентом, продукты сгорания образуют «рабочий» газ требуемых параметров (обычно Тп 970 К), который по магистрали 18 начинает поступать на турбину 9 и вращать ее; пиростартер 19 к этому времени свою работу заканчивает. Под воздействием тепла «рабочего» газа, сработавшего на турбине ТНА 9 и затем протекающего через криогенный теплообменник 20 к вспомогательным двигателям 21, происходит газификация поступающего в этот криогенный теплообменник 20 жидкого компонента. Образовавшийся газифицированный компонент по магистрали 25 поступает в устройство наддува бака жидкого компонента 5 и осуществляет в последнем наддув жидкого компонента.
Останов заявляемого ГРД осуществляется с помощью главного клапана жидкого компонента 24, перекрывающего подачу жидкого компонента в насос жидкого компонента 8.
В случае повторного запуска данного ГРД все вышеописанные операции повторяются снова в той же самой последовательности. В заключение отметим, что крепление отборника-газогенератора 16 с камерой сгорания 15 осуществляется посредством закладного элемента 26 и газохода 28.
Использованные источники
1. Акимов В.Н., Еськов Ю.М., Коротеев А.С. и др. О возможности энергоснабжения Земли из космоса. Перспективы и этапы. В сб.: Ракетно-космические двигатели и энергетические установки. 1993 г., вып.4 (142). М., НИИТП им. акад. М.В.Келдыша, стр.69-92.
2. Kniffen R.I., Mckinney В. and Estey. Hibrid Rocket Development at the American Roket Company. AIAA – 90-2762.
Формула изобретения
Гибридный ракетный двигатель, содержащий отсек с размещенными в нем баком и системой подачи жидкого компонента, корпус камеры сгорания, заряд из твердого топливного компонента, сопло, отличающийся тем, что система отбора и генерации рабочего газа для привода турбины турбонасосного агрегата (ТНА) содержит смонтированный на сопловом днище и сопле отборник-газогенератор, входной охлаждаемый газоход которого герметично и жестко закреплен в закладном элементе корпуса камеры сгорания и одновременно в коллекторе отборника-газогенератора, вход жидкого компонента отборника-газогенератора связан с выходным патрубком насоса жидкого компонента магистралью с размещенным в ней агрегатом гидроавтоматики, выход этого отборника-газогенератора связан магистралью с входным коллектором турбины, при этом выходной коллектор турбины, связанный газовой связью со вспомогательными двигателями, выполнен в виде криогенного теплообменника, на вход которого жидкий компонент подается по содержащей агрегат гидроавтоматики магистрали, связанной с выходным патрубком насоса жидкого компонента, а выход этого криогенного теплообменника состыкован газоходом подачи газифицированного компонента с устройством наддува, размещенным внутри бака жидкого компонента.
РИСУНКИ
|
|