|
| На основании пункта 1 статьи 1366 части четвертой Гражданского кодекса Российской Федерации патентообладатель обязуется заключить договор об отчуждении патента на условиях, соответствующих установившейся практике, с любым гражданином Российской Федерации или российским юридическим лицом, кто первым изъявил такое желание и уведомил об этом патентообладателя и федеральный орган исполнительной власти по интеллектуальной собственности. |
|
(21), (22) Заявка: 2007112707/06, 05.04.2007
(24) Дата начала отсчета срока действия патента:
05.04.2007
(46) Опубликовано: 10.11.2008
(56) Список документов, цитированных в отчете о поиске:
Самолет СУ-15, Инструкция по эксплуатации и техническому обслуживанию, кн.1, М., 1975, с.99. RU 2084375 C1, 20.07.1997. RU 2131378 C1, 10.06.1996. RU 2138423 C1, 27.09.1999. RU 2126344 C1, 20.02.1999. US 5239815 A, 31.08.1993. ЕР 0512833 А, 11.11.1992.
Адрес для переписки:
355021, г.Ставрополь, ул. Ленина, 320, СВВАИУ, НИО, В.Н. Попову
|
(72) Автор(ы):
Попов Владимир Николаевич (RU), Артеменко Виктор Петрович (RU)
(73) Патентообладатель(и):
Попов Владимир Николаевич (RU), Артеменко Виктор Петрович (RU)
|
(54) РУЧКА УПРАВЛЕНИЯ ДВИГАТЕЛЕМ ДЛЯ ОТКЛОНЕНИЯ СОПЛА
(57) Реферат:
Изобретение относится к авиации, а именно к управлению величиной и направлением тяги с помощью подвижных сопел. Ручка управления двигателем для отклонения сопла состоит из неподвижной рукоятки, установленной на рычаге, дополнительной внешней поворотной рукоятки, установленной на одной оси с неподвижной рукояткой, кнопки фиксации поворотной рукоятки, подшипников, плоской спиральной пружины, второй плоской спиральной пружины, датчика, шарикового замка, блока автоматики, электрогидрокрана и гидроцилиндров. Изобретение обеспечивает улучшение условий управления двигателем, удобство и простоту управления положением сопла газотурбинного двигателя при использовании ручки управления двигателем. 2 ил.
Изобретение относится к устройствам для управления газотурбинным двигателям, а именно к управляющим устройствам.
Известна ручка управления двигателем (РУД), при перемещении которой летчик осуществляет управление тягой газотурбинного двигателя. РУД имеет рычаг управления и рукоятку рычага управления, неподвижно закрепленную на нем [1].
При наличии управляемого сопла на газотурбинном двигателе для его отклонения в кабине летчика необходимо наличие дополнительного рычага или кнюппеля (переключателя), что затрудняет пилотирование самолета [2].
Недостатком описанной конструкции является невозможность управления через РУД положением выходного сопла газотурбинного двигателя, что не позволяет одновременно изменять направление и величину тяги газотурбинного двигателя, пользуясь РУД.
Технической задачей изобретения является улучшение условий управления газотурбинным двигателем с изменяемым положением сопла, обеспечение удобства и простоты ручного управления величиной и направлением тяги двигателя за счет совмещения в РУД двух функций, а именно одновременного управления величиной тяги и ее направлением.
Для решения этой задачи предлагается усовершенствованная конструкция РУД с добавлением второй поворотной рукоятки рычага управления, установленной на той же оси.
Технический результат изобретения заключается в улучшении условий управления двигателем, обеспечении удобства и простоты управления положением сопла газотурбинного двигателя, пользуясь РУД, и достигается за счет того, что в ручке управления двигателем, имеющей рычаг управления и укрепленную на нем рукоятку, на той же оси установлена выполненная вращающейся вокруг оси дополнительная внешняя поворотная рукоятка, снабженная кнопкой на торцевой стороне РУД, при нажатии на которую дополнительная внешняя поворотная рукоятка может вращаться от нейтрального положения, в котором она фиксируется с помощью шарикового замка, до положения «от себя» – сопло вверх и «на себя» – сопло вниз, причем две спиральные пружины, установленные на внешней поворотной рукоятке, создают усилие и обеспечивают тактильное ощущение ладонью летчика величины отклонения сопла, при этом положение ручка управления двигателем фиксируется электрическим датчиком, сигнал с которого поступает на блок автоматики, который выдает команду электрогидрокрану на отклонение сопла с помощью гидроцилиндров.
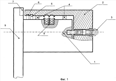
На фиг.1 показан общий вид РУД; на фиг.2 – схема работы устройства.
Ручка управления двигателем для отклонения сопла состоит из неподвижной рукоятки 1, установленной на рычаге 9, дополнительной внешней поворотной рукоятки 2, установленной на одной оси с неподвижной рукояткой 1, кнопки 3 фиксации поворотной рукоятки 2, подшипников 4, двух плоских спиральных пружин 5, 6, датчика 7, шарикового замка 8, блока 10 автоматики, электрогидрокрана 11 и гидроцилиндров 12.
Устройство работает следующим образом. При нажатии на кнопку 3, расположенную на торцевой стороне ручки управления двигателем, внешняя поворотная рукоятка 2 выходит из зацепления с неподвижной рукояткой 1 и приводится в нейтральное положение, дополнительно зафиксированная с помощью шарикового замка 8. При приложении незначительных усилий летчиком поворотная рукоятка 2 «снимается» с шарикового замка 8, получает возможность вращаться относительно неподвижной рукоятки 1. Изменение положения внешней поворотной рукоятки 2 фиксируется датчиком 7. Сигнал с датчика 7 поступает на блок 10 автоматики (фиг.2), блок 10 автоматики подает команду электрогидрокрану на отклонение сопла с помощью гидроцилиндров. С целью тактильного ощущения летчиком изменения положения сопла газотурбинного двигателя пружины 5 и 6 создают усилия при вращении внешней рукоятки 2, возрастающие по мере ее поворота вокруг своей оси, каждая из пружин создает усилия в одном направлении вращения и не действует в нейтральном положении внешней поворотной рукоятки 2. Поскольку сопло может отклоняться с помощью рукоятки 2 вверх и вниз, то для тактильного восприятия летчиком нейтрального положения в РУД установлен шариковый замок 8, позволяющий летчику тактильно ощущать нейтральное положение сопла.
Для прекращения управления соплом внешняя поворотная рукоятка 2 устанавливается в нейтральное положение и фиксируется с помощью шарикового замка 8, затем путем повторного нажатия кнопки 3 происходит ее соединение с неподвижной рукояткой 1.
Источники информации
1. Самолет Су-15. Инструкция по эксплуатации и техническому обслуживанию. Кн.1. 1975, с 99.
2. А.И.Нелюбов, А.А.Новад. Динамика полета и боевого маневрирования летательных аппаратов. -М.: ВВИА им. проф. Н.Е.Жуковского, 1990, с.67.
Формула изобретения
Ручка управления двигателем для отклонения сопла, имеющая рычаг управления и укрепленную на нем рукоятку, отличающаяся тем, что на той же оси установлена выполненная вращающейся вокруг своей оси дополнительная внешняя поворотная рукоятка, снабженная кнопкой на торцевой стороне ручки управления двигателем, при нажатии на которую дополнительная внешняя поворотная рукоятка может вращаться от нейтрального положения, в котором она фиксируется с помощью шарикового замка, до положения «от себя» – сопло вверх и «на себя» – сопло вниз, причем две спиральные пружины, установленные на внешней поворотной рукоятке, создают дополнительное усилие и обеспечивают тактильное ощущение ладонью летчика величины отклонения сопла, при этом положение ручки управления двигателем фиксирует электрический датчик, сигнал с которого поступает на блок автоматики, который выдает команду электрогидрокрану на отклонение сопла с помощью гидроцилиндров.
РИСУНКИ
|
|