|
|
(21), (22) Заявка: 2007106975/03, 26.02.2007
(24) Дата начала отсчета срока действия патента:
26.02.2007
(46) Опубликовано: 10.11.2008
(56) Список документов, цитированных в отчете о поиске:
RU 2161698 С2, 10.01.2001. SU 907225 А, 23.02.1982. RU 2211311 С2, 27.08.2003. SU 791948 А, 30.12.1980. SU 1625979 A1, 07.02.1991. US 6119780 A, 19.09.2000.
Адрес для переписки:
423236, Республика Татарстан, г. Бугульма, ул. М. Джалиля, 32, “ТатНИПИнефть”, Сектор создания и развития промышленной собственности
|
(72) Автор(ы):
Ибатуллин Равиль Рустамович (RU), Кунеевский Владимир Васильевич (RU), Оснос Владимир Борисович (RU), Страхов Дмитрий Витальевич (RU), Зиятдинов Радик Зяузятович (RU)
(73) Патентообладатель(и):
Открытое акционерное общество “Татнефть” им. В.Д. Шашина (RU)
|
(54) СПОСОБ ОДНОВРЕМЕННО-РАЗДЕЛЬНОЙ ЭКСПЛУАТАЦИИ МНОГОПЛАСТОВОЙ СКВАЖИНЫ
(57) Реферат:
Изобретение относится к нефтегазодобывающей промышленности и может быть использовано при эксплуатации многопластовых скважин, как для раздельной выработки пластов, так и для одновременной. Обеспечивает снижение затрат на осуществление способа. Сущность изобретения: способ включает селективную выработку продуктивных пластов с помощью установленных в эксплуатационной колонне против каждого продуктивного пласта в составе патрубка приемных клапанов, каждый из которых имеет два устойчивых положения «закрыто» и «открыто». Согласно изобретению приемные клапаны установлены на корпусе, размещенном в эксплуатационной колонне, и перепускают скважинную жидкость только в направлении снизу вверх. При этом перевод приемных клапанов в одно из устойчивых положений «открыто» или «закрыто» осуществляют установкой внутрь корпуса заглушенного снизу ниппеля с боковыми отверстиями и шиберами. Боковые отверстия ниппеля размещают напротив приемных клапанов, которые необходимо установить в положение «открыто», а шиберы герметично устанавливают напротив приемных клапанов, которые необходимо установить в положение «закрыто». 3 ил.
Изобретение относится к нефтегазодобывающей промышленности и может быть использовано при эксплуатации многопластовых скважин, как для раздельной выработки пластов, так и для одновременной.
Известен способ одновременной эксплуатации многопластовой скважины (авторское свидетельство SU №791948, МПК 8 Е21В 43/14, опубл. в бюл. №48 от 30.12.1980 г.), путем селективной выработки продуктивных пластов с помощью установленных напротив каждого пласта на эксплуатационной колонне и управляемых с устья скважины приемных клапанов. Сущность способа заключается в том, что выбор вскрытого продуктивного пласта, подлежащего эксплуатации, осуществляют изменением длины хода плунжера глубинного насоса, цилиндром для которого являются подъемные трубы, при этом длина хода может устанавливаться любая в интервалах от устья до забоя скважины. Регулирование отбора продукта из пластов также производится путем изменения хода плунжера.
Недостатком этого способа является то, что его использование ограничено условиями принудительной эксплуатации скважины, то есть с использованием глубинных насосов. Более того, при реализации данного способа произвольный выбор пластов, подлежащих эксплуатации, невозможен.
Наиболее близким по технической сущности и достигаемому результату к предлагаемому является способ одновременно-раздельной эксплуатации многопластовой скважины (патент РФ на изобретение №2161698, МПК 8 Е21В 43/14; Е21В 34/06, опубл. в бюл. №1 от 10.01.2001 г.) путем селективной выработки продуктивных пластов с помощью установленных против каждого пласта на эксплуатационной колонне и управляемых с устья скважины приемных клапанов, при этом каждый приемный клапан имеет два устойчивых положения «закрыто» и «открыто», а перевод их из одного положения в другое осуществляют импульсом давления посредством нагнетания рабочей среды с устья скважины, при этом каждый клапан имеет индивидуальный элемент, определяющий порог его срабатывания при подаче импульса давления, а открывание-закрывание приемных клапанов достигается путем последовательной подачи двух импульсов давления: первый – давление равно давлению срабатывания желаемого клапана, второй – давление равно давлению срабатывания следующего, настроенного на меньшее давление, а если настроенного на меньшее давление нет, то второй импульс не подают.
Недостатками данного способа являются:
во-первых, для перевода приемных клапанов из одного устойчивого положения в другое, то есть для открытия или наоборот закрытия приемных клапанов необходим размещенный на поверхности земли гидронасос с рабочей средой, что требует дополнительных затрат на осуществление этого способа;
во-вторых, открывание-закрывание приемных клапанов происходит при подаче импульса давления гидронасосом, нагнетающим в эксплуатационную колонну рабочую жидкость, причем каждый приемный клапан имеет индивидуальный элемент, определяющий порог его срабатывания и имеющий определенную последовательность, нарушение которой, например, при резком скачке импульса давления, может привести к сбою в работе приемных клапанов, то есть будет не определено – в каком из устойчивых положений «открыто» или «закрыто» находится каждый приемный клапан;
в-третьих, при остановке скважины добываемая из пластов скважинная жидкость возвращается обратно через отверстия корпуса в продуктивные пласты, клапанные втулки которых открыты, при этом происходит кольматация призабойной зоны пластов и ухудшение их коллекторских свойств вследствие того, что в продуктивные пласты возвращается тяжелая фракция (вода) добываемой скважинной жидкости, находящаяся снизу, что снижает общий дебит скважины по нефти в процессе дальнейшей эксплуатации.
Технической задачей изобретения является снижение затрат на осуществление способа, а также гарантированная установка приемных клапанов в одном из устойчивых положений – «открыто» или «закрыто» и исключение обратного поступления добываемой скважинной жидкости в пласты при остановке скважины.
Техническая задача решается предлагаемым способом одновременно-раздельной эксплуатации многопластовой скважины путем селективной выработки продуктивных пластов с помощью установленных в эксплуатационной колонне против каждого продуктивного пласта приемных клапанов, каждый из которых имеет два устойчивых положения «закрыто» и «открыто».
Новым является то, что приемные клапаны установлены на корпусе, размещенном в эксплуатационной колонне, и перепускают скважинную жидкость только в направлении снизу вверх, при этом перевод приемных клапанов в одно из устойчивых положений «открыто» или «закрыто» осуществляется установкой внутрь корпуса, заглушенного снизу ниппеля с боковыми отверстиями и шиберами, причем боковые отверстия ниппеля размещают напротив приемных клапанов, которые необходимо установить в положение «открыто», а шиберы герметично устанавливают напротив приемных клапанов, которые необходимо установить в положение «закрыто».
На фигуре 1 изображена схема одновременной эксплуатации всех пластов перед установкой ниппеля.
На фигуре 2 изображена схема одновременно-раздельной эксплуатации пластов после установки ниппеля.
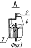
На фигуре 3 изображена конструкция приемного клапана.
Предлагаемый способ осуществляется следующим образом.
В эксплуатационную колонну 1 (см. фиг.1) скважины устанавливают корпус 2, в составе которого напротив вскрытых продуктивных пластов (в данном случае три пласта 3; 3′ и 3”) установлены приемные клапаны 4 (см. фиг.3); 4′ и 4” (см. фиг.1), соответственно, соединенные с продуктивной зоной пластов перфорационными отверстиями 5; 5′ и 5”. После чего затрубное пространство 6 между эксплуатационной колонной 1 и корпусом 2 герметизируют между пластами 3; 3′ и 3”, соответственно, пакерами 7; 7′ и 7”.
Далее производят эксплуатацию скважины любым известным способом, например электроцентробежным насосом (ЭЦН) 8 (на фиг.1 показано условно), спущенным в эксплуатационную колонну 1 на колонне труб 9. Таким образом (см. фиг.1) производят одновременную эксплуатацию всех трех пластов 3; 3′ и 3”, поскольку все соответствующие приемные клапаны 4; 4′ и 4” открыты.
В процессе эксплуатации появляется необходимость перекрыть добычу продукции из одного или нескольких пластов, например, по причине обводнения пластов 3 и 3”, что непосредственно сказывается на общей обводненности добываемой из скважины продукции. С целью разобщения обводнившихся пластов 3 и 3” и, соответственно, дальнейшего снижения обводненности добываемой из скважины продукции приступают к одновременно-раздельной эксплуатации пластов 3; 3′ и 3”.
Для этого извлекают из эксплуатационной колонны 1 скважины ЭЦН 8 с колонной труб 9. После этого спускают в эксплуатационную колонну 1 скважины на колонне труб (на фиг.1 и 2 не показано) заглушенный снизу ниппель 10 с боковыми отверстиями 11 и шиберами 12 и 12′ и устанавливают его внутри патрубка 2, причем шиберы 12 и 12′ устанавливают в составе ниппеля 8 напротив приемных клапанов 4 и 4”, сообщающимися соответственно с обводнившимися пластами 3 и 3”, а боковые отверстия 11 ниппеля 10 размещают напротив приемного клапана 4′, сообщающегося с пластом 3′.
Далее вновь спускают в эксплуатационную колонну 1 на колонне труб 9 (см. фиг.2) либо тот же насос или же другой, например, скважинный штанговый насос 13 (на фиг.1 показано условно) и запускают скважину в эксплуатацию.
Таким образом, согласно фиг.2 производят одновременно-раздельную эксплуатацию пластов 3; 3′ и 3”. Обводнившиеся пласты 3 и 3” не эксплуатируются, так как их приемные клапаны 4 и 4” закрыты, то есть герметично перекрыты изнутри шибером 12 и 12′ ниппеля 10, соответственно, при этом пласт 3′ эксплуатируется, так как его приемный клапан 4′ изнутри посредством боковых отверстий 11 ниппеля 10 сообщается с внутренним пространством эксплуатационной колонны 1.
Предлагаемый способ одновременно-раздельной эксплуатации многопластовой скважины не требует привлечения гидронасоса и рабочей среды для создания импульса давления для переключения приемных клапанов из положения «открыто» в «закрыто» и наоборот, в связи с чем снижаются затраты на осуществление способа, при этом гарантированная установка приемных клапанов в одном из устойчивых положений «открыто» или «закрыто» обеспечивается спускаемым в скважину заглушенным снизу ниппелем, оснащенным боковыми отверстиями в положении «открыто» и шиберами в положении «закрыто». Кроме того, исключение обратного поступления добываемой скважинной жидкости в пласты при остановке скважины позволяет сохранить общий дебит скважины по нефти в процессе дальнейшей эксплуатации.
Формула изобретения
Способ одновременно-раздельной эксплуатации многопластовой скважины путем селективной выработки продуктивных пластов с помощью установленных в эксплуатационной колонне против каждого продуктивного пласта в составе патрубка приемных клапанов, каждый из которых имеет два устойчивых положения «закрыто» и «открыто», отличающийся тем, что приемные клапаны установлены на корпусе, размещенном в эксплуатационной колонне, и перепускают скважинную жидкость только в направлении снизу вверх, при этом перевод приемных клапанов в одно из устойчивых положений «открыто» или «закрыто» осуществляют установкой внутрь корпуса заглушенного снизу ниппеля с боковыми отверстиями и шиберами, причем боковые отверстия ниппеля размещают напротив приемных клапанов, которые необходимо установить в положение «открыто», а шиберы герметично устанавливают напротив приемных клапанов, которые необходимо установить в положение «закрыто».
РИСУНКИ
|
|