|
|
(21), (22) Заявка: 2006132734/09, 10.02.2005
(24) Дата начала отсчета срока действия патента:
10.02.2005
(30) Конвенционный приоритет:
13.02.2004 DE 102004007200.0
(43) Дата публикации заявки: 20.03.2008
(46) Опубликовано: 10.10.2008
(56) Список документов, цитированных в отчете о поиске:
RU 2214048 C2, 10.10.2003. ЕР 1160770 A3, 02.05.2003. US 6487535 B1, 26.11.2002. WO 97/21211 A1, 12.06.1997.
(85) Дата перевода заявки PCT на национальную фазу:
13.09.2006
(86) Заявка PCT:
EP 2005/001350 (10.02.2005)
(87) Публикация PCT:
WO 2005/078704 (25.08.2005)
Адрес для переписки:
129090, Москва, ул. Б. Спасская, 25, стр.3, ООО “Юридическая фирма Городисский и Партнеры”, пат.пов. Ю.Д.Кузнецову, рег.№ 595
|
(72) Автор(ы):
ШУЛЛЕР Геральд (DE), ВАБНИК Штефан (DE), ГАЙЕР Марк (DE)
(73) Патентообладатель(и):
ФРАУНХОФЕР-ГЕЗЕЛЛЬШАФТ ЦУР ФЕРДЕРУНГ ДЕР АНГЕВАНДТЕН ФОРШУНГ Е.Ф. (DE)
|
(54) АУДИОКОДИРОВАНИЕ
(57) Реферат:
Изобретение относится к аудиокодированию и, в частности, к аудиокодированию, которое позволяет кодировать аудиосигналы с коротким временем задержки. Сущность изобретения состоит в том, чтобы исключить известную процедуру, заключающуюся в интерполяции относительно коэффициентов фильтра и величины усиления для получения интерполированных величин для промежуточных аудиозначений, причем кодирование может быть осуществлено не интерполяцией величины усиления, а использованием предельного значения мощности, полученного из порогового значения маскирования, предпочтительно, как область ниже квадрата величины порогового значения маскирования, для каждого узла, то есть для каждой передаваемой параметризации, с последующим выполнением интерполяции между этими предельными значениями мощности в соседних узлах, например линейной интерполяции. Как на стороне кодера, так и на стороне декодера величина усиления может быть затем вычислена по промежуточному предельному значению мощности, полученному таким образом, чтобы шум квантования, вызываемый квантованием с постоянной частотой перед последующей фильтрацией на стороне декодера, находился ниже предельного значения мощности или соответствовал ему после последующей фильтрации. Технический результат – обеспечение при кодировании снижения прослушиваемых аудиопомех. 5 н. и 11 з.п. ф-лы, 15 ил.
Изобретение, в общем, относится к аудиокодированию и, в частности, к аудиокодированию, которое позволяет кодировать аудиосигналы с коротким временем задержки.
В настоящее время наиболее известен способ сжатия аудио согласно стандарту MPEG-1 Layer III. При использовании этого способа сжатия дискретные значения или аудиозначения аудиосигнала кодируются для получения кодированного сигнала с потерями. Другими словами, при сжатии уменьшаются, или, в идеале, исключаются несущественные и избыточные компоненты исходного аудиосигнала. С этой целью с помощью психоакустической модели распознают одновременное и временное маскирование, то есть, в зависимости от аудиосигнала вычисляется или определяется временное изменение порогового значения маскирования, которое обозначает уровень тональных сигналов определенной частоты, воспринимаемых слухом человека. Эта информация, в свою очередь, используется для кодирования сигнала путем квантования спектральных значений аудиосигнала более точным или менее точным способом, или вообще не используется, в зависимости от порогового значения маскирования, и интегрирования для получения кодированного сигнала.
Возможности применения способов сжатия аудио, таких как, например, формат MP3, ограничены, когда аудиоданные необходимо передавать через канал передачи данных с ограниченной скоростью передачи битов, с одной стороны, в сжатой форме, но, с другой стороны, с как можно меньшим временем задержки. В некоторых вариантах применения время задержки не играет роли, например, при архивировании аудиоинформации. Однако когда требуется передавать аудиосигналы, критичные по времени, например, во время телеконференций, в беспроводных громкоговорителях или микрофонах, необходимы аудиокодеры с малым временем задержки, которые иногда называют “кодерами со сверхнизкой задержкой”. Для таких областей применения, в статье Schuller G. Et al. “Perceptual Audio Coding using Adaptive Pre- and Post-Filters and Lossless Compression”, IEEE Transactions on Speech and Audio Processing, vol. 10, no. 6, сентябрь 2002 г., стр. 379-390, предложено аудиокодирование, при котором уменьшение не существенных компонентов и уменьшение избыточности выполняется не на основе одного преобразования, а с использованием двух отдельных преобразований.
Ниже, со ссылкой на Фиг.12 и 13, будет описан этот принцип. Кодирование начинается с аудиосигнала 902, дискретизация которого уже была проведена и, который, таким образом, уже присутствует как последовательность 904 аудиозначений 906 или дискретных значений, в котором временный порядок аудиозначений 906 обозначен стрелкой 908. Пороговое значение слуха вычисляется с помощью психоакустической модели для последовательных блоков аудиозначений 906, характеризуемых нарастающей нумерацией, такой как “блок №”. На Фиг.13, например, показана схема, на которой представлен график «а» частотного спектра блока сигналов из 128 аудиозначений 906, и график «b» порогового значения маскирования, которое было вычислено по психоакустической модели в логарифмических единицах. Пороговое значение маскирования обозначает, как указано выше, уровень, до которого данная частота остается неслышимой для человеческого уха, а именно все тоны, находящиеся ниже порогового значения b маскирования. На основе пороговых значений слышимости, вычисленных для каждого блока, обеспечивается уменьшение несущественных компонентов путем управления параметризируемым фильтром, который установлен после квантователя. Параметризация для параметризируемого фильтра вычисляется таким образом, чтобы его частотный отклик соответствовал обратной величине порогового значения маскирования. Такая параметризация обозначена на Фиг.12, как x#(i).
После фильтрации аудиозначений 906, выполняется квантование с постоянным размером шага, например, с использованием операции округления до следующего целого числа. Шумы квантования, возникающие при этом, представляют собой белый шум. На стороне декодера отфильтрованный сигнал “повторно преобразуется” снова с помощью параметризируемого фильтра, передаточная функция которого устанавливается в соответствии с величиной его собственного порогового значения маскирования. С помощью этой операции не только снова фильтруется отфильтрованный сигнал, но также регулируются шумы квантования на стороне декодера в соответствии с формой порогового значения маскирования. Для того чтобы шумы квантования как можно более точно соответствовали пороговому значению маскирования, величина «a#» усиления, применяемая к отфильтрованному сигналу перед квантованием, вычисляется на стороне кодера для каждого установленного параметра или для каждой параметризации. Для выполнения повторного преобразования на стороне декодера величина «а» усиления и параметризация «x» передаются в кодер как дополнительная информация 910, вместе с действительными основными данными, а именно квантованными отфильтрованными аудиозначениями 912. Для уменьшения 914 избыточности этих данных, то есть, дополнительной информации 910 и основных данных 912, они подвергаются сжатию без потерь, а именно энтропийному кодированию, в результате чего обеспечивается кодированный сигнал.
В указанной выше статье в качестве размера блоков предложено использовать 128 дискретных значений 906. Это позволяет обеспечить относительно короткую задержку, равную 8 мс, при частоте дискретизации 32 кГц. Со ссылкой на подробную реализацию в статье также указано, что для увеличения эффективности кодирования дополнительной информации дополнительная информация, а именно коэффициенты x# и а#, передаются только в том случае, если происходят достаточные изменения по сравнению с параметром, переданным ранее, то есть если изменения превышают определенное пороговое значение. Кроме того, описано, что реализация предпочтительным образом выполняется так, чтобы текущий установленный параметр не применялся непосредственно ко всем дискретным значениям, принадлежащим соответствующему блоку, но вместо этого использовалась линейная интерполяция коэффициентов x# фильтра для исключения слышимых ложных сигналов. Для выполнения линейной интерполяции коэффициентов фильтра предложено использовать решетчатую структуру фильтра, чтобы предотвратить возникновение нестабильности. В случае, когда требуется получить кодированный сигнал с управляемой скоростью передачи битов, в статье также предлагается избирательно усиливать или ослаблять фильтрованный сигнал, масштабированный коэффициентом усиления, зависимым от времени, причем этот коэффициент не равен 1, в результате чего возникают слышимые помехи, но при этом скорость передачи битов можно уменьшить в тех частях аудиосигнала, которые трудно поддаются кодированию.
Хотя схема аудиокодирования, описанная в указанной выше статье, уже уменьшает время задержки в достаточной степени для многих вариантов применения, проблема указанной выше схемы состоит в том, что из-за требований обеспечения передачи порогового значения маскирования или передаточной функции фильтра на стороне кодера, который далее называется предварительным фильтром, канал передачи относительно сильно загружен, даже при передаче коэффициентов фильтра только в случае превышений заданного порогового значения.
Другой недостаток приведенной выше схемы кодирования состоит в том, что поскольку пороговое значение маскирования или его инверсное значение необходимо сделать доступным на стороне декодера путем передачи установленного параметра x#, необходимо принимать компромиссное решение между наименьшей возможной скоростью передачи битов или высокой степенью сжатия, с одной стороны, и наиболее точной возможной аппроксимацией или параметризацией порогового значения маскирования или его инверсного значения, с другой стороны. Таким образом, шумы квантования, отрегулированные по отношению к пороговому значению маскирования с помощью описанной выше схемы аудиокодирования, неизбежно будут превышать пороговое значение маскирования в некоторых частотных диапазонах, в результате чего возникают воспринимаемые слушателем аудиопомехи. На Фиг.13, например, показан в виде графика «c» параметризованный частотный отклик параметризируемого фильтра на стороне декодера. Как можно видеть, здесь присутствуют области, где функция передачи фильтра на стороне декодера, который далее называется последующим фильтром, превышает пороговое значение «b» маскирования. Эта проблема усиливается в результате того, что параметризация передается только периодически при достаточном изменении значений параметризации и с использованием интерполяции между ними. Интерполяция коэффициентов «x#» фильтра, как предложено в статье, сама по себе приводит к возникновению слышимых помех, когда величина усиления «а#» поддерживается постоянной от узла к узлу или от новой параметризации к следующей параметризации. Даже если предлагаемую в статье интерполяцию также применить для величины «a#» дополнительной информации, то есть, к переданному коэффициенту усиления, то в аудиосигнале, поступающем на сторону декодера, могут оставаться прослушиваемые аудиопомехи.
Другая проблема схемы аудиокодирования в соответствии с Фиг.12 и 13 состоит в том, что отфильтрованный сигнал может, из-за частотной избирательной фильтрации, принимать непредсказуемую форму, когда, в частности в результате случайного наложения множества отдельных гармоник, одно или несколько отдельных аудиозначений кодированного сигнала суммируются с получением очень большого значения, что, в свою очередь, приводит к худшему коэффициенту сжатия при последующем уменьшении избыточности из-за их редкого появления.
Задача настоящего изобретения состоит в создании схемы аудиокодирования, которая позволяет обеспечить кодирование, в результате которого возникает меньшее количество прослушиваемых аудиопомех.
Этот результат достигается в способе по пп. 13 или 15 формулы изобретения и в устройстве по пп. 1 или 14 формулы изобретения.
Кодирование аудиосигнала, состоящего из последовательности аудиозначений, в соответствии с изобретением, для получения кодированного сигнала включает в себя определение первого порогового значения слышимости для первого блока аудиозначений последовательности аудиозначений и второго порогового значения слышимости для второго блока аудиозначений последовательности аудиозначений; вычисление версии первой параметризации параметризируемого фильтра так, чтобы его передаточная функция приблизительно соответствовала обратному значению величины первого порогового значения слышимости, и версии второй параметризации параметризируемого фильтра так, чтобы его передаточная функция приблизительно соответствовала обратному значению величины второго порогового значения слышимости; определение первого предельного значения мощности шумов в зависимости от первого порогового значения маскирования и второго предельного значения мощности шумов в зависимости от второго порогового значения маскирования; параметризируемую фильтрацию и масштабирование или усиление заданного блока аудиозначений последовательности аудиозначений для получения блока масштабированных, отфильтрованных аудиозначений, соответствующих заданному блоку, причем последний этап содержит следующие подэтапы: интерполяцию между версией первой параметризации и версией второй параметризации для получения версии интерполированной параметризации для заданного аудиозначения в заданном блоке аудиозначений; интерполяцию между первым предельным значением мощности шумов и вторым предельным значением мощности шумов для получения интерполированного предельного значения мощности шумов для заданного аудиозначения; определение промежуточного значения масштабирования в зависимости от интерполированного предельного значения мощности шумов; и применение параметризируемого фильтра с версией интерполированной параметризации и промежуточного значения масштабирования к заданному аудиозначению для получения одного из масштабированных отфильтрованных аудиозначений. И, наконец, выполняют квантование масштабированных отфильтрованных аудиозначений для получения блока квантованных, масштабированных отфильтрованных аудиозначений; и интеграцию информации в кодированный сигнал, из которого можно получить блок квантованных масштабированных отфильтрованных аудиозначений, версию первой параметризации, версию второй параметризации, первое предельное значение мощности шумов и второе предельное значение мощности шумов.
Основная идея настоящего изобретения состоит в том, что необходимо исключить описанную выше процедуру, а именно интерполяцию в отношении коэффициентов фильтра и величины усиления, для получения интерполированных значений для промежуточных аудиозначений, начиная от узлов. Кодирование, содержащее меньшее количество слышимых ложных сигналов, может быть получено не в результате выполнения интерполяции величины усиления, а вместо этого, с использованием предельного значения мощности, полученного из порогового значения маскирования, предпочтительно, как область ниже квадрата величины порогового значения маскирования, для каждого узла, то есть, для каждой параметризации, предназначенной для передачи, с последующим выполнением интерполяции между этими предельными значениями мощности соседних узлов, например линейной интерполяции. Как на стороне кодера, так и на стороне декодера величина усиления затем может вычисляться из промежуточного предельного значения мощности, определенного таким образом, чтобы шум квантования, обусловленный квантованием, который имеет постоянную частоту перед последующей фильтрацией на стороне декодера, был ниже, чем предельное значение мощности, или соответствовал ему после последующей фильтрации.
Предпочтительные варианты выполнения настоящего изобретения подробно описаны ниже, со ссылкой на прилагаемые чертежи, на которых показано следующее:
Фиг.1 – блок-схема аудиокодера в соответствии с вариантом выполнения настоящего изобретения.
Фиг.2 – блок-схема последовательности операций, иллюстрирующая режим функционирования аудиокодера по Фиг.1 при вводе данных.
Фиг.3 – блок-схема последовательности операций, иллюстрирующая режим функционирования аудиокодера по Фиг.1 в отношении оценки поступающего аудиосигнала с использованием психоакустической модели.
Фиг.4 – блок-схема последовательности операций, иллюстрирующая режим функционирования аудиокодера по Фиг.1, в отношении применения параметров, полученных с помощью психоакустической модели для поступающего аудиосигнала.
Фиг.5a – схема, иллюстрирующая поступающий аудиосигнал, последовательность аудиозначений, из которых он состоит, и этапы работы по Фиг.4 в отношении аудиозначений.
Фиг.5b – схема, иллюстрирующая установку кодированного сигнала.
Фиг.6 – блок-схема последовательности операций, иллюстрирующая режим функционирования аудиокодера по Фиг.1, в отношении окончательной обработки вплоть до получения кодированного сигнала.
Фиг.7a – схема варианта выполнения функции этапа квантования.
Фиг.7b – схема другого варианта выполнения функции этапа квантования.
Фиг.8 – блок-схема аудиокодера, который позволяет декодировать аудиосигнал, кодированный с помощью аудиокодера по Фиг.1, в соответствии с вариантом выполнения настоящего изобретения.
Фиг.9 – блок-схема последовательности операций, иллюстрирующая режим функционирования декодера по Фиг.8 при вводе данных.
Фиг.10 – блок-схема последовательности операций, иллюстрирующая режим функционирования декодера по Фиг.8, в отношении буферизации предварительно декодированных квантованных и отфильтрованных аудиоданных и обработки аудиоблоков без соответствующей дополнительной информации.
Фиг.11 – блок-схема последовательности операций, иллюстрирующая режим функционирования декодера по Фиг.8, в отношении действительно выполняемой обратной фильтрации.
Фиг.12 – обычная схема кодирования звука, с коротким временем задержки.
Фиг.13 – схема, в которой в качестве примера представлен спектр аудиосигнала, его пороговое значение слышимости и функция передачи последующего фильтра в декодере.
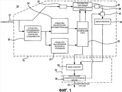
На Фиг.1 показан аудиокодер в соответствии с вариантом выполнения настоящего изобретения. Аудиокодер 10 имеет информационный вход 12, через который в него подается аудиосигнал, предназначенный для кодирования, который, как описано более подробно ниже со ссылкой на Фиг.5a, состоит из последовательности аудиозначений или дискретных значений, и информационный выход, через который выводится кодированный сигнал, информационное содержание которого более подробно описано ниже со ссылкой на Фиг.5b.
Аудиокодер 10 по Фиг.1 разделен на часть 16 уменьшения несущественного звука и часть 18 уменьшения избыточности. Часть 16 уменьшения несущественного звука включает в себя средство 20 определения порогового значения слышимости, средство 22 вычисления величины усиления, средство 24 вычисления параметризации, средство 26 сравнения узла, квантователь 28 и параметризируемый предварительный фильтр 30, а также выходной буфер 32 FIFO («первым прибыл, первым обслужен»), буфер или запоминающее устройство 38 и умножитель или средство 40 умножения. Часть 18 уменьшения избыточности включает в себя блок 34 сжатия и контроллер 36 скорости передачи битов.
Часть 16 уменьшения несущественного звука и часть 18 уменьшения избыточности включены последовательно в указанном порядке между информационным входом 12 и информационным выходом 14. В частности, информационный вход 12 соединен с информационным входом средства 20 определения порогового значения слышимости и с информационным входом входного буфера 32. Информационный выход средства 20 определения порогового значения слышимости соединен со входом средства 24 вычисления параметризации и информационным входом средства 22 вычисления величины усиления для передачи на них определенного порогового значения слышимости. Средства 22 и 24 вычисляют, соответственно, параметризацию и величину усиления на основе порогового значения слышимости и соединены со средством 26 сравнения узла для передачи в него полученных результатов. В зависимости от результата сравнения средство 26 сравнения узла, как описано ниже, передает результаты, вычисленные средствами 22 и 24, в качестве входного параметра или параметризации параметризируемого предварительного фильтра 30. При этом средство 22 реализует функцию определения первого предельного значения мощности шумов в зависимости от первого порога маскирования и второго предельного значения мощности шумов в зависимости от второго порогового значения маскирования, как более подробно описано ниже. Параметризуемый предварительный фильтр 30 включен между информационным выходом входного буфера 32 и информационным входом буфера 38. Умножитель 40 включен между информационным выходом буфера 38 и квантователем 28. Квантователь 28 передает отфильтрованные аудиозначения, которые могут быть умножены или масштабированы, но всегда квантованы, в часть 18 уменьшения избыточности, более точно на информационный вход блока 34 сжатия. Средство 26 сравнения узла передает информацию, из которой могут быть выведены входные параметры, переданные в параметризируемый предварительный фильтр 30, для части 18 уменьшения избыточности, более точно на другой информационный вход блока 34 сжатия. Контроллер скорости передачи битов соединен с управляющим входом умножителя 40 через управляющее соединение для передачи квантованных отфильтрованных аудиозначений в том виде, как они были приняты из предварительного фильтра 30, для умножения умножителем 40 на соответствующее множимое, как более подробно описано ниже. Контроллер 36 скорости передачи битов подсоединен между информационным выходом блока 34 сжатия и информационным выходом 14 аудиокодера 10, для соответствующего определения множимого для умножителя 40. Когда каждое аудиозначение проходит квантователь 40 первый раз, множимое вначале устанавливается равным соответствующему коэффициенту масштабирования, например 1. Буфер 38, однако, продолжает сохранять каждое отфильтрованное аудиозначение, обеспечивая для контроллера 36 скорости передачи битов, как более подробно описано ниже, возможность изменения множимого для другого прохода блока аудиозначений. Если такое изменение не указано контроллером 36 скорости передачи битов, буфер 38 может освобождать память, занимаемую этим блоком.
После приведенного выше описания установки аудиокодера по Фиг.1, далее, со ссылкой на Фиг.2-7b, описан режим его функционирования.
Как видно на Фиг.2, аудиосигнал, когда он поступает на информационный вход 12, уже был получен в результате дискретизации 50 аудиосигнала из аналогового аудиосигнала. Дискретизация аудиосигнала выполняется с заданной частотой дискретизации, которая обычно составляет от 32 до 48 кГц. Следовательно, на информационном входе 12 присутствует аудиосигнал, состоящий из последовательности дискретных значений или аудиозначений. Хотя кодирование аудиосигнала не происходит на основе блоков, как очевидно из следующего описания, аудиозначения на информационном входе 12 вначале комбинируются для формирования аудиоблоков, на этапе 52. Комбинирование для формирования аудиоблоков происходит только с целью определения порогового значения слышимости, как очевидно из следующего описания, и происходит на входном этапе средства 20 определения порогового значения слышимости. В настоящем варианте выполнения в качестве примера предполагается, что каждое из 128 последовательных аудиозначений, комбинируется для формирования аудиоблоков, и что комбинирование выполняется таким образом, что, с одной стороны, последовательные аудиоблоки не перекрываются друг с другом и, с другой стороны, они расположены непосредственно рядом друг с другом. Этот пример описан ниже со ссылкой на Фиг.5a.
На Фиг.5a ссылочной позицией 54 обозначена последовательность дискретных значений, причем каждое дискретное значение представлено прямоугольником 56. Дискретные значения пронумерованы с целью иллюстрации, причем для ясности показаны только некоторые дискретные значения последовательности 54. Как обозначено фигурными скобками над последовательностью 54, каждые 128 последовательных дискретных значений скомбинированы так, что они формируют блок в соответствии с настоящим вариантом выполнения, в котором непосредственно последовательные 128 дискретных значений формируют очередной блок. Следует отметить, что комбинирование для формирования блоков также может быть выполнено другим способом, например с перекрытием блоков или раздельными друг от друга блоками, имеющими другой размер блоками, хотя размер блока 128, в свою очередь, является предпочтительным, поскольку он обеспечивает хороший компромисс между высоким качеством аудиосигнала, с одной стороны, и наименьшим возможным временем задержки, с другой стороны.
Когда аудиоблоки, комбинируемые в средстве 20 на этапе 52, последовательно обрабатывают в средстве 20 для определения порогового значения слышимости блок за блоком, поступающие аудиозначения помещаются 54 в буфер во входном буфере 32 до тех пор, пока параметризируемый предварительный фильтр 30 не получит входные параметры из средства 26 сравнения узла для выполнения предварительной фильтрации, как описано ниже.
Как можно видеть на Фиг.3, средство 20 определения порогового значения слышимости начинает свою обработку непосредственно после приема достаточного количества аудиозначений на информационном входе 12, для формирования аудиоблока или для формирования следующего аудиоблока, который отслеживает средство 20 при выполнении проверки на этапе 60. Если полный обрабатываемый аудиоблок пока отсутствует, то средство 20 находится в режиме ожидания. Если полный аудиоблок для проверки присутствует, то средство 20 для определения порогового значения слышимости вычисляет на этапе 62 пороговое значение слышимости на основе соответствующей психоакустической модели. Для иллюстрации порогового значения слышимости рассмотрим снова Фиг.12 и, в частности, график «b», который был получен на основе психоакустической модели, в качестве примера для текущего аудиоблока со спектром «a». Пороговое значение маскирования, которое определяется на этапе 62, представляет собой функцию, зависимую от частоты, которая может изменяться для последовательных аудиоблоков и также может существенно изменяться для разных аудиосигналов, таких как, например, рок-музыка и пьесы классической музыки. Пороговое значение слышимости обозначает пороговое значение для каждой частоты, ниже которого слух человека не может воспринимать помехи.
На последующем этапе 64, средство 24 и средство 22 вычисляют из вычисленного порогового значения М(f) слышимости (f обозначает частоту) величину усиления a или параметр р, установленный на основе N параметров x(i) (i = 1,…, N). Параметризация x(i), которую на этапе 64 вычисляет средство 24, передается в параметризируемый предварительный фильтр 30, который, например, выполнен как структура адаптивного фильтра такого типа, как используется при кодировании КЛП (LPC = кодирование методом линейного предсказания). Например, в случае, когда s(n), n = 0,…, 127 представляет 128 аудиозначений текущего аудиоблока и s'(n) представляет получаемый в результате 128 отфильтрованных аудиозначений, фильтр, в качестве примера, может быть выполнен таким образом, что в нем будет использоваться следующее уравнение:

где K представляет собой порядок фильтра и ak t, k = 1,…, K, представляют коэффициенты фильтра, и индекс t предназначен для иллюстрации того, что коэффициенты фильтра изменяются в последовательных аудиоблоках. Средство 24 затем вычисляет параметризацию ak t так, что функция H(f) передачи параметризируемого предварительного фильтра 30 приблизительно равняется обратному значению величины порогового значения М(f) маскирования, то есть так, чтобы применялось следующее уравнение:
,
в котором зависимость от t, в свою очередь, предназначена для иллюстрации того, что пороговое значение М(f) маскирования изменяется для разных аудиоблоков. При выполнении предварительного фильтра 30 в форме адаптивного фильтра, указанной выше, коэффициенты ak t фильтра будут получены следующим образом: обратное дискретное преобразование Фурье |M(f, t)|2 по частоте для блока в момент времени t приводит к получению целевой функции автокорреляции rt mn(i). Затем ak t получают путем решения линейной системы уравнений:

Для того чтобы не возникала нестабильность между параметризацией линейной интерполяции, описанной более подробно ниже, для фильтра 30 предпочтительно использовать решетчатую структуру, в которой коэффициенты фильтра решетчатой структуры повторно параметризируют для формирования коэффициентов отражения. Более подробное описание структуры предварительного фильтра, предназначенного для расчета коэффициентов и повторной параметризации, содержится в статье Schuller и др., указанной во вводной части описания и, в частности, на страницу 381, раздел III, включенной в настоящий документ посредством ссылки.
В то время как средство 24 вычисляет параметризацию для параметризируемого предварительного фильтра 30 так, что его передаточная функция равна обратному значению порогового значения маскирования, средство 22 вычисляет предельное значение мощности шумов на основе порогового значения слышимости, а именно предельное значение, обозначающее какая мощность шума может вводиться квантователем 28 в аудиосигнал, отфильтрованный предварительным фильтром 30, для того чтобы шумы квантования на стороне декодера были ниже порогового значения M(f) слышимости или точно равнялись ему после последующей или обратной фильтрации. Средство 22 вычисляет это предельное значение мощности шумов как область ниже квадрата величины порогового значения М слышимости, то есть, как S|M(f)|2. Средство 22 вычисляет величину «а» усиления на основе предельного значения мощности шумов путем вычисления корня из доли мощности шумов квантования, разделенной на предельное значение мощности шумов. Шумы квантования представляют собой шумы, вносимые квантователем 28. Шум, вносимый квантователем 28, как описано ниже, представляет собой белый шум и, таким образом, не зависит от частоты и характеризуется мощностью шумов квантования.
Как следует из приведенного выше описания, средство 22 также вычисляет предельное значение мощности шумов на основе величины «а» усиления. Хотя возможно повторное вычисление предельного значения мощности шумов средством 26 сравнения узла на основе величины «а» усиления, полученной средством 22, также возможно, что средство 22 передает определенное предельное значение мощности шумов в средство 26 сравнения узла, помимо значения «a» усиления.
После вычисления величины усиления и параметризации средство 26 сравнения узла выполняет проверку на этапе 66, отличается ли только что вычисленная параметризация больше, чем на заданное пороговое значение от текущей последней параметризации, переданной в параметризируемый предварительный фильтр. Если проверка на этапе 66 покажет, что только что вычисленная параметризация отличается от текущей больше, чем на заданное пороговое значение, только что вычисленные коэффициенты фильтра и только что вычисленная величина усиления, или предельное значение мощности шумов буферизуются в средстве 26 сравнения узла для интерполяции, как описано ниже, и средство 26 сравнения узла передает в предварительный фильтр 30 коэффициенты фильтра, вычисленные на этапе 68, и величину усиления, вычисленную на этапе 70. В противном случае, вычисленная параметризация отличается от текущей не более чем на заданное пороговое значение, средство (26) сравнения узла передает в предварительный фильтр 30 на этапе 72 вместо только что вычисленной параметризации только текущую параметризацию узла, то есть ту параметризацию, которая в последний раз позволила получить положительный результат на этапе 66, то есть отличавшуюся от предыдущей параметризации узла больше, чем на заданное пороговое значение. После этапов 70 и 72 процесс, показанный на Фиг.3, возвращается к обработке следующего аудиоблока, то есть к запросу 60.
В случае, когда только что вычисленная параметризация не отличается от текущей параметризации узла и, следовательно, предварительный фильтр 30 на этапе 72 снова получает полученную ранее параметризацию узла для, по меньшей мере, последнего аудиоблока, предварительный фильтр 30 будет применять эту параметризацию узла для всех дискретных значений этого аудиоблока в FIFO 32, как более подробно описано ниже, каким образом этот текущий блок выбирается из FIFO 32, и квантователь 28 получает результирующий аудиоблок предварительно отфильтрованных аудиозначений.
На Фиг.4 более подробно представлен режим функционирования параметризируемого предварительного фильтра 30 для случая, когда он принимает только что вычисленную параметризацию и только что вычисленное значение усиления, когда они существенно отличаются от текущей параметризации узла. Как описано со ссылкой на Фиг.3, обработка в соответствии с Фиг.4 выполняется не для каждого из последовательных аудиоблоков, но только для тех аудиоблоков, соответствующая параметризация которых существенно отличается от текущей параметризации узла. Другие аудиоблоки, как описано выше, предварительно фильтруются путем применения соответствующей текущей параметризации узла и соответствующего текущего значения величины усиления для всех дискретных значений этих аудиоблоков.
На этапе 80 параметризируемый предварительный фильтр 30 проверяет, произошла ли передача из средства 26 сравнения узла только что вычисленных коэффициентов фильтра или старой параметризации узла. Предварительный фильтр 30 выполняет проверку 80 до тех пор, пока не произойдет такая передача.
Как только такая передача происходит, параметризируемый предварительный фильтр 30 начинает обработку текущего аудиоблока аудиозначений, непосредственно содержащихся в буфере 32, то есть того блока, для которого только что вычислена параметризация. На Фиг.5a, например, представлены все аудиозначения 56 перед аудиозначением с номером 0, которые уже были обработаны и, таким образом, уже прошли через запоминающее устройство 32. Обработка блока аудиозначений перед аудиозначением с номером 0 была запущена, поскольку параметризация, вычисленная для аудиоблока перед блоком 0, а именно, x0(i), отличалась от параметризации узла, переданной до предварительного фильтра 30, на более чем заданное пороговое значение. Параметризация x0(i), таким образом, представляет собой параметризацию узла, как описано в настоящем изобретении. Обработка аудиозначений в аудиоблоке перед аудиозначением 0 была выполнена на основе установленного параметра а0, x0(i).
На Фиг.5a предполагается, что параметризация, которая была вычислена для блока 0 с аудиозначениями 0-127, отличалась менее чем на заданное пороговое значение от параметризации x0(i), которая относится к блоку, расположенному спереди. Этот блок 0 также был получен из FIFO 32 c использованием предварительного фильтра 30, и также был обработан в отношении всех его дискретных значений 0-127 с использованием параметризации x0(i), переданной на этапе 72, как обозначено стрелкой 81, обозначенной как “непосредственное применение”, и затем передан в квантователь 28.
Однако параметризация, вычисленная для блока 1, все еще находящегося в FIFO 32, в отличие от этого, отличалась, в соответствии с примером, представленным на Фиг.5a, более чем на заданное пороговое значение от параметризации x0(i) и была, таким образом, передана на этапе 68 в предварительный фильтр 30 как параметризация x1(i), вместе с величиной а1 усиления (этап 70) и, если это применимо, с соответствующим ей предельным значением мощности шумов, при этом индексы a и x на Фиг.5 представляют собой индекс для узлов, используемых при описанной ниже интерполяции, выполняемой в отношении дискретных значений 128-255 в блоке 1, обозначенном стрелкой 82 и реализуемой на этапах, следующих после этапа 80 на Фиг.4. Обработка на этапе 80, таким образом, начинается при появлении аудиоблока с номером 1.
При передаче набора параметров а1, x1, только аудиозначения 128-255, то есть текущий аудиоблок, после последнего аудиоблока 0, обработанного предварительным фильтром 30, находится в запоминающем устройстве 32. После определения передачи параметров x1(i) узла на этапе 80 предварительный фильтр 30 определяет предельное значение q1 мощности шумов, соответствующее величине а1 усиления на этапе 84. Такая обработка может быть выполнена средством 26 сравнения узла, передающего это значение в предварительный фильтр 30, или с помощью предварительного фильтра 30, который снова вычисляет это значение, как описано выше со ссылкой на этап 64.
После этого на этапе 86 инициализируется индекс j для дискретного значения, который указывает на самое старое дискретное значение, остающееся в запоминающем устройстве FIFO 32, или на первое дискретное значение текущего аудиоблока “блока 1”, то есть, в примере по Фиг.5 на дискретное значение 128. На этапе 88 параметризируемый предварительный фильтр выполняет интерполяцию между коэффициентами х0 и х1 фильтра, причем, в данном случае, параметризация x0 действует как узел в узле, имеющем номер 127 аудиозначения предыдущего блока 0, и параметризация х1 действует как узел в узле, имеющем номер 225 аудиозначения текущего блока 1. Эти позиции 127 и 255 аудиозначений далее упоминаются как узел 0 и узел 1, причем параметризации узла, относящиеся к узлам по Фиг.5a, обозначены стрелками 90 и 92.
На этапе 88 параметризируемый предварительный фильтр 30 выполняет интерполяцию коэффициентов х0, х1 фильтра между этими двумя узлами в форме линейной интерполяции для получения интерполированных коэффициентов фильтра в позиции j дискретных значений, то есть, x(tj) (i), i = 1… N.
После этого, а именно на этапе 90, параметризируемый предварительный фильтр 30 выполняет интерполяцию между предельными значениями q1 и q0 мощности шумов для получения интерполированного предельного значения мощности шумов в позиции j дискретных значений, то есть, q (tj).
На этапе 92 параметризируемый предварительный фильтр 30 последовательно вычисляет величину усиления для позиции j дискретных значений на основе интерполированного предельного значения мощности шумов и мощности шумов квантования и, предпочтительно, также интерполированные коэффициенты фильтра, а именно, например, в зависимости от корня

при этом можно обратиться к пояснениям этапа 64 со ссылкой на Фиг.3.
На этапе 94 параметризируемый предварительный фильтр 30 затем применяет вычисленную величину усиления и интерполированные коэффициенты фильтра к дискретному значению в позиции j дискретных значений для получения отфильтрованного дискретного значения для этой позиции дискретных значений, а именно, s'(tj).
На этапе 96 параметризируемый предварительный фильтр 30 затем проверяет, достигла ли позиция j дискретного значения текущего узла, то есть узла 1, в случае, показанном на Фиг.5a, позиции 255 дискретного значения, то есть дискретного значения, для которого параметризация, переданная в параметризируемый предварительный фильтр 30, плюс величина усиления должны быть действительными непосредственно, то есть без интерполяции. В противном случае, параметризируемый предварительный фильтр 30 будет увеличивать индекс j на 1, при этом этапы 88-96 будут повторяться. Однако в случае положительного результата проверки на этапе 96 параметризируемый предварительный фильтр будет применять на этапе 100 последнюю величину усиления, переданную из средства 26 сравнения узла, и последние коэффициенты фильтра, переданные из средства 26 сравнения узла, непосредственно без интерполяции для дискретного значения в новом узле, после чего обрабатывается текущий блок, то есть, в данном случае, блок 1, и процесс выполняется снова на этапе 80 по отношению к последующему блоку, предназначенному для обработки, который в зависимости от того, существенно ли отличается параметризация следующего блока 2 аудиоблока от параметризации x1(i), может представлять собой этот следующий блок 2 аудиоблока или все еще последний аудиоблок.
Перед описанием со ссылкой на Фиг.5 процедуры обработки отфильтрованных дискретных значений s’ ниже описаны назначение и характеристики процедуры, представленной на Фиг.3 и 4. Цель фильтрации состоит в фильтрации аудиосигнала на входе 12 с использованием адаптивного фильтра, функция передачи которого постоянно регулируется так, чтобы она в наибольшей степени соответствовала обратной величине порогового значения слышимости, которое также изменяется во времени. Причина этого состоит в том, что на стороне декодера обратная фильтрация, передаточная функция которой, соответственно, постоянно регулируется в соответствии с формой пороговых значений слышимости, формирует белый шум квантования, вводимый в процессе квантования отфильтрованного аудиосигнала, то есть постоянный по частоте шум квантования с использованием адаптивного фильтра, а именно, настраивает его по форме порогового значения слышимости.
Применение величины усиления на этапах 94 и 100 в предварительном фильтре 30 представляет собой умножение аудиосигнала или отфильтрованного аудиосигнала, то есть дискретных значений s или отфильтрованных дискретных значений s’, на коэффициент усиления. Цель этого состоит в установке, таким образом, шума квантования, вводимого в отфильтрованный аудиосигнал в результате квантования, как более подробно описано ниже, и который регулируется в процессе обратной фильтрации на стороне декодера, чтобы он в наибольшей степени соответствовал пороговому значению слышимости, без превышения порогового значения слышимости. В качестве примера можно привести формулу Парсеваля, в соответствии с которой квадрат амплитуды функции равен квадрату амплитуды преобразования Фурье. Когда на стороне декодера снова выполняется операция, обратная умножению аудиосигнала в предварительном фильтре с использованием величины усиления, путем деления отфильтрованного аудиосигнала на величину усиления, мощность шума квантования также уменьшается, а именно, на коэффициент a-2, при этом «а» представляет собой величину усиления. Следовательно, мощность шума квантования может быть установлена на оптимально высоком уровне путем применения величины усиления в предварительном фильтре 30, что аналогично увеличению размера шага квантования и, таким образом, уменьшению количества шагов квантования при кодировании, что в свою очередь увеличивает степень сжатия в последующей части уменьшения избыточности.
И, наоборот, воздействие предварительного фильтра можно рассматривать как нормализацию сигнала по его маскирующему пороговому значению, что позволяет поддерживать постоянный уровень помех квантования или шумов квантования как по времени, так и по частоте. Поскольку аудиосигнал рассматривается во временной области, квантование, таким образом, можно выполнять последовательно с однородным постоянным квантованием, как описано ниже. Таким образом, в идеале из аудиосигнала удаляются любые возможные несущественные части сигнала, и можно использовать схему сжатия без потерь, чтобы также удалить остаточную избыточность в предварительно отфильтрованном и квантованном аудиосигнале, как описано ниже.
Со ссылкой на Фиг.5a следует отметить, что хотя коэффициенты фильтра и используемые величины a0, а1, x0, x1 усиления должны быть доступны на стороне декодера в качестве дополнительной информации, но благодаря тому, что новые коэффициенты фильтра и новые значения усиления не используются непосредственно для каждого блока, можно снизить сложность передачи. Вместо этого проверка 66 порогового значения происходит только при передаче параметризаций в качестве дополнительной информации только при существенном изменении параметризации, а в других случаях дополнительная информация или параметризации не передаются. Интерполяция от старой к новой параметризации происходит в аудиоблоках, для которых была передана параметризация. Интерполяция коэффициентов фильтра происходит таким образом, как описано выше со ссылкой на этап 88. Интерполяция усиления выполняется косвенным путем, а именно через линейную интерполяцию 90 предельного значения q0, q1 мощности шума. По сравнению с непосредственной интерполяцией через величину усиления линейная интерполяция позволяет получить лучший результат при прослушивании или меньшее количество слышимых посторонних звуков по отношению к предельному значению мощности шума.
Далее, со ссылкой на фиг.6 будет описана последующая обработка предварительно отфильтрованного сигнала, которая, в принципе, включает в себя квантование и уменьшение избыточности. Вначале отфильтрованные дискретные значения, выводимые из параметризируемого предварительного фильтра 30, сохраняются в буфере 38 и одновременно с этим они поступают на выход буфера 38 в умножитель 40, куда они, поскольку это их первый проход, вначале проходят без изменений, а именно с коэффициентом масштабирования, равным единице, через умножитель 40 в квантователь 28. Здесь отфильтрованные аудиозначения, превышающие верхнее предельное значение, ограничиваются на этапе 110 и затем квантуются на этапе 112. Два этапа 110 и 112 выполняются с помощью квантователя 28. В частности, эти два этапа 110 и 112, предпочтительно, выполняются с помощью квантователя 28 за один шаг путем квантования отфильтрованных аудиозначений s’ с использованием функции шага квантования, которая отображает отфильтрованные дискретные значения s’, например, в виде представления с плавающей запятой, на множество целочисленных значений или индексов шага квантования, и которая имеет плоскую форму для отфильтрованных дискретных значений после определенного порогового значения, в результате чего отфильтрованные дискретные значения, превышающие пороговое значение, квантуются с одним и тем же шагом квантования. Пример такой функции шага квантования представлен на Фиг.7a.
Квантованные отфильтрованные дискретные значения обозначены как ‘ на Фиг.7a. Функция этапа квантования, предпочтительно, представляет собой функцию этапа квантования с размером шага, который остается постоянным ниже порогового значения, то есть переход на следующий шаг квантования всегда происходит через постоянный интервал входных значений S’. В варианте выполнения размер шага порогового значения регулируется таким образом, чтобы количество шагов квантования, предпочтительно, соответствовало степени 2. При сравнении с представлением с плавающей запятой поступающих отфильтрованных дискретных значений s’ здесь пороговое значение меньше, поэтому максимальное значение иллюстрируемой области для представления с плавающей запятой превышает пороговое значение.
Причина использования такого порогового значения состоит в том, что было обнаружено, что отфильтрованный аудиосигнал, поступающий с выхода предварительного фильтра 30, иногда содержит аудиозначения, которые суммируются, достигая очень больших значений из-за неблагоприятного накопления гармонических колебаний. Кроме того, было найдено, что отсечка этих значений, что реализуется с помощью функции шага квантования, показанной на Фиг.7a, обеспечивает существенное уменьшение количества данных, но оказывает незначительное влияние на качество аудиосигнала. Такие случайные местоположения в отфильтрованном аудиосигнале, предпочтительно, формируются искусственно за счет частотно-избирательной фильтрации параметризируемого фильтра 30, в результате чего их отсечка лишь в незначительной степени влияет на качество аудиосигнала.
Особый пример функции шага квантования, показанный на Фиг.7a, представляет функцию, которая округляет все отфильтрованные дискретные значения s’ до ближайшего целого числа, вплоть до порогового значения, и затем квантует все отфильтрованные дискретные значения согласно наибольшему шагу квантования, например 256. Этот случай представлен на Фиг.7a.
Другой пример возможной функции шага квантования показан на Фиг.7b. Вплоть до порогового значения функция шага квантования по Фиг.7b соответствует функции по Фиг.7a. Однако вместо резкого перехода к плоской форме для дискретных значений s’, превышающих пороговое значение, функция этапа квантования продолжается с меньшим наклоном, чем наклон в области ниже порогового значения. Другими словами, размер шага квантования становится большим при превышении порогового значения. Благодаря этому достигается эффект, аналогичный функции квантования, представленной на Фиг.7a, но, с одной стороны, за счет увеличения сложности из-за различного размера шага функции шага квантования выше и ниже порогового значения и, с другой стороны, обеспечивается улучшенное качество звука, поскольку очень высокие отфильтрованные аудиозначения s’ не ограничиваются полностью, а только квантуются с большим размером шага квантования.
Как описано выше, на стороне декодера должны быть доступны не только квантованные и отфильтрованные аудиозначения а’, но также и входные параметры для предварительного фильтра 30, которые составляют основу фильтрации этих значений, а именно параметризацию узла, включающую в себя указание на его собственное значение усиления. На этапе 114 блок 34 сжатия выполняет первую проверку сжатия и, таким образом, сжимает дополнительную информацию, содержащую величины усиления а0 и a1 в узлах, таких как, например, 127 и 255, и коэффициенты x0 и xj фильтра в этих узлах и квантованные отфильтрованные дискретные значения а’ для отфильтрованного по времени сигнала. Блок 34 сжатия, таким образом, представляет собой кодер, работающий без потерь, такой, как, например, кодер Хаффмана или арифметический кодер с предсказанием и/или адаптацией или без них.
Запоминающее устройство 38, через которое пропускаются дискретные аудиозначения ‘, выполняет роль буфера для блока соответствующего размера, с помощью которого блок 34 сжатия обрабатывает квантованные, отфильтрованные, а также масштабированные, как описано ниже, аудиозначения ‘, поступающие в выход квантователя 28. Размер блока может отличаться от размера блока для аудиоблоков, используемых средством 20.
Как указано выше, контроллер 36 скорости передачи битов управляет умножителем 40 с использованием множимого 1 для первой проверки сжатия, так что отфильтрованные аудиозначения проходят без изменения из предварительного фильтра 30 в квантователь 28, и из него выходят как квантованные отфильтрованные аудиозначения в блок 34 сжатия. Блок 34 сжатия отслеживает на этапе 116, был ли кодирован определенный размер блока сжатия, то есть определенное количество квантованных дискретных аудиозначений, с получением временного кодированного сигнала, или следует кодировать дополнительные квантованные отфильтрованные аудиозначения ‘ в текущий временной кодированный сигнал. Если размер блока сжатия не был достигнут, блок 34 сжатия продолжает выполнять текущее сжатие 114. Если, однако, размер блока сжатия был достигнут, то контроллер 36 скорости передачи битов проверяет на этапе 118, превышает ли количество битов, требуемых для сжатия, количество битов, определяемое для требуемой скорости передачи битов. Если это не так, то контроллер 36 скорости передачи битов проверяет на этапе 120, меньше ли требуемое количество битов, чем количество битов, определяемое требуемой скоростью передачи битов. Если это так, то контроллер 36 скорости передачи битов заполняет на этапе 122 кодированный сигнал заполняющими битами до тех пор, пока не будет получено количество битов, определяемое требуемой скоростью передачи битов. После этого кодированный сигнал выводится на этапе 124. В качестве альтернативы этапу 122 контроллер 36 скорости передачи битов может пропустить блок сжатия отфильтрованных аудиозначений ‘, все еще находящийся в запоминающем устройстве 38, на котором было основано последнее сжатие, в форме блока, умноженного на множимое, превышающее 1, с помощью умножителя 40, в квантователь 28, после чего повторяется выполнение этапов 110-118 до тех пор, пока не будет достигнуто количество битов, определяемое требуемой скоростью передачи битов, как обозначено этапом 125, представленным пунктирными линиями.
Если, однако, в результате проверки на этапе 118 будет определено, что требуемое количество битов больше, чем количество, определяемое требуемой скоростью передачи битов, контроллер 36 скорости передачи битов изменит множимое для умножителя 40 на коэффициент от 0 до 1 включительно. Эта операция выполняется на этапе 126. После этапа 126 контроллер 36 скорости передачи битов снова выводит из запоминающего устройства 38 последний блок сжатия отфильтрованных аудиозначений ‘, на которых основано сжатие, которые затем умножаются на коэффициент, установленный на этапе 126, и снова передаются в квантователь 28, после чего этапы 110-118 снова выполняются, пока не закончится временной кодированный сигнал.
Следует отметить, что при повторном выполнении этапов 110-116 на этапе 114, конечно, коэффициент, используемый на этапе 126 (или этапе 125), также вводится в кодированный сигнал.
Цель процедуры после этапа 126 состоит в увеличении эффективного размера шага квантователя 28 с определенным коэффициентом. Это означает, что полученный в результате шум квантования равномерно распределяется над пороговым значением маскирования, что приводит к слышимым помехам или слышимым шумам, но вместе с тем к уменьшению скорости передачи битов. Если после повторного выполнения этапов 110-116 на этапе 118 снова определяется, что необходимое количество битов больше, чем определенное требуемой скоростью передачи битов, то коэффициент снова уменьшается на этапе 126 и т.д.
Если данные окончательно выводятся на этапе 124 как кодированный сигнал, то будет обрабатываться следующий блок сжатия из следующих квантованных отфильтрованных аудиозначений ‘.
Следует также отметить, что другое предварительно инициализированное значение, кроме 1, можно использовать в качестве коэффициента умножения, в частности, например, 1. Кроме того, в любом случае, вначале выполняется масштабирование, то есть, как показано в самой верхней части схемы по Фиг.6.
На Фиг.5b представлен получаемый в результате кодированный сигнал, обозначенный ссылочной позицией 130. Кодированный сигнал включает в себя дополнительную информацию и основные данные, размещенные между дополнительной информацией. Дополнительная информация включает в себя, как уже было отмечено, информацию, из которой можно получить величину усиления и величину коэффициентов фильтра для конкретных блоков, а именно аудиоблоков, в которых существенное изменение коэффициентов фильтра привело к последовательности аудиоблоков. В случае необходимости дополнительная информация может включать в себя дополнительную информацию, относящуюся к величине усиления, используемой для контроллера битов. Ввиду взаимной зависимости величины усиления и предельного значения q мощности шумов, дополнительная информация, в случае необходимости, помимо величины a# усиления для узла #, также может включать в себя предельное значение q# мощности шумов или только последнее значение. Дополнительная информация, предпочтительно, упорядочена в кодированном сигнале так, что дополнительная информация для коэффициентов фильтра и относительно величины усиления или относительно предельного значения мощности шумов помещена перед основными данными аудиоблока или квантованными отфильтрованными аудиозначениями ‘, из которых были получены эти коэффициенты фильтра с соответствующими им величинами усиления или соответствующими им предельными значениями мощности шумов, то есть, дополнительная информация a0, x0(i) расположена после блока -1, а дополнительная информация а1, x1(i) расположена после блока 1. Другими словами, основные данные, то есть квантованные отфильтрованные аудиозначения ‘, начиная от, исключительно, аудиоблока, в котором существенное изменение последовательности аудиоблоков привело к коэффициентам фильтра, вплоть до, включительно, следующего аудиоблока, в котором, например, на Фиг.5, аудиозначения ‘(t0)- ‘(t255), всегда располагаются между блоком 132 дополнительной информации до первого из двух аудиоблоков (блок -1), и от другого блока 134 дополнительной информации до второго из двух аудиоблоков (блок 1). Аудиозначения ‘(t0)- ‘(t127) могут быть декодированы или могли быть получены, как указано выше со ссылкой на Фиг.5a, только с использованием дополнительной информации 132, в то время как аудиозначения ‘(t128)- ‘(t255) были получены путем интерполяции с использованием дополнительной информации 132, в качестве вспомогательных значений в узле с номером 127 дискретного значения и с использованием дополнительной информации 134, в качестве вспомогательных значений в узле с номером 255 дискретного значения и, могут быть, таким образом, декодированы только с использованием обеих частей дополнительной информации.
Кроме того, дополнительная информация, относящаяся к величине усиления или предельному значению мощности шумов и коэффициентам фильтра в каждом блоке 132 и 134 дополнительной информации, не всегда интегрируется независимо друг от друга. Вместо этого такая дополнительная информация передается в виде разностей относительно предыдущего блока дополнительной информации. На Фиг.5b, например, блок 132 дополнительной информации содержит величину a0 усиления и коэффициенты x0 фильтра для узла в момент времени t-1. В блоке 132 дополнительной информации эти величины могут быть получены из самого блока. Однако из блока 134 дополнительной информации дополнительная информация, относящаяся к узлу в момент времени t255, больше не может быть получена только из одного этого блока. Вместо этого, блок 134 дополнительной информации включает в себя только информацию о разностях величины а1 усиления узла в момент времени t255 и величины усиления узла в момент времени t0 и разностях коэффициентов xj фильтра и коэффициентов x0 фильтра. Блок 134 дополнительной информации, следовательно, содержит только информацию а1-a0 и x1(i)-x0(i). Однако в промежуточные моменты коэффициенты фильтра и величина усиления или предельные значения мощности шумов должны быть переданы полностью, а не только как разность с предыдущим узлом, например с каждым вторым, чтобы обеспечить для приемника или декодера возможность захвата потока данных кодирования, как описано ниже.
Такой способ интегрирования дополнительной информации в блоки 132 и 134 дополнительной информации обеспечивает преимущество, состоящее в возможности получения более высокой степени сжатия. Причина этого состоит в том, что хотя дополнительную информацию, если возможно, требуется передавать только если возникло достаточное изменение коэффициентов фильтра по сравнению с коэффициентами фильтра предыдущего узла, сложность вычисления разности на стороне кодера или вычисления суммы на стороне декодера оправдывается, поскольку получаемые разностные значения малы, несмотря на запрос на этапе 66, что, таким образом, позволяет использовать преимущества энтропийного кодирования.
После приведенного выше описания аудиокодера далее будет описан вариант выполнения аудиодекодера, который пригоден для декодирования кодированного сигнала, генерируемого аудиокодером 10 по Фиг.1, для получения декодированного, пригодного для воспроизведения или обработки аудиосигнала.
Блок-схема такого декодера показана на Фиг.8. Декодер 210 включает в себя модуль 212 восстановления сжатых данных, запоминающее устройство 214 FIFO, умножитель 216 и параметризируемый последующий фильтр 218. Модуль 212 восстановления сжатых данных, запоминающее устройство 214 FIFO, умножитель 216 и параметризируемый последующий фильтр 218 включены в указанном порядке между информационным входом 220 и информационным выходом 222 декодера 210, в котором кодированный сигнал подается на информационный вход 220, и декодированный аудиосигнал, отличающийся от исходного аудиосигнала на информационном входе 12 аудиокодера 10 только шумами квантования, генерируемыми квантователем 28 в аудиокодере 10, выводится на информационный выход 222. Другой информационный выход модуля 212 восстановления сжатых данных соединен с управляющим входом умножителя 216 для подачи на него множимого и для ввода параметризации в параметризируемый последующий фильтр 218 через другой информационный выход.
Как показано на Фиг.9, модуль 212 восстановления сжатых данных вначале на этапе 224 выполняет восстановление сжатого сигнала на информационном входе 220 для получения квантованных отфильтрованных аудиоданных, а именно дискретных значений ‘, и соответствующей дополнительной информации в блоках 132, 134 дополнительной информации, которые, как известно, обозначают коэффициенты фильтра и величины усиления или, вместо величины усиления, предельные значения мощности шумов в узлах.
Как показано на Фиг.10, модуль 212 восстановления сжатых данных проверяет сигнал после восстановления сжатых данных в порядке его появления на этапе 226, содержится ли в нем дополнительная информация с коэффициентами фильтра, в изолированной форме, без ссылки на разность с предыдущим блоком дополнительной информации. Другими словами, модуль 212 восстановления сжатых данных выполняет поиск первого блока 132 дополнительной информации. Как только модуль 212 восстановления сжатых данных найдет что-либо, квантованное отфильтрованное аудиозначение ‘ помещается в буфер в запоминающем устройстве 214 FIFO на этапе 228. Если полный аудиоблок квантованных отфильтрованных аудиозначений ‘ был сохранен на этапе 228 без следующего непосредственно после него блока дополнительной информации, он вначале подвергается последующей фильтрации на этапе 228 с использованием информации, содержащейся в дополнительной информации, принятой на этапе 226, с использованием параметризации и величины усиления в последующем фильтре, и усиливается в умножителе 216, и, таким образом, декодируется для получения соответствующего декодированного аудиоблока.
На этапе 230 модуль 212 восстановления сжатых данных отслеживает в сигнале после восстановления возникновение блока дополнительной информации любого рода, а именно с абсолютными коэффициентами фильтра или разностями коэффициентов фильтра относительно предыдущего блока дополнительной информации. В примере, показанном на Фиг.5b, модуль 212 восстановления сжатых данных, например, распознает возникновение блока 134 дополнительной информации на этапе 230 после распознавания блока 132 дополнительной информации на этапе 226. Таким образом, блок квантованных отфильтрованных аудиозначений ‘(t0)- ‘(t127) мог бы быть декодирован на этапе 228 с использованием дополнительной информации 132. Пока не будет получен блок 134 дополнительной информации в сигнале после восстановления, буферизация и, декодирование блоков будет продолжаться на этапе 228 с использованием дополнительной информации этапа 226, как описано выше.
Как только появляется блок 132 дополнительной информации, модуль 212 восстановления сжатых данных вычисляет значения параметра в узле 1, то есть a1, x1(i) на этапе 232, путем суммирования значений разности в блоке 134 дополнительной информации и значений параметра в блоке 132 дополнительной информации. Этап 232 будет пропускаться, если текущий блок дополнительной информации будет представлять собой независимый блок дополнительной информации без разностей, который, как описано выше в качестве примера, может поступать один раз в секунду. Чтобы время ожидания для декодера 210 не было слишком длинным, блоки 132 дополнительной информации, в которых могут быть получены абсолютные величины параметров, то есть без связи с другим блоком дополнительной информации, помещаются на достаточно малых расстояниях, чтобы время включения или время отключения при включении аудиокодера 210, в случае, например, радиопередачи или широковещательной передачи, не было слишком большим. Предпочтительно, количество блоков 132 дополнительной информации, расположенных промежуточным образом, со значениями разности, помещают в фиксированном количестве между блоками 132 дополнительной информации так, что в декодере известно, когда снова следует ожидать блок 132 дополнительной информации в кодированном сигнале. В качестве альтернативы, блоки дополнительной информации другого типа могут быть обозначены соответствующими флагами.
Как показано на Фиг.11, после поступления блока дополнительной информации для нового узла, в частности, после этапа 226 или 232, индекс j дискретного значения вначале инициализируется на этапе 234 со значением, равным 0. Это значение соответствует положению первого дискретного значения в аудиоблоке, который в данное время содержится в FIFO 214, к которому относится текущая дополнительная информация. Этап 234 выполняется с помощью параметризируемого последующего фильтра 218. Последующий фильтр 218 затем вычисляет предел мощности шумов в новом узле на этапе 236, причем этот этап соответствует этапу 84 по Фиг.4 и может быть пропущен, когда, например, предел мощности шумов в узлах передается в дополнение к значениям усиления. На последующих этапах 238 и 240 последующий фильтр 218 выполняет интерполяцию в отношении коэффициентов фильтра и предельного значения мощности шумов, соответствующую интерполяциям 88 и 90, показанным на Фиг.4. Последующее вычисление на этапе 242 величины усиления для позиции j дискретных значений на основе интерполированного предельного значения мощности шумов и интерполированных коэффициентов фильтра, полученных на этапах 238 и 240, соответствует этапу 92 по Фиг.4. На этапе 244 последующий фильтр 218 применяет величину усиления, вычисленную на этапе 242, и интерполированные коэффициенты фильтра к величине дискретного значения в позиции j. Этот этап отличается от этапа 94 по Фиг.4 тем, что интерполированные коэффициенты фильтра применяются для квантованных отфильтрованных дискретных значений ‘, так что передаточная функция параметризируемого последующего фильтра соответствует не обратному значению порогового значения слышимости, а самому пороговому значению слышимости. Кроме того, последующий фильтр выполняет не умножение на величину усиления, а деление на величину усиления в квантованных отфильтрованных дискретных значениях ‘ или уже реверсивно отфильтрованных, квантованных отфильтрованных дискретных значений в позиции j.
Если последующий фильтр 218 еще не достиг текущего узла с позицией j дискретных значений, который он проверяет на этапе 246, он последовательно увеличивает на этапе 248 индекс j позиции дискретного значения и снова выполняет этапы 238-246. Только когда узел будет достигнут, он применяет на этапе 250 величину усиления и коэффициенты фильтра нового узла к дискретному значению в узле. Такое применение, в свою очередь, включает в себя, как и на этапе 218, деление с использованием величины усиления и фильтрацию с передаточной функцией, равной пороговому значению слышимости, а не обратному значению последнего, вместо умножения. После этапа 250 текущий аудиоблок декодируется путем интерполяции между двумя параметризациями узла.
Как указано выше, шумы, вносимые квантованием во время кодирования на этапах 110 или 112, регулируются как в отношении формы, так и в отношении амплитуды по пороговому значению слышимости путем фильтрации и применения величины усиления на этапах 218 и 224.
Также следует отметить, что в случае, когда квантованные отфильтрованные аудиозначения были подвергнуты другому умножению на этапе 126 по команде контроллера скорости передачи битов перед кодированием для получения кодированного сигнала, этот коэффициент также можно учесть на этапах 218 и 224. В качестве альтернативы, аудиозначения, полученные с помощью процесса по Фиг.11, можно подвергнуть другому умножению, чтобы соответствующим образом снова усилить аудиозначения, ослабленные низкой скоростью передачи битов.
Со ссылкой на Фиг.3, 4, 6 и 9-11 можно отметить, что на них представлены блок-схемы последовательности операций, иллюстрирующие режим функционирования кодера по Фиг.1 или декодера по Фиг.8, и что каждый из этапов, представленных в блок-схеме последовательности выполнения операций в виде блока, выполнен соответствующими средствами, как описано выше. Варианты выполнения отдельных этапов могут быть реализованы в аппаратных средствах, например, с использованием специализированных микросхем, или в программных средствах, в виде подпрограмм. В частности, пояснения, написанные в блоках на этих чертежах, приблизительно обозначают процессы, к которым относятся соответствующие этапы, соответствующие конкретным блокам, в то время как стрелки между блоками иллюстрируют порядок этапов при работе кодера и декодера, соответственно.
Со ссылкой на предыдущее описание следует отметить, что схема кодирования, представленная выше, может быть изменена во многих отношениях. В качестве примера, необязательно рассматривать параметризацию и значение усиления, или предельное значение мощности шумов, определенные для некоторого аудиоблока как непосредственно действительные для определенного аудиозначения, например как в предыдущем варианте выполнения, для последнего соответствующего аудиозначения каждого аудиоблока, то есть 128-ое значение в этом аудиоблоке, что позволяет исключить интерполяцию для этого аудиозначения. Вместо этого можно сопоставить эти значения параметра узла с узлом, который по времени находится между моментами времени tn, n = 0, …, 127 дискретизации аудиозначений этого аудиоблока так, что интерполяция будет необходима для каждого аудиозначения. В частности, параметризация, определенная для аудиоблока, или величина усиления, определенная для этого аудиоблока, также может быть применена опосредованно для другого значения, такого, как, например, аудиозначение в середине аудиоблока, например для 64-ого аудиозначения в случае указанного выше размера блока из 128 аудиозначений.
Кроме того, следует отметить, что описанный выше вариант выполнения относится к схеме аудиокодирования, предназначенной для генерирования кодированного сигнала с управляемой скоростью передачи битов. Управление скоростью передачи битов, однако, не является необходимым для каждого случая применения. По этой причине соответствующие этапы 116-122 и 126 или 125 также могут быть исключены.
Что касается схемы сжатия, упомянутой со ссылкой на этап 114, для полноты можно сделать ссылку на вышеупомянутый документ авторов Schuller и др., в частности на раздел IV, содержание которого в отношении уменьшения избыточности с использованием кодирования без потерь включено в настоящий документ посредством ссылки.
Кроме того, со ссылкой на предыдущий вариант выполнения, необходимо отметить следующее. Хотя выше описано, что пороговое значение всегда остается постоянным при квантовании, или даже функция шага квантования всегда остается постоянной, то есть аудиопомехи, генерируемые в отфильтрованном аудиосигнале, всегда квантуются или ограничиваются с помощью более грубого квантования, что может повлиять на качество звука так, что его изменение будет различимо на слух, также можно использовать эти меры, только если сложность аудиосигнала требует этого, а именно если скорость передачи битов, требуемая для кодирования, превышает требуемую скорость передачи битов. В этом случае, в дополнение к функциям шага квантования, показанным на Фиг.7a и 7b, можно использовать, например, функцию с постоянным размером шага квантования в пределах всего диапазона возможных значений на выходе предварительного фильтра, и квантователь, например, в соответствии с сигналом, мог бы использовать либо функцию шага квантования с постоянным размером шага квантования, или одну из функций шага квантования в соответствии с Фиг.7a или 7b, в результате чего квантователь можно было бы переключать с помощью сигнала так, чтобы он, с незначительным влиянием на качество ауиосигнала, уменьшал шаг квантования выше порогового значения или выполнял ограничение выше порогового значения. В качестве альтернативы, пороговое значение также можно уменьшать постепенно. В этом случае уменьшение порогового значения можно использовать вместо уменьшения коэффициента на этапе 126. После первой проверки сжатия без использования этапа 110 сжатый временной сигнал можно подвергать избирательному квантованию с пороговым значением на модифицированном этапе 126, если скорость передачи битов остается все еще слишком высокой (118). При другом проходе отфильтрованные аудиозначения могли бы быть квантованы впоследствии с функцией шага квантования, имеющей более плоскую форму выше порогового значения аудиосигнала. Кроме того, уменьшение скорости передачи битов можно выполнить на модифицированном этапе 126 путем уменьшения порогового значения и, таким образом, с использованием другой модификации функции шага квантования.
Кроме того, следует отметить, что интеграция параметров a и x в блок дополнительной информации, описанный выше, также может осуществляться без вычисления каких-либо разностей, но с получением соответствующих параметров из каждого блока дополнительной информации отдельно. Кроме того, нет необходимости выполнять квантование так, чтобы, как описано со ссылкой на этап 110, размер шага квантования изменялся от определенного верхнего предельного значения до значения, не превышающего верхнее пороговое значение. Также возможно использовать другие правила квантования, кроме показанных на Фиг.7a и 7b.
Таким образом, в приведенных выше вариантах выполнения используется поперечное снижение уровня коэффициентов в отношении схемы аудиокодирования, имеющей очень малое время задержки. Во время кодирования дополнительная информация передается через определенные интервалы. Эти коэффициенты интерполированы между моментами времени передачи. Коэффициент, обозначающий возможную мощность шумов или область ниже порогового значения маскирования, или значение, из которого они могут быть получены, используются для интерполяции и, предпочтительно, также передаются, поскольку они имеют предпочтительные характеристики при интерполяции. Таким образом, с одной стороны, дополнительная информация из предварительного фильтра, коэффициенты которого должны быть переданы для предоставления в последующий фильтр в декодере обратной функции преобразования, чтобы можно было снова соответствующим образом восстановить аудиосигнал в декодере, может быть передана с низкой скоростью передачи битов, с использованием, например, только передачи информации в определенные интервалы, и, с другой стороны, качество аудиосигнала может поддерживаться на относительно хорошем уровне, поскольку интерполяция возможной мощности шумов, как область ниже порогового значения маскирования, представляет собой хорошую аппроксимацию для интервалов времени между узлами.
В частности, следует отметить, что в зависимости от обстоятельств схему аудиокодирования в соответствии с изобретением также можно выполнить в форме программных средств. Вариант выполнения может быть воплощен на цифровом носителе записи, в частности на диске, или CD (компакт-диске), содержащем сигналы управления, которые можно считывать электронным способом, которые могут взаимодействовать с программируемой компьютерной системой для выполнения соответствующего способа. В общем, изобретение также воплощается в компьютерном программном продукте, программный код которого сохранен на машиночитаемом носителе, для выполнения способа в соответствии с изобретением, когда компьютерный программный продукт работает на компьютере. Другими словами, изобретение также можно реализовать как компьютерную программу, имеющую программный код, для выполнения способа, когда компьютерная программа работает на компьютере.
В частности, указанные выше этапы способа, представленные в блоках блок-схемы последовательности операций, могут быть выполнены отдельно или в группах из нескольких блоков с использованием подпрограммных процедур. В качестве альтернативы, конечно, также возможен вариант выполнения устройства в соответствии с изобретением в форме интегральной схемы, когда эти блоки выполнены как, например, отдельные части специализированной микросхемы.
В частности, следует отметить, что в зависимости от обстоятельств схема в соответствии с изобретением также может быть выполнена в форме программных средств. Вариант выполнения может быть представлен на цифровом носителе записи, в частности на диске или на CD, на котором записаны сигналы управления, которые могут быть считаны электронным способом, которые могут взаимодействовать с программируемой компьютерной системой для выполнения соответствующего способа. В общем, изобретение, таким образом, также направлено на компьютерный программный продукт, имеющий программный код, сохраненный на машиночитаемом носителе, для выполнения способа в соответствии с изобретением, когда компьютерная программа работает в компьютере. Другими словами, изобретение также может быть реализовано как компьютерная программа, имеющая программный код, для выполнения способа, когда компьютерная программа работает на компьютере.
Формула изобретения
1. Устройство для кодирования аудиосигнала, состоящего из последовательности (54) аудиозначений (56), для получения кодированного сигнала (130), содержащее:
средство (20) для определения первого порогового значения слышимости для первого блока аудиозначений последовательности (54) аудиозначений (56)и второго порогового значения слышимости для второго блока аудиозначений последовательности (54) аудиозначений (56);
средство (24) для вычисления версии первой параметризации параметризируемого фильтра (30) так, чтобы его передаточная функция приблизительно соответствовала обратному значению величины первого порогового значения слышимости, и версии второй параметризации параметризируемого фильтра так, чтобы его функция передачи приблизительно соответствовала обратному значению величины второго порогового значения слышимости;
средство (22) для определения первого предельного значения мощности шумов, в зависимости от первого порогового значения маскирования, и второго предельного значения мощности шумов, в зависимости от второго порогового значения маскирования;
средство (30) для параметризируемой фильтрации и масштабирования заданного блока аудиозначений последовательности (54) аудиозначений (56) для получения блока масштабируемых отфильтрованных аудиозначений, соответствующего заданному блоку, содержащее:
средство (88) для интерполяции между версией первой параметризации и версией второй параметризации, для получения версии интерполированной параметризации для заданного аудиозначения в заданном блоке аудиозначений;
средство (90) для интерполяции между первым предельным значением мощности шумов и вторым предельным значением мощности шумов, для получения интерполированного значения мощности шумов для заданного аудиозначения;
средство (92) для определения промежуточного значения масштабирования, в зависимости от интерполированного предельного значения мощности шумов; и
средство (94) для применения параметризируемого фильтра с версией интерполированной параметризации и промежуточным значением масштабирования к заданным аудиозначениям, для получения одного из масштабированных отфильтрованных аудиозначений;
средство (28) для квантования масштабированных отфильтрованных аудиозначений в соответствии с правилом квантования, для получения блока квантованных масштабированных отфильтрованных аудиозначений; и
средство (18) для интегрирования информации в кодированный сигнал, для обеспечения получения из него блока квантованных масштабированных отфильтрованных аудиозначений, версии первой параметризации, версии второй параметризации, первого предельного значения мощности шумов и второго предельного значения мощности шумов.
2. Устройство по п.1, в котором средство (84) для определения первого и второго предельных значений мощности шумов обеспечивает определение первого предельного значения мощности шумов как области ниже квадрата величины первого порогового значения слышимости и второго предельного значения мощности шумов как области ниже квадрата величины второго порогового значения слышимости.
3. Устройство по п.1, в котором средство (92) для определения промежуточного значения масштабирования обеспечивает выполнение дополнительного определения в зависимости от мощности шумов квантования, создаваемых определенным правилом квантования.
4. Устройство по п.1, дополнительно содержащее средство (84) для определения второго значения масштабирования в зависимости от мощности шумов квантования и второго предельного значения мощности шумов, при этом средство фильтрации и масштабирования дополнительно включает в себя средство (94) для применения параметризируемого фильтра с версией второй параметризации и вторым значением масштабирования к аудиозначению, ассоциированному с заданным блоком, для получения одного из масштабированных отфильтрованных аудиозначений.
5. Устройство по п.4, в котором средство (84) для определения первого и второго значений масштабирования содержит средство вычисления корня из частного от деления шумов квантования на первое предельное значение мощности шумов и корня из частного от деления шумов квантования на второе предельное значение мощности шумов.
6. Устройство по п.1, в котором средство (92) для определения промежуточного значения масштабирования содержит средство для вычисления корня из частного от деления мощности шумов квантования на интерполированное предельное значение мощности шумов.
7. Устройство по п.1, в котором средство (88) для интерполяции между версией первой параметризации и версией второй параметризации обеспечивает выполнение линейной интерполяции.
8. Устройство по любому из пп.1-7, в котором средство (90) для интерполяции между первым предельным значением мощности шумов и вторым предельным значением мощности шумов обеспечивает выполнение линейной интерполяции.
9. Устройство по п.1, в котором средство (28) для квантования обеспечивает выполнение квантования на основе функции шага квантования, содержащей приблизительно постоянный размер шага квантования вплоть до порогового значения.
10. Устройство по п.1, в котором средство (18) для интегрирования включает в себя энтропийный кодер.
11. Устройство по п.1, в котором средство (18) для интегрирования информации выполнено таким образом, что информация представляет первое или второе предельные значения мощности шумов или первое или второе значения масштабирования.
12. Устройство по п.1, дополнительно содержащее средство (66) проверки параметризаций, следующих после первой параметризации, путем последовательного вычисления, отличаются ли они от первой параметризации более чем в заданной степени, и выбора в качестве второй параметризации среди этих параметризаций, той параметризации, для которой это имеет место в первый раз.
13. Способ кодирования аудиосигнала в виде последовательности (54) аудиозначений (56) для получения кодированного сигнала (130), содержащий следующие этапы:
определение первого порогового значения слышимости для первого блока аудиозначений последовательности (54) аудиозначений (56) и второго порогового значения слышимости для второго блока аудиозначений последовательности (54) аудиозначений (56);
вычисление версии первой параметризации параметризируемого фильтра (30) так, чтобы его передаточная функция приблизительно соответствовала обратному значению величины первого порогового значения слышимости, и версии второй параметризации параметризируемого фильтра так, чтобы его передаточная функция приблизительно соответствовала обратному значению величины второго порогового значения слышимости;
определение первого предельного значения мощности шумов в зависимости от первого порогового значения маскирования и второго предельного значения мощности шумов в зависимости от второго порогового значения маскирования;
параметризируемую фильтрацию и масштабирование заданного блока аудиозначений последовательности (54) аудиозначений (56), для получения блока масштабированных отфильтрованных аудиозначений, соответствующего заданному блоку, содержащую следующие подэтапы:
интерполяцию между версией первой параметризации и версией второй параметризации для получения версии интерполированной параметризации для заданного аудиозначения в заданном блоке аудиозначений;
интерполяцию между первым предельным значением мощности шумов и вторым предельным значением мощности шумов для получения интерполированного предельного значения мощности шумов для заданного аудиозначения;
определение промежуточного значения масштабирования в зависимости от интерполированного предельного значения мощности шумов и
применение параметризируемого фильтра с версией интерполированной параметризации и промежуточного значения масштабирования к заданному аудиозначению для получения одного из масштабированных отфильтрованных аудиозначений;
квантование масштабированных отфильтрованных аудиозначений для получения блока квантованных масштабированных отфильтрованных аудиозначений; и
интегрирование информации в кодированный сигнал для обеспечения получения из него блока квантованных масштабированных отфильтрованных аудиозначений, версии первой параметризации, версии второй параметризации, первого предельного значения мощности шумов и второго предельного значения мощности шумов.
14. Устройство для декодирования кодированного сигнала (130) для получения декодированного аудиосигнала, в котором кодированный сигнал (130) содержит информацию, предназначенную для получения из нее заданного блока квантованных масштабированных отфильтрованных аудиозначений, версии первой параметризации, версии второй параметризации, первого предельного значения мощности шумов и второго предельного значения мощности шумов, содержащее:
средство (212) для получения из кодированного сигнала (130) заданного блока квантованных масштабированных отфильтрованных аудиозначений, версии первой параметризации, версии второй параметризации, первого предельного значения мощности шумов и второго предельного значения мощности шумов;
средство (30) для параметризируемой фильтрации и масштабирования заданного блока квантованных масштабированных отфильтрованных аудиозначений, предназначенное для получения соответствующего блока декодированных аудиозначений, содержащее:
средство (88) для интерполяции между версией первой параметризации и версией второй параметризации, предназначенное для получения версии интерполированной параметризации для заданного аудиозначения в блоке квантованных масштабированных отфильтрованных аудиозначений;
средство (90) для интерполяции между первым предельным значением мощности шумов и вторым предельным значением мощности шумов, предназначенное для получения интерполированного предельного значения мощности шумов для заданного аудиозначения;
средство (92) для определения промежуточного значения масштабирования в зависимости от интерполированного предельного значения мощности шумов и
средство (94) для применения параметризуемого фильтра с версией интерполированной параметризации и промежуточным значением масштабирования к заданному аудиозначению для получения одного из декодированных аудиозначений.
15. Способ декодирования кодированного сигнала (130) для получения декодированного аудиосигнала, причем кодированный сигнал (130) содержит информацию, предназначенную для получения из него заданного блока квантованных масштабированных отфильтрованных аудиозначений, версии первой параметризации, версии второй параметризации, первого предельного значения мощности шумов и второго предельного значения мощности шумов, содержащий следующие этапы:
получение из кодированного сигнала (130) заданного блока квантованных масштабированных отфильтрованных аудиозначений, версии первой параметризации, версии второй параметризации, первого предельного значения мощности шумов и второго предельного значения мощности шумов;
параметризируемую фильтрацию и масштабирование заданного блока квантованных масштабированных отфильтрованных аудиозначений для получения соответствующего блока декодированных аудиозначений, содержащие следующие подэтапы:
интерполяцию между версией первой параметризации и версией второй параметризации для получения версии интерполированной параметризации для заданного аудиозначения в блоке квантованных масштабированных отфильтрованных аудиозначений;
интерполяцию между первым предельным значением мощности шумов и вторым предельным значением мощности шумов для получения интерполированного предельного значения мощности шумов для заданного аудиозначения;
определение промежуточного значения масштабирования в зависимости от интерполированного предельного значения мощности шумов и
применение параметризируемого фильтра с версией интерполированной параметризации и промежуточным значением масштабирования к заданному аудиозначению для получения одного из декодированных аудиозначений.
16. Машиночитаемый носитель, предназначенный для взаимодействия с программируемой компьютерной системой под действием считываемых управляющих сигналов в виде программных кодов, сохраненных на машиночитаемом носителе, для кодирования аудиосигнала способом по п.13 или для декодирования кодированного сигнала способом по п.15.
РИСУНКИ
|
|