|
|
(21), (22) Заявка: 2007102433/12, 22.01.2007
(24) Дата начала отсчета срока действия патента:
22.01.2007
(46) Опубликовано: 10.10.2008
(56) Список документов, цитированных в отчете о поиске:
US 5741984 А, 21.04.1998. RU 2288459 С1, 27.11.2006. RU 2148825 C1, 10.05.2000. US 2004124352 A1, 01.07.2004. US 6085601 A, 11.07.2000. RU 51219 U1, 27.01.2006. RU 2126160 C1, 10.02.1999. RU 2009475 C1, 15.03.1994. RU 2280248 С1, 20.07.2006. GB 1291468 A, 04.10.1972. JP 2004028675 A, 29.01.2004. JP 2000028579 A, 28.01.2000. JP 9171026 A, 30.06.1997.
Адрес для переписки:
188540, Ленинградская обл., г. Сосновый Бор, ФГУП “НИТИ им. А.П. Александрова”
|
(72) Автор(ы):
Мацаев Владимир Тимофеевич (RU), Пыхтеев Олег Юрьевич (RU), Буряков Игорь Александрович (RU), Буряков Тимофей Игоревич (RU)
(73) Патентообладатель(и):
Федеральное государственное унитарное предприятие “Научно-исследовательский технологический институт имени А.П. Александрова” (RU)
|
(54) УСТРОЙСТВО ДЛЯ ОБНАРУЖЕНИЯ СЛЕДОВЫХ КОЛИЧЕСТВ МАЛОЛЕТУЧИХ ВЕЩЕСТВ НА ПАЛЬЦАХ РУК
(57) Реферат:
Изобретение относится к области газового анализа и может быть использовано как самостоятельно для решения задач обнаружения следовых количеств малолетучих (взрывчатых, наркотических) веществ на пальцах рук человека, подлежащего контролю, так и в составе контрольно-пропускных пунктов, порталов или турникетов. Устройство обнаружения следовых количеств малолетучих веществ на пальцах рук содержит газоанализатор, вырабатывающий сигнал тревоги при регистрации паров веществ, подлежащих контролю, прогреваемый газовый канал, одним концом подсоединенный к входу газоанализатора, нагреватель, управляемый источник тока, подключенный к нагревателю, нажимной кнопочный механизм, пластину, имеющую поверхность нажатия, закрепленную в нажимном кнопочном механизме, причем к обратной стороне поверхности нажатия подведен второй конец прогреваемого газового канала. При этом датчик положения пластины, вырабатывающий сигнал при нажатии на поверхность нажатия пластины, датчик температуры окружающего воздуха и/или поверхности нажатия могут быть подключены К газоанализатору и/или управляемому источнику тока. Техническим результатом изобретения является значительное упрощение процедуры обследования пальцев рук человека, подлежащего контролю, а также автоматизация процесса обнаружения следовых количеств малолетучих веществ на пальцах рук и сокращение времени обследования. 10 з.п.ф-лы, 2 ил.
Изобретение относится к области газового анализа и может быть использовано как самостоятельно для решения задач обнаружения следовых количеств малолетучих (например, взрывчатых, наркотических) веществ на пальцах рук человека, подлежащего контролю, так и в составе контрольно-пропускных пунктов (КПП), порталов или турникетов.
Известно устройство для обнаружения микрочастиц веществ в газовом потоке, например, в потоке окружающего воздуха, состоящее из газоанализатора, проницаемого концентратора, клапана, побудителя расхода и соответствующих газовых коммуникаций [патент US №6085601, 11.07.2000].
Работа данного устройства заключается в следующем. Газовый поток, имеющий взвешенные частицы, пропускается через проницаемый концентратор. Частицы собираются на концентраторе. Затем газовый поток прерывается клапаном, после чего поперечный поток газа-носителя продувается параллельно поверхности концентратора, чтобы переместить аккумулированные частицы в газоанализатор. Нагрев концентратора производят, например, пропусканием электрического тока, чтобы активизировать десорбцию частиц с него в поток газа-носителя. Устройство может быть использовано для обнаружения взрывчатых, наркотических и отравляющих веществ.
Известно также устройство для обнаружения опасных веществ, содержащее печь, вмещающую протирочное устройство с налипшей на него пробой вещества, источник инфракрасного излучения для нагрева образца, газоанализатор, включающий ионный источник для ионизации образца, испаренного в печи, масс-анализатор для осуществления анализа масс ионов, блоки управления, обработки и генерации сигнала тревоги [патент US №6884997 от 26.04.2005].
Основным ограничением описанных выше устройств является невозможность с их помощью обследовать у людей, подлежащих контролю, пальцы рук, где наличие следов малолетучих веществ наиболее вероятно.
Наиболее близким к предлагаемому является устройство для сбора химической пробы с пальцев рук человека с помощью жетона [патент US №5741984 от 21.04.1998]. Устройство содержит газоанализатор, вырабатывающий сигнал тревоги при регистрации паров веществ, подлежащих контролю, камеру-жетоноприемник, подсоединенную с помощью газового канала ко входу газоанализатора, нагреватель, обеспечивающий нагрев камеры-жетоноприемника, управляемый источник тока, подключенный к нагревателю. Жетон включает основу и субстрат на основе (субстрат может быть политетрафлюороэтилен или хлопок). Пальцы рук контактируют с субстратом, занимающим на жетоне определенную площадь, при раздаче жетонов раздаточным устройством. Сила, приложенная пальцами к субстрату, чтобы изъять жетон из раздаточного устройства, должна быть достаточна для того, чтобы химическая проба была перенесена с пальцев рук человека на субстрат. Жетон, контактировавший с пальцами рук, помещают в нагревательную камеру, связанную по газовому каналу с входом анализатора, и нагревают. При наличии в газовом потоке, десорбированном с жетона, веществ, подлежащих контролю, анализатор вырабатывает сигнал тревоги.
Недостатками описанного выше устройства являются:
– необходимость использования расходного материала – жетонов;
– невозможность автоматизировать процесс обнаружения малолетучих веществ из-за наличия манипуляций руками – изъятие жетона обследуемым человеком из раздаточного устройства, перенос жетона к нагревательной камере, подсоединенной к анализатору;
– большое время обследования одного человека.
В основу изобретения была положена задача разработать устройство для обнаружения следовых количеств малолетучих веществ на пальцах рук, позволяющее значительно упростить процедуру обследования пальцев рук человека, подлежащего контролю, автоматизировать процесс обнаружения следовых количеств малолетучих веществ на пальцах рук и сократить время обследования.
Эта задача решается тем, что в устройство обнаружения следовых количеств малолетучих веществ на пальцах рук, состоящее из газоанализатора, вырабатывающего сигнал тревоги при регистрации паров веществ, подлежащих контролю, прогреваемого газового канала, одним концом подсоединенного к входу газоанализатора, нагревателя, управляемого источника тока, подключенного к нагревателю, введены нажимной кнопочный механизм, пластина, имеющая поверхность нажатия, закрепленная в нажимном кнопочном механизме, причем к обратной стороне поверхности нажатия подведен второй конец прогреваемого газового канала, датчик положения пластины, вырабатывающий сигнал при нажатии на поверхность нажатия пластины и датчик температуры окружающего воздуха и/или поверхности нажатия, которые могут быть подключены к газоанализатору и/или управляемому источнику тока.
Газоанализатор может быть реализован, как, например, спектрометр ионной подвижности (СИП), спектрометр приращения ионной подвижности (СПИП) или газовый хроматограф.
Пластина может иметь отверстие, к которому со стороны обратной поверхности нажатия подведен второй конец прогреваемого газового канала. Пластина может быть выполнена из материала с низким коэффициентом теплопроводности, а поверхность нажатия может иметь вогнутый профиль, повторяющий профиль поверхности подушечки пальца (поверхность нажатия может являться, например, элементом панели набора ПИН-кода).
Нагреватель, подключенный к управляемому источнику тока, представляет собой либо источник инфракрасного излучения, сфокусированного на поверхности нажатия (при этом поверхность нажатия может иметь высокую поглощательную способность), либо индуктор, подключенный к управляемому источнику переменного тока (при этом на поверхность нажатия нанесена металлическая фольга), либо пластину, выполненную из диэлектрического материала и подключенную к управляемому высокочастотному источнику тока, либо пластину, на поверхность нажатия которой нанесена резистивная металлическая фольга, либо пластину с поверхностью нажатия, которая является элементом термоэлектрического модуля.
Управление источником тока может осуществляться с помощью таймера, имеющего вход «Пуск», подключенный к датчику положения пластины, вход, подключенный к датчику температуры окружающего воздуха и/или поверхности нажатия, и выход, подключенный к управляемому источнику тока.
Отличительной особенностью устройства является введение нажимного кнопочного механизма, пластины, закрепленной в нажимном кнопочном механизме, имеющей поверхность нажатия, датчика положения пластины, вырабатывающего сигнал при нажатии на пластину, и датчика температуры окружающего воздуха и/или поверхности нажатия.
Наличие указанных отличительных признаков позволяет автоматизировать процесс обнаружения малолетучих веществ, значительно упростить процедуру обследования пальцев рук человека, подлежащего контролю, и сократить время, необходимое для обследования одного человека.
Предлагаемое изобретение иллюстрируется чертежами:
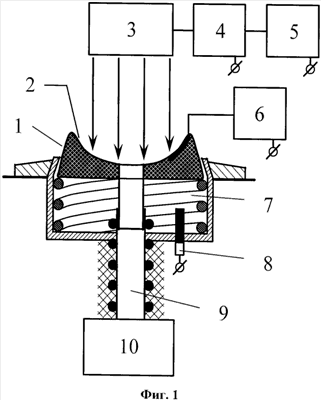
фиг.1 – приведен один из возможных вариантов схемы устройства обнаружения следовых количеств малолетучих веществ на пальцах рук;
фиг.2 – показаны отклики газоанализатора (СПИП) при нажатии на поверхность нажатия пластины пальцем руки, на которой нанесено следовое количество тринитротолуола (ТНТ):
а) в режиме поддержания постоянной температуры поверхности нажатия;
б) при импульсном нагреве поверхности нажатия. Стрелками отмечен момент касания пальцем поверхности нажатия.
Устройство для обнаружения следовых количеств малолетучих веществ на пальцах рук состоит из пластины 1, имеющей поверхность нажатия 2 с отверстием; нагревателя 3, подключенного к источнику тока 4, управляемого либо с помощью таймера 5, либо с помощью датчика 6 температуры окружающего воздуха и/или поверхности нажатия, нажимного кнопочного механизма 7, датчика 8 положения пластины 1, прогреваемого газового канала 9, одним концом подсоединенного к входу газоанализатора 10, вторым – к отверстию с обратной стороны поверхности нажатия 2 пластины 1.
Работает устройство следующим образом.
Место контроля организовано так, что обследуемому человеку для прохода через это место необходимо пальцем руки нажать на поверхность нажатия 2 пластины 1, закрепленной в нажимном кнопочном механизме 7. Сила, приложенная пальцем руки к поверхности нажатия 2, должна быть достаточна для того, чтобы малолетучие вещества были перенесены с поверхности пальца на поверхность нажатия 2. Этот факт фиксируется датчиком 8 положения пластины, вырабатывающим сигнал при нажатии на пластину 1. Сигнал с датчика 8 положения пластины поступает на вход «Пуск» таймера 5, а также, например, на вход «Пуск» газоанализатора 10. Таймер 5 производит включение и через заданный временной интервал выключение источника тока 4, соединенного с нагревателем 3. В течение заданного временного интервала под действием нагревателя 3 происходит нагрев поверхности нажатия 2 пластины 1. Частицы малолетучих веществ, перенесенные с поверхности пальца на поверхность нажатия 2, испаряются и потоком воздуха через прогреваемый газовый канал 9 транспортируются на вход газоанализатора 10. При наличии в потоке воздуха паров веществ, подлежащих контролю, газоанализатор 10 вырабатывает сигнал тревоги. Если сигнал тревоги отсутствует, обследованию может быть подвергнут следующий человек.
Очевидно, что при многократном нажатии на пластину 1 через малые интервалы времени (например, обследование потока людей на КПП или проходной) температура поверхности нажатия 2 возрастает. Чтобы исключить возможность получить ожог при многократном нажатии на поверхность 2, пластина 1 может быть выполнена из материала с низким коэффициентом теплопроводности. Кроме того, в зависимости от температуры окружающего воздуха и/или поверхности нажатия 2 с помощью датчика 6 температуры осуществляют коррекцию временного интервала таймера 5.
Для того чтобы обеспечить хороший контакт пальца и поверхности нажатия, а также уменьшить влияние конвективных потоков воздуха (например, ветер, сквозняк и т.п.), поверхность нажатия 2 может иметь вогнутый профиль, повторяющий профиль поверхности подушечки пальца.
Устройство обнаружения следовых количеств малолетучих веществ на пальцах рук может функционировать без таймера. В этом случае поддержание температуры поверхности нажатия 2 на максимальном уровне, но не превышающем болевой температурный порог для кожи человека, осуществляется с помощью датчика 6 температуры поверхности нажатия 2, подключенного к источнику тока 4.
На фиг.2 приведены отклики газоанализатора (СПИП) при нажатии на поверхность 2 пластины 1 пальцем руки, на котором нанесено следовое количество ТНТ:
а) в режиме поддержания постоянной температуры поверхности нажатия (без использования таймера);
б) при импульсном нагреве поверхности нажатия.
Стрелками отмечены моменты касания пальцем поверхности нажатия.
Как видно из фиг.2, при обнаружении малолетучих веществ:
– в режиме поддержания постоянной температуры поверхности нажатия 2 примерно через 5 секунд сигнал, регистрируемый газоанализатором (СПИП), достигает максимального значения;
– в импульсном режиме скорость нагрева поверхности нажатия 2 зависит от мощности нагревателя 3 и в данном примере за 3 секунды сигнал, регистрируемый газоанализатором (СПИП), достигает значение, в 15 раз превышающее значение сигнала, регистрируемого в режиме поддержания постоянной температуры.
Таким образом, помимо возможности автоматизации процесса обнаружения следовых количеств малолетучих веществ на пальцах рук человека, подлежащего контролю, и простоты реализации (по сравнению с прототипом) в предлагаемом техническом решении время, необходимое для обследования одного человека, уменьшено до 5-10 секунд.
Формула изобретения
1. Устройство обнаружения следовых количеств малолетучих веществ на пальцах рук, состоящее из газоанализатора, вырабатывающего сигнал тревоги при регистрации паров веществ, подлежащих контролю, прогреваемого газового канала, одним концом подсоединенного ко входу газоанализатора, нагревателя, управляемого источника тока, подключенного к нагревателю, отличающееся тем, что в устройство введены нажимной кнопочный механизм, пластина, имеющая поверхность нажатия, закрепленная в нажимном кнопочном механизме, причем к поверхности нажатия подведен второй конец прогреваемого газового канала, датчик положения пластины, вырабатывающий сигнал при нажатии на пластину, и датчик температуры окружающего воздуха или/и поверхности нажатия, которые могут быть подключены к газоанализатору и/или управляемому источнику тока.
2. Устройство по п.1, отличающееся тем, что пластина имеет отверстие, к которому со стороны обратной поверхности нажатия подведен второй конец прогреваемого газового канала.
3. Устройство по п.1, отличающееся тем, что пластина выполнена из материала с низким коэффициентом теплопроводности.
4. Устройство по п.1, отличающееся тем, что поверхность нажатия имеет вогнутый профиль, повторяющий профиль поверхности подушечки пальца.
5. Устройство по п.1, отличающееся тем, что нагреватель представляет собой источник инфракрасного излучения, сфокусированного на поверхность нажатия.
6. Устройство по п.5, отличающееся тем, что поверхность нажатия имеет высокую поглощательную способность.
7. Устройство по п.1, отличающееся тем, что на поверхность нажатия нанесена резистивная металлическая фольга, подключенная к управляемому источнику тока.
8. Устройство по п.1, отличающееся тем, что нагреватель представляет собой индуктор, подключенный к управляемому источнику переменного тока, а на поверхность нажатия нанесена металлическая фольга.
9. Устройство по п.1, отличающееся тем, что пластина, выполненная из диэлектрического материала, подключена к управляемому высокочастотному источнику тока.
10. Устройство по п.1, отличающееся тем, что пластина с поверхностью нажатия является элементом термоэлектрического модуля, подключенного к управляемому источнику тока.
11. Устройство по п.5 или по одному из пп.7-10, отличающееся тем, что в устройство дополнительно введен таймер, имеющий вход “Пуск”, подключенный к датчику положения пластины, вход, подключенный к датчику температуры окружающего воздуха или/и поверхности нажатия, и выход, подключенный к управляемому источнику тока.
РИСУНКИ
QB4A – Регистрация лицензионного договора на использование изобретения
Лицензиар(ы): Федеральное государственное унитарное предприятие “Научно-исследовательский технологический институт имени А.П. Александрова”
Вид лицензии*: НИЛ
Лицензиат(ы): Открытое акционерное общество “Научно-производственный комплекс “Дедал” (ОАО “НПК “Дедал”)
Договор № РД0065440 зарегистрирован 07.06.2010
Извещение опубликовано: 20.07.2010 БИ: 20/2010
* ИЛ – исключительная лицензия НИЛ – неисключительная лицензия
|
|