|
|
(21), (22) Заявка: 2006145752/11, 21.12.2006
(24) Дата начала отсчета срока действия патента:
21.12.2006
(46) Опубликовано: 10.10.2008
(56) Список документов, цитированных в отчете о поиске:
RU 2188787 С1, 10.09.2002. SU 469908 А1, 05.05.1975. JP 10273212 А, 13.10.1998.
Адрес для переписки:
199106, Санкт-Петербург, В.О., 21 линия, 2, СПГГИ(ТУ), патентный отдел
|
(72) Автор(ы):
Тарасов Юрий Дмитриевич (RU), Бикташева Елена Анваровна (RU)
(73) Патентообладатель(и):
Государственное образовательное учреждение высшего профессионального образования “Санкт-Петербургский государственный горный институт имени Г.В. Плеханова (технический университет)” (RU)
|
(54) СТЕНД ДЛЯ ИССЛЕДОВАНИЯ ПАРАМЕТРОВ ТРУБЧАТОГО ЛЕНТОЧНОГО КОНВЕЙЕРА
(57) Реферат:
Изобретение относится к конвейеростроению, а именно к стендам для исследования параметров опорных элементов для ленты трубчатого ленточного конвейера. Стенд содержит установленную на станине раму, размещенный на ней отрезок ленты с возможностью размещения на нем пробы транспортируемого груза, опорное приспособление для ленты, приспособления для натяжения ленты и измерения его величины. Рама выполнена раздвижной, состоящей из двух оснований с возможностью их перемещений и фиксации на станине. На стойках оснований своими концами закреплена спираль из стального прутка круглого поперечного сечения. Внутри спирали свободно размещен отрезок ленты трубчатой формы, концы которой прикреплены к заглушкам круглой формы, которые связаны гибкими элементами, огибающими отклоняющие блоки, с подвесками, на которых размещены сменные грузы. Концы спирали на стойках закреплены с помощью плит с возможностью их разворота относительно стоек и фиксации на них посредством болтов. На основаниях рамы смонтированы опоры для спирали. Стойки рамы и плиты выполнены с отверстиями с возможностью пропуска через них гибких элементов. Изобретение позволяет обеспечить исследование опорных узлов ленты для трубчатых ленточных конвейеров при различных конструктивных и эксплуатационных параметрах этих узлов. 3 ил.
Изобретение относится к конвейеростроению, а именно к стендам для исследования параметров опорных элементов для ленты трубчатого ленточного конвейера.
Известен стенд для исследования напряженного состояния желобчатой ленты (прототип), содержащий раму, закрепленный на ней отрезок конвейерной ленты с возможностью размещения на нем пробы транспортируемого груза, опорное приспособление для ленты, прибор для измерения натяжения ленты и приспособление для ее натяжения (Пат. РФ №2188787, кл. 7 В65G 15/00, 43/00).
Недостатком известного стенда является невозможность его использования для исследования параметров узлов опирания ленты для трубчатых ленточных конвейеров.
Техническим результатом изобретения является обеспечение возможности проведения на стенде исследований узлов опирания ленты трубчатых ленточных конвейеров при различных значениях конструктивных и эксплуатационных параметров этих узлов.
Технический результат достигается тем, что в стенде для исследования параметров трубчатого ленточного конвейера, содержащем установленную на станине раму, рамещенный на ней отрезок ленты с возможностью размещения на нем пробы транспортируемого груза, опорное приспособление для ленты, приспособления для натяжения ленты и измерения его величины, согласно изобретению рама выполнена раздвижной, состоящей из двух оснований с возможностью их перемещений и фиксации на станине, а на стойках оснований своими свободными концами закреплена спираль из стального прутка круглого поперечного сечения, внутри спирали свободно размещен отрезок ленты трубчатой формы, свободные концы которой прикреплены к заглушкам круглой формы, которые связаны гибкими элементами, огибающими отклоняющие блоки, с подвесками, на которых размещены сменные грузы, при этом концы спирали на стойках закреплены с помощью плит с возможностью их разворота относительно стоек и фиксации на них посредством болтов, на основаниях рамы смонтированы опоры для спирали, а стойки рамы и плиты выполнены с отверстиями с возможностью пропуска через них гибких элементов.
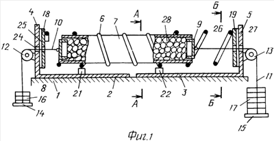
Стенд представлен на фиг.1 – вид сбоку, на фиг.2 – разрез А-А по фиг.1, на фиг.3 – разрез Б-Б по фиг.1.
Стенд состоит из установленной на станине 1 раздвижной рамы, состоящей из двух оснований 2 и 3 с возможностью их перемещений и фиксации на станине 1. На стойках 4 и 5 оснований 2, 3 рамы своими свободными концами закреплена спираль 6 из стального прутка круглого поперечного сечения. Внутри спирали 6 свободно размещен отрезок ленты 7 трубчатой формы, свободные концы которой прикреплены к заглушкам 8 и 9 круглой формы. Заглушки 8 и 9 связаны гибкими элементами 10 и 11, огибающими отклоняющие блоки 12 и 13, с подвесками 14 и 15 с размещенными на них сменными грузами 16 и 17. Концы спирали 6 на стойках 4 и 5 оснований 2 и 3 рамы закреплены с помощью плит 18 и 19 с возможностью их разворота относительно стоек 4 и 5 и фиксации на них посредством болтов 20. На основаниях 2 и 3 рамы смонтированы опоры 21 и 22 для спирали 6. Стойки 4 и 5 рамы и плиты 18 и 19 выполнены с отверстиями 23, 24 и 25, 26 для пропуска через них гибких элементов 10 и 11. 28 – проба транспортируемого груза.
Работа на стенде выполняется следующим образом. Отрезок ленты 7 трубчатой формы размещают внутри спирали 6 и заполняют его пробой транспортируемого груза 28. На конках отрезка ленты 7 устанавливают и закрепляют заглушки 8 и 9, после чего соединяют их с гибкими элементами 10 и 11, которые пропускают через отверстия 24, 25 и 26, 27 с огибанием отклоняющих блоков 12 и 13. На свободных концах гибких элементов 10 и 11 закрепляют подвески 14 и 15. На подвески 14 и 15 устанавливают сменные грузы 16 и 17, соответствующие рабочему натяжению ленты моделируемого конвейера. После этого постепенно увеличивают вес сменных грузов 17 на подвеске 15 до тех пор, пока тележка отрезок ленты 7 с размещенной в ней пробой 28 транспортируемого груза не начнет смещаться относительно внутренней поверхности спирали 6. Разница между весом сменных грузов 17 на подвеске 15 и весом сменных грузов 16 на подвеске 14 определяет величину сопротивлений движению отрезка трубчатой ленты 7 по внутренней поверхности спирали 6, которая является опорой для ленты. Эксперименты проводят при различном заполнении отрезка ленты 7 пробой 28 транспортируемого груза, различном положении плит 18 и 19 после их разворота относительно стоек 4 и 5, которое, в свою очередь, соответствует определенному внутреннему диаметру спирали 6. При этом при изменении диаметра спирали 6 одновременно корректируют и положение оснований 2 и 3 рамы, т.е. ее длину. Эксперименты проводят при различных вариантах формирования лотка из отрезка ленты 7 трубчатой формы. Смыкающиеся внутри спирали 6 бортовые кромки отрезка ленты 7 могут быть соединены между собой каким-либо способом или свободно примыкать друг к другу, как показано на фиг.2. Эксперименты проводятся также при различных натяжениях отрезка ленты 7, задаваемых весом сменных грузов 16 на подвеске 14.
Отличительные признаки изобретения позволяют проводить на стенде исследования опорных узлов ленты для трубчатых ленточных конвейеров при различных значениях конструктивных и эксплуатационных параметров этих узлов.
Формула изобретения
Стенд для исследования параметров трубчатого ленточного конвейера, содержащий установленную на станине раму, размещенный на ней отрезок ленты с возможностью размещения на нем пробы транспортируемого груза, опорное приспособление для ленты, приспособления для натяжения ленты и измерения его величины, отличающийся тем, что рама выполнена раздвижной, состоящей из двух оснований с возможностью их перемещений и фиксации на станине, а на стойках оснований своими концами закреплена спираль из стального прутка круглого поперечного сечения, внутри спирали свободно размещен отрезок ленты трубчатой формы, концы которой прикреплены к заглушкам круглой формы, которые связаны гибкими элементами, огибающими отклоняющие блоки, с подвесками, на которых размещены сменные грузы, при этом концы спирали на стойках закреплены с помощью плит с возможностью их разворота относительно стоек и фиксации на них посредством болтов, на основаниях рамы смонтированы опоры для спирали, а стойки рамы и плиты выполнены с отверстиями с возможностью пропуска через них гибких элементов.
РИСУНКИ
MM4A – Досрочное прекращение действия патента СССР или патента Российской Федерации на изобретение из-за неуплаты в установленный срок пошлины за поддержание патента в силе
Дата прекращения действия патента: 22.12.2008
Извещение опубликовано: 20.09.2010 БИ: 26/2010
|
|