|
|
(21), (22) Заявка: 2006102492/28, 17.06.2004
(24) Дата начала отсчета срока действия патента:
17.06.2004
(30) Конвенционный приоритет:
30.06.2003 DE 10329540.2
(43) Дата публикации заявки: 20.08.2007
(46) Опубликовано: 10.10.2008
(56) Список документов, цитированных в отчете о поиске:
ЕР 0633455 A1, 11.01.1995. US 6505517 B1, 14.01.2003. ЕР 0602780 A2, 22.06.1994. RU 2030713 C1, 10.03.1995.
(85) Дата перевода заявки PCT на национальную фазу:
30.01.2006
(86) Заявка PCT:
EP 2004/006510 (17.06.2004)
(87) Публикация PCT:
WO 2005/001395 (06.01.2005)
Адрес для переписки:
103735, Москва, ул. Ильинка, 5/2, ООО “Союзпатент”, А.А.Силаевой
|
(72) Автор(ы):
БУДМИГЕР Томас (CH), ЖЕЗЕРНИК Сасо (CH)
(73) Патентообладатель(и):
ЭНДРЕСС+ХАУЗЕР ФЛОУТЕК АГ (CH)
|
(54) СПОСОБ РАБОТЫ УСТРОЙСТВА ИЗМЕРЕНИЯ ПРОЦЕССА И МАГНИТНО-ИНДУКТИВНЫЙ РАСХОДОМЕТР
(57) Реферат:
Изобретение может быть использовано для измерения объемного расхода электропроводной жидкости. Магнитно-индуктивный расходомер содержит измерительную трубу, систему возбуждения, два электрода для создания измерительного сигнала, а также обрабатывающую и вычислительную схему. В процессе измерения осуществляют компенсацию помеховой составляющей измерительного сигнала в виде импульсного помехового потенциала, который вызывается частицами постороннего вещества или пузырьками воздуха. Для этого обнаруживают аномалию хода изменения во времени измерительного сигнала путем определения группы данных внутри сохраненного первого комплекта данных, представляющей аномалию в цифровом виде. Для создания свободного от помех комплекта данных, соответствующего измеряемому расходу, из сохраненного первого комплекта данных удаляют данные выявленной группы данных. Изобретение устраняет погрешность измерения расхода жидкостей различного вида. 2 н. и 23 з.п. ф-лы, 13 ил.
Изобретение относится к способу работы устройства измерения процесса, с помощью которого подлежит измерению, по меньшей мере, одна физическая величина, в частности, расход, вязкость или т.п. находящейся в технологическом резервуаре или протекающей в технологической линии среды. В частности, изобретение относится к способу работы магнитно-индуктивного расходомера, с помощью которого подлежит измерению объемный расход электрически проводящей и текучей жидкости, а также к магнитно-индуктивному расходомеру.
В промышленной измерительной технике управления процессами, в частности также в связи с автоматизацией химических и технологических процессов, для создания аналоговых или цифровых измерительных сигналов, представляющих параметры процесса, применяются на месте, т.е. установленные вблизи места выполнения процессов устройства измерения процессов, так называемые полевые измерительные приборы. Примеры таких само по себе известных для специалистов в данной области техники измерительных приборов подробно описаны в ЕР-А 984248, ЕР-А 1158289, US-A 3878725, US-A 4308754, US-A 4468971, US-A 4524610, US-A 4574328, US-A 4594584, US-A 4617607, US-A 4716770, US-A 4768384, US-A 4850213, US-A 5052230, US-A 5131279, US-A 5231884, US-A 5359881, US-A 5363341, US-A 5469748, US-A 5604685, US-A 5687100, US-A 5796011, US-A 6006609, US-B 6236322, US-B 6352000, US-B 6397683, WO-A 8802476, WO-A 8802853, WO-A 9516897, WO-A 0036379, WO-A 0014485, WO-A 0102816 или WO-A 02086426.
Подлежащие измерению величины процесса могут представлять, например, объемный расход, массовый расход, плотность, вязкость, уровень заполнения или предельный уровень, давление или температуру или т.п. жидкой, порошковой, парообразной или газообразной среды, которая находится в соответствующем резервуаре процесса, как, например, трубопроводе или баке, или проходит через него.
Для измерения соответствующих параметров процесса измерительное устройство имеет соответствующий, в большинстве случаев физико-электрический датчик, который установлен в стенке содержащего текучую среду процесса резервуара или в ходе пропускающей среду процесса магистрали и который служит для создания, по меньшей мере, одного возможно точно представляющего первичный измеряемый параметр, в частности, электрического измерительного сигнала. Для этого датчик соединен с соответствующим, в частности, служащим для дальнейшей обработки или оценки по меньшей мере одного измерительного сигнала электронным блоком измерительного устройства. Он имеет обычно возбуждающую датчик рабочую схему, а также обрабатывающую и вычислительную схему для дальнейшей обработки его измерительных сигналов.
Технологические измерительные устройства указанного типа в большинстве случаев соединены через подключенную к электронному блоку систему передачи данных друг с другом и/или с соответствующими управляющими вычислительными устройствами, в которые они передают измерительные сигналы, например, через петлю тока (4 мА-20 мА) и/или через шину передачи цифровых данных. При этом в качестве системы передачи данных служат, в частности, последовательные системы полевых шин, такие как, например, PROFIBUS-PA, FOUNDATION FIELDBUS, а также соответствующие протоколы передачи. С помощью управляющего вычислительного устройства можно подвергать дальнейшей обработке переданные измерительные сигналы и отображать в качестве соответствующих результатов измерения, например, на мониторах, и/или преобразовывать в управляющие сигналы для технологических исполнительных элементов, таких как, например, магнитные клапаны, электродвигатели и т.д.
Для размещения электронного блока такие измерительные устройства дополнительно содержат корпус для электронного блока, который, как предлагается, например, в US-A 6397683 или WO-A 0036379, может быть расположен на удалении от измерительного устройства и соединен с ним через гибкую линию, или, как показано, например, в ЕР-А 903651 или ЕР-А-1008836, непосредственно у датчика или в корпусе для отдельного датчика. В этом случае корпус для электронного блока часто служит, как показано, например, в ЕР-А 984248, US-A 4594584, US-A 4716770 или US-A 6352000, также для размещения механических компонентов датчика, таких как, например, деформирующихся под воздействием механических нагрузок мембранных, стержневых, гильзообразных или трубных тел деформация или вибрации, смотри, например, указанный выше US-B 6352000.
Для измерения электропроводящих сред часто применяются расходомеры с магнитно-индуктивным датчиком расхода. В последующем речь пойдет для простоты лишь о датчиках расхода, соответственно, расходомерах. С помощью магнитно-индуктивных расходомеров можно измерять, как известно, объемный расход электропроводящей жидкости, протекающей в трубопроводе, и отображать в виде соответствующей величины измерения; таким образом, измеряется протекающий через поперечное сечение трубы в единицу времени объем жидкости. Конструкция и принцип действия магнитно-индуктивных расходомеров сами по себе известны специалистам и подробно описаны, например, в DE-A 4326991, ЕР-А 1275940, ЕР-А 1273892, ЕР-А 1273891, ЕР-А 814324, ЕР-А 770855, ЕР-А 521169, US-A 6031740, US-A 5487310, US-А 5210496, US-A 4410926, US-A 2002/0117009 или WO-A 01/90702.
Расходомеры описанного типа обычно имеют не ферромагнитную измерительную трубу, которая устанавливается в трубопровод герметично для жидкости, например, с помощью фланцев или винтовых соединений. Находящаяся в соприкосновении с жидкостью часть измерительной трубы является, например, электрически не проводящей, для исключения короткого замыкания напряжения, которое в соответствии с законом индукции Фарадея наводится пронизывающим измерительную трубу магнитным полем в жидкости. Поэтому металлические измерительные трубы обычно снабжают внутри электрически не проводящим слоем, например, из эбонита, полифторэтилена и т.д., а также обычно не ферромагнитным; при полностью состоящих из пластмассы или керамики, в частности, из керамики оксида алюминия, измерительных трубах, электрически не проводящий слой не требуется.
Магнитное поле создается с помощью двух катушечных систем, из которых в большинстве случаев каждая расположена снаружи на измерительной трубе на ее воображаемом диаметре. Каждая катушечная система состоит обычно из одной катушки без сердечника или одной катушки с магнитомягким сердечником. Для того чтобы создаваемое катушками магнитное поле было по возможности равномерным, в наиболее часто встречающемся случае и в простейшем случае они идентичны друг другу и включены последовательно электрически в одном направлении, так что во время работы через них может проходить одинаковый ток возбуждения. Однако описаны уже также случаи, в которых через катушки попеременно протекает ток возбуждения в одном или противоположном направлениях для обеспечения измерения, например, вязкости жидкостей и/или степени турбулентности потока, смотри, например, ЕР-А 1275940, ЕР-А 770855 или DE-A 4326991. Указанный выше ток возбуждения создается рабочим электронным блоком; его регулируют на постоянное значение тока, например, 85 мА, и направление тока периодически изменяют. Изменение направления тока достигается за счет того, что катушки расположены в так называемой Т-схеме или в так называемой Н-схеме; регулирование тока и изменение направления тока описано в US-A 4410926 или US-A 6031740.
Указанное индуцированное напряжение возникает, по меньшей мере, между двумя гальваническими, то есть смачиваемыми жидкостью, или, по меньшей мере, между двумя емкостными, т.е. расположенными, например, внутри стенки измерительной трубы измерительными электродами, при этом каждый из электродов отводит для себя потенциал. В наиболее частом случае измерительные электроды расположены диаметрально противоположно так, что их общий диаметр находится перпендикулярно направлению магнитного поля и тем самым перпендикулярно диаметру, на котором лежит катушечная система. Индуцированное напряжение усиливается и с помощью обрабатывающей схемы преобразуется в измерительный сигнал, который регистрируется, отображается или подвергается в свою очередь обработке. Соответствующие измерительные электронные блоки также известны для специалистов в данной области техники, например, из ЕР-А 814324, ЕР-А 521169 или WO-A 01/90702.
В принципе, абсолютная величина потенциала на соответствующем электроде не имеет значения для измерения объемного расхода, однако лишь при условии, что, с одной стороны, потенциалы лежат в диапазоне управления подключенного к измерительным электродам дифференциального усилителя, т.е. что этот усилитель не должен быть перегружен этими потенциалами, и что, с другой стороны, частота изменения потенциалов значительно отличается от частоты указанного изменения направления тока.
Потенциал на каждом электроде зависит не только от магнитного поля на основе закона Фарадея, – в эту зависимость входят геометрические и пространственные размеры измерительной трубы и свойства жидкости, – но также на основанный на законе Фарадея и желательно по возможности чистый полезный измерительный сигнал накладываются, как уже указывалось в ЕР-А 1273892, а также ЕР-А 1273891, помеховые потенциалы различного происхождения, которые в свою очередь могут в значительной мере ухудшать результаты измерения.
Первый вид помеховых потенциалов возникает из индуктивных и/или емкостных наводок, которые исходят от катушечных систем и их подводящих проводов и которые изменяют электрический заряд емкости, которая существует на границе раздела между электродом и жидкостью. На основании несимметричности конкретной конструкции расходомера, в частности, относительно прохождения проводов к катушечным системам и измерительным электродам, помеховый потенциал одного электрода обычно отличается от помехового потенциала другого электрода.
Этот первый эффект может, с одной стороны, приводить к ограничению динамических характеристик указанного дифференциального усилителя. С другой стороны, на величину разницы помеховых потенциалов, обусловленной помеховым потенциалом каждого электрода, влияет разброс характеристик вследствие допусков на изготовление расходомеров. Устанавливаемая зависимость потенциалов измерительных электродов от скорости жидкости также частично обуславливается этим эффектом, поскольку при небольших скоростях указанные заряды на пограничном слое между электродом и жидкостью не снимаются жидкостью.
Другой вид помеховых потенциалов обуславливается частицами постороннего вещества или воздушными пузырьками, которые переносятся жидкостью и которые при попадании на электрод вызывают внезапное изменение потенциала. Длительность затухания зависит от вида жидкости и в большинстве случаев больше времени нарастания изменений.
Этот второй эффект также приводит к искажению полезного измерительного сигнала. Вызываемая этим погрешность зависит к тому же от потенциала электрода. Но поскольку этот потенциал, как указывалось выше, имеет разброс характеристик, то второй эффект накладывается на первый эффект, так что отдельные экземпляры расходомера проявляют очень различное поведение, что является, естественно, крайне нежелательным.
Третий вид помеховых потенциалов обуславливается, как уже описано, например, в US-A 5210496, отложениями на измерительных электродах, которые остаются на них от жидкости. Образование отложений сильно зависит от скорости жидкости. Различия в поведении отдельных экземпляров расходомеров могут дополнительно увеличиваться за счет образования отложений.
В ЕР-А 1273892 предложен способ работы магнитно-индуктивного датчика расхода, при этом возникновение указанных помеховых потенциалов любого вида предотвращается или по меньшей мере значительно уменьшается их действие за счет того, что по меньшей мере к одному из обоих измерительных электродов подаются по меньшей мере временно созданные с помощью вычислительной и обрабатывающей схемы импульсы напряжения. Применение этого способа может приводить преимущественно в однофазных или же хорошо смешанных многофазных жидкостях к значительному улучшению точности измерения магнитно-индуктивных расходомеров. Кроме того, например, в ЕР-А 337292 или WO-A 03/004977 описаны способы, в которых на измерительные электроды, в частности, за счет тактового короткого замыкания на массу или за счет приложения гармонического переменного напряжения, подается в течение длительного периода времени устраняющее помеховые потенциалы стирающее напряжение.
Однако недостатком описанного выше способа измерения, соответственно, соответствующего расходомера является то, что, например, в многофазных жидкостях с ярко выраженным разделением отдельных фаз жидкости или в тягуче-вязких жидкостях следует ожидать случайного, практически больше не подлежащего разумной оценке и тем самым едва поддающегося калибровке распределения всегда присутствующих частиц постороннего вещества или пузырьков воздуха. Соответствующим образом нельзя удалять с измерительных электродов в достаточной степени, по меньшей мере, помеховые потенциалы второго вида.
Поэтому задачей изобретения является создание способа, с помощью которого можно в значительной степени компенсировать в измерительном сигнале датчиков расхода вносимые помеховые потенциалы, в частности помеховые потенциалы второго вида, и тем самым создавать величину измерения, которая в значительной степени не зависит от таких помеховых потенциалов, в частности, от помеховых потенциалов второго вида.
Для решения этой задачи изобретение предлагает способ работы устройства измерения процесса, в частности магнитно-индуктивного расходомера, содержащего измерительную трубу, которую устанавливают в магистраль, через которую протекает, в частности, текучая среда, при этом способ содержит стадии:
– пропускания потока среды через измерительную трубу;
– пропускания электрического, в частности биполярного тока возбуждения, через рабочую схему расходомера для возбуждения расположенной на измерительной трубе и воздействующей на нее и/или на протекающую через нее среду систему возбуждения;
– создания, по меньшей мере, одного соответствующего физической величине измерения электрического измерительного сигнала с помощью расположенной на измерительной трубе системы датчиков;
– оцифровывания измерительного сигнала или по меньшей мере его части для создания цифровой последовательности считывания, которая представляет изменение во времени измерительного сигнала;
– запоминания по меньшей мере части цифровой последовательности считывания для создания первого комплекта данных, который в данный момент представляет изменение во времени измерительного сигнала внутри задаваемого интервала времени, а также
– обнаружение аномалии в изменении во времени измерительного сигнала, которая по меньшей мере частично вызвана содержащимся в измерительном сигнале, в частности импульсного помехового потенциала, посредством обнаружения группы данных внутри сохраненного первого комплекта данных, которая представляет в цифровом виде аномалию, а также
– выделения принадлежащих к группе данных из сохраненного первого комплекта данных для создания свободного от помех второго комплекта данных и
– определения представляющего величину протекающей среды значения измерения с применением второго комплекта данных.
Кроме того, изобретение относится к магнитно-индуктивному расходомеру для протекающей в магистрали среды, который содержит:
– вставляемую в магистраль измерительную трубу для пропускания текучей среды,
– вычислительную и обрабатывающую схему;
– питаемые вычислительной и обрабатывающей схемой средства для создания пронизывающего измерительную трубу магнитного поля с помощью расположенной на измерительной трубе и пропускающей ток возбуждения системы катушек;
– по меньшей мере два измерительных электрода для съема потенциалов, которые индуцируются в протекающей через измерительную трубу и пронизываемой магнитным полем текучей среде,
– по меньшей мере временно соединенные с измерительными электродами средства для создания по меньшей мере одного измерительного сигнала, выведенного из снимаемых потенциалов, а также
– средства для сохранения содержащего оцифрованные измерительные данные первого комплекта данных, который в данный момент представляет ход изменения измерительного сигнала внутри задаваемых интервалов времени,
при этом вычислительная и обрабатывающая схема
– на основании первого комплекта данных обнаруживает аномалию в измерительном сигнале, которая обусловлена по меньшей мере одним приложенным к измерительным электродам помеховым потенциалом,
– вычитает обнаруженную аномалию из сохраненного первого комплекта данных и создает свободный от обнаруженной аномалии второй комплект данных, и
– с помощью освобожденного от аномалии второго комплекта данных создает по меньшей мере один измерительный сигнал, который представляет физическую величину протекающей среды.
Согласно предпочтительному первому варианту выполнения способа, согласно изобретению, второй комплект данных содержит также первоначально содержащиеся в первом комплекте данных цифровые измерительные данные.
Согласно предпочтительному второму варианту выполнения способа, согласно изобретению, стадия обнаружения аномалии содержит стадию определения первого значения времени на основе первого комплекта данных, при этом значение времени представляет момент времени начала соответствующего помеховому потенциалу помехового напряжения.
Согласно предпочтительному третьему варианту выполнения способа, согласно изобретению, стадия определения первого значения времени содержит стадии сравнения цифровых данных первого комплекта данных с первым задаваемым пороговым значением и создания первой сравнительной величины, которая сигнализирует превышение порогового значения.
Согласно предпочтительному четвертому варианту выполнения способа, согласно изобретению, стадия обнаружения аномалии содержит стадию определения второго значения времени на основе первого комплекта данных, при этом значение времени представляет момент времени исчезновения помехового напряжения.
Согласно предпочтительному пятому варианту выполнения способа, согласно изобретению, стадия определения второго значения времени содержит стадии сравнения цифровых данных первого комплекта данных с задаваемым вторым пороговым значением и создания второй сравнительной величины, которая сигнализирует нахождение ниже второго порогового значения.
Согласно предпочтительному шестому варианту выполнения способа, согласно изобретению, стадия обнаружения аномалии содержит стадию определения амплитудного значения на основе первого комплекта данных, при этом амплитудное значение представляет, в частности, наибольшую по величине амплитуду измерительного сигнала внутри задаваемого интервала времени.
Согласно предпочтительному седьмому варианту выполнения способа, согласно изобретению, стадия обнаружения аномалии содержит стадию определения третьего значения времени на основе первого комплекта данных, при этом значение времени представляет момент времени появления, в частности, наибольшей по величине амплитуды измерительного сигнала внутри задаваемого интервала времени.
Согласно предпочтительному восьмому варианту выполнения способа, согласно изобретению, стадия обнаружения аномалии содержит стадию создания разницы времени между первым и вторым значениями времени для определения представляющего длительность появления помехового напряжения четвертого значения времени.
Согласно предпочтительному девятому варианту выполнения способа, согласно изобретению, стадия обнаружения аномалии содержит стадию сравнения амплитудного значения с задаваемым, в частности, во время работы изменяемым пороговым значением и создания третьей сравнительной величины, которая сигнализирует превышение третьего порогового значения.
Согласно предпочтительному десятому варианту выполнения способа, согласно изобретению, стадия создания освобожденного от помех второго комплекта данных содержит стадию определения среднего значения для индуцированного в протекающей среде напряжения с применением, в частности, уже оцифрованного измерительного сигнала.
Согласно предпочтительному одиннадцатому варианту выполнения способа, согласно изобретению, стадия создания освобожденного от помех второго комплекта данных содержит стадию определения среднего значения для индуцированного в протекающей среде напряжения с применением цифровых данных первого комплекта данных.
Согласно предпочтительному двенадцатому варианту выполнения способа, согласно изобретению, стадия создания освобожденного от помех второго комплекта данных содержит стадию определения среднего значения для индуцированного в протекающей среде напряжения с применением цифровых данных со значением времени, которое меньше первого значения времени.
Согласно предпочтительному тринадцатому варианту выполнения способа, согласно изобретению, стадия создания освобожденного от помех второго комплекта данных содержит стадию определения среднего значения для индуцированного в протекающей среде напряжения с применением цифровых данных со значением времени, которое больше первого значения времени.
Согласно предпочтительному четырнадцатому варианту выполнения способа, согласно изобретению, стадия создания освобожденного от помех второго комплекта данных содержит стадию создания аппроксимирующего ход изменения во времени помехового напряжения искусственного третьего комплекта цифровых данных с применением по меньшей мере части данных из группы данных, представляющих аномалию.
Согласно предпочтительному пятнадцатому варианту выполнения способа, согласно изобретению, стадия создания искусственного третьего комплекта данных содержит стадию определения по меньшей мере одной компенсационной функции для, по меньшей мере, одной части цифровых данных из представляющей аномалию группы данных.
Согласно предпочтительному шестнадцатому варианту выполнения способа, согласно изобретению, стадия создания искусственного третьего комплекта данных содержит стадию создания цифровых данных с применением значений данных из представляющей аномалию группы данных и с применением определяемой компенсационной функции.
Согласно предпочтительному семнадцатому варианту выполнения способа, согласно изобретению, стадия создания освобожденного от помех второго комплекта данных содержит стадию создания разности между одним из значений данных из представляющей аномалию группы данных и одним из значений данных из искусственного третьего комплекта данных, при этом оба применяемых для создания разницы значения данных связаны друг с другом, в частности, имеют одинаковые значения времени.
Согласно предпочтительному восемнадцатому варианту выполнения способа, согласно изобретению, стадия создания по меньшей мере одной компенсационной функции содержит стадию определения по меньшей мере одного коэффициента, в частности, постоянной времени для компенсационной функции с применением значений данных из представляющей аномалию группы данных.
Согласно предпочтительному девятнадцатому варианту выполнения способа, согласно изобретению, стадия создания по меньшей мере одной компенсационной функции содержит стадию определения по меньшей мере одного коэффициента, в частности, постоянной времени для компенсационной функции с применением среднего значения, определяемого в данный момент для индуцированного в протекающей среде напряжения.
Согласно предпочтительному двадцатому варианту выполнения способа, согласно изобретению, стадия определения коэффициента для компенсационной функции содержит стадии образования первой разницы между первым значением данных из представляющей аномалию группы данных и средним значением, определяемым в данный момент для индуцированного в протекающей среде напряжения, образования второй разницы между вторым значением данных из представляющей аномалию группы данных и средним значением, определяемым в данный момент для индуцированного в протекающей среде напряжения, и образования отношения первой и второй разницы.
Согласно предпочтительному двадцать первому варианту выполнения способа, согласно изобретению, стадия определения коэффициента для компенсационной функции содержит стадии создания последовательности цифровых коэффициентов из предварительных коэффициентов для компенсационной функции и цифровой, в частности, рекурсивной фильтрации последовательности коэффициентов.
Согласно предпочтительному двадцать второму варианту выполнения способа, согласно изобретению, стадия создания третьего комплекта данных содержит стадию определения по меньшей мере одной второй компенсационной функции для по меньшей мере второй части цифровых данных из представляющей аномалию группы данных.
Согласно предпочтительной модификации способа, согласно изобретению, система возбуждения содержит систему катушек для создания, в частности, пронизывающего также протекающую в измерительной трубе среду магнитного поля.
Согласно одному варианту выполнения этой модификации изобретения применяемая система датчиков содержит расположенные на измерительной трубе измерительные электроды, и способ содержит следующие дополнительные стадии:
– создания пронизывающего также текучую среду магнитного поля с помощью системы возбуждения,
– индуцирования напряжения в протекающей среде напряжения для изменения приложенных к измерительным электродам потенциалов, а также
– снятия с измерительных электродов приложенных потенциалов для создания по меньшей мере одного измерительного сигнала.
Основная идея изобретения состоит в том, чтобы обнаруживать в сильной мере изменяющиеся помеховые потенциалы по меньшей мере в одном измерительном сигнале на основе связанных с помеховыми потенциалами аномалий, в частности, непосредственно и в диапазоне времени или же в диапазоне сканирования, которые возникают по меньшей мере в одном создаваемом системой датчиков расходомера измерительном сигнале, соответственно, в производных от измерительного сигнала сохраняемых в цифровом виде комплектах данных. За счет вычитания соответствующим аномалиям цифровых данных и замены их вычисленными данными создаются практичные комплекты данных, которые состоят частично из первоначальных измерительных данных и частично из искусственных вычисленных данных.
При этом изобретение основано на неожиданном обнаружении того, что хотя помеховые потенциалы указанного вида могут быть распределены в высокой мере стохастически, однако подлежащие обнаружению аномалии в большинстве случаев имеют типичный ход изменения, соответственно, типичную форму, распознавание которой обеспечивает идентификацию таких помеховых потенциалов в производных от измерительного сигнала, сохраняемых в цифровом виде комплектах данных, а также очистку их с помощью манипуляции, в частности, нелинейной цифровой фильтрации цифровых данных с помеховыми потенциалами, при этом первоначально содержащаяся в измерительном сигнале информация о подлежащей измерению физической величине, с одной стороны, остается в значительной степени сохраненной и, с другой стороны, может очень быстро вызываться для определения измеряемой величины.
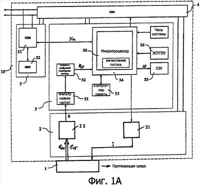
Ниже приводится подробное описание способа, согласно изобретению, и других преимуществ со ссылками на прилагаемые графики в зависимости от времени и блок-схему магнитно-индуктивного расходомера, на которых изображено:
фиг.1A, b – блок-схема пригодного для выполнения способа, согласно изобретению, устройства измерения процесса, в данном случае магнитно-индуктивного расходомера;
фиг.2а – график зависимости от времени тока возбуждения, протекающего при работе измерительного устройства, согласно фиг.1A, 1b;
фиг.2b, с – графики зависимости от времени потенциалов, измеряемых при
фиг.3а, b; работе измерительного устройства, согласно фиг.1A, 1b;
фиг.4а, b;
фиг.5а, b;
фиг.6а, b – сохраненные в цифровом виде графики потенциалов, измеряемых при работе измерительного устройства, согласно фиг.1A, 1b.
На фиг.1 показана блок-схема пригодного для выполнения способа, согласно изобретению, измерительного устройства управления процессом, в данном случае магнитно-индуктивного расходомера, с помощью которого можно создавать значения измерения для по меньшей мере одной физической величины, протекающей в трубопроводе (не изображен) среды, в частности, текучей среды. Расходомер можно применять, например, для измерения объемного расхода и/или скорости потока электрически проводящей жидкости.
Показанный расходомер содержит датчик 1 расхода для создания соответствующих подлежащей измерению физической величине измерительных потенциалов, обрабатывающую схему 2, которая служит для восприятия измерительных потенциалов и для создания по меньшей мере одного соответствующего физической величине измерительного сигнала, а также вычислительную схему 3, которая служит для управления обрабатывающей схемой 2 и тем самым также датчиком 1 расхода, а также для создания представляющих физическую величину измерительных значений с применением по меньшей мере одного измерительного сигнала. Обрабатывающая схема 2, а также при необходимости некоторые компоненты датчика 1 расхода могут быть расположены, как схематично показано на фиг.1а, в корпусе 1 для электронных блоков расходомера.
К датчику 1 расхода относится установленная в трубопровод измерительная труба 11. которая имеет стенку трубы и через которую во время работы пропускается в направлении продольной оси измерительной трубы подлежащая измерению текучая среда.
Для исключения короткого замыкания индуцированных в текучей среде напряжений, находящаяся в соприкосновении с текучей средой внутренняя часть измерительной трубы 11 выполнена не электропроводной. Для этого металлические измерительные трубы обычно снабжаются внутри неэлектропроводным слоем, например, из эбонита, полифторэтилена и т.д., а также неферромагнитным; при полностью из пластмассы или керамики, в частности, из керамики на основе оксида алюминия, состоящих измерительных трубах, не электропроводный слой не требуется.
Управляемая электронным блоком 21 возбуждения, предусмотренным в обрабатывающей схеме 2, система возбуждения расходомера имеет в показанном примере выполнения расположенную на измерительной трубе 11 первую катушку 12 возбуждения и расположенную на измерительной трубе 11 вторую катушку 13 возбуждения. Катушки 12, 13 возбуждения лежат на первом диаметре измерительной трубы 11. Система возбуждения служит во время работы для создания пронизывающего стенку трубы и протекающую среду магнитного поля Н. Оно возникает, когда через включенные в данном случае последовательно катушки 12, 13 возбуждения пропускают создаваемый электронным блоком 21 ток I возбуждения. При этом, в частности, биполярный ток I возбуждения может быть прямоугольным, треугольным или синусоидным.
Как показано на фиг.1b, катушки 12, 13 возбуждения не содержат сердечника, т.е. являются так называемыми воздушными катушками. Однако катушки 12, 13 могут быть, как это принято в таких системах возбуждения, намотаны вокруг сердечника, который является, в частности, магнитомягким, при этом сердечники могут взаимодействовать с полюсными наконечниками, смотри, например, US-A 5540103.
В показанном примере выполнения выполненная в виде действующей на текучую среду системы катушек система возбуждения выполнена так, что, в частности, обе катушки 12, 13 возбуждения имеют такую форму и размеры, что создаваемое ею магнитное поле Н внутри измерительной трубы 11 по меньшей мере относительно перпендикулярного первому диаметру второго диаметра является симметричным, в частности, вращательно симметричным.
Согласно одному варианту выполнения изобретения, с помощью электронного блока 21 возбуждения создается, в частности, регулируемый на неизменную амплитуду постоянный ток, который затем с помощью соответствующего переключательного устройства, например, с Н- или Т-образной конфигурацией, периодически переключается и тем самым преобразуется в переменный ток с регулируемой амплитудой. За счет этого ток I возбуждения проходит через систему катушек так, что через катушки 12, 13, как схематично показано на фиг.2а, во время первой фазы РН11 переключения протекает ток в первом направлении, а во время следующей за этой первой фазой переключения второй фазы РН12 переключения – в противоположном первому направлению тока направлении, смотри регулирование тока и переключение направления тока, например, также в US-A 4410926 или US-A 6031740.
За второй фазой РН12 переключения следует третья фаза РН21 переключения, во время которой ток I возбуждения проходит снова в первом направлении тока. За третьей фазой РН21 переключения следует четвертая фаза РН22 переключения, во время которой ток I возбуждения проходит снова в противоположном направлении. Затем следует соответствующая фаза РН31 переключения и т.д. Относительно изменения направления тока I возбуждения на противоположное две следующие друг за другом фазы переключения образуют период P1, P2, Р3 и т.д. переключения. В соответствии с изменением направления протекающего через систему возбуждения тока I возбуждения, не учитывая неизбежного смещения фазы переключения, происходит также по существу синхронно изменение полярности магнитного поля Н, как показано на фиг.2а.
Для создания по меньшей мере одного соответствующего измеряемой величине электрического измерительного сигнала предусмотрена расположенная на измерительной трубе или по меньшей мере вблизи нее система чувствительных элементов измерительного датчика. Согласно одному варианту выполнения изобретения, система чувствительных элементов имеет расположенные практически непосредственно на измерительной трубе электроды. При этом первый электрод 14, расположенный на внутренней стороне стенки измерительной трубы 11, служит для съема индуцированного магнитным полем Н первого потенциала е14. Второй электрод 15, расположенный так же, служит для съема индуцированного магнитным полем Н второго потенциала e15. Измерительные электроды 14, 15 лежат на перпендикулярном первому диаметру и продольной оси измерительной трубы втором диаметре измерительной трубы 11, однако они могут также лежать на параллельной второму диаметру хорде измерительной трубы 11, смотри, например, US-A 5646353.
На фиг.1b измерительные электроды 14, 15 показаны в виде гальванических измерительных электродов, т.е. которые приходят в соприкосновение с текучей средой. Однако можно использовать также два емкостных, например, расположенных внутри стенки измерительной трубы 11, измерительных электрода. Каждый из измерительных электродов 14, 15 снимает электрический потенциал е14, e15, который при работе индуцируется в протекающей среде на основе закона Фарадея.
Как показано на фиг.1b, измерительные электроды 14, 15 при работе, по меньшей мере временно, соединяются с инвертирующим или неинвертирующим входом дифференциального усилителя 22. За счет этого образуется служащая в качестве измерительного сигнала и разница снимаемых измерительными электродами 14, 15 потенциалов е14, e15, которая соответствует создаваемому в протекающей среде напряжению и тем самым подлежащей измерению физической величине. Лежащие на измерительных электродах потенциалы е14, e15 лежат обычно в диапазоне от 10 мВ до 100 мВ.
Лежащий в показанном примере выполнения на выходе дифференциального усилителя 22 измерительный сигнал и подается, как показано на фиг.1а, 1b, в предусмотренную в расходомере вычислительную схему 3. Согласно изобретению, вычислительная схема 3 служит, в частности, для перевода подаваемого измерительного сигнала и в цифровую форму и сохранения по частям в виде первого комплекта DS1 данных, так что для определения измеряемого значения ХМ имеется в распоряжении информация о ходе изменения во времени участка измерительного сигнала и в цифровом виде.
Для этого измерительный сигнал и вычислительной схемы 3, как показано на фиг.1а, подают в показанном примере в фильтр 31 низких частот задаваемого порядка фильтрации, например, активный или активный RC-фильтр, и регулируемой граничной частоты. Фильтр 31 низких частот служит для ограничения полосы измерительного сигнала и для исключения вызванных наложением помех и тем самым для соответствующей подготовки для оцифровывания. Для этого граничную частоту устанавливают в соответствии с известной теоремой отсчетов Найквиста на менее 0,5 частоты считывания, с которой считывается пропускаемая часть измерительного сигнала u. В случае, когда измерительный сигнал u был уже ограничен по полосе, можно отказаться от фильтра 31 низких частот.
Со стороны выхода фильтр 31 низких частот соединен с сигнальным входом аналого-цифрового преобразователя 32 вычислительной схемы 3, который служит для преобразования подаваемого через фильтр 32 низких частот измерительного сигнала u в представляющий его цифровой измерительный сигнал uD. В качестве аналого-цифрового преобразователя 32 можно применять известные для специалистов в данной области техники, например, последовательные или параллельные аналого-цифровые преобразователи, которые используют в качестве тактовой частоты указанную выше частоту считывания. Подходящим типом аналого-цифрового преобразователя является, например, Delta-sigma A/D Converter ADS 1252 фирмы Texas Instruments Inc. с разрешением 24 бит и допустимой частотой считывания менее 40 кГц, при этом для реализации способа, согласно изобретению, вполне достаточны частоты считывания менее 10 кГц.
В случае, когда применяемый аналого-цифровой преобразователь 32, такой как, например, указанный выше ADS 1252, предусмотрен для преобразования исключительно положительных значений сигналов, следует устанавливать опорное напряжение аналого-цифрового преобразователя 32 так, чтобы ожидаемое минимальное значение сигнала на входе преобразователя приводило к созданию по меньшей мере одного бита, в частности, самого старшего значащего бита (MSB) измерительного сигнала uD. Другими словами, к выходному сигналу фильтра 32 низких частот следует добавить такую постоянную составляющую, чтобы он воздействовал на аналого-цифровой преобразователь 32 практически как непрерывный сигнал с изменяемой амплитудой.
С выхода аналого-цифрового преобразователя 32 цифровой измерительный сигнал uD подается, например, через внутреннюю шину передачи данных сегментами в оперативную память 33 вычислительной схемы 3 и удерживается в ней в виде представляющей в данный момент измерительный сигнал и конечной последовательности считывания AF в виде комплекта цифровых сохраненных измерительных данных для, в частности, цифрового вычислительного блока 34 расхода вычислительной схемы 3. В качестве памяти 33 могут служить, например, статические и/или динамические устройства записи и считывания.
Ширина мгновенного окна считывания, т.е. длительность во времени подлежащей сохранению, представляющей в данный момент измерительный сигнал u части последовательности считывания AF может находиться, например, в диапазоне общей длительности периодов P1, P2 переключения, с которыми тактируется ток I возбуждения, или же в диапазоне длительности одной из фаз РН11, РН12, РН21, РН22 переключения, при этом тактовая частота, с которой считывается память 33 имеет по существу одинаковую фазу с тактовой частотой тока возбуждения. Обычно длительность тактов для обычных расходомеров указанного типа находится примерно в диапазоне от 10 до 100 мс, что в свою очередь при частоте считывания fa аналого-цифрового преобразователя 3210 кГц соответствует числу выборок от 100 до 1000, то есть 1000 сохраненных значений считывания последовательности считывания AF, соответственно, первого комплекта данных.
При необходимости, например, вследствие небольшой емкости памяти 33 или для раннего удаления обусловленных переключением направления поля переходных составляющих напряжения, можно считывать также лишь часть создаваемого в каждой фазе переключения измерительного сигнала u или скорее цифрового измерительного сигнала uD в память 33. Для пояснения этого, указанные фазы РН11, РН12, РН21, РН22, РН31 разделены на соответствующую, служащую созданию магнитного поля первую часть периода T111, Т121, Т211, Т221, Т311 и соответствующую, служащую в качестве измерительной фазы вторую часть периода Т112, Т122, Т212, Т222, Т312, как показано на фиг.2а, 2b и 2с. В этом варианте выполнения изобретения предпочтительно отображается виртуально в памяти 33 лишь ход измерительного сигнала и, соответствующий части периода Т112, Т122, Т212, Т222 или Т312, при этом оценка измерительных данных и создание значения измерения можно выполнять во время следующей фазы Т121, Т211, Т221, Т311 создания магнитного поля.
Для создания измерительного значения хм из последовательности AF считывания, вычислительное устройство 34 расхода имеет, например, через внутреннюю шину передачи данных, по меньшей мере временно доступ, в частности, с возможностью считывания данных в память 33 и к хранящимся там комплектам данных. Вычислительное устройство 34 расхода может быть предпочтительно реализовано с помощью микропроцессора 30 и выполняемых в нем программ вычисления.
Кроме того, согласно предпочтительному варианту выполнения изобретения, вычислительная схема 3 содержит выполненный в виде отдельной частичной схемы контроллер 35 памяти, который связан с микропроцессором 30, например, через внутреннюю шину передачи данных и служит для управления памятью 33, в частности, выборкой цифрового измерительного сигнала uD и созданием последовательности AF считывания, и тем самым для разгрузки микропроцессора 30. Контроллер 35 памяти предпочтительно реализован в программируемой функциональной памяти, например, PAL (программируемая матричная логика) или FPGA (вентильная матрица, программируемая пользователем). Однако, при необходимости, контроллер 35 памяти может быть реализован также с помощью микропроцессора 30 или же с помощью дополнительного микропроцессора (не изображен) и выполняемых в нем программ вычисления. С помощью контроллера 35 памяти можно, например, также реализовать обычное для таких расходомеров образование среднего значения или усредненного значения для нескольких последовательностей считывания.
Как уже несколько раз указывалось выше, измерительный сигнал и вследствие возникающих на измерительных электродах 14, 15 помеховых сигналов Е112, Е122, Е222, Е312 значительно искажаться, как показано на фиг.2b, 2с. Дополнительно к этому для пояснения на фиг.3а, 3b показаны снятый в течение около 10 с ход изменения потенциалов e14, е15, на которые временно накладываются помеховые потенциалы, при этом имеющая помехи область снятого хода изменения потенциала e14, e15 еще раз показана на фиг.4а, 4b в другом масштабе времени; для сравнения на фиг.5а, 5b еще раз показаны области, практически не имеющие помех, хода изменения потенциалов e14, e15.
Исследование хода изменения во времени таких помеховых потенциалов показали, что, как следует из фиг.3а, 3b, хотя, например, их амплитуды или моменты времени их появления невозможно определять заранее, однако можно по меньшей мере для множества помеховых потенциалов постулировать типичный ход изменения амплитуды и учитывать в качестве априорной информации при оценке измерительных сигналов u и определении измеренных значений. А именно было неожиданным образом установлено, что помеховые сигналы равномерно проявляются в ходе изменения во времени измерительного сигнала u в виде характерных, по меньшей мере качественно заранее определяемых по ходу их изменения аномалий. Кроме того, было установлено, что эти аномалии можно надежно обнаруживать при работе внутри последовательности AF считывания или скорее на основании производного от нее действительного комплекта DS1 данных, и за счет сравнительно очень небольшой потери информации удалять из комплекта данных.
В соответствии с этим, в способе, согласно изобретению, обнаруживают аномалию в ходе изменения во времени измерительного сигнала u, которая по меньшей мере частично обусловлена приложенным по меньшей мере к одному из измерительных электродов 14, 15 помеховым потенциалом, за счет того, что как показано на фиг.6а, определяют группу DSА данных внутри сохраненного первого комплекта DS1 данных, которая в цифровом виде представляет аномалию. Кроме того, для создания освобожденного от помех второго комплекта DS2 данных обнаруженную аномалию вычитают из сохраненного первого комплекта DS1 данных, при этом свободный от помех второй комплект DS2 данных применяют для определения измеренного значения ХМ, представляющего подлежащую измерению физическую величину протекающей среды.
Согласно одному варианту выполнения способа, согласно изобретению, предусмотрено, что для создания свободного от помех комплекта DS2 данных определяют среднее значение U индуцированного в протекающей среде напряжения с применением области измерительного сигнала u или уже оцифрованного измерительного сигнала uD, и сохраняют в памяти 33 для дальнейших вычислений. Определение среднего значения U можно предпочтительно выполнять с применением текущего сохраненного комплекта DS1 данных и/или с применением выведенного из измерительного сигнала u во время предыдущей фазы переключения, предпочтительно непосредственно предшествующей фазы переключения или предыдущей фазы переключения с одинаковым направлением тока, и промежуточно сохраненного комплекта данных. При этом для образования среднего значения U применяют предпочтительно такие данные, которые не принадлежат к представляющей аномалию группе DSA данных и которые поэтому можно рассматривать по существу как не имеющие помех.
С применением среднего значения U можно, например, за счет простого стирания отдельных данных представляющей аномалию группы DSA данных из текущего сохраненного комплекта DS1 данных и подстановки текущего среднего значения U в «освободившиеся» места комплекта DS1 данных, простым образом выполнять уже очень эффективное освобождение от помех комплекта DS1 данных. Однако при этом при сильно изменяющемся расходе может теряться значительная часть измеряемой информации.
На основании понимания того, что большинство помеховых потенциалов имеют качественно по существу сравнимый ход изменения и тем самым поддаются заранее по меньшей мере качественному определению или по меньшей мере хорошей оценке, согласно одной модификации способа, согласно изобретению, создают освобожденный от помех второй комплект DS2 данных, как показано на фиг.6b, с применением аппроксимирующего ход изменения во времени помехового напряжения третьего комплекта DSK искусственно образованных цифровых данных. Эти данные во время работы вычисляются с помощью вычислительной схемы 3 на основании по меньшей мере части данных из обнаруженной перед этим, представляющей аномалию группы DSA данных, и при необходимости снова промежуточно сохраняются в памяти 33.
Затем можно создавать свободный от помех второй комплект DS2 данных предпочтительно за счет того, что сначала из представляющей аномалию группы DSA данных и из третьего комплекта DSK данных выбирают значение х данных, при этом оба выбранных значения х данных имеют связанные друг с другом, в частности, одинаковые значения i времени, и что образуют в цифровом виде разницу обоих в данный момент выбранных значений х данных. Это повторяют так часто, пока не будут использованы все значения х данных из представляющей аномалию группы DSA данных. Таким образом, практически вычитается аппроксимированный по своему ходу изменения, в частности, по своей высоте и своей длительности помеховый потенциал из измерительного сигнала и, за счет чего, при предположении, что превышающее аппроксимированный ход изменения помехового сигнала напряжение по существу является собственно представляющим интерес измерительным напряжением, практически остается лишь соответствующая физической величине часть измерительного сигнала в комплекте DS2 данных.
Для создания искусственного комплекта DSK данных, согласно одной модификации изобретения, определяют при работе с помощью вычислительной схемы 3 по меньшей мере одну компенсационную функцию для по меньшей мере одной части цифровых данных из представляющей аномалию группы DSA данных, и с применением компенсационной функции определяют искусственный комплект DSK данных. Согласно одному варианту выполнения этой модификации изобретения, для определения по меньшей мере одной компенсационной функции дополнительно предусмотрено определение по меньшей мере одного, но предпочтительно двух или более коэффициентов T1 для компенсационной функции с применением значений х данных из представляющей аномалию группы DSA данных.
Для определения компенсационной функции, в частности, коэффициентов T1 для компенсационной функции, можно, например, ввести в программу вычислительной схемы 3 основанный на принципе Гаусса наименьших средних квадратических отклонений погрешности алгоритм, и с помощью этого алгоритма обработать находящуюся в данное время в памяти 33 группу DSA данных.
По сравнению с указанным ранее вариантом выполнения, в котором применяют лишь текущее среднее значение U в качестве замены данных из представляющей аномалию группы DSA данных, можно при применении подходящей компенсационной функции, в частности, при применении созданного таким образом освобожденного от помех комплекта DS2 данных для измерения расхода, достигать по меньшей мере уменьшения в два раза и тем самым значительного уменьшения погрешности измерения.
Кроме того, исследования репрезентативных случаев применения показали, что наиболее часто возникающая форма изменения помеховых потенциалов описанного вида очень похожа на форму коротких иглообразных импульсов напряжения. При этом помеховые потенциалы имеют в большинстве случаев относительно крутой фронт нарастания, за которым следует по существу экспоненциально падающий фронт. На основе этого, соответственно, другого варианта выполнения указанной выше модификации изобретения, для определения по меньшей мере одной компенсационной функции предусмотрено определение по меньшей мере одного коэффициента в качестве постоянной времени экспоненциально падающей компенсационной функции, например, падающей е-функции первого или более высокого порядка.
Согласно другому варианту выполнения изобретения, для этого сначала создают предварительные коэффициенты, в частности, последовательность предварительных коэффициентов, для компенсационной функции, например, с применением повторяемого последовательного применения указанного правила вычисления для различных пар данных из представляющей аномалию группы DSA данных. Согласно одной модификации, полученные предварительные коэффициенты, например, по отдельности, непосредственно после вычисления или же после вычисления всей последовательности коэффициентов подвергают цифровой фильтрации.
Исследования показали, что, в частности, при применении рекурсивного цифрового фильтра к последовательности коэффициентов даже при низком порядке фильтра можно получать хорошие, в частности, устойчивые и даже при большом спектре возникающих помеховых потенциалов хорошо репродуцируемые результаты измерений. Согласно одному предпочтительному варианту выполнения, последовательность предварительных коэффициентов можно определять в соответствии со следующим алгоритмом вычисления:

где T^ n – вычисленный в выполняемой в данный момент стадии вычисления предварительный коэффициент для компенсационной функции;
T^ n-1 – вычисленный в выполняемой перед этим стадии вычисления предварительный коэффициент для компенсационной функции;
Тn – вычисленное заранее для выполняемой в данный момент стадии вычисления промежуточное значение и
, (1- ) – заранее определенные коэффициенты фильтрации для цифрового фильтра, при этом 0< <1.
При этом можно сохранять предварительно вычисленные коэффициенты как по отдельности, так и водить в память 33 только текущий и предыдущий коэффициенты. Этот алгоритм вычисления затем применяют до выполнения заданного количества, например, равного количеству данных в представляющей аномалию группе DSA данных, циклов вычисления и/или до выполнения заранее выбранного критерия прекращения, например, достаточно малого изменения между последними вычисленными предварительными коэффициентами. В этом случае последний вычисленный коэффициент соответствует искомому для компенсационной функции коэффициенту T1.
В случае, когда помеховый потенциал в течение длительного времени и тем самым в течение нескольких фаз измерения находится на измерительных электродах, вычисление коэффициентов выполняют с применением соответствующего коэффициента, определяемого в непосредственно предшествующей фазе измерения, при этом этот прежний коэффициент может служить, например, в качестве текущего предварительного коэффициента T^ n-1.
Согласно другому варианту выполнения способа, согласно изобретению, предусмотрено для создания по меньшей мере одной компенсационной функции вычисление коэффициента или коэффициентов для компенсационной функции с применением определяемого в данный момент среднего значения U индуцированного в протекающей среде напряжения. Это можно предпочтительно выполнять в цифровом виде уже при определении промежуточных значений для предварительных коэффициентов на основе следующего алгоритма вычисления:

где
xi1, xi2 – первое и второе значение данных из представляющей аномалию группы SDA данных и
i1, i2 – их связанные с соответствующим значением времени показатели.
В соответствии с уравнением (2) в этом варианте выполнения способа определяют первую разницу между первым значением данных хi1 из представляющей аномалию группы DSA данных и определяемым в данный момент средним значением U индуцированного в протекающей среде напряжения, и вторую разницу между вторым значением данных хi2 из представляющей аномалию группы DSA данных и определяемым в данный момент средним значением U индуцированного в протекающей среде напряжения. Из определяемого отношения первой и второй разницы затем определяют в цифровом виде натуральный логарифм, с помощью которого нормируют образованную ранее разницу между значениями времени, соответственно показателями i1, i2.
Для обнаружения аномалии определяют, согласно другому варианту выполнения изобретения, на основании первого комплекта DS1 данных первое значение ts времени, которое представляет момент времени возникновения помехового напряжения. Для этого можно цифровые данные первого комплекта DS1 данных сравнивать, например, с задаваемым, в частности, изменяемым при работе первым пороговым значением THs и создавать соответствующее первое сравнительное значение, которое сигнализирует превышение первого порогового значения THs. Первое значение ts времени можно вычислять как ts=is/fa, где is является показателем первого определяемого значения данных, которое первым превышает пороговое значение. Кроме того, для обнаружения аномалии определяют на основании первого комплекта DS1 данных второе значение te времени, например, на основании te=ie/fa, которое представляет момент времени исчезновения помехового напряжения. Для этого можно аналогичным образом цифровые данные первого комплекта DS1 данных сравнивать, например, с задаваемым, в частности изменяемым при работе вторым пороговым значением ТНе и создавать соответствующее второе сравнительное значение, которое сигнализирует нахождение ниже второго порогового значения ТНе. Следует отметить, что указанные сравнения относятся собственно к величине измерительного сигнала u. В случае, когда необходимо выполнять эти сравнения с учетом знака измерительного сигнала и, то необходимо соответственно устанавливать пороговые значения THs, ТНе для отрицательных напряжений.
На основании предположения, что расход между следующими друг за другом фазами Т112 и Т122 измерения по физическим или технологическим причинам может изменяться лишь в относительно небольшой степени, в другом варианте выполнения изобретения определяют при работе по меньшей мере одно пороговое значение THs, ТНе, и согласовывают с протекающей в данный момент в измерительной трубе 11 средой, в частности, с определяемым для более ранней фазы переключения значением расхода. Пороговое значение, например, THs или ТНе можно предпочтительно образовывать с применением определяемого в более ранней, в частности, непосредственно предшествующей или последней свободной от помех фазе измерения среднего значения U измерительного сигнала u. Особенно просто это можно реализовать, например, за счет того, что пороговое значение при работе повышают на величину, которая соответствует максимально ожидаемому повышению значения измерения внутри прошедшего времени, или на соответствующую процентную долю.
Кроме того, в соответствии с другим вариантом выполнения способа, согласно изобретению, аномалию обнаруживают за счет того, что на основании первого комплекта DS1 данных определяют по меньшей мере одно значение амплитуды и одно соответствующее третье значение времени, при этом значение амплитуды представляет, в частности, наибольшую по величине амплитуду измерительного сигнала внутри задаваемого интервала времени. Дополнительно к этому, для обнаружения аномалии предусмотрено сравнение нескольких или всех данных первого комплекта DS1 данных или же лишь данные значения амплитуды с задаваемым, в частности, изменяемым при работе третьим пороговым значением ТНа. При этом это пороговое значение выбирают выше первого порогового значения THs, и оно определяет определяемую заранее минимальную амплитуду для подлежащего обнаружению в качестве аномалии превышения напряжения. Кроме того, образуют соответствующее третье сравнительное значение, которое сигнализирует превышение порогового значения ТНа.
Согласно другому варианту выполнения изобретения, для обнаружения аномалии цифровые данные первого комплекта DS1 данных сравнивают с задаваемым третьим пороговым значением ТНа и создают соответствующим образом третье сравнительное значение, которое сигнализирует превышение порогового значения ТНа.
Согласно другому варианту выполнения изобретения, для обнаружения аномалии дополнительно образуют разницу времени te-ts между ранее определяемым, представляющим появление помехового напряжения первым значением времени ts и представляющим исчезновение помехового напряжения значением времени te в качестве четвертого значения времени, которое представляет длительность появления помехового напряжения. Затем это четвертое значение времени можно сравнивать снова с соответствующим четвертым пороговым значением, которое представляет задаваемую минимальную длительность импульса напряжения, который можно рассматривать в качестве подлежащей удалению аномалии.
Затем можно при не полностью помеховом первом комплекте DS1 данных выполнять вычисление среднего значения U для индуцированного в протекающей среде напряжения с применением цифровых измерительных данных комплекта DS1 данных, которым соответствует значение времени, которое меньше ранее определяемого первого значения времени ts, и/или цифровых измерительных данных комплекта DS1 данных со значением времени, которое больше второго значения времени te.
Кроме того, можно наряду с указанной компенсационной функцией определять в работе вторую компенсационную функцию для по меньшей мере второй части цифровых данных из представляющей аномалию группы DSA данных, например, простую скорость нарастания для нарастающего фронта импульса помехового напряжения, и создавать данные искусственного комплекта DSK данных также с применением этой второй компенсационной функции.
После создания освобожденного от помех комплекта DS2 данных можно с помощью вычислительной схемы 3 обычным образом, как например, описано также в US-А 4382387, US-A 4422337 или US-A 4704908 применительно к величине измерения расхода, вычислять значение измерения, представляющее, соответственно, подлежащую измерению физическую величину. Определение, например, расхода основывается, как указывалось выше, на оценке зависящего от мгновенного расхода хода изменения амплитуды снимаемого между обоими измерительными электродами 14, 15 напряжения, которое затем можно обычным образом очень точно определять с помощью сохраняемого в памяти 33 освобожденного от помех комплекта DS2 данных. Также можно применять текущий освобожденный от помех комплект DS2 данных, соответственно, несколько таких сохраняемых комплектов данных для определения других представляющих интерес физических величин, например, вязкости текучей среды, показателя текучести, степени турбулентности потока или т.п.
Следует отметить, что вместо единственного дифференциального усилителя, служащего для создания аналогового разностного сигнала, для измерительных электродов 14, 15 можно, естественно, применять для каждого измерительного электрода 14, 15 соответствующий отдельный усилитель сигналов. В соответствии с этим, можно, например, разницу обоих снимаемых измерительными электродами потенциалов е14, е15 вычислять в цифровом виде на основе двух отдельных оцифрованных измерительных сигналов. Способ вычисления, необходимый как для создания освобожденного от помех комплекта DS2 данных, а также для определения измеряемых значений ХM на основе освобожденного от помех комплекта DS2 данных, можно реализовать известным для специалистов в данной области техники образом, например, в виде выполняемой в микропроцессоре 30 программы вычисления. Необходимые для этого программные коды можно реализовать, в частности, в постоянной памяти 36 вычислительной схемы 3, например, в программируемом постоянном запоминающем устройстве (ППЗУ), флэш-ППЗУ или электронно-перепрограммируемом ПЗУ, из которого микропроцессор 30 во время работы считывает данные.
Согласно предпочтительному варианту выполнения изобретения, предусмотрена реализация микропроцессора 30 с помощью цифрового процессора сигналов, например, типа TMS 320 С 33 фирмы Texas Instruments, Inc. При необходимости, в управляющем блоке 3 может быть наряду с микропроцессором 30 предусмотрен также дополнительный процессор сигналов.
Расходомер может быть, например, подключен к полевой шине (не изображена) и тем самым соединен с удаленным контрольно-измерительным пунктом и с внешним источником энергии, который питает расходомер через внутренний блок 4 электропитания. Для передачи данных измерительного устройства, в частности также величины измерения расхода в полевую шину, расходомер дополнительно содержит блок 5 связи с соответствующими интерфейсами 51. Кроме того, блок 5 связи может иметь также соответствующий блок 52 индикации и управления для обеспечения обнаружения данных измерительного устройства и/или регулирования на месте расходомера.
Преимущество изобретения можно видеть, среди прочего, также в том, что определение значений измерения с применением текущего первого комплекта DS1 данных, в частности, при отказе также от требующего больших затрат спектрального анализа последовательности AF считывания или первого комплекта данных в диапазоне частот, происходит сравнительно в реальном времени, даже когда применяемый комплект данных полностью или частично несет помехи. Это можно обеспечивать даже для помех измерительного сигнала u, которые присутствуют в течение двух или нескольких фаз измерения. Дополнительно к этому, способ, согласно изобретению, имеет наряду с очень небольшим временем вычисления относительно сравнительных по действию цифровых фильтров соответствующего более высокого порядка значительно более высокую разрешающую способность относительно помех указанного типа. Можно также достигать, в частности, очень хороший результат для помехового напряжения указанного вначале второго вида или для жидкостей с высокой вязкостью, как, например, пульпы. Дополнительное преимущество изобретения состоит также в том, что для реализации способа можно применять как обычные датчики расхода, так и обычные обрабатывающие схемы. Даже обычные обрабатывающие схемы можно при соответствующей модификации осуществляемого программного обеспечения по существу применять дальше. Кроме того, преимущество способа, согласно изобретению, состоит в том, что его можно применять также для других измерительных устройств, отличных от показанных в примере выполнения. Например, способ можно с большим преимуществом применять также в расходомерах, работающих с помощью ультразвуковых датчиков или с помощью вибрирующих при работе измерительных труб.
Формула изобретения
1. Способ работы устройства измерения, по меньшей мере, одной физической величины потока среды процесса, в частности, магнитно-индуктивного расходомера с датчиком, содержащим измерительную трубу (11), установленную в магистраль, через которую протекает, в частности, текучая среда, при этом способ содержит следующие стадии:
пропускания потока среды через измерительную трубу (11),
пропускания электрического, в частности, биполярного тока (I) возбуждения через обрабатывающую схему (2) расходомера для возбуждения расположенной на измерительной трубе (11) и воздействующей на нее и/или на протекающую через нее среду системы (12, 13) возбуждения,
создания по меньшей мере одного соответствующего физической величине измерения электрического измерительного сигнала (u) с помощью расположенного на измерительной трубе (11) измерительного датчика (14, 15),
оцифровывания измерительного сигнала (u) или по меньшей мере его части для создания цифровой последовательности считывания (AF), которая представляет изменение во времени измерительного сигнала (u),
запоминания по меньшей мере части цифровой последовательности считывания (AF) для создания первого комплекта (DS1) данных, который в данный момент представляет изменение во времени измерительного сигнала (u) внутри задаваемого интервала времени, а также
обнаружения аномалии в ходе изменения во времени измерительного сигнала, которая вызвана, по меньшей мере, одним содержащимся в измерительном сигнале импульсным помеховым потенциалом, обусловленным частицами постороннего вещества или воздушными пузырьками, посредством обнаружения группы (DSA) данных внутри сохраненного первого комплекта (DS1) данных, который представляет в цифровом виде аномалию, а также
выделения принадлежащих к группе (DSA) данных из сохраненного первого комплекта данных для создания свободного от помех второго комплекта (DS2) данных и
определения представляющего величину протекающей среды измерительного значения (Хм) с применением второго комплекта (DS2) данных.
2. Способ по п.1, характеризующийся тем, что второй комплект (DS2) данных содержит также первоначально содержащиеся в первом комплекте (DS1) данных цифровые измерительные данные.
3. Способ по п.1, характеризующийся тем, что стадия обнаружения аномалии содержит стадию определения первой величины (ts) времени на основе первого комплекта (DS1) данных, при этом величина (ts) времени представляет момент времени появления соответствующего помеховому потенциалу помехового напряжения.
4. Способ по п.3, характеризующийся тем, что стадия определения первого значения (ts) времени содержит стадии сравнения цифровых данных первого комплекта (DS1) данных с первым задаваемым пороговым значением (THS) и создания первой сравнительной величины, которая сигнализирует превышение первого порогового значения (THS).
5. Способ по п.3, характеризующийся тем, что стадия обнаружения аномалии содержит стадию определения второго значения (te) времени на основе первого комплекта (DS1) данных, при этом значение (te) времени представляет момент времени исчезновения помехового напряжения.
6. Способ по п.5, характеризующийся тем, что стадия определения второго значения (te) времени содержит стадии сравнения цифровых данных первого комплекта (DS1) данных с задаваемым вторым пороговым значением (ТНе) и создания второй сравнительной величины, которая сигнализирует нахождение ниже второго порогового значения (ТНе).
7. Способ по одному из пп.1-3, характеризующийся тем, что стадия обнаружения аномалии содержит стадию определения амплитудного значения на основе первого комплекта (DS1) данных, при этом амплитудное значение представляет, в частности, наибольшую по величине амплитуду измерительного сигнала (u) внутри задаваемого интервала времени.
8. Способ по п.7, характеризующийся тем, что стадия обнаружения аномалии содержит стадию определения третьего значения времени на основе первого комплекта данных, при этом значение времени представляет момент времени появления, в частности, наибольшей по величине амплитуды измерительного сигнала внутри задаваемого интервала времени.
9. Способ по п.6, характеризующийся тем, что стадия обнаружения аномалии содержит стадии сравнения амплитудного значения с задаваемым, в частности, во время работы изменяемым третьим пороговым значением (ТНа) и создания третьего сравнительного значения, которое сигнализирует превышение третьего порогового значения (ТНа).
10. Способ по одному из пп.2 и 4, характеризующийся тем, что стадия обнаружения аномалии содержит стадию создания разницы времени (te-ts) между первым и вторым значением времени (ts, te) для определения представляющего длительность появления помехового напряжения четвертого значения времени.
11. Способ по одному из пп.1-3, характеризующийся тем, что стадия создания освобожденного от помех второго комплекта (DS2) данных содержит стадию определения среднего значения (U) для индуцированного в протекающей среде напряжения с применением, в частности, уже оцифрованного измерительного сигнала (u).
12. Способ по одному из пп.1-3, характеризующийся тем, что стадия создания освобожденного от помех второго комплекта (DS2) данных содержит стадию определения среднего значения (U) для индуцированного в протекающей среде напряжения с применением цифровых данных первого комплекта (DS1) данных.
13. Способ по одному из пп.1-3, характеризующийся тем, что стадия создания освобожденного от помех второго комплекта данных содержит стадию создания аппроксимирующего ход изменения во времени помехового напряжения искусственного третьего комплекта (DSK) цифровых данных с применением по меньшей мере части данных из представляющей аномалию группы (DSA) данных.
14. Способ по п.13, характеризующийся тем, что стадия создания искусственного третьего комплекта (DSK) данных содержит стадию определения по меньшей мере одной компенсационной функции для по меньшей мере одной части цифровых данных из представляющей аномалию группы (DSA) данных.
15. Способ по п.14, характеризующийся тем, что стадия создания искусственного третьего комплекта (DSK) данных содержит стадию создания цифровых данных с применением значений данных из представляющей аномалию группы (DSA) данных и с применением определяемой компенсационной функции.
16. Способ по п.13, характеризующийся тем, что стадия создания второго комплекта (DS2) данных содержит стадию создания разности между одним из значений данных из представляющей аномалию группы (DSA) данных и одним из значений данных из искусственного третьего комплекта (DSK) данных, при этом оба применяемых для создания разницы значения данных связаны друг с другом, в частности, имеют одинаковые значения времени.
17. Способ по п.14, характеризующийся тем, что стадия создания по меньшей мере одной компенсационной функции содержит стадию определения по меньшей мере одного коэффициента (T1), в частности, постоянной времени для компенсационной функции с применением значений данных из представляющей аномалию группы (DSA) данных.
18. Способ по п.14, характеризующийся тем, что стадия создания по меньшей мере одной компенсационной функции содержит стадию определения по меньшей мере одного коэффициента (T1), в частности, постоянной времени для компенсационной функции с применением среднего значения (U) определяемого в данный момент индуцированного в протекающей среде напряжения.
19. Способ по п.18, характеризующийся тем, что стадия определения коэффициента (T1) для компенсационной функции содержит стадии
образования первой разницы между первым значением данных из представляющей аномалию группы (DSA) данных и средним значением (U) определяемого в данный момент индуцированного в протекающей среде напряжения,
образования второй разницы между вторым значением данных из представляющей аномалию группы (DSA) данных и средним значением (U) определяемого в данный момент индуцированного в протекающей среде напряжения, и
образования отношения первой и второй разницы.
20. Способ по п.14, характеризующийся тем, что стадия определения коэффициента для компенсационной функции содержит стадии
создания последовательности цифровых коэффициентов (Тn) из предварительных коэффициентов для компенсационной функции и
цифровой, в частности, рекурсивной фильтрации последовательности коэффициентов (Тn).
21. Способ по п.13, характеризующийся тем, что стадия создания третьего комплекта (DSK) данных содержит стадию определения по меньшей мере одной второй компенсационной функции для по меньшей мере второй части цифровых данных из представляющей аномалию группы (DSA) данных.
22. Способ по одному из пп.1-3, характеризующийся тем, что система (12, 13) возбуждения содержит систему катушек для создания, в частности, пронизывающего также протекающую в измерительной трубе среду магнитного поля (Н).
23. Способ по п.22, характеризующийся тем, что измерительный датчик (14, 15) содержит расположенные на измерительной трубе (11) измерительные электроды и способ содержит следующие дополнительные стадии:
создания пронизывающего также протекающую в измерительной трубе (11) среду магнитного поля (Н) с помощью системы (12, 13) возбуждения,
индуцирования напряжения в протекающей среде для изменения приложенных к измерительным электродам потенциалов (e14, e15), a также
снятие с измерительных электродов приложенных потенциалов (e14,e15) для создания по меньшей мере одного измерительного сигнала (u).
24. Способ по одному из пп.1 и 2, характеризующийся тем, что стадия обнаружения аномалии содержит стадию определения второго значения (te) времени на основе первого комплекта (DS1) данных, при этом значение (te) времени представляет момент времени исчезновения помехового напряжения.
25. Магнитно-индуктивный расходомер, в частности, для реализации способа по п.23, для протекающей в магистрали среды, который содержит:
вставляемую в магистраль измерительную трубу (11) для пропускания текучей среды,
обрабатывающую схему (2) и вычислительную схему (3),
питаемую вычислительной (3) и обрабатывающей схемой (2) систему возбуждения для создания пронизывающего измерительную трубу (11) магнитного поля с помощью расположенной на измерительной трубе (11) и пропускающей ток (i) возбуждения системы (12, 13) катушек,
по меньшей мере два измерительных электрода (14, 15) для съема потенциалов (е14, e15), которые индуцируются в протекающей через измерительную трубу и пронизываемой магнитным полем текучей среде,
по меньшей мере временно соединенный с измерительными электродами (14, 15) дифференциальный усилитель (22) для создания по меньшей мере одного измерительного сигнала (и), выведенного из снимаемых потенциалов (е14, e15), поступающего из обрабатывающей схемы (2) в вычислительную схему (3), а также
средства для сохранения первого комплекта (DS1) данных, который в данный момент представляет ход изменения измерительного сигнала (u) во времени внутри задаваемого интервала времени, при этом вычислительная (3) и обрабатывающая схема (2)
на основании первого комплекта (DS1) данных обнаруживает аномалию в измерительном сигнале (u), которая обусловлена по меньшей мере одним приложенным к измерительным электродам (14, 15) помеховым потенциалом,
вычитает обнаруженную аномалию из сохраненного первого комплекта (DS1) данных и создает свободный от обнаруженной аномалии второй комплект (DS2) данных, и
с помощью освобожденного от аномалии второго комплекта (DS2) данных создает по меньшей мере одно значение (Хм) измерения, которое представляет физическую величину протекающей среды.
РИСУНКИ
|
|