|
|
(21), (22) Заявка: 2006119602/28, 05.06.2006
(24) Дата начала отсчета срока действия патента:
05.06.2006
(43) Дата публикации заявки: 27.12.2007
(46) Опубликовано: 10.10.2008
(56) Список документов, цитированных в отчете о поиске:
US 5451775 А, 19.09.1995. US 4152588 А, 01.05.1979. US 4423496 А, 27.12.1983. US 5223710 А, 29.06.1993. SU 1737398 A1, 30.05.1992. RU 2153647 C2, 27.07.2000.
Адрес для переписки:
600000, г.Владимир, ул. Горького, 87, ВлГУ, патентный отдел
|
(72) Автор(ы):
Кулиш Александр Алексеевич (RU)
(73) Патентообладатель(и):
Кулиш Александр Алексеевич (RU)
|
(54) ЗЕРКАЛЬНОЕ ФОТОЭЛЕКТРИЧЕСКОЕ УСТРОЙСТВО КОНТРОЛЯ УГЛОВЫХ СМЕЩЕНИЙ
(57) Реферат:
Зеркальное фотоэлектрическое устройство контроля угловых смещений содержит два источника света, отражатель, выполненный в виде зеркальной пластины с двумя противоположными отражающими поверхностями и закрепленный на крутильном подвесе, двухканальную электрическую цепь, включающую два фотоприемника, два усилителя и согласующий вычислительный блок. Источники света установлены так, что лучи лежат в плоскости, перпендикулярной к оси вращения крутильного подвеса, идут на отражатель по одной прямой во встречном направлении, а отраженные лучи лежат в одной плоскости и попадают на соответствующие фотоприемники, фотоприемные плоскости которых ориентированы параллельно друг другу. Фотоприемники вырабатывают напряжения, пропорциональные величине смещения лучей на их фотоприемных плоскостях, которые подаются на согласующий вычислительный блок, формирующий напряжение, пропорциональное разности двух напряжений. Технический результат – повышение точности контроля угловых смещений, повышение виброустойчивости системы, расширение возможностей применения предлагаемого устройства. 4 ил.
Изобретение также может быть использовано в гальванометрах различных типов при регистрации электрических и неэлектрических величин для повышения вибрационной устойчивости приборов.
Однако указанное оптическое отсчетное устройство имеет тот недостаток, что к смещениям светового пятна на шкале прибора могут привести не только угловые смещения (повороты) тонкой бронзовой ленты (с подвижной частью), но и поступательные смещения тонкой бронзовой ленты (с подвижной частью) в горизонтальной и вертикальной плоскостях. Фактически, в данном устройстве невозможно разделить угловые и поступательные смещения зеркальца, закрепленного на тонкой бронзовой ленте. Это приводит к увеличению ошибок измерения и, следовательно, к снижению точности измерения соответствующей электрической величины.
Наиболее близким по технической сущности к заявленному техническому решению является оптическое отсчетное устройство (прототип) вибрационно-устойчивой системы П.Долля (Мейер Э., Мердер К. Зеркальные гальванометры и приборы со световым указателем. – М. и Л.: Госэнергоиздат, 1959, 568 с. См. стр.497, рис.59-5), содержащее источник света, две отдельные рамки (подвижная часть), каждая со своим зеркалом, регистрирующую ленту. Вся система погружена в жидкость так, что угол между зеркалами остается постоянным. Для компенсации вращательных ускорений вокруг оси вращения системы используется свойство луча света при последовательном отражении от двух зеркал не изменять направление луча «после поворота их как единой системы на некоторый угол». Регистрацию процесса производят одновременно двумя системами, идентичными по своим механическим, электрическим и оптическим свойствам. По П.Доллю используют системы в двух вариантах: 1) ток пропускают только через одну систему, в то время как вторую используют лишь как компенсационную; 2) ток протекает по обеим системам и отклоняет их в противоположных направлениях.
Однако указанное оптическое отсчетное устройство имеет тот недостаток, что к смещениям светового луча на регистрирующей ленте приводят как угловые смещения (повороты) рамки, так и поступательные смещения. Более того, так как зеркал два, на двух разных подвесах и рамках, то величина смещения будет зависеть от неконтролируемого смещения каждого зеркала как в первом варианте, так и во втором варианте. Фактически, в данном устройстве невозможно разделить угловые и поступательные смещения зеркал. Это приводит к увеличению ошибок измерения угла поворота рамки и, как следствие, к снижению точности измерения соответствующей электрической величины.
Использование жидкости частично повышает виброустойчивость системы, но одновременно приводит к увеличению массы и момента инерции подвижной части, как для одной рамки, так и для другой. Это также приводит к увеличению ошибок измерения.
Использование двух систем одновременно П.Доллем приводит к тому, что вибрации оказывают влияние как на одну, так и на другую систему, уменьшая виброзащищенность прибора. Это ограничивает возможности применения данного прибора.
Технический результат изобретения: повышение точности контроля угловых смещений, повышение виброустойчивости системы, расширение возможностей применения предлагаемого устройства.
Указанный технический результат достигается тем, что предлагаемое устройство содержит два источника света, отражатель, закрепленный на крутильном подвесе, индикатор, причем отражатель выполнен в виде зеркальной пластины с двумя противоположными отражающими поверхностями и ориентирован по отношению к лучам света так, что лучи лежат в плоскости, перпендикулярной к оси вращения крутильного подвеса, а в двухканальную электрическую цепь каждой отражающей поверхности дополнительно включены два фотоприемника, два усилителя и согласующий вычислительный блок.
По сравнению с наиболее близким аналогичным решением (прототип) заявляемое техническое решение имеет следующие отличительные признаки:
– отражатель выполнен в виде зеркальной пластины с двумя противоположными отражающими поверхностями;
– отражатель ориентирован по отношению к лучам света так, что лучи лежат в плоскости, перпендикулярной к оси вращения крутильного подвеса;
– в двухканальную электрическую цепь каждой отражающей поверхности дополнительно включены два фотоприемника, два усилителя и согласующий вычислительный блок.
Следовательно, заявляемое техническое решение соответствует требованию «новизна».
Использование в предлагаемом устройстве отражателя в виде зеркальной пластины с двумя противоположными отражающими поверхностями, на которые падают лучи света, двух фотоприемников, двух усилителей и согласующего вычислительного блока, формирующего разностный электрический сигнал, пропорциональный величине углового смещения системы, позволяет разделить поступательные и угловые смещения отражателя (следовательно, и всей связанной с ним системы), контролировать собственно угловые смещения системы и, в конечном итоге, повысить точность измерения угловых смещений, повысить виброустойчивость всей системы, расширить возможности применения устройства.
Следовательно, заявляемое техническое решение соответствует требованию «положительный эффект».
В заявленном техническом решении форма отражателя, его ориентация относительно падающих лучей света, формирование по отраженным лучам с помощью двух фотоприемников, двух усилителей двух фотосигналов и получение в согласующем вычислительном блоке напряжения, пропорционального разности двух фотосигналов, приводит к неожиданному эффекту – окончательное напряжение, подаваемое на индикатор, пропорционально только углу поворота зеркального отражателя вместе с системой. Достигается разделение (раздельное влияние) поступательных и угловых смещений отражателя. Таким образом, исключается влияние на показания прибора поступательных смещений отражателя.
Анализ существующих технических решений показал, что перечисленные признаки отсутствуют в этих решениях.
Следовательно, перечисленные отличительные признаки обеспечивают соответствие заявляемого технического решения требованию «существенные отличия».
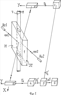
На фиг.1 показано зеркальное фотоэлектрическое устройство контроля угловых смещений; фиг.2 иллюстрирует смещение отраженных лучей света на фотоприемных плоскостях Фп1 и Фп2 при поступательных смещениях отражателя в горизонтальной плоскости вдоль оси ОХ; фиг.3 иллюстрирует смещение отраженных лучей света на фотоприемных плоскостях Фп1 и Фп2 при поступательных смещениях отражателя в горизонтальной плоскости вдоль оси OY; фиг.4 иллюстрирует характер смещения отраженных лучей света на фотоприемных плоскостях Фп1 и Фп2 при угловых поворотах отражателя вокруг вертикальной оси, проходящей через точку О.
Зеркальное фотоэлектрическое устройство контроля угловых смещений, изображенное на фиг.1, содержит отражатель 1, два источника света Ис1 и Ис2, два фотоприемника (например, однокоординатных) 2 и 3, два усилителя 4, согласующий вычислительный блок 5, индикатор 6.
Зеркальный отражатель 1 представляет скрепленные две противоположные отражающие зеркальные плоскости З1 и З2. Зеркальный отражатель 1 закреплен на крутильной нити 7, к которой прикладывается крутящий момент сил М. Крутильная нить 7 может быть проволочного типа (металлическая проволочка) в крутильном маятнике, может быть объектом исследования, например нитевидным кристаллом, может быть подвесом с рамкой в магнитном поле гальванометра или любой аналогичной системой, испытывающей угловые смещения (повороты). Источник света Ис1 располагается так, чтобы луч света от него падал на отражающую поверхность З1 и, отразившись, попадал на фотоприемник 2. Источник света Ис2 располагается так, чтобы луч света от него падал на отражающую поверхность З2 и, отразившись, попадал на фотоприемник 3. Луч1 и луч2, линии фотоприемников лежат в одной плоскости XOY (обычно, горизонтальная плоскость), перпендикулярной крутильной нити 7. Фотоприемные плоскости фотоприемников 2 и 3 параллельны друг другу и ориентированы вдоль одной оси OY, как показано на фиг.1.
Назначение согласующего вычислительного блока 5 – вырабатывать разностный электрический сигнал U по введенным в него с фотоприемников 2 и 3 усиленным сигналам U1 и U2.
Назначение индикатора 6 – регистрировать величины, пропорциональные углу поворота системы, связанной с крутильной нитью 7. В качестве индикатора могут использоваться: электроизмерительные приборы, осциллограф, шлейфовый осциллограф, самописец и т.д.
Устройство работает следующим образом.
Луч 1 от источника света Ис1 направляют в плоскости XOY (обычно, горизонтальная плоскость) на отражающую поверхность З1 отражателя 1. Отраженный луч 1 затем попадает на фотоприемную плоскость фотоприемника 2. Одновременно луч 2 от источника света Ис2 направляют в плоскости XOY (обычно, горизонтальная плоскость) на отражающую поверхность З2 отражателя 1. Отраженный луч 2 затем попадает на фотоприемную плоскость фотоприемника 3. В отсутствие движения отражателя 1 электрические сигналы с фотоприемников равны нулю. При движении отражателя 1 при угловых или поступательных смещениях нити 7 отраженные лучи смещаются соответственно на фотоприемных плоскостях фотоприемников 2 и 3. Фотоприемники вырабатывают напряжения U1 (выражение (1)) и U2 (выражение (2)) соответственно, которые подаются на усилители 4. Усиленные сигналы U’1 и U’2 подаются на согласующий вычислительный блок 5, в котором формируется сигнал U, пропорциональный разности напряжений U1 и U2 (выражения (3) и (4)). Напряжение U подается на индикатор 6, в котором и регистрируется величина углового смещения системы, связанной с нитью 7, или любая другая величина, связанная с углом поворота нити 7. Индикатор 6 может быть проградуирован непосредственно в единицах измеряемой величины.
В предлагаемом устройстве для достижения объявленного технического результата используются, в первую очередь, особые свойства поведения двух отраженных лучей от зеркальной пластины с двумя противоположными отражающими поверхностями: при поступательных смещениях зеркальной пластины в горизонтальной плоскости отраженные лучи, первый и второй, на фотоприемных плоскостях испытывают смещения одинакового знака (одинаковых направлений) и одинаковой величины; при угловых смещениях (поворотах) той же зеркальной пластины вокруг вертикальной оси отраженные лучи на фотоприемных плоскостях испытывают смещения разного знака (разных направлений).
Поэтому при вычитании фотосигналов от отраженных лучей с фотоприемников разностный сигнал пропорционален только величине углового смещения зеркальной пластины, а следовательно, и угловым смещениям всей крутильной системы или системы подвеса, например, вместе с рамкой.
На фиг.2 представлен один из возможных случаев смещения лучей, когда луч 1 от источника света Ис1 и луч 2 от источника света Ис2 идут навстречу друг другу по одной прямой, а углы падения на зеркальную пластину Зп (отражатель 1 из фиг.1) лучей равны 45°. Луч 1 отражается от зеркальной поверхности З1 зеркальной пластины Зп и распространяется вдоль оси ОХ горизонтальной плоскости. Отраженный луч 1 падает на фотоприемную плоскость Фп1 (фотоприемник 2 из фиг.1) и может перемещаться вдоль оси OY горизонтальной плоскости. Луч 2 отражается от противоположной зеркальной поверхности 32 зеркальной пластины Зп и распространяется против оси ОХ в той же горизонтальной плоскости. Отраженный луч 2 падает на фотоприемную плоскость Фп2 (фотоприемник 3 из фиг.1) и может перемещаться вдоль оси OY горизонтальной плоскости.
Линия подвеса вертикальна, проходит через точку О и перпендикулярна к плоскости рисунка (горизонтальная плоскость) фиг.2.
При поступательных смещениях зеркальной пластины Зп вдоль или против оси ОХ в горизонтальной плоскости при вибрациях зеркальная пластина занимает новые положения, характеризуемые точками О’ или О”. Величина смещения Х, а луч 1 и луч 2 при этом смещаются вдоль оси OY на одинаковую величину (пунктирные линии на фиг.2) и фотоприемники вырабатывают одинаковые, как по величине, так и по знаку напряжения Uх1 и Ux2, пропорциональные величине смещения Х. На фиг.2 величина смещения лучей вдоль оси OY представлена (проградуирована) непосредственно в единицах вырабатываемого напряжения.
На фиг.3, аналогично фиг.2, представлен случай смещений отраженных лучей (луч 1 и луч 2) на фотоприемных плоскостях Фп1 и Фп2 вдоль оси OY при поступательных смещениях зеркальной пластины Зп в горизонтальной плоскости вдоль другой оси – оси OY.
Линия подвеса вертикальна, проходит через точку О и перпендикулярна к плоскости рисунка (горизонтальная плоскость) фиг.3.
При поступательных смещениях зеркальной пластины Зп вдоль или против оси OY в горизонтальной плоскости при вибрациях зеркальная пластина занимает новые положения, характеризуемые точками О’ или О”. Величина смещения Y, a луч 1 или луч 2 при этом смещаются вдоль оси OY на одинаковую величину (пунктирные линии на фиг.3) и фотоприемники вырабатывают одинаковые как по величине, так и по знаку напряжения Uу1 и Uу2, пропорциональные смещению Y. На фиг.2 величина смещения лучей вдоль оси OY представлена (проградуирована) непосредственно в единицах вырабатываемого напряжения.
Любые произвольные поступательные смещения зеркальной пластины Зп при вибрациях в горизонтальной плоскости можно представить (разложить) как сумму двух независимых поступательных смещений вдоль осей ОХ и OY. Поэтому фотоприемники соответствующих фотоприемных плоскостей Фп1 и Фп2 будут вырабатывать напряжения, равные сумме напряжений, пропорциональных смещениям зеркальной пластины вдоль осей ОХ и OY, т.е. Х и Y. Эти напряжения, как видно из фиг.2 и фиг.3, одинаковы по величине и имеют одинаковые знаки.
На фиг.4 представлен случай смещения отраженных лучей 1 и 2 от отражающих плоскостей З1 и З2 зеркальной пластины Зп только при поворотах (угловых смещениях) всей системы вокруг вертикальной оси (линии подвеса), проходящей через точку О и перпендикулярную к плоскости рисунка (горизонтальная плоскость) фиг.4. При поворотах всей системы на угол зеркальная пластина Зп поворачивается на угол (толстый штриховой отрезок на фиг.4), а отраженные лучи (пунктирные линии на фиг.4) в соответствии с общеизвестными законами геометрической оптики поворачиваются в горизонтальной плоскости на угол 2 . Как видно из фиг.4, отраженные луч 1, луч 2 смещаются вдоль фотоприемных плоскостей Фп1 и Фп2 на одинаковую величину, но это смещения разного знака. Поэтому фотоприемники в этом случае вырабатывают одинаковые по величине (модулю) напряжения U 1 и U 2, но разного знака. На фиг.4 величина смещения лучей вдоль оси OY представлена (проградуирована) непосредственно в единицах вырабатываемого напряжения.
В предложенном устройстве по величине угла поворота , вызванного именно угловыми смещениями всей системы, может быть измерена любая величина, связанная с углом поворота . В крутильных весах, крутильных маятниках это может быть, например, момент сил кручения, величина внутреннего трения. В гальванометрах это могут быть электрические величины (сила тока, напряжение), вызывающие повороты рамки, например, на подвесе в магнитном поле.
Из фиг.4 следует, что напряжения U 1 и U 2 пропорциональны величине (tg2 )·l. При малых углах поворота, что обычно и наблюдается, напряжения U 1 и U 2 пропорциональны величине (2 )·l (где l – расстояние от оси отражателя до фотоприемной плоскости прибора, так называемое “оптическое плечо луча”).
Обобщая результаты описания фиг.2, фиг.3, фиг.4, можно сделать вывод, что при необходимых поворотах всей системы в величину напряжения с фотоприемников, помимо этого, дают вклад поступательные вибросмещения, которые имеют случайный характер. Результирующие напряжения с фотоприемников 2 и 3 (см. фиг.1) имеют вид

где U1 – напряжение с выхода фотоприемника 2 (см. фиг.1).

где U2 – напряжение с выхода фотоприемника 3 (см. фиг.1).
Как видно из рисунков фиг.2 и фиг.3, Ux1=Ux2; Uу1=Uу2. Как видно из рисунка фиг.4, |U 1|=|U 2|, т.е. равны по модулю, но имеют разные знаки, т.е. U 1=-U 2.
Если подать напряжения U1 и U2 на вычислительный блок, в котором производится только вычитание двух сигналов (такие блоки, электрические схемы общеизвестны), то на выходе такого блока возникает результирующее напряжение U, равное

Величина U равна (пропорциональна): U2·(tg2 )·l.
При малых углах поворота всей системы: .
Это напряжение и регистрируется индикатором 6 (см. фиг.1), позволяя определить как угол поворота всей системы, так и любую необходимую величину, связанную с углом поворота всей системы.
Аналитические выражения (1)-(4) подчеркивают, что в предлагаемом устройстве производится, с одной стороны, разделение поступательных и угловых смещений, а, с другой стороны, выделяются только угловые смещения всей системы, например, на подвесе.
Таким образом, в данном устройстве исключается влияние вибропомех, связанных со случайными поступательными смещениями отражателя (как и всей системы) в горизонтальной плоскости. Это повышает виброустойчивость всей системы, точность измерения величины углового смещения.
Разделение поступательных и угловых смещений предоставляет еще одну возможность контроля за вибросмещениями.
Если необходимо выделить именно поступательные смещения отражателя, то это можно произвести, суммируя сигналы с фотоприемников 2 и 3 (см. фиг.1). Как следует из выражений (1) и (2), при суммировании напряжений U1 и U2 результирующее напряжение пропорционально сумме смещений системы вдоль осей ОХ и OY горизонтальной плоскости. В этом случае исключается влияние угловых смещений и, так называемых, вращательных ускорений вокруг оси системы.
На фиг.2, фиг.3, фиг.4 зеркальная пластина Зп имеет нулевую толщину, т.е. зеркальные отражающие поверхности З1 и З2 прилегают друг к другу с противоположных сторон. Однако отражатель может иметь конечную толщину, отличную от нуля. Эта величина толщины может быть учтена на фотоприемных плоскостях Фп1 и Фп2 сдвигом начала отсчета на соответствующую толщине величину. Расчетные соотношения (1)-(4) останутся неизменными.
Углы падения лучей могут отличаться от 45° и даже быть разными для луча 1 и луча 2, так как эффект разделения поступательных и угловых смещений отражателя в предложенном устройстве обусловлен, в первую очередь, тем, что отраженные лучи смещаются в одинаковом направлении при поступательных смещениях системы, а при угловых смещениях (поворотах) смещаются в противоположных направлениях. В этом случае расчетные соотношения несколько усложнятся, но схема расчета, основанная на законах геометрической оптики, останется той же и, в конечном итоге, в устройстве выделяют угловые смещения отражателя по разности двух сигналов с фотоприемников или выделяют поступательные смещения отражателя по сумме двух сигналов с фотоприемников.
В данном устройстве могут быть также использованы общеизвестные оптические системы, увеличивающие оптическое плечо (длину) отраженного луча. Как видно из выражения (4), в предложенном устройстве, фактически, оптическое плечо увеличивается в 2 раза, что повышает точность измерения величины углового смещения.
Применение в предложенном устройстве отражателя в виде зеркальной пластины с двумя противоположными отражающими поверхностями, его ориентация относительно падающих лучей света, использование двух фотоприемников, двух усилителей, согласующего вычислительного блока, формирующего разностный электрический сигнал, пропорциональный величине углового смещения системы, позволяет, во-первых, разделить угловые и поступательные смещения системы на нити, а во-вторых, – контролировать собственно угловые смещения системы. Поэтому данное устройство позволяет достигнуть объявленного технического результата: повысить точность контроля угловых смещений, повысить виброустойчивость устройства и, следовательно, расширить возможности его применения.
Формула изобретения
Зеркальное фотоэлектрическое устройство контроля угловых смещений, содержащее два источника света, отражатель, выполненный в виде зеркальной пластины с двумя противоположными отражающими поверхностями и закрепленный на крутильном подвесе, ориентированном по отношению к лучам света так, что лучи лежат в плоскости, перпендикулярной к оси вращения крутильного подвеса, двухканальную электрическую цепь, включающую два фотоприемника, два усилителя и согласующий вычислительный блок, отличающееся тем, что источники света установлены так, что лучи идут на отражатель по одной прямой во встречном направлении, а отраженные лучи лежат в одной плоскости и попадают на соответствующие фотоприемники, фотоприемные плоскости которых ориентированы параллельно друг другу, причем фотоприемники вырабатывают напряжения, пропорциональные величине смещения лучей на их фотоприемных плоскостях, которые усиливаются в усилителях и подаются на согласующий вычислительный блок, формирующий напряжение, пропорциональное разности двух напряжений, которое подается на индикатор.
РИСУНКИ
|
|