|
|
(21), (22) Заявка: 2007115692/06, 25.04.2007
(24) Дата начала отсчета срока действия патента:
25.04.2007
(46) Опубликовано: 10.10.2008
(56) Список документов, цитированных в отчете о поиске:
RU 2289080 C1, 10.12.2006. RU 2206853 C1, 20.06.2003. RU 2151355 С1, 20.06.2000. RU 2177912 C2, 10.01.2002. US 3767545 А, 23.10.1973.
Адрес для переписки:
367015, Республика Дагестан, г.Махачкала, пр. имама Шамиля, 70, ГОУ ВПО ДГТУ, отдел интеллектуальной собственности
|
(72) Автор(ы):
Ахмедов Ганапи Янгиевич (RU)
(73) Патентообладатель(и):
ГОСУДАРСТВЕННОЕ ОБРАЗОВАТЕЛЬНОЕ УЧРЕЖДЕНИЕ ВЫСШЕГО ПРОФЕССИОНАЛЬНОГО ОБРАЗОВАНИЯ “ДАГЕСТАНСКИЙ ГОСУДАРСТВЕННЫЙ ТЕХНИЧЕСКИЙ УНИВЕРСИТЕТ” (ДГТУ) (RU)
|
(54) УСТРОЙСТВО ДЛЯ БОРЬБЫ С ОТЛОЖЕНИЯМИ В ТЕПЛООБМЕННОЙ АППАРАТУРЕ
(57) Реферат:
Изобретение относится к теплотехнике, и может быть использовано для предотвращения отложений в теплообменной аппаратуре – паровых и водяных котлах низкого и среднего давления, в теплообменниках, водоподогревателях, а также в оборудовании геотермальных систем. Устройство, состоящее из генератора импульсов и излучателя механических колебаний в виде цилиндрического трубопровода со вставкой из двух соосно размещенных труб – наружной из ферромагнитного материала и внутренней – из диамагнитного материала, снабжено железным сердечником, расположенным коаксиально с внутренней трубой, при этом на железный сердечник подается положительный потенциал относительно корпуса устройства. Устройство позволяет повысить эффективность предотвращения солевых отложений в теплообменной аппаратуре за счет того, что магнитное поле катушки индуктивности более эффективно используется для обработки воды, а подача положительного потенциала на железный сердечник способствует более интенсивному переходу ионов железа в обрабатываемую воду, тем самым улучшая коагуляцию частиц взвеси. 2 ил.
Изобретение относится к теплотехнике, в частности для предотвращения отложений в теплообменной аппаратуре – паровых и водяных котлах низкого и среднего давления, в теплообменниках, водоподогревателях, а также в оборудовании геотермальных систем.
Известны устройства для предотвращения образования отложений в теплообменной аппаратуре, в которых используется излучатель механических колебаний, а также влияние магнитного поля на накипееобразователи. Одним из таких изобретений [1] является изобретение, представляющее собой устройство, содержащее подключенный к генератору импульсов излучатель механических колебаний, отличающееся от известных конструкций тем, что излучатель выполнен в виде цилиндрического трубопровода, имеющего вставку из диамагнитного материала (нержавеющая сталь, алюминий и т.д.).
Недостатком данного устройства является невысокая эффективность предотвращения отложения солей на поверхности теплообменной аппаратуры вследствие использования вставки из диамагнитного материала.
В качестве ближайшего прототипа выбран патент Российской Федерации [2]. Изобретение представляет собой устройство, состоящее из генератора импульсов и излучателя механических колебаний, выполненного в виде цилиндрического трубопровода со вставкой из двух соосно размещенных труб, при этом труба меньшего диаметра выполнена из диамагнитного материала, а большего – из ферромагнитного материала с высокой магнитострикцией насыщения.
Изобретение имеет существенные недостатки, заключающиеся в том, что, с одной стороны, электромагнитное поле неэффективно используется для обработки воды, с другой стороны, образованные в устройстве частицы взвеси имеют невысокую коагуляционную способность. Вследствие этого устройство обладает низкой эффективностью предотвращения отложения солей в теплообменной аппаратуре.
Техническим решением предлагаемого устройства является повышение эффективности предупреждения солевых отложений на поверхности теплообменной аппаратуры.
Техническое решение достигается в устройстве для борьбы с отложениями в теплообменной аппаратуре, состоящем из генератора импульсов и излучателя механических колебаний, выполненного в виде цилиндрического трубопровода со вставкой из двух соосно размещенных труб – наружной из ферромагнитного материала и внутренней из диамагнитного материала, тем, что внутренняя труба снабжена железным сердечником, расположенным коаксиально с ней вдоль центральной оси на уровне обмотки катушки индуктивности, при этом на железный сердечник подается положительный потенциал от источника постоянного тока.
Новизна заявляемого предложения состоит в том, что в данном случае магнитное поле обмотки катушки индуктивности более эффективно используется для обработки воды, а подача положительного потенциала на железный сердечник способствует более интенсивному переходу ионов железа в обрабатываемую воду, тем самым улучшая коагуляцию частиц взвеси, образованных в магнитном поле.
По данным патентной и научно-технической литературы не обнаружена аналогичная совокупность признаков, что позволяет судить об изобретательском уровне предложения.
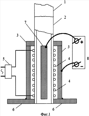
Сущность изобретения поясняется чертежами (см. фиг.1).
Устройство для борьбы с отложениями в теплообменной аппаратуре состоит из трубопровода 1, имеющего вставку, выполненную из двух труб – внутренней трубы 2, выполненной из диамагнитного материала, и наружной трубы 3, выполненной из ферромагнитного материала (пермендюр, альфер и т.д.). На трубе 2 расположена обмотка 4 катушки индуктивности, подключенная к генератору импульсов 5. Трубопровод 1, вставка 2, 3 и обмотка 4 являются источником механических колебаний, передаваемых на рабочую поверхность теплообменной аппаратуры 6. Железный сердечник 7, установленный коаксиально с внутренней трубой 2, подключен к положительному полюсу источника 8 постоянного тока. Отрицательный полюс источника 8 подключен к корпусу теплообменного аппарата.
Устройство работает следующим образом.
При подаче воды по трубопроводу 1 в теплообменную аппаратуру одновременно включается импульсный генератор тока 5, который подает импульсы тока на обмотку 4, равномерно размещенную в цилиндрической вставке между трубой 2 меньшего диаметра и трубой 3 большего диаметра.
Электромагнитное поле, создаваемое током в обмотке 4, генерирует в цилиндрической вставке механические колебания широкого спектра частот и амплитуд, т.к. в ферромагнитном материале внешней трубы 3 имеет место явление магнитострикции и действие пондеромоторных сил, которые стремятся либо сжать, либо расширить цилиндрическую вставку. Вследствие этого возникающие механические колебания передаются на рабочие поверхности 6 теплообменного аппарата.
С другой стороны, импульсное электромагнитное поле, создаваемое током в обмотке 4, замыкается на железный сердечник 7, тем самым увеличивая индукцию поперечного магнитного поля в кольцевом пространстве между сердечником 7 и внутренней трубой 2 (см. фиг.2). Это способствует более эффективному воздействию магнитного поля на накипеобразователи в растворе обрабатываемой воды [3].
Подача положительного потенциала на железный сердечник 7 относительно корпуса теплообменного аппарата способствует более интенсивному переходу ионов железа в раствор обрабатываемой воды, что способствует более эффективной коагуляции в теплообменном аппарате частиц взвеси [4], образованных в магнитном поле в кольцевом пространстве между внутренней трубой 2 и железным сердечником 7.
На фиг.2 показана примерная схема расположения силовых линий магнитного поля в цилиндрической вставке в случае отсутствия железного стержня и при наличии его. В первом случае силовые линии магнитного поля сосредоточены ближе к наружной трубе 3 (т.к. труба 3 изготовлена из ферромагнитного материала). В центральной части внутренней трубы 2 поле слабое. Во втором случае практически все поле, создаваемое обмоткой 4, замыкается на железный сердечник. Увеличивается поток магнитного поля в кольцевом пространстве между железным сердечником 7 и внутренней трубой 2. При этом поток обрабатываемой воды пересекает все силовые линии магнитного поля в кольцевом пространстве. В этом случае действие силы Лоренца имеет также наибольший эффект.
Таким образом, установка железного сердечника коаксиально с внутренней трубой из диамагнитного материала и подача на железный сердечник положительного потенциала относительно корпуса теплообменного аппарата интенсифицирует процесс обработки воды, тем самым повышая эффективность предотвращения твердых отложений на рабочих поверхностях теплообменной аппаратуры.
Источники информации
1. Патент Российской Федерации: RU 2151355 С1, М.Кл. F28G 7/00, 20.06.2000 г.
2. Патент Российской Федерации: RU 2206853 С1, М.Кл.. F28G 7/00, 20.06.2003 г.
3. Тебенихин Е.Ф. Безреагентные методы обработки воды в энергоустановках. М.: Энергия, 1977, 183 с.
4. Клячко В.А., Апельцин И.Э. Очистка природных вод. М.: Госстройиздат, 1971, с.129-132.
Формула изобретения
Устройство для борьбы с отложениями в теплообменной аппаратуре, состоящее из генератора импульсов и излучателя механических колебаний, выполненного в виде цилиндрического трубопровода со вставкой из двух соосно размещенных труб – наружной из ферромагнитного материала и внутренней из диамагнитного материала, отличающееся тем, что внутренняя труба снабжена железным сердечником, расположенным коаксиально с ней вдоль центральной оси на уровне обмотки катушки индуктивности, при этом на железный сердечник подается положительный потенциал от источника постоянного тока.
РИСУНКИ
|
|