|
|
(21), (22) Заявка: 2006135450/06, 29.09.2006
(24) Дата начала отсчета срока действия патента:
29.09.2006
(43) Дата публикации заявки: 20.04.2008
(46) Опубликовано: 10.10.2008
(56) Список документов, цитированных в отчете о поиске:
RU 2107873 C1, 27.03.1998. SU 1210045 A, 07.02.1986. SU 1043474 A, 23.09.1983. RU 2002105944 А, 10.09.2003. RU 2002122369 A, 10.03.2004. RU 2003102508 A, 10.08.2004. RU 99127019 A, 10.09.2001. RU 2133003 C1, 10.07.1999. US 3589840 A, 29.06.1971. FR 2035832 A, 24.12.1970. EP 0518579 A2, 16.12.1992.
Адрес для переписки:
192131, Санкт-Петербург, до востребования, В.А.Большакову
|
(72) Автор(ы):
Ардамаков Сергей Витальевич (RU), Лукьянов Игорь Валентинович (RU), Большаков Владимир Алексеевич (RU)
(73) Патентообладатель(и):
Ардамаков Сергей Витальевич (RU), Лукьянов Игорь Валентинович (RU), Большаков Владимир Алексеевич (RU)
|
(54) ГРАДИРНЯ
(57) Реферат:
Изобретение относится к области теплоэнергетики, в частности к контактным теплообменным аппаратам, типа градирен. Градирня содержит корпус с открытыми внизу воздухозаборными свободными проемами и водосборным бассейном, осевой вентилятор, размещенный в зоне сочленения конфузора и диффузора, водораспределительные устройства. Градирня также содержит гидропривод, соединенный с осевым вентилятором, при этом ось вращения гидропривода совмещена в пространстве с осью вращения осевого вентилятора, вал осевого вентилятора соединен через центробежную муфту с валом гидропривода, на котором неподвижно закреплен полый вал, который вставлен во втулку, присоединенную к трубе распределительного коллектора и являющуюся корпусом подшипника скольжения, гидропривод выполнен в виде сегнерова колеса, состоящего из двух параллельных рядов крестообразно расположенных труб, на периферии которых расположены водораспределительные устройства, представляющие собой щелевые форсунки. Осевой вентилятор установлен в опоре, закрепленной на балочном перекрытии. Опора гидропривода закреплена на опоре осевого вентилятора. Изобретение позволяет повысить эффективность охлаждения оборотной воды, уменьшить энергопотребление при работе градирни, снизить капитальные затраты при ее строительстве. 2 з.п. ф-лы, 2 ил.
Изобретение относится к области теплоэнергетики, в частности к контактным теплообменным аппаратам, типа градирен, и может быть использовано на предприятиях химической и энергетической промышленности для охлаждения оборотной воды.
Известны градирни с естественной тягой, используемые для охлаждения оборотной воды промышленного производства, включающие башенный корпус с открытым нижним поясом и размещенным внутри корпуса водоводом с водораспределительными устройствами. В данных градирнях подлежащая охлаждению обратная вода оборотного цикла из производственного помещения подается к градирне и через внутрикорпусной водовод поступает к водораспределительным устройствам. При этом плоскость размещения водораспределительных устройств расположена на некоторой высоте в корпусе градирни. Эти устройства рассекают общий поток на множество мелких струй, капель и пленок, увеличивая открытую контактную поверхность потока. Возникающие струи, капли и пленки затем свободно подают в нижнюю часть градирни на собирающий поддон (Справочник по теплообменникам в 2-х томах, пер. с англ., под редакцией О.Г.Мартыненко, том 2, стр.128-129, Разд. 3.12.3, Рис.1).
Известна градирня, содержащая корпус с двумя ярусами оросителя, с центральной воздухоподводящей трубой и с воздухозаборными окнами. В нижней части корпуса размещен поддон для сбора охлажденной воды, а в верхней части корпуса над ярусами оросителя размещены вентилятор и водоразбрызгивающее устройство, подающее охлаждаемую воду вниз на ороситель верхнего яруса (SU 1332131 А1, опубл. 23.08.1987).
Данная градирня практически исключает смешивание потоков подаваемой на охлаждение и охлажденной воды, стекающей в поддон, однако имеет достаточно сложную конструкцию, что повышает капитальные затраты при строительстве.
Известна градирня, содержащая корпус с воздухозаборными окнами, снабженная сегнеровым колесом и вентилятором, закрепленными на одном валу (А.С. СССР №1210045, опубл. 07.02.86).
Известна градирня, содержащая корпус с открытыми внизу воздухозаборными свободными проемами, водосборный бассейн, размещенный под корпусом, расположенный над корпусом осевой вентилятор, размещенный в зоне сочленения конфузора и диффузора, водораспределительные устройства. При этом градирня содержит каплеуловитель, расположенный в верхней части корпуса под конфузорной обечайкой вентилятора, центральную обечайку, установленную коаксиально корпусу между бассейном и каплеуловителем, насадку, расположенную в зазоре между корпусом и центральной обечайкой выше верхнего среза воздуховходных окон и ниже каплеуловителя, коллекторную систему с форсунками, расположенную между корпусом и центральной обечайкой в вертикальном зазоре между насадкой и каплеуловителем, снабженную дополнительным устройством, выполненным в виде усеченного конуса (Патент RU 2107873, опубл. 27.03.1998).
Данная градирня имеет достаточно сложную и металлоемкую конструкцию, имеет достаточно высокое энергопотребление.
Технической задачей, решаемой данным изобретением является повышение эффективности охлаждения оборотной воды, уменьшение энергопотребления при работе градирни, снижение капитальных затрат при ее строительстве.
Поставленная задача решается тем, что градирня, содержащая корпус с открытыми внизу воздухозаборными свободными проемами и водосборным бассейном, осевой вентилятор, размещенный в зоне сочленения конфузора и диффузора, водораспределительные устройства, содержит гидропривод, соединенный с осевым вентилятором, при этом ось вращения гидропривода совмещена в пространстве с осью вращения осевого вентилятора, вал осевого вентилятора соединен через центробежную муфту с валом гидропривода, на котором неподвижно закреплен полый вал, который вставлен во втулку, присоединенную к трубе распределительного коллектора и являющуюся корпусом подшипника скольжения, гидропривод выполнен в виде сегнерова колеса, состоящего из двух параллельных рядов крестообразно расположенных труб, на периферии которых расположены водораспределительные устройства, представляющие собой щелевые форсунки.
Кроме того, осевой вентилятор установлен в опоре, закрепленной на балочном перекрытии.
Кроме того, опора гидропривода закреплена на опоре осевого вентилятора.
Изобретение поясняется чертежами.
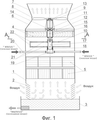
Фиг.1 – продольный разрез градирни.
Фиг.2 – поперечный разрез рабочего колеса гидропривода.
Градирня представляет собой корпус, включающий цилиндрическую часть 1 с открытыми внизу воздухозаборными свободными проемами 2 и водосборным бассейном 3, водоуловительные решетки 4, щиты пленочного оросителя 5, конфузор 6 и диффузор 7. В зоне сочленения 8 конфузора 6 и диффузора 7 размещен осевой вентилятор 9, соединенный с гидроприводом 10, при этом ось вращения гидропривода 10 совмещена в пространстве с осью вращения вентилятора 9. Осевой вентилятор 9 установлен в опоре 11, закрепленной на балочном перекрытии 12. Вал 13 вентилятора 9 через центробежную муфту 14 соединен с валом 15 гидропривода 10. Опора 16 гидропривода 10 закреплена на опоре 11 вентилятора 9. На валу 15 гидропривода 10 неподвижно закреплен полый вал 17 гидропривода 10, вставленный во втулку 18, являющуюся корпусом подшипника скольжения, которая присоединена к трубе распределительного коллектора 19, соединенного с входными патрубками 20. Гидропривод 10 выполнен в виде сегнерова колеса, состоящего из двух параллельных рядов крестообразно расположенных труб 21, на периферии которых расположены водораспределительные устройства, представляющие собой щелевые форсунки 22.
Работа предложенной градирни заключается в следующем. Использованная в производственном процессе теплая вода под избыточным давлением поступает по входным патрубкам 20 через распределительный коллектор 19 в трубы 21. Кинетическая энергия воды, истекающей из щелевых форсунок 22, создает вращающий момент, достаточный для вращения гидропривода 10 и, следовательно, вентилятора 9. Благодаря работе вентилятора 9 интенсифицируется восходящий поток охлаждающего воздуха, поступающего через воздухозаборные свободные проемы 2, который контактирует с частицами жидкости, истекающими из щелевых форсунок 22 и движущимися вниз под действием силы тяжести. При контакте с воздухом температура частиц жидкости снижается как из-за испарения, так и из-за конвективного теплообмена, и они в виде струй стекают через щиты пленочного оросителя 5 в водосборный бассейн 3. Нагретый в результате теплообмена воздух, проходящий через водоуловительные решетки 4, собирается в конфузоре 6 и выбрасывается вентилятором 9 в атмосферу через диффузор 7. Охлажденная вода, собранная в водосборном бассейне 3, вновь направляется в производственный процесс.
В результате предложенного решения полностью исключено потребление электроэнергии, так как электродвигатель, ранее вращающий вентилятор, отсутствует. Вместо него установлен гидропривод в виде сегнерова колеса, состоящего из двух параллельных рядов крестообразно расположенных труб, использующий энергию охлаждаемой воды.
Кроме того, снижены капитальные затраты при строительстве, так как исключена необходимость прокладки силового питающего кабеля к электродвигателю.
Формула изобретения
1. Градирня, содержащая корпус с открытыми внизу воздухозаборными свободными проемами и водосборным бассейном, осевой вентилятор, размещенный в зоне сочленения конфузора и диффузора, водораспределительные устройства, отличающаяся тем, что содержит гидропривод, соединенный с осевым вентилятором, при этом ось вращения гидропривода совмещена в пространстве с осью вращения осевого вентилятора, вал осевого вентилятора соединен через центробежную муфту с валом гидропривода, на котором неподвижно закреплен полый вал, который вставлен во втулку, присоединенную к трубе распределительного коллектора и являющуюся корпусом подшипника скольжения, гидропривод выполнен в виде сегнерова колеса, состоящего из двух параллельных рядов крестообразнорасположенных труб, на периферии которых расположены водораспределительные устройства, представляющие собой щелевые форсунки.
2. Градирня по п.1, отличающаяся тем, что осевой вентилятор установлен в опоре, закрепленной на балочном перекрытии.
3. Градирня по п.1, отличающаяся тем, что опора гидропривода закреплена на опоре осевого вентилятора.
РИСУНКИ
|
|