|
| На основании пункта 1 статьи 1366 части четвертой Гражданского кодекса Российской Федерации патентообладатель обязуется заключить договор об отчуждении патента на условиях, соответствующих установившейся практике, с любым гражданином Российской Федерации или российским юридическим лицом, кто первым изъявил такое желание и уведомил об этом патентообладателя и федеральный орган исполнительной власти по интеллектуальной собственности. |
|
(21), (22) Заявка: 2007108915/06, 13.03.2007
(24) Дата начала отсчета срока действия патента:
13.03.2007
(46) Опубликовано: 10.10.2008
(56) Список документов, цитированных в отчете о поиске:
SU 182581 А, 18.07.1966. SU 1320624 A1, 30.06.1987. РОМАНКОВ П.Г., РАШКОВСКАЯ Н.Б. Сушка во взвешенном состоянии. – Ленинградское отделение издательства “Химия”, 1968, с.127, рис.11-67. SU 866364 A1, 23.09.1981. РОМАНКОВ П.Г., РАШКОВСКАЯ Н.Б. Сушка во взвешенном состоянии. – Ленинградское отделение издательства “Химия”, 1968, с.129, рис.11-69.
Адрес для переписки:
123458, Москва, ул. Твардовского, 11, кв.92, О.С. Кочетову
|
(72) Автор(ы):
Кочетов Олег Савельевич (RU), Кочетова Мария Олеговна (RU), Кочетов Сергей Савельевич (RU), Кочетов Сергей Сергеевич (RU), Костылева Анастасия Витальевна (RU), Боброва Екатерина Олеговна (RU)
(73) Патентообладатель(и):
Кочетов Олег Савельевич (RU)
|
(54) УСТАНОВКА ДЛЯ СУШКИ РАСТВОРОВ, СУСПЕНЗИЙ И ПАСТООБРАЗНЫХ МАТЕРИАЛОВ
(57) Реферат:
Изобретение относится к технике сушки дисперсных материалов и может быть использовано в микробиологической, пищевой, химической и других отраслях промышленности. В установке для сушки растворов, суспензий и пастообразных материалов, содержащей сушильную камеру с расположенным в центральной части вибрационным гранулятором, в корпусе которой в его верхней части размещена распылительная камера, снабженная форсункой и коллектором для подачи теплоносителя, систему подачи раствора и систему очистки отработанного теплоносителя, а система газораспределения оборудована двумя газораспределителями: верхним и нижним, при этом верхний газораспределитель подводит теплоноситель к корню факела распыла и предназначен для равномерного распределения теплоносителя по факелу распыленного материала, а нижний газораспределитель позволяет вводить теплоноситель в нижнюю часть корпуса, где установлены газораспределительная решетка с патрубками для подачи вторичного теплоносителя и течка для выхода гранул, причем вибрационный гранулятор выполнен в виде вибрирующего лотка с сетчатым днищем, а форсунка содержит корпус с камерой, в которой расположен шнек с винтовой внешней канавкой, причем в днище корпуса выполнено дроссельное отверстие, а в верхней части размещен штуцер с цилиндрическим отверстием, причем внутри шнека выполнено отверстие с винтовой нарезкой, а под шнеком расположена камера смешения, состоящая из цилиндрической и конической частей, причем шнек жестко связан с Т-образной дроссельной шайбой, в торцевой цилиндрической части которой выполнены, по крайней мере, три дроссельных отверстия, а в жестко с ней связанной осевой цилиндрической части – осевое дроссельное отверстие, причем гидравлическое сопротивление дроссельных отверстий подбирается в зависимости от свойств распыливаемого раствора и требуемой степени его распыла. Технический результат – повышение производительности сушки. 3 з.п. ф-лы, 3 ил.
Изобретение относится к технике сушки дисперсных материалов и может быть использовано в микробиологической, пищевой, химической и других отраслях промышленности.
Наиболее близким техническим решением к заявляемому объекту является сушилка по а.с. СССР №182581, F26B 3/12, 1964 г., содержащая сушильную камеру, систему газораспределения сушильного агента, систему подачи раствора и систему очистки отработанного воздуха (прототип).
Недостаток прототипа – сравнительно невысокая производительность сушки конечного продукта.
Технический результат – повышение производительности сушки.
Это достигается тем, что в установке для сушки растворов, суспензий и пастообразных материалов, содержащей сушильную камеру с расположенным в центральной части вибрационным гранулятором, в корпусе которой в его верхней части размещена распылительная камера, снабженная форсункой и коллектором для подачи теплоносителя, систему подачи раствора и систему очистки отработанного теплоносителя, а система газораспределения оборудована двумя газораспределителями: верхним и нижним, при этом верхний газораспределитель подводит теплоноситель к корню факела распыла и предназначен для равномерного распределения теплоносителя по факелу распыленного материала, а нижний газораспределитель позволяет вводить теплоноситель в нижнюю часть корпуса, где установлена газораспределительная решетка с патрубками для подачи вторичного теплоносителя и течка для выхода гранул, причем вибрационный гранулятор выполнен в виде вибрирующего лотка с сетчатым днищем, согласно изобретению форсунка содержит корпус с камерой, в которой расположен шнек с винтовой внешней канавкой, причем в днище корпуса выполнено дроссельное отверстие, а в верхней части размещен штуцер с цилиндрическим отверстием, причем внутри шнека выполнено отверстие с винтовой нарезкой, а под шнеком расположена камера смешения, состоящая из цилиндрической и конической частей, причем шнек жестко связан с Т-образной дроссельной шайбой, в торцевой цилиндрической части которой выполнены, по крайней мере, три дроссельных отверстия, а в жестко с ней связанной осевой цилиндрической части – осевое дроссельное отверстие, причем гидравлическое сопротивление дроссельных отверстий подбирается в зависимости от свойств распыливаемого раствора и требуемой степени его распыла.
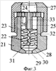
На фиг.1 показана схема установки для сушки растворов, суспензий и пастообразных материалов, на фиг.2 – вариант вибрационного гранулятора, на фиг.3 – центробежная форсунка для распыливания растворов.
Установка для сушки растворов, суспензий и пастообразных материалов (фиг.1) содержит корпус 1 с размещенной в верхней его части распылительной камерой 2, форсункой 3 и коллектором 4 для подачи теплоносителя 16 сверху. Теплоноситель возвращается через канал 15 между корпусом 1 и размещенной в верхней его части распылительной камерой 2. Подсушенный материал поступает на вибрационный гранулятор, выполненный в виде подпружиненного сверху и снизу пружинами 13 вибрирующего лотка 5 с сетчатым днищем 6 и шаровой насадкой 7, приводимого в колебания виброприводом 11. Корпус 1 в месте расположения вибропривода выполнен разъемным с подпружиненными пружинами 12 частями. Под тяжестью шаровой насадки материал продавливается сквозь сетчатое днище, а под действием вибрации лотка и силы тяжести самих частиц происходит отрыв последних, одинаковых по величине. Затем частицы попадают в нижнюю часть корпуса, где установлена газораспределительная решетка 8 с патрубком 9 для подачи вторичного теплоносителя. Здесь материал досушивается в режиме кипящего слоя и в виде гранул одинакового размера выпускается через течку 10.
На фиг.2 представлен вариант выполнения вибрационного гранулятора в виде вибрирующего лотка 5 с сетчатым днищем 6 с коэффициентом перфорации, равным 0,3…0,5, и упруго закрепленной на днище 6 посредством пружин 14 перфорированной плиты 17 с коэффициентом перфорации, равным 0,5…0,7. Вибропривод 11 имеет блок управления (на чертеже не показан), с помощью которого изменяют направление, амплитуду и частоту вибрации в требуемом оптимальном диапазоне параметров работы гранулятора: уровень вибрации в диапазоне – 100…120 дБ, частота колебательного процесса в диапазоне – 50…100 Гц, а перфорированная плита 17 выполняет функции инерционной массы динамического гасителя колебаний, настроенного на требуемый диапазон частот. Подпружиненная перфорированная плита 17 совершает колебательное движение в вертикальной плоскости и передает энергию колебаний для перемешивания и продавливания сквозь сетчатое днище 6. Отработавшие запыленные газы подвергаются предварительной акустической обработке в акустической установке 18, оптимальными параметрами которой для звуковой обработки среднедисперсной пыли являются: уровень звукового давления 140 дБ и более, частота колебательного движения 900 Гц, концентрация пыли в воздушном потоке не менее 2 г/м, время озвучивания 1,5…2 с, после чего газовый поток направляется в циклон 19 с бункером, где выделяется основная часть унесенного газами сухого материала, а окончательная очистка газов происходит в рукавном фильтре 20.
Центробежная форсунка (фиг.3) состоит из корпуса 21 с крышкой 23, внутри которого расположен шнек 22. Внешняя поверхность шнека 22 представляет собой винтовую канавку с правой (или левой) нарезкой. Внутри шнека 22 выполнено отверстие 31 с левой (или правой) винтовой нарезкой. В днище корпуса 21 выполнено дроссельное отверстие 29, ось которого совпадает с осью отверстия 31 в шнеке 22. Между нижним торцом шнека 22 и срезом дроссельного отверстия 29 расположена камера смешения, состоящая из цилиндрической 28 и конической 30 частей.
Шнек 22 жестко связан с Т-образной дроссельной шайбой 25, в торцевой цилиндрической части 24 которой выполнены, по крайней мере, три дроссельных отверстия 26, а в жестко с ней связанной осевой цилиндрической части – осевое дроссельное отверстие 33. Гидравлическое сопротивление дроссельных отверстий 26 и 33 подбирается в зависимости от свойств распыливаемой жидкости и требуемой степени ее распыла.
Подача раствора (жидкости) осуществляется через отверстие в штуцере 27, закрепленном в верхней части корпуса 21 через торцевую цилиндрическую часть 24 Т-образной дроссельной шайбы 25.
Система газораспределения оборудована двумя газораспределителями: верхним и нижним, при этом верхний газораспределитель подводит сушильный агент к корню факела распыла и предназначен для равномерного распределения теплоносителя по факелу распыленного материала, а нижний газораспределитель позволяет вводить теплоноситель в нижнюю часть корпуса, где установлены газораспределительная решетка с патрубками для подачи вторичного теплоносителя и течка для выхода гранул.
Установка для сушки растворов, суспензий и пастообразных материалов работает следующим образом.
В сушилке достигается высокая интенсивность испарения влаги за счет тонкого распыления высушиваемого материала в сушильной камере, через которую движется сушильный агент (нагретый воздух или топочные газы). При сушке в распыленном состоянии удельная поверхность испарения становится столь большой, что процесс высушивания завершается чрезвычайно быстро (примерно за 15…30 с).
В распылительной сушилке материал подается в камеру 2 через форсунку 3. Сушильный агент движется параллельным током с материалом по коллектору 4. Подсушенный материал поступает на вибрационный гранулятор, выполненный в виде подпружиненного сверху и снизу пружинами 13 вибрирующего лотка 5 с сетчатым днищем 6 и шаровой насадкой 7, приводимого в колебания виброприводом 11. Корпус 1 в месте расположения вибропривода выполнен разъемным с подпружиненными пружинами 12 частями. Под тяжестью шаровой насадки материал продавливается сквозь сетчатое днище, а под действием вибрации лотка и силы тяжести самих частиц происходит отрыв последних, одинаковых по величине. Затем частицы попадают в нижнюю часть корпуса, где установлена газораспределительная решетка 8 с патрубком 9 для подачи вторичного теплоносителя. Здесь материал досушивается в режиме кипящего слоя и в виде гранул одинакового размера выпускается через течку 10.
Мелкие твердые частицы высушенного материала (размером до нескольких микрон) отводятся через коллектор, расположенный между распылительной камерой 2 и корпусом 1, и поступают в выходной коллектор, а оттуда – сначала в акустическую установку, где происходит акустическая агломерация мелких частиц, а затем в циклон и в рукавный фильтр (на чертеже не показан). Отработанный сушильный агент после очистки от пыли в циклоне и рукавном фильтре выбрасывается в атмосферу.
Форсунка 3 работает следующим образом.
Жидкость подается по отверстию в штуцере 27 и через Т-образную дроссельную шайбу 26 поступает одновременно по двум направлениям: во-первых в винтовую внешнюю полость 32 шнека 22 через дроссельные отверстия 26, и во-вторых – в отверстие 31 с винтовой нарезкой через дроссельное отверстие 33. Вращающийся поток жидкости из винтовой внешней полости 32 шнека 22 поступает в камеру смешения, состоящую из цилиндрической 28 и конической 30 частей. С другой стороны, в камеру смешения поступает жидкость из отверстия 31 с винтовой нарезкой, совершая вращение в сторону, противоположную внешнему потоку, идущему по шнеку 22, либо совершая попутное (одинаковое) вращение. При взаимодействии вращающихся потоков в камере смешения происходит дополнительное дробление капель жидкости за счет их соударения в попутных или противоположно вращающихся потоках жидкости (внешнего и внутреннего). Суммарный мелкодисперсный вращающийся поток выходит через дроссельное отверстие 29, причем направление его вращения определяется гидравлическим сопротивлением соответственно внешней 32 или внутренней винтовых полостей 31 шнека 22.
Шнек 22 форсунки может быть выполнен из твердых материалов: карбида вольфрама, рубина, сапфира. При среднем диаметре дроссельного отверстия 29, находящемся в диапазоне 2,5…3,5 мм, и давлении жидкости 6…9 МПа обеспечивается распыление от 400 до 1000 кг/ч жидкости. Форсунка проста в изготовлении и обслуживании.
Напряжение по испаряемой влаге для данной сушилки в 2,5…3 раза больше, чем для сушилок с обычным газораспределением. Распыление может осуществляться пневматическими форсунками или с помощью центробежных распылителей (на чертеже не показано), скорость вращения которых составляет 4000…20000 оборотов в мин.
Пневматические форсунки работают по принципу распыления жидкости высокоскоростной струей газа или пара, подаваемого под давлением 0,1…1,0 МПа. Производительность форсунок достигает 12 т/ч; они отличаются высокой универсальностью в отношении регулирования формы факела, производительности, дисперсности распыла и возможностей распыления высоковязких паст и суспензий. Распылительные сушилки работают также по принципам противотока и смешанного тока. Однако прямоток особенно распространен, так как позволяет производить сушку при высоких температурах без перегрева материала, причем скорость осаждения частиц складывается в этом случае из скорости их витания и скорости сушильного агента. Распылительные сушилки такого типа применяются для сушки растворов, суспензий и пастообразных материалов.
Формула изобретения
1. Установка для сушки растворов, суспензий и пастообразных материалов, содержащая сушильную камеру с расположенным в центральной части вибрационным гранулятором, в корпусе которой в его верхней части размещена распылительная камера, снабженная форсункой и коллектором для подачи теплоносителя, систему подачи раствора и систему очистки отработанного теплоносителя, а система газораспределения оборудована двумя газораспределителями: верхним и нижним, при этом верхний газораспределитель подводит теплоноситель к корню факела распыла и предназначен для равномерного распределения теплоносителя по факелу распыленного материала, а нижний газораспределитель позволяет вводить теплоноситель в нижнюю часть корпуса, где установлена газораспределительная решетка с патрубками для подачи вторичного теплоносителя и течка для выхода гранул, причем вибрационный гранулятор выполнен в виде вибрирующего лотка с сетчатым днищем, отличающаяся тем, что форсунка содержит корпус с камерой, в которой расположен шнек с винтовой внешней канавкой, причем в днище корпуса выполнено дроссельное отверстие, а в верхней части размещен штуцер с цилиндрическим отверстием, причем внутри шнека выполнено отверстие с винтовой нарезкой, а под шнеком расположена камера смешения, состоящая из цилиндрической и конической частей, причем шнек жестко связан с Т-образной дроссельной шайбой, в торцевой цилиндрической части которой выполнены, по крайней мере, три дроссельных отверстия, а в жестко с ней связанной осевой цилиндрической части – осевое дроссельное отверстие, причем гидравлическое сопротивление дроссельных отверстий подбирается в зависимости от свойств распыливаемого раствора и требуемой степени его распыла.
2. Установка по п.1, отличающаяся тем, что коэффициент перфорации сетчатого днища равен 0,3…0,5, при этом на днище посредством пружин упруго закреплена перфорированная плита с коэффициентом перфорации, равным 0,5…0,7, а вибропривод имеет блок управления, с помощью которого изменяют направление, амплитуду и частоту вибрации в требуемом оптимальном диапазоне параметров работы гранулятора: уровень вибрации в диапазоне 100…120 дБ, частота колебательного процесса в диапазоне 50…100 Гц.
3. Установка по п.1, отличающаяся тем, что направление винтовой нарезки отверстия, выполненного внутри шнека форсунки, одинаково или противоположно направлению винтовой внешней канавки шнека.
4. Установка по п.1, отличающаяся тем, что шнек форсунки выполнен из твердых материалов: карбида вольфрама, рубина, сапфира.
РИСУНКИ
|
|