|
| На основании пункта 1 статьи 1366 части четвертой Гражданского кодекса Российской Федерации патентообладатель обязуется заключить договор об отчуждении патента на условиях, соответствующих установившейся практике, с любым гражданином Российской Федерации или российским юридическим лицом, кто первым изъявил такое желание и уведомил об этом патентообладателя и федеральный орган исполнительной власти по интеллектуальной собственности. |
|
(21), (22) Заявка: 2007108914/06, 13.03.2007
(24) Дата начала отсчета срока действия патента:
13.03.2007
(46) Опубликовано: 10.10.2008
(56) Список документов, цитированных в отчете о поиске:
SU 879221 A1, 07.11.1981. SU 476424 А, 05.07.1975. SU 370423 А, 25.04.1973. SU 985647 A1, 30.12.1982. РОМАНКОВ П.Г., Рашковская Н.Б. Сушка во взвешенном состоянии. – Ленинградское отделение издательства “Химия”, 1968, с.100, рис.11-33.
Адрес для переписки:
123458, Москва, ул. Твардовского, 11, кв.92, О.С. Кочетову
|
(72) Автор(ы):
Кочетов Олег Савельевич (RU), Кочетова Мария Олеговна (RU), Кочетов Сергей Савельевич (RU), Кочетов Сергей Сергеевич (RU), Костылева Анастасия Витальевна (RU), Боброва Екатерина Олеговна (RU)
(73) Патентообладатель(и):
Кочетов Олег Савельевич (RU)
|
(54) РАСПЫЛИТЕЛЬНАЯ СУШИЛКА ДЛЯ ЖИДКИХ ПРОДУКТОВ В КИПЯЩЕМ СЛОЕ ИНЕРТНЫХ ТЕЛ
(57) Реферат:
Изобретение относится к сушильным устройствам и может быть использовано в пищевой, химической, нефтехимической, медицинской, фармацевтической и других отраслях промышленности. Распылительная сушилка для жидких продуктов в кипящем слое инертных тел содержит корпус с газораспределительной решеткой, распылитель жидкого продукта и расположенный над решеткой ворошитель, причем в корпусе горизонтально установлен ротор с приводом и лопастями, который имеет возможность радиальной регулировки над ворошителем в слое инертных тел, отличается тем, что ротор, выполненный в виде жестко закрепленной на корпусе оси с вращающейся на ней втулкой с лопастями, приводится в движение реечной парой, состоящей из зубчатого кругового венца, закрепленного на лопастях ворошителя, и реечной шестерни, выполненной на роторе, причем количество лопастей ворошителя выбирается равным не менее трех, а крепление к корпусу, выполненному в виде конической втулки, ворошителя осуществляется посредством крепежных элементов, каждая из форсунок выполнена центробежной и содержит корпус с камерой, в которой расположен шнек с винтовой внешней канавкой, причем в днище корпуса выполнено дроссельное отверстие, а в верхней части размещен штуцер с цилиндрическим отверстием, причем внутри шнека выполнено отверстие с винтовой нарезкой, а под шнеком расположена камера смешения, состоящая из цилиндрической и конической частей, причем шнек жестко связан с Т-образной дроссельной шайбой, в торцевой цилиндрической части которой выполнены, по крайней мере, три дроссельных отверстия, а в жестко с ней связанной осевой цилиндрической части – осевое дроссельное отверстие, причем гидравлическое сопротивление дроссельных отверстий подбирается в зависимости от свойств распыливаемого жидкого продукта и требуемой степени его распыла. Технический результат – интенсификация тепломассообмена при использовании в качестве инертных тел затравочных кристаллов. 2 з.п. ф-лы, 3 ил.
Изобретение относится к сушильным устройствам и может быть использовано в пищевой, химической, нефтехимической, медицинской, фармацевтической и других отраслях промышленности.
Известна распылительная сушилка для растворов и суспензий в кипящем слое инертных тел по а.с. СССР №879221, F26B 17/10, 1980 г., содержащая корпус с газораспределительной решеткой, распылитель жидкого продукта и расположенный над решеткой ворошитель, причем в корпусе горизонтально установлен ротор с приводом и лопастями, который имеет возможность радиальной регулировки над ворошителем в слое инертных тел (прототип).
Недостатком известной сушилки является недостаточно высокая интенсивность теплообмена.
Технический результат – интенсификация тепломассообмена при использовании в качестве инертных тел затравочных кристаллов.
Это достигается тем, что в распылительной сушилке для жидких продуктов в кипящем слое инертных тел, содержащей корпус с газораспределительной решеткой, распылитель жидкого продукта и расположенный над решеткой ворошитель, причем в корпусе горизонтально установлен ротор с приводом и лопастями, который имеет возможность радиальной регулировки над ворошителем в слое инертных тел, согласно изобретению ротор, выполненный в виде жестко закрепленной на корпусе оси с вращающейся на ней втулкой с лопастями, приводится в движение реечной парой, состоящей из зубчатого кругового венца, закрепленного на лопастях ворошителя, и реечной шестерни, выполненной на роторе, причем количество лопастей ворошителя выбирается равным не менее трех, а крепление к корпусу, выполненному в виде конической втулки, ворошителя осуществляется посредством крепежных элементов, каждая из форсунок выполнена центробежной и содержит корпус с камерой, в которой расположен шнек с винтовой внешней канавкой, причем в днище корпуса выполнено дроссельное отверстие, а в верхней части размещен штуцер с цилиндрическим отверстием, причем внутри шнека выполнено отверстие с винтовой нарезкой, а под шнеком расположена камера смешения, состоящая из цилиндрической и конической частей, причем шнек жестко связан с Т-образной дроссельной шайбой, в торцевой цилиндрической части которой выполнены, по крайней мере, три дроссельных отверстия, а в жестко с ней связанной осевой цилиндрической части – осевое дроссельное отверстие, причем гидравлическое сопротивление дроссельных отверстий подбирается в зависимости от свойств распыливаемого жидкого продукта и требуемой степени его распыла.
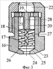
На фиг.1 представлена распылительная сушилка для жидких продуктов в кипящем слое инертных тел, на фиг.2 – схема роторного узла, на фиг.3 – форсунка для распыливания жидких продуктов.
Распылительная сушилка для жидких продуктов в кипящем слое инертных тел содержит цилиндрический корпус 1, газораспределительную решетку 2, воздуховод 3 для подачи нагретого воздуха, ворошитель 4, установленный на валу 5 в подшипниках 13, закрепленных на газораспределительной решетке 2. Вал 5 приводится во вращение приводом 6 и фиксируется гайкой на корпусе 14 ворошителя. На крышке 7 сушилки расположена форсунка 8.
Центробежная форсунка 8 (фиг.3) состоит из корпуса 16, внутри которого расположен шнек 17. Внешняя поверхность шнека 17 представляет собой винтовую канавку с правой (или левой) нарезкой. Внутри шнека 17 выполнено отверстие 26 с левой (или правой) винтовой нарезкой. В днище корпуса 16 выполнено дроссельное отверстие 24, ось которого совпадает с осью отверстия 26 в шнеке 17. Между нижним торцом шнека 17 и срезом дроссельного отверстия 24 расположена камера смешения, состоящая из цилиндрической 23 и конической 25 частей.
Шнек 17 жестко связан с Т-образной дроссельной шайбой 20, в торцевой цилиндрической части 19 которой выполнены, по крайней мере, три дроссельных отверстия 21, а в жестко с ней связанной осевой цилиндрической части – осевое дроссельное отверстие 28. Гидравлическое сопротивление дроссельных отверстий 21 и 28 подбирается в зависимости от свойств распыливаемой жидкости и требуемой степени ее распыла.
Подача раствора (жидкости) осуществляется через отверстие в штуцере 22, закрепленном в верхней части корпуса 16 через торцевую цилиндрическую часть 19 Т-образной дроссельной шайбы 20.
Над лопастями 15 ворошителя 4 установлен ротор в виде оси 10 с вращающейся на ней втулкой с лопастями 9, приводимый в движение реечной парой, состоящей из зубчатого кругового венца 11, закрепленного на лопастях 15 ворошителя 4, и реечной шестерней 12, выполненной на роторе. Ось ротора жестко закреплена на корпусе 1, под форсункой 8. Количество лопастей 15 ворошителя 4 выбирается равным не менее трех, а крепление к корпусу 14 ворошителя, выполненному в виде конической втулки, осуществляется посредством крепежных элементов (на чертеже не показано).
Над газораспределительной решеткой 2 расположено выгрузочное окно 11.
Распылительная сушилка для жидких продуктов в кипящем слое инертных тел работает следующим образом.
На газораспределительную решетку 2 засыпается слой затравочных кристаллов. Под газораспределительную решетку 2 по воздуховоду 3 подается нагретый воздух. Включается ворошитель 4, который перемешивает кристаллы. Через форсунку 8 в корпус подается жидкий раствор продукта, например сахарный раствор. Форсунка 8 распыляет жидкий продукт до тонкодисперсного состояния, который напыляется на слой перемешиваемых затравочных кристаллов. В процессе сушки происходит обволакивание затравочных кристаллов продуктом, наращивание слоя кристаллов и образующихся гранул на газораспределительной решетке 2. По мере достижения определенной высоты слоя образующихся гранул на перфорированном днище начинается выгрузка их через окно 11.
Постепенно происходит замещение затравочных кристаллов на образующиеся гранулы. После вывода затравочных кристаллов в качестве новых центров кристаллизации используются обломки образующихся гранул продукта. Одновременно с подачей продукта через центробежную форсунку 8 посредством реечного привода включается в работу ротор с лопастями 9.
Центробежная форсунка 8 для распыливания жидкостей работает следующим образом.
Жидкость подается по отверстию в штуцере 22 и через Т-образную дроссельную шайбу 20 поступает одновременно по двум направлениям: во-первых, в винтовую внешнюю полость 27 шнека 17 через дроссельные отверстия 21, и, во-вторых, в отверстие 26 с винтовой нарезкой через дроссельное отверстие 28. Вращающийся поток жидкости из винтовой внешней полости 27 шнека 17 поступает в камеру смешения, состоящую из цилиндрической 23 и конической 25 частей. С другой стороны в камеру смешения поступает жидкость из отверстия 26 с винтовой нарезкой, совершая вращение в сторону, противоположную внешнему потоку, идущему по шнеку 17, либо совершая попутное (одинаковое) вращение. При взаимодействии вращающихся потоков в камере смешения происходит дополнительное дробление капель жидкости за счет их соударения в попутных или противоположно вращающихся потоках жидкости (внешнего и внутреннего). Суммарный мелкодисперсный вращающийся поток выходит через дроссельное отверстие 24, причем направление его вращения определяется гидравлическим сопротивлением соответственно внешней 27 или внутренней винтовых полостей 26 шнека 17. Шнек 17 форсунки может быть выполнен из твердых материалов: карбида вольфрама, рубина, сапфира. При среднем диаметре дроссельного отверстия 24, находящемся в диапазоне 2,5…3,5 мм и давлении жидкости 6…9 МПа, обеспечивается распыление от 400 до 1000 кг/ч жидкости. Форсунка проста в изготовлении и обслуживании. Лопасти ротора погружены в слой кристаллов (гранул). При вращении лопасти ротора захватывают кристаллы (гранулы) и разбрасывают их веерообразно в факел распыляемого форсункой 8 продукта. При таком направленном разбрасывании кристаллов (гранул) происходит увеличение поверхности контакта кристаллов (гранул) с подаваемым через форсунку 8 продуктом.
Формула изобретения
1. Распылительная сушилка для жидких продуктов в кипящем слое инертных тел, содержащая корпус с газораспределительной решеткой, распылитель жидкого продукта и расположенный над решеткой ворошитель, причем в корпусе горизонтально установлен ротор с приводом и лопастями, который имеет возможность радиальной регулировки над ворошителем в слое инертных тел, отличающаяся тем, что ротор, выполненный в виде жестко закрепленной на корпусе оси с вращающейся на ней втулкой с лопастями, приводится в движение реечной парой, состоящей из зубчатого кругового венца, закрепленного на лопастях ворошителя, и реечной шестерни, выполненной на роторе, причем количество лопастей ворошителя выбирается равным не менее трех, а крепление к корпусу, выполненному в виде конической втулки, ворошителя, осуществляется посредством крепежных элементов, каждая из форсунок выполнена центробежной и содержит корпус с камерой, в которой расположен шнек с винтовой внешней канавкой, причем в днище корпуса выполнено дроссельное отверстие, а в верхней части размещен штуцер с цилиндрическим отверстием, причем внутри шнека выполнено отверстие с винтовой нарезкой, а под шнеком расположена камера смешения, состоящая из цилиндрической и конической частей, причем шнек жестко связан с Т-образной дроссельной шайбой, в торцевой цилиндрической части которой выполнены, по крайней мере, три дроссельных отверстия, а в жестко с ней связанной осевой цилиндрической части – осевое дроссельное отверстие, причем гидравлическое сопротивление дроссельных отверстий подбирается в зависимости от свойств распиливаемого жидкого продукта и требуемой степени его распыла.
2. Сушилка по п.1, отличающаяся тем, что направление винтовой нарезки отверстия, выполненного внутри шнека форсунки, одинаково или противоположно направлению внешней винтовой канавки шнека.
3. Сушилка по п.1, отличающаяся тем, что шнек форсунки выполнен из твердых материалов: карбида вольфрама, рубина, сапфира.
РИСУНКИ
|
|