|
|
(21), (22) Заявка: 2005127961/06, 11.02.2004
(24) Дата начала отсчета срока действия патента:
11.02.2004
(30) Конвенционный приоритет:
13.02.2003 DE 10305929.6
(43) Дата публикации заявки: 27.01.2006
(46) Опубликовано: 10.10.2008
(56) Список документов, цитированных в отчете о поиске:
DE 9307895 А, 22.07.1993. GB 2351341 А, 27.12.2000. US 5722823 А, 03.03.1998. RU 2172447 C2, 27.07.1999. SU 1721397 A1, 23.03.1992. RU 2056590 C1, 20.03.1996.
(85) Дата перевода заявки PCT на национальную фазу:
13.09.2005
(86) Заявка PCT:
EP 2004/001243 (11.02.2004)
(87) Публикация PCT:
WO 2004/072554 (26.08.2004)
Адрес для переписки:
191186, Санкт-Петербург, а/я 230, “АРС-ПАТЕНТ”, пат.пов. В.М.Рыбакову, рег. № 90
|
(72) Автор(ы):
ХАППЕ Барбара (DE), БЛАНК Юрген (DE)
(73) Патентообладатель(и):
МЕРТИК МАКСИТРОЛЬ ГМБХ ЕНД КО. КГ (DE)
|
(54) СПОСОБ И УСТРОЙСТВО ДЛЯ РОЗЖИГА ГАЗОВОГО ПОТОКА
(57) Реферат:
Изобретение относится к способу и устройству для розжига газового потока, которые должны обеспечить возможность зажигания в режиме дистанционного управления. Кроме того, необходимый потребляемый электрический ток должен быть незначительным для обеспечения возможности использования встраиваемого источника напряжения. Это достигается тем, что с помощью приведения в действие устройства управления, питающегося от источника напряжения, открывается термоэлектрический клапан системы безопасного розжига и зажигается выходящий газ. Указанный термоэлектрический клапан системы безопасного розжига поддерживается в открытом состоянии посредством электромагнита системы безопасного розжига с помощью тока удержания от источника напряжения до тех пор, пока термоэлемент после произошедшего зажигания газового потока не обеспечит необходимый ток удержания, или не будет превышена установленная выдержка времени. Такие способ и устройство позволят обеспечить возможность розжига в режиме дистанционного управления, возможность применения встраиваемого источника напряжения и упростить конструкцию устройства. 2 н. и 2 з.п. ф-лы, 4 ил.
Область техники
Данное изобретение относится к способу розжига газового потока и устройству для осуществления данного способа, которые могут применяться в газорегулировочной арматуре газовых отопительных печей.
Уровень техники
Известны многочисленные варианты исполнения газорегулировочной арматуры газовых отопительных печей или аналогичных установок. Эти устройства предназначены для розжига (зажигания) и регулирования газового потока, поступающего к горелке.
Из патентного документа GB 2351341 А известно клапанное устройство для управления розжигом газовой горелки. Шток управления вручную перемещается в положение зажигания, при этом открывается клапан газовой системы безопасного розжига. Удержание штока управления в этом положении требуется лишь кратковременно, так как при перемещении штока управления включается микровыключатель. Включение микровыключателя обеспечивает подачу напряжения от блока питания для удержания магнитной вставки. Процесс зажигания производится посредством искры пьезоэлектрического устройства зажигания. Блок питания выключается, когда величина термоэлектрического тока, поступающего от термоэлемента, становится достаточной для удержания клапана газовой системы безопасного розжига в открытом состоянии.
Данное решение имеет недостаток, заключающийся в том, что приведение в действие клапанного устройства возможно только вручную, что неудобно, в частности, при неблагоприятном расположении устройства, либо при необходимости более частого приведения устройства в действие. Кроме того, необходимы дополнительные затраты на осуществление пьезоэлектрического искрового зажигания. Существует также проблема, заключающаяся в том, что, в частности, при увеличенной длине трубопровода между клапаном газовой системы безопасного розжига и отверстием горелки, к моменту времени зажигания у отверстия горелки еще может не присутствовать газовая смесь, способная к зажиганию, так как промежуток времени между моментом открытия клапана системы безопасного розжига и моментом зажигания относительно короткий.
В патентном документе DE 9307895 U описан многофункциональный клапан с термоэлектрическим устройством безопасности для газовых горелок отопительных установок. Для работы данного многофункционального клапана используется имеющееся напряжение электрической сети помещения. Для зажигания газового потока нажатием кнопки производится возбуждение электромагнитного клапана, при этом открывается клапан газовой системы безопасного розжига. Одновременно производится зажигание газового потока. Термоэлемент, расположенный в зоне пламени зажженного газа, нагревается, возникший при этом термоэлектрический ток возбуждает магнитную вставку. Электромагнит притягивает якорь и, таким образом, удерживает соединенный с якорем клапан системы безопасного розжига в открытом состоянии. Теперь кнопку можно отпустить, возбуждение электромагнитного клапана прекращается.
Недостаток данного способа заключается в том, что кнопку необходимо держать в нажатом состоянии до тех пор, пока клапан газовой системы безопасного розжига не будет удерживаться в открытом состоянии благодаря термоэлектрическому току. Другим недостатком является необходимость поддержания в течение этого времени электромагнитного клапана в возбужденном состоянии за счет питания напряжением электрической сети, при этом потребляемый ток относительно высокий.
Раскрытие изобретения
В основе изобретения лежит проблема разработки способа розжига газового потока и устройства для осуществления этого способа, которые обеспечивают возможность розжига в режиме дистанционного управления. Кроме того, необходимый потребляемый ток должен быть настолько малым, чтобы обеспечивалась возможность применения встраиваемого источника напряжения. Конструкция устройства должна быть по возможности простой.
Согласно изобретению проблема решается благодаря тому, что для розжига газового потока с помощью приведения в действие электронного блока управления, питание которого производится от источника напряжения, осуществляется управление электромагнитом системы безопасного розжига (эту систему называют также автоматикой безопасности) посредством генерации тока удержания для поддержания открытого состояния термоэлектрического клапана системы безопасного розжига, запирающего газовый поток. Как только электромагнит системы безопасного розжига возбужден, кратковременно импульсом напряжения возбуждается другой электромагнит, благодаря чему тяга управления производит открытие клапана системы безопасного розжига и фиксирует при этом якорь электромагнита системы безопасного розжига. Якорь удерживается за счет тока удержания, поступающего от источника напряжения, до тех пор, пока термоэлемент после произошедшего зажигания газового потока не будет поставлять необходимый ток удержания либо не будет превышена установленная выдержка времени.
Для решения данной задачи устройство для розжига газового потока состоит из электронного устройства управления, питающегося от источника напряжения, термоэлектрического клапана системы безопасного розжига, блокирующего газовый поток, электромагнита системы безопасного розжига и тяги управления, соосной с клапаном системы безопасного розжига. При этом диск клапана системы безопасного розжига установлен на штоке клапана и нагружен возвратной пружиной в направлении закрытия. Со штоком клапана жестко соединен якорь электромагнита системы безопасного розжига. Катушка электромагнита системы безопасного розжига, с одной стороны, включена в цепь тока термоэлемента, нагреваемого газовым пламенем, и, с другой стороны, управляется электронным устройством управления.
Тяга управления, соосная с клапаном системы безопасного розжига, может перемещаться посредством электромагнита в продольном направлении, противоположном воздействию силы возвратной пружины настолько, чтобы фиксировался якорь электромагнита системы безопасного розжига, а диск клапана находился в открытом состоянии. Электромагнит соединен с электронным устройством управления и может возбуждаться посредством импульса напряжения на время длительности импульса.
Кроме того, имеется блок привода, который посредством выключателя управляет расходом газа, поступающего к главной горелке.
Таким образом, было найдено решение, которое устраняет названные выше недостатки рассмотренного уровня техники. Розжиг газового потока возможен посредством кратковременного приведения в действие электронного устройства управления. При этом за счет только импульсного приведения в действие электромагнита, независимо от длительности приведения в действие устройства управления, получается очень незначительное потребление электрического тока. Кроме того, можно отказаться от источника напряжения для образования запальной искры, таким образом, возможно исключение дополнительных затрат на пьезоэлектрическое устройство зажигания.
Дополнительные преимущественные варианты осуществления изобретения вытекают из зависимых пунктов формулы изобретения.
Преимущественное осуществление способа обеспечивается, если при уже горящем запальном пламени указанные шаги пропускаются, а электронное устройство управления производит управление блоком привода таким образом, что увеличивается количество газа, поступающего к главной горелке. Благодаря тому, что при горящем запальном пламени автоматически увеличивается количество газа, поступающего к главной горелке, могут быть упрощены конструкция устройства и управление им.
Вследствие незначительного потребления электрического тока оказалось, кроме того, особенно выгодным, когда даже при обеспечении достаточного срока службы источник напряжения состоит из батареи, которая по своим размерам может быть выполнена настолько малогабаритной, что она вместе с электронным устройством управления может находиться в пульте дистанционного управления.
Краткий перечень чертежей
Способ зажигания газового потока и устройство для осуществления способа согласно изобретению более подробно объясняются далее на примере исполнения. Пример исполнения показывает в схематическом изображении газопроводную арматуру системы регулирования газовой отопительной печи с соответствующим изобретению устройством для зажигания газового потока.
На чертежах показаны:
на фиг.1 – исполнение газорегулировочной арматуры системы регулирования в закрытом состоянии, изображение устройства в разрезе,
на фиг.2 – исполнение газорегулировочной арматуры системы регулирования в активированном режиме пуска, изображение устройства в разрезе,
на фиг.3 – исполнение газорегулировочной арматуры системы регулирования в состоянии зажигания, изображение устройства в разрезе,
на фиг.4 – исполнение газорегулировочной арматуры системы регулирования в открытом состоянии, изображение устройства в разрезе.
Осуществление изобретения
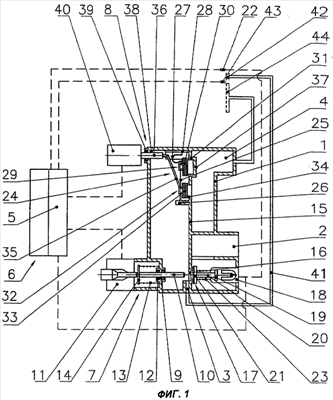
Показанный на фиг.1 пример исполнения газорегулировочной арматуры согласно изобретению является прибором для коммутации и регулирования, который предназначен преимущественно для встраивания в отапливаемую газом печь с естественной тягой или аналогичный объект. Данный прибор обеспечивает управление горелкой и контроль над ней посредством регулирования количества газа, поступающего к горелке. В этом примере исполнения горелка состоит из запальной горелки 42 и главной горелки 44.
Прибор для регулирования подачи газа состоит из корпуса 1, который имеет вход 2 газа, выход 3 запального газа и выход 4 главного газа. В корпусе 1 находятся отдельные функциональные блоки.
Для управления работой прибора служит электронное устройство 5 управления, которое в этом примере исполнения вместе с источником напряжения находится в отдельном независимом корпусе пульта 6 дистанционного управления.
В изображенном газорегулировочном приборе размещены следующие функциональные блоки:
– пусковой блок 7 с системой безопасного розжига,
– блок 8 управления количеством газа, поступающего к главной горелке 44.
В пусковом блоке 7 на опоре 9 в корпусе 1 установлена тяга 10 управления, подвижная в продольном направлении, привод которой производится посредством электромагнита 11, установленного на корпусе 1, по команде с пульта 6 дистанционного управления, причем посредством, например, кольца 12 круглого сечения обеспечивается необходимая газонепроницаемость.
Движение в продольном направлении возможно при этом только против усилия возвратной пружины 13, опирающейся на корпус 1. Исходное положение, принимаемое под воздействием силы возвратной пружины 13, обеспечивается посредством находящейся на тяге 10 управления контропоры 14, которая в исходном положении прилегает к упору, не показанному на чертеже. Конец тяги 10 управления входит внутрь корпуса 1.
Внутреннее пространство корпуса 1 разделяется посредством перегородки 15 на различные камеры. В осевом продолжении тяги 10 управления перегородка 15 имеет первое отверстие 16, которое относится к клапану 17 системы безопасного розжига. На клапан 17 системы безопасного розжига в месте опоры в корпусе 1 оказывает воздействие термоэлектрический электромагнит 18 системы безопасного розжига, установленный с обеспечением газонепроницаемости, который находится по потоку ниже входа 2 газа. Термоэлектрический электромагнит 18 системы безопасного розжига воздействует на якорь 19, который жестко соединен со штоком 20 клапана, на котором укреплен диск 21 клапана 17 системы безопасного розжига. Электромагнит 18 системы безопасного розжига может возбуждаться посредством электронного устройства 5 управления, а также посредством термоэлемента 22, на который воздействует запальное пламя.
Конструкция и принцип действия электромагнита 18 системы безопасного розжига в целом известны специалистам, таким образом, от подробного описания можно отказаться. Следует только еще отметить, что возвратная пружина 23 стремится оттянуть якорь 19 посредством диска 21 клапана, используемого в качестве опоры пружины, от электромагнита 18 системы безопасного розжига.
В направлении потока за пусковым блоком 7 внутри корпуса 1 находится выключатель 24. Выключатель 24 имеет подвижную пружину 25 с двойной прорезью на одной стороне, которая, с одной стороны, своими двумя наружными концами на разрезной стороне опирается на имеющуюся в корпусе 1 первую опору 26, а, с другой стороны, своей неразрезной стороной соединена с лирообразной пружиной 27, которая, в свою очередь, опирается на имеющуюся в корпусе 1 вторую опору 28. На стороне, обращенной к лирообразной пружине 27, в первом направляющем отверстии находится относящийся к первому клапану 29 первый закрывающий элемент 30, взаимодействующий с первым клапанным седлом 31, расположенным в перегородке 15. Далее, на пружинном язычке, расположенном между обоими наружными концами подвижной пружины 25, находится относящийся ко второму клапану 32 и находящийся во втором направляющем отверстии второй закрывающий элемент 33, взаимодействующий с имеющимся в перегородке 15 вторым клапанным седлом 34. Находящийся в корпусе 1 рычаг 35, который нагружается толкателем 36, воздействует своим вторым концом на язычок подвижной пружины 25. Ход выключателя определяется не показанными на чертеже упорами, ограничивающими движение подвижной пружины 25.
Выключатель 24 выполнен таким образом, чтобы обеспечивалось модулирующее управление посредством клапана 32 в режиме скачкообразного включения и выключения в диапазоне частичных нагрузок посредством клапана 29. При этом ограничивается поток через сечение находящегося в перегородке отверстия 37 в режиме частичной нагрузки.
Толкатель 36, имеющий возможность продольного перемещения и соединенный с выключателем 24 с силовым замыканием, выступает из корпуса 1, в котором одновременно имеется для него опора 38. Посредством, например, кольца 39 круглого сечения обеспечивается необходимая герметизация для исключения выхода газа наружу. Толкатель 36 своим обращенным к выключателю 24 концом соединен с блоком 40 привода, который подробно не описывается, так как является известным для специалистов. Управление блоком 40 привода производится с пульта 6 дистанционного управления посредством электронного устройства 5 управления.
Для осуществления способа посредством пульта 6 дистанционного управления производится приведение в действие устройства 5 управления. При уже горящем запальном пламени благодаря электронному запальному блоку 5 происходит немедленное управление блоком 40 привода. С помощью способа, описываемого более подробно ниже, обеспечивается увеличение газового потока, поступающего к главной горелке 44.
Если запальное пламя не горит, из соображений безопасности перед зажиганием посредством электронного устройства 5 управления дополнительно производится проверка блока 40 привода на предмет, закрыты ли оба клапана 29, 32 и, соответственно, выполняется ли управление этими клапанами таким образом, чтобы оба клапана 29, 32 закрывались. После этого с помощью электрического импульса приводится в действие электромагнит 11 для перемещения тяги управления 10 в направлении клапана 17 системы безопасного розжига и открытия клапана настолько, чтобы якорь 19 прилегал к электромагниту 18 системы безопасного розжига (фиг.2). Кроме того, посредством электронного устройства 5 управления возбуждается электромагнит 18 системы безопасного розжига, таким образом, с момента времени встречи якоря 19 с электромагнитом 18 системы безопасного розжига якорь 19 удерживается за счет протекающего тока удержания в этом положении, т.е. в открытом состоянии клапана 17 системы безопасного розжига, в то время как тяга управления 10 вновь занимает исходное положение благодаря снятию возбуждения электромагнита 11 после окончания импульса и за счет воздействия возвратной пружины 13. С этого момента запальный газ может поступать через трубопровод запального газа 41 к запальной горелке 42, где он поджигается с помощью запального электрода 43 (фиг.3).
За счет горящего запального пламени происходит нагрев термоэлемента 22. Величина возникающего термоэлектрического тока проверяется электронным устройством 5 управления. Как только величина термоэлектрического тока становится достаточной для удержания якоря 19, ток удержания, поступающий от источника напряжения, отключается.
Если в течение заданного времени зажигание запального газа не происходит, посредством электронного устройства 5 управления ток удержания, поступающий от источника напряжения, отключается, при этом прекращается возбуждение электромагнита 18 системы безопасного розжига, и закрывается клапан 17 системы безопасного розжига.
После того как загорается запальное пламя, посредством пульта 6 дистанционного управления и электронного устройства 5 управления возможно приведение в действие блока 40 привода. Благодаря этому известным способом размыкается выключатель 24, в результате происходит мгновенный отрыв от седла 31 клапана закрывающего элемента 30. Ограниченное постоянное количество газа через отверстие 37 протекает через выход 4 главного газа к главной горелке 44 и зажигается посредством запального пламени. Пламя обеих горелок имеет минимальную высоту. При дальнейшем приведении в действие блока 40 привода поток газа, поступающий к горелке главного газа 44, равномерно увеличивается, так как с этого момента закрывающий элемент 33 приподнимается с седла 34 клапана, благодаря чему обеспечивается равномерное увеличение количества газа, протекающего через клапан 32. Выключатель 24 находится с этого момента в области модулирования, а клапан 32 равномерно открывается до тех пор, пока не будет обеспечено максимальное количество газа (фиг.4).
Способ и устройство для осуществления способа согласно изобретению безусловно не ограничены представленным примером исполнения. Возможны различные изменения, вариации и комбинации без выхода за рамки изобретения.
Так, само собой разумеется, что газопроводная арматура системы регулирования может иметь кроме указанных блоков дополнительные функциональные блоки, например регулятор давления и т.д. Передача управляющих сигналов от пультов дистанционного управления может осуществляться также с помощью общеизвестных способов: инфракрасного света, ультразвука, радиоволн и т.д.
Кроме того, возможно исполнение, при котором пульт 6 дистанционного управления отсутствует, а электронное устройство 5 управления находится на корпусе 1 или в самом корпусе.
Формула изобретения
1. Способ розжига газового потока, при котором с помощью приведения в действие электронного устройства (5) управления, питающегося от источника напряжения, производят управление электромагнитом (18) системы безопасного розжига посредством генерирования тока для удержания термоэлектрического клапана (17) системы безопасного розжига, запирающего газовый поток, в открытом состоянии, а электромагнит (11) кратковременно возбуждают импульсом напряжения таким образом, что тяга (10) управления открывает клапан (17) системы безопасного розжига и фиксирует при этом якорь (19) электромагнита (18) системы безопасного розжига, который затем удерживается током удержания, поступающим от источника напряжения, до тех пор, пока термоэлемент (22) после произошедшего зажигания газового потока не обеспечит необходимый ток удержания, или не будет превышена установленная выдержка времени.
2. Способ по п.1, отличающийся тем, что при уже горящем запальном пламени осуществляют немедленное управление блоком (40) привода таким образом, чтобы увеличивалось количество газа, поступающего к главной горелке (44).
3. Устройство для розжига газового потока для осуществления способа, заявленного в п.1 или 2, состоящее из:
электронного устройства (5) управления, питающегося от источника напряжения;
термоэлектрического клапана (17) системы безопасного розжига, запирающего газовый поток, причем диск (21) этого клапана установлен на штоке (20) клапана и нагружен возвратной пружиной (23) в направлении закрытия;
электромагнита (18) системы безопасного розжига, катушка которого включена, с одной стороны, в цепь тока термоэлемента (22), нагреваемого пламенем газа, и, с другой стороны, управляется электронным устройством (5) управления, а якорь (19) электромагнита (18), жестко соединен со штоком (20) клапана;
тяги (10) управления, соосной с клапаном (17) системы безопасного розжига, которая с помощью электронного устройства (5) управления может кратковременно приводиться в действие посредством импульса напряжения в направлении, противоположном усилию возвратной пружины (13), и перемещаться в продольном направлении таким образом, чтобы фиксировался якорь (19) электромагнита (18) системы безопасного розжига, а диск (21) клапана находился в открытом состоянии, и блока (40) привода, который посредством выключателя (24) обеспечивает управление количеством газа, поступающего к главной горелке (44).
4. Устройство по п.3, отличающееся тем, что источник напряжения состоит из батареи.
РИСУНКИ
|
|