|
|
(21), (22) Заявка: 2007112573/06, 04.04.2007
(24) Дата начала отсчета срока действия патента:
04.04.2007
(46) Опубликовано: 10.10.2008
(56) Список документов, цитированных в отчете о поиске:
RU 2199699 С2, 27.03.2003. SU 1252614 A1, 23.08.1986. SU 1589023 A1, 30.08.1990. RU 22531 U1, 10.04.2002. EP 0045377 A, 10.02.1982.
Адрес для переписки:
191123, Санкт-Петербург, ул. Захарьевская, 22, ВИТУ, бюро по изобретательству и патентной работе
|
(72) Автор(ы):
Евдомашко Дмитрий Евгеньевич (RU), Печеник Руслан Александрович (RU), Тучков Владимир Кириллович (RU), Пинтюшенко Андрей Дмитриевич (RU), Герцман Лев Ефимович (RU)
(73) Патентообладатель(и):
Военный инженерно-технический университет (RU)
|
(54) УТИЛИЗАТОР ТЕПЛА УХОДЯЩИХ ГАЗОВ
(57) Реферат:
Изобретение относится к теплообменной технике и может быть использовано в металлургической промышленности и в котлостроении для утилизации уходящих газов. Утилизатор тепла уходящих газов содержит тепловые трубы, выполненные с кольцевыми поперечными сечениями и со сквозными центральными каналами, соединенными с газоподводящим патрубком, при этом конденсационные участки труб расположены в воздуховоде, а испарительные – в газоходе, батарейный циклон. Выходы центральных каналов тепловых труб сообщены с нижней частью газохода, с которой также сообщены входы циклонных элементов батарейного циклона, снабженные закручивателями, а их выходы присоединены к патрубкам, размещенным в газоходе между тепловыми трубами, к верхним концам патрубков примыкает перекрывающая межтрубное пространство перегородка с отверстиями, соосными с отверстиями патрубков, причем перегородка расположена в плоскости, наклоненной под таким углом к горизонту, чтобы обеспечивать направление потоков очищенного в циклонных элементах газа из патрубков в направлении к выходному патрубку газохода примерно с одинаковыми скоростями. В утилизаторе не только используется тепло уходящих газов для подогрева воздуха, но и осуществляется эффективная очистка газов от твердых аэрозольных частиц. 1 ил.
Изобретение относится к теплообменной технике и может быть использовано в котлостроении и в металлургической промышленности для утилизации тепла уходящих газов.
Известен утилизирующий тепло уходящих газов воздухоподогреватель (а.с. СССР №1252614, кл. F24L 15/04, 1985 г.), содержащий тепловые трубы, конденсационные участки которых расположены в воздуховоде, а испарительные – в газоходе, при этом тепловые трубы выполнены с кольцевыми поперечными сечениями и со сквозными центральными каналами, через полости которых газоход сообщен с газоподводящим патрубком.
Недостатком такого воздухоподогревателя является невозможность очистки от аэрозольных частиц уходящих газов перед их поступлением в дымовую трубу.
Известен утилизирующий тепло уходящих газов воздухоподогреватель (в дальнейшем – утилизатор) (патент РФ №2199699, кл. F24L 15/04, 2001 г.) – ближайший аналог, содержащий тепловые трубы, выполненные с кольцевыми поперечными сечениями и со сквозными центральными каналами, соединенными с газоподводящим патрубком, при этом конденсационные участки труб расположены в воздуховоде, а испарительные – в газоходе, батарейный циклон, ко входам циклонных элементов которого присоединены выходы центральных каналов.
Недостатком такого утилизатора является невысокая эффективность очистки уходящих газов от аэрозольных частиц, которые попадают вместе с газами в дымовую трубу, при этом часть аэрозольных пылевых частиц оседает в газоходе.
Задачей заявляемого изобретения является создание утилизатора, позволяющего не только утилизировать тепло уходящих газов для нагрева воздуха, но при этом осуществлять с высокой эффективностью очистку уходящих газов от аэрозольных частиц, а также исключить осаждение этих частиц (пыли) в газоходе.
Поставленная задача решается за счет того, что в утилизаторе (воздухоподогревателе), содержащем тепловые трубы, выполненные с кольцевыми поперечными сечениями и со сквозными центральными каналами, соединенными с газоподводящим патрубком, при этом конденсационные участки труб расположены в воздуховоде, а испарительные – в газоходе, батарейный циклон, выходы центральных каналов тепловых труб сообщены с нижней частью газохода, с которой также сообщены входы циклонных элементов батарейного циклона, снабженные закручивателями, а их выходы присоединены к патрубкам, размещенным в газоходе между тепловыми трубами. К верхним концам патрубков примыкает перекрывающая межтрубное пространство перегородка с отверстиями, соосными с отверстиями патрубков, причем перегородка расположена в одной плоскости, наклоненной под таким углом к горизонту, чтобы обеспечивать направление потоков очищенного в циклонных элементах газа из патрубков в направлении к выходному патрубку газохода примерно с одинаковыми скоростями.
Такая конструкция утилизатора позволяет осуществлять более эффективную очистку уходящих газов за счет использования циклонных элементов, снабженных закручивателями, а соединение выходов циклонных элементов с патрубками, размещенными в газоходе между тепловыми трубами, к верхним концам патрубков примыкает перегородка с отверстиями, соосными с отверстиями патрубков, причем перегородка расположена в плоскости под таким углом к горизонту, что обеспечивает направление выходящих из патрубков потоков очищенного газа непосредственно к выходу из газохода примерно с одинаковыми скоростями, поэтому легкие аэрозольные частицы (пыль), не задержанные циклонными элементами, не осаждаются в газоходе. При этом уходящие газы охлаждаются в тепловых трубах, омывающим их воздухом, проходящим через воздуховод, отдавая ему тепло.
(Циклоны с закручивателями представлены, например, в «Справочнике по пылезолоулавливанию» под редакцией А.А.Русанова, М.: Энергия, 1975, на рис.2.7 б)
Из изложенного следует, что при реализации заявляемого технического решения достигается положительный результат, заключающийся в более эффективной очистке от аэрозольных частиц уходящих газов, предварительно охлажденных в тепловых трубах, одновременно с утилизацией тепла уходящих газов для нагрева воздуха, кроме того такая конструкция утилизатора препятствует осаждению пыли (легких аэрозольных частиц) в газоходе.
Анализ аналогов показал, что заявляемое техническое решение является новым. Новизна данного решения заключается в том, что выходы центральных каналов тепловых труб сообщены с нижней частью газохода, с которой также сообщены входы циклонных элементов, снабженные закручивателями, а их выходы присоединены к патрубкам, размещенным в газоходе между тепловыми трубами, к верхним концам патрубков примыкает перекрывающая межтрубное пространство перегородка с отверстиями, соосными с отверстиями патрубков, причем перегородка расположена в плоскости, наклоненной под таким углом к горизонту, чтобы обеспечивать направление потоков газа из патрубков в направлении к выходному патрубку газохода примерно с одинаковыми скоростями.
Таким образом, заявляемое техническое решение характеризуется новой совокупностью существенных признаков, дающих положительный эффект и обладающих признаками соответствия критерию «изобретательский уровень».
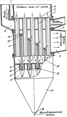
На чертеже представлен предлагаемый утилизатор, содержащий тепловые трубы 1, конденсационные участки 2 которых расположены в воздуховоде 3, а испарительные участки 4 – в газоходе 5. Тепловые трубы 1 сообщены с газоподводящим патрубком 6 и выполнены с кольцевыми поперечными сечениями и сквозными центральными каналами 7, через полости которых газоход 5 сообщен с газоподводящим патрубком 6. Выходы тепловых труб 1 сообщены с нижней частью газохода 5, с которой сообщены также входы 8 циклонных элементов 9 с закручивателями 10. Циклонные элементы 9 являются элементами батарейного циклона 11. Выходы 12 циклонных элементов 9 присоединены к патрубкам 13, размещенным в газоходе 5 между тепловыми трубами 1. К верхним концам патрубков 13 примыкает перегородка 14 с отверстиями 15, соосными с отверстиями патрубков. Перегородка 14 расположена в плоскости под таким углом к горизонту, чтобы выходящие через отверстия 15 потоки очищенного газа были направлены к выходному патрубку 16 газохода 5 примерно с одинаковыми скоростями. Батарейный циклон 11 снабжен бункером 17 с выходным отверстием 18 для удаления накопившихся твердых аэрозольных частиц.
Утилизатор работает следующим образом. Уходящие газы от котла через газоподводящий патрубок 6 направляются в центральные каналы 7 тепловых труб 1, оставляя часть тепла последним. Нагнетаемый в воздуховод 3 воздух получает тепло, омывая конденсационные участки 2 тепловых труб 1. Выходящие из центральных каналов 7 газы поступают в нижнюю часть газохода 5, а оттуда – на входы 8 циклонных элементов 9. Проходя через закручиватели 10 циклонных элементов 9, газы очищаются от твердых аэрозольных частиц, ссыпающихся из циклонных элементов 9 в бункер 17 батарейного циклона 11, оттуда они по мере накопления удаляются через отверстие 18. Очищенные от твердых аэрозольных частиц газы с выходов 12 циклонных элементов 9 поступают в патрубки 13, размещенные в газоходе 5 между испарительными участками 4 тепловых труб 1, выходят из отверстий 15 перегородки 14 и, омывая испарительные участки 4 тепловых труб 1, нагревая их, направляются в выходной патрубок 16 газохода 5 примерно с одинаковыми скоростями. При этом не происходит выпадения аэрозольных легких твердых частиц (пыли) в газоходе 5, так как эти частицы уносятся потоком газа в дымовую трубу.
Заявляемый утилизатор является промышленно применимым, так как содержит применяемое по патенту РФ №2199699 устройство, дополненное элементами, выпускаемыми промышленностью (циклонные элементы с закручивателями на входах) и деталями, не представляющими сложностей при изготовлении и монтаже.
Предлагаемый утилизатор по принципу действия, обеспечиваемому новой совокупностью существенных признаков, позволяет осуществлять утилизацию тепла уходящих газов и при этом эффективно очищать их от аэрозольных твердых частиц и избежать осаждения легких частиц (пыли) в газоходе.
Формула изобретения
Утилизатор тепла уходящих газов, содержащий тепловые трубы, выполненные с кольцевыми поперечными сечениями и со сквозными центральными каналами, соединенными с газоподводящим патрубком, при этом конденсационные участки труб расположены в воздуховоде, а испарительные – в газоходе, батарейный циклон, отличающийся тем, что выходы центральных каналов тепловых труб сообщены с нижней частью газохода, с которой также сообщены входы циклонных элементов батарейного циклона, снабженные закручивателями, а их выходы присоединены к патрубкам, размещенным в газоходе между тепловыми трубами, к верхним концам патрубков примыкает перекрывающая межтрубное пространство перегородка с отверстиями соосными с отверстиями патрубков, причем перегородка расположена в плоскости, наклоненной под таким углом к горизонту, чтобы обеспечивать направление потоков, очищенного в циклонных элементах газа из патрубков в направлении к выходному патрубку газохода примерно с одинаковыми скоростями.
РИСУНКИ
MM4A – Досрочное прекращение действия патента СССР или патента Российской Федерации на изобретение из-за неуплаты в установленный срок пошлины за поддержание патента в силе
Дата прекращения действия патента: 05.04.2009
Извещение опубликовано: 20.09.2010 БИ: 26/2010
|
|