|
|
(21), (22) Заявка: 2005118381/03, 15.06.2005
(24) Дата начала отсчета срока действия патента:
15.06.2005
(43) Дата публикации заявки: 20.12.2006
(46) Опубликовано: 10.10.2008
(56) Список документов, цитированных в отчете о поиске:
DE 3224054 А1, 29.12.1983. RU 2086023 С1, 27.07.1997. GB 1558135 А, 19.12.1979. US 6084147 А, 04.07.2000. СОБОЛЕВ И.А, ХОМЧИК Л.М. Обезвреживание РАО на централизованных пунктах. – М.: ЭНЕРГОАТОМИЗДАТ, 1983, с.19-34.
Адрес для переписки:
113312, Москва, ул. Вавилова, 31, корп.1, кв.84, А.Д. Старостину
|
(72) Автор(ы):
Авраменко Александр Владимирович (RU), Двоскин Григорий Исакович (RU), Красюкова Ирина Борисовна (RU), Родионов Константин Владимирович (RU), Старостин Алексей Дмитриевич (RU)
(73) Патентообладатель(и):
Авраменко Александр Владимирович (RU), Двоскин Григорий Исакович (RU), Красюкова Ирина Борисовна (RU), Родионов Константин Владимирович (RU), Старостин Алексей Дмитриевич (RU)
|
(54) СПОСОБ УТИЛИЗАЦИИ ОРГАНОСОДЕРЖАЩИХ ТВЕРДЫХ ОТХОДОВ, ЗАГРЯЗНЕННЫХ РАДИОАКТИВНЫМИ КОМПОНЕНТАМИ
(57) Реферат:
Изобретение относится к области переработки радиоактивных отходов. Способ утилизации органосодержащих твердых отходов, загрязненных радиоактивными компонентами, включает термическое разложение без доступа кислорода органических компонентов отходов в камере термического разложения, сжигание образующихся запыленных газов пиролиза с образованием дымовых газов, снижение температуры газов в теплообменнике и очистку дымовых газов в системе пылеочистки. Кроме того, он включает очистку от пыли и промывку образующихся дымовых газов жидкостью. При этом образующийся в камере термического разложения при пиролизе отходов коксовый остаток сжигают с использованием воздуха на колосниковой решетке, расположенной под камерой термического разложения, образовавшуюся золу выгружают в герметичную емкость. Технический результат заключается в возможности получения тепловой энергии при сжигании радиоактивных отходов. 1 ил.
Изобретение относится к области утилизации органосодержащих отходов, загрязненных радиоактивными компонентами (спецодежда, фильтры и т.д.), образующихся в ходе технологических процессов.
Известен способ утилизации твердых отходов, загрязненных радиоактивными компонентами, включающий сжигание отходов в шахтной печи, содержащей горелочное устройство с подводом избыточного количества воздуха [1].
Недостатком данного способа является то, что, поскольку сжигание отходов производится за счет работы горелочного устройства с избытком воздуха и подачей дымовых газов на слой материала, весь технологический процесс проходит под избыточным давлением, в результате чего существует возможность неконтролируемого выхода радиоактивных материалов в атмосферу.
Другим недостатком данного способа является отсутствие устройств, предотвращающих возможность попадания в атмосферу радиоактивных компонентов при загрузочно-разгрузочных операциях, а также несоответствие конструктивного исполнения отдельных узлов требованиям ядерной безопасности.
Наиболее близким к предлагаемому способу по совокупности существенных признаков, достаточных для достижения технического результата, является способ утилизации органосодержащих твердых радиоактивных отходов, загрязненных радиоактивными компонентами, включающий термическое разложение без доступа кислорода – пиролиз органических компонентов отходов в камере термического разложения, сжигание образующихся запыленных газов пиролиза с образованием дымовых газов, снижение температуры дымовых газов в теплообменнике и очистку дымовых газов в системе пылеочистки, включающей очистку от пыли и промывку образующихся дымовых газов жидкостью [2].
Данный способ предусматривает швелевание (пиролиз) при температуре 450-600°С, сжигание при температуре 1000-1200°С образующихся швельгазов с недостатком воздуха, пропускание образовавшихся дымовых газов через реакционную зону, заполненную угольной засыпкой, охлаждение швельгаза в теплообменнике, очистку его от пыли и использование его в качестве источника энергии для поддержания процесса, объединение выделенной из швельгаза радиоактивной пыли и коксового остатка из реактора пиролиза и их сбор в специальную емкость для последующего хранения. Этот способ обеспечивает уменьшение объема отходов в 10 раз.
В результате анализа данного способа можно отметить ряд его недостатков, один из которых заключается в том, что он не предотвращает попадания в атмосферу радиоактивных компонентов при загрузочно-разгрузочных операциях и при нештатном повышении давления в системе, осуществляющей этот способ. В последнем случае это связано с тем, что вся система постоянно находится под разрежением, создаваемым вентилятором, и поэтому существует возможность засасывания в систему (в частности, в реактор-пиролизер) воздуха, который в смеси с швельгазом образует взрывоопасную смесь. Возгорание такой смеси (хлопок) приводит к кратковременному повышению давления в системе, вследствие чего возможем выброс в окружающую среду радиоактивных компонентов через воздухозаборные каналы, поскольку они не оснащены соответствующими средствами защиты.
Другим недостатком данного способа является отсутствие операции и соответствующих устройств для дожига до золы органической составляющей коксозольного остатка, выводимого из реактора-пиролизера. Количество коксозольного остатка при пиролизе отходов указанного состава (древесина, текстиль, резина и т.п.) составляет примерно 30% от исходной массы отходов. При этом масса зольного остатка, в котором сосредотачивается основное количество радиоактивных компонентов, составляет только 8-10%.
Недостатком способа является также то, что сжигание швельгаза с недостатком воздуха приводит к образованию повышенного количества сажи, которая в виде шлама улавливается в газопромывателе и далее выводится на захоронение, что также увеличивает объем отходов, подлежащих цементации.
К недостатку способа можно также отнести отсутствие устройств для докисления обязательно присутствующих в дымовых газах остатков горючих компонентов, например СО и сажи.
Задачей данного изобретения является такая утилизация отходов, загрязненных радиоактивными компонентами, которая исключает возможность попадания этих компонентов в атмосферу, позволяет использовать с пользой энергию, полученную в результате утилизации теплового потенциала органической части отходов, а также позволяет снизить объем отходов, подлежащих захоронению.
Поставленная задача решается тем, что в способе утилизации органосодержащих твердых отходов, загрязненных радиоактивными компонентами, включающем термическое разложение без доступа воздуха (пиролиз) органических компонентов отходов в камере термического разложения, сжигание образующихся запыленных газов пиролиза с образованием дымовых газов, снижение температуры дымовых газов в теплообменнике и очистку дымовых газов в системе пылеочистки, включающей сухую очистку от пыли и промывку образующихся дымовых газов и их промывку жидкостью; коксовый остаток, образующийся в камере термического разложения при пиролизе, сжигают с использованием воздуха на колосниковой решетке, расположенной под камерой термического разложения, образовавшуюся золу выгружают в герметичную емкость, газы пиролиза смешивают с воздухом и сжигают в топке, дымовые газы пропускают через картридж каталитического дожигателя, а затем направляют в теплообменник, далее дымовые газы направляют в систему пылеочистки, где очищают в циклоне, а затем промывают жидкостью в скруббере, уловленный в скруббере шлам направляют на повторный пиролиз в камеру термического разложения, очищенные дымовые газы через дымосос выбрасывают в атмосферу, все операции, включая загрузку отходов и выгрузку промежуточных продуктов через боксы, осуществляют под разрежением, создаваемым дымососом, расположенным на выходе из установки, воздухозабор осуществляют через воздухозаборные каналы, оснащенные фильтрами с обратными клапанами.
Перечисленные выше признаки в данном способе являются существенными, так как они достаточны для того, чтобы отличить данный способ утилизации органосодержащих твердых отходов, загрязненных радиоактивными отходами от всех известных аналогичных способов утилизации органосодержащих твердых отходов, и при наличии указанных признаков добиваемся получения положительного эффекта, а именно: исключение попадания загрязненных радиоактивных компонентов в атмосферу при их утилизации, использование с пользой энергии, полученной в результате утилизации теплового потенциала органической части отходов, а также снижение объема отходов, подлежащих захоронению.
Термическое разложение (пиролиз) отходов в бескислородной атмосфере позволяет перевести основную массу содержащей в отходах органики в газообразное состояние, концентрируя тем самым основное количество радиоактивных компонентов в твердом остатке. Дожигание коксового остатка позволяет сконцентрировать в золе более 80% исходных радиоактивных отходов и уменьшает объем золы, подлежащей захоронению.
Комплексная пылеочистка позволяет обеспечить остаточную радиоактивность дымовых газов в пределах диапазона допустимых значений, а повторный пиролиз шлама также позволяет сконцентрировать основную часть радиоактивности в золе.
Исключается возможность выхода радиоактивных компонентов в ходе технологического процесса за счет работы всей технологической цепочки под разрежением, создаваемым дымососом, расположенным на выходе из установки, а также за счет применения во всех воздухозаборных каналах фильтров с обратными клапанами. Снижение температуры дымовых газов в теплообменнике позволяет получить тепловую энергию в виде горячей воды или воздуха, и тем самым использовать тепловой потенциал органических отходов.
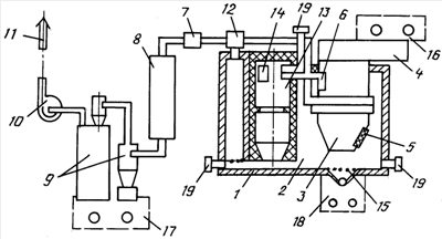
На чертеже представлена схема установки, реализующей данный способ.
Установка содержит термореактор 1, состоящий из обогревательной камеры 2 с размещенной в ней камерой 3 термического разложения, которая снабжена загрузочным устройством 4, устройством 5 для выгрузки коксозольного остатка и каналом 6 для вывода газообразных продуктов термического разложения, каталитический дожигатель 7, теплообменник 8, систему 9 газоочистки, дымосос 10, дымовую трубу 11. В обогревательную камеру 2 также входит газораспределительное устройство 12, вертикальная циклонная топка 13, имеющая горелку 14, и колосниковая решетка 15. Узлы загрузки отходов и выгрузки золы и шлама снабжены боксами 16, 17 и 18. Все воздухозаборные каналы установки оснащены фильтрами 19 с обратными клапанами. В конструкции установки соблюдены требования ядерной безопасности в части объемов и размеров ее элементов.
Установка, реализующая данный способ, работает следующим образом.
Твердые отходы сначала размещают в боксе 16, находящемся под разрежением, а затем перемещают в загрузочное устройство 4. Далее их направляют в камеру 3 термического разложения, представляющую собой металлическую реторту, обогреваемую снаружи дымовыми газами, образующимися от сжигания внешнего топлива в горелке 14. Отходы нагревают до конечной температуры 650-700°С без доступа кислорода. В процессе нагрева происходит их термическое разложение (пиролиз), в результате которого образуется примерно 60-70% газообразных горючих газов и 30-40% коксозольного остатка.
Газообразные продукты пиролиза за счет тяги дымососа 10 через канал 6 поступают в топку 13. В топке они смешиваются с необходимым количеством воздуха, в результате чего происходит их сжигание. Образовавшиеся дымовые газы за счет тяги дымососа 10 последовательно просасываются через картридж каталитического дожигателя 7, в котором происходит низкотемпературное доокисление остатков органических соединений, теплообменник 8, где осуществляется снижение температуры газов до уровня 150-120°С, и далее поступают в систему 9 пылеочистки. В системе пылеочистки осуществляется сначала очистка дымовых газов от пыли в «сухом» циклоне, а затем их промывают жидкостью в «мокром» скруббере.
Очищенные дымовые газы поступают в дымосос 10, через который они выбрасываются в атмосферу. Выгрузка уловленной пыли из циклона системы 9 производится по мере ее накопления в герметичную емкость через бокс 17, находящийся под разрежением. Утилизация этой пыли производится по специальной технологии. Сбор и выгрузка шлама из скруббера системы 9 производится через тот же бокс 17 в текстильные или пластиковые мешки. Загруженные в мешки шламы направляются снова в камеру 3 термического разложения. Образовавшийся в результате пиролиза коксозольный остаток по мере накопления в камере 3 выгружается через устройство выгрузки 5 на колосниковую решетку 15, под которую за счет тяги дымососа 10 поступает атмосферный воздух для сжигания этих остатков. Оставшаяся после сгорания неорганическая часть коксозольного остатка (зола) выводится из-под решетки 15 специальным транспортным устройством через бокс 18, находящийся под разрежением.
Выгрузка золы производится в герметичную емкость, а ее утилизация осуществляется по специальной технологии.
Пример конкретного выполнения.
Утилизирована партия отходов, содержащих радиоактивные компоненты следующего морфологического состава (мас.%): резина – 87%, ветошь – 10%, бумажные отходы+фильтры Петрянова+полиэтилен – 3%.
В качестве конечных продуктов процесса образовались дымовые газы, сухая зола и шлам.
Выход золы на исходное сырье – 4%, выход шлама – 0,5%.
Основные экологические показатели процесса.
Среднее содержание твердых взвешенных частиц в дымовых газах на выходе в атмосферу (после пылеочистки) – 6,34 мг/куб.м; среднесуточная -активность – 0,08 Бк/куб.м, -активность – 0,45 Бк/куб.м.
Среднее содержание радиоактивных компонентов в пыли из-под циклона «сухой» пылеочистки составляет 1,05-1,16 (мас.%), а в золе из-под колосниковой решетки – 15,9(мас.%).
Средняя радиоактивность загрязненной шламом жидкости в скруббере «мокрой» пылеочистки: -активность – 900 Бк/куб.м, -активность – 2350 Бк/куб.м.
По сравнению с запыленностью газа, – и -активности жидкости в скруббере значительно выше, что свидетельствует об эффективной очистке в нем газа от радиоактивных компонентов.
Таким образом, совокупность указанных выше существенных признаков в данном способе исключает попаданияе радиоактивных составляющих отходов в атмосферу за счет качественной их очистки, позволяет использовать с пользой энергию, полученную в результате утилизации теплового потенциала органической части отходов и позволяет снизить массу отходов, подлежащих захоронению.
Источники информации
1. Патент на полезную модель RU №22837 U1, F23G 5/08, 5/14, опубл. 20.12.2002.
2. Патент DE 3224054 A1, С21F 9/32, опубл. 29.12.1983.
Формула изобретения
Способ утилизации органосодержащих твердых отходов, загрязненных радиоактивными компонентами, включающий термическое разложение без доступа кислорода – пиролиз органических компонентов отходов в камере термического разложения, сжигание образующихся запыленных газов пиролиза с образованием дымовых газов, снижение температуры газов в теплообменнике и очистку дымовых газов в системе пылеочистки, включающей очистку от пыли и промывку образующихся дымовых газов жидкостью, отличающийся тем, что образующийся в камере термического разложения при пиролизе отходов коксовый остаток сжигают с использованием воздуха на колосниковой решетке, расположенной под камерой термического разложения, образовавшуюся золу выгружают в герметичную емкость, сжигают газы пиролиза в топке, где смешивают с воздухом, дымовые газы предварительно пропускают через картридж каталитического дожигателя, а затем направляют в теплообменник, далее, дымовые газы направляют в систему пылеочистки, где очищают в циклоне, а затем промывают жидкостью в скруббере, уловленный в скруббере шлам направляют на повторный пиролиз в камеру термического разложения, очищенные дымовые газы через дымосос выбрасывают в атмосферу, все операции, включая загрузку отходов и выгрузку промежуточных продуктов через боксы, осуществляют под разряжением, создаваемым дымососом, расположенным на выходе из установки, воздухозабор осуществляют через воздухозаборные каналы, оснащенные фильтрами с обратными клапанами.
РИСУНКИ
MM4A – Досрочное прекращение действия патента СССР или патента Российской Федерации на изобретение из-за неуплаты в установленный срок пошлины за поддержание патента в силе
Извещение опубликовано: 10.08.2009 БИ: 22/2009
|
|