|
|
(21), (22) Заявка: 2007132950/06, 03.09.2007
(24) Дата начала отсчета срока действия патента:
03.09.2007
(46) Опубликовано: 10.10.2008
(56) Список документов, цитированных в отчете о поиске:
RU 2172894 С2, 27.08.2001. RU 2116568 С1, 27.07.1998. RU 65179 U1 27.07.2007. SU 1310583 A1, 15.05.1985. GB 1256580 A, 08.12.1971. GB 1602196 A, 11.11.1981.
Адрес для переписки:
117218, Москва, ул. Новочеремушкинская, 21, корп.1, кв.191, Д.Л. Астановскому
|
(72) Автор(ы):
Астановский Дмитрий Львович (RU), Астановский Лев Залманович (RU), Вертелецкий Павел Васильевич (RU)
(73) Патентообладатель(и):
Астановский Дмитрий Львович (RU)
|
(54) ГАЗОВАЯ БЕСПЛАМЕННАЯ ГОРЕЛКА
(57) Реферат:
Изобретение относится к технике сжигания газообразных топлив, а также испаряемых жидких топлив в беспламенных нагревательных элементах для получения газообразного высокотемпературного теплоносителя и может быть использовано в энергетике, химической, нефтеперерабатывающей и газоперерабатывающей промышленности, а также в других отраслях в составе различных технологических установок и позволяет снизить содержание вредных примесей в продуктах сгорания. Горелка содержит корпус, в котором установлен контейнер, выполненный из двух концентрично расположенных перфорированных цилиндров, в полости между которыми находится насадка из зернистого огнеупорного материала. Топливо подается в контейнер с помощью газораспределительного устройства, образованного несколькими введенными в объем контейнера вертикальными трубками с односторонней перфорацией. 5 з.п. ф-лы, 2 ил.
Изобретение относится к технике сжигания газообразных топлив, а также испаряемых жидких топлив в беспламенных нагревательных элементах для получения газообразного высокотемпературного теплоносителя и может быть использовано в энергетике, химической, нефтеперерабатывающей и газоперерабатывающей промышленности, а также в других отраслях в составе различных технологических установок.
Для сжигания газообразных топлив применяются горелки с открытым пламенем (факельного типа) и беспламенные горелки (в том числе каталитические устройства).
Известен каталитический нагревательный элемент по патенту РФ №2062402, F23D 14/18 с пр. от 24.02.94 для сжигания углеводородных газов, содержащий газораспределительную перфорированную металлическую трубку, заглушенную с одной стороны, с размещенными на ее внешней поверхности распределителем и слоем катализатора, причем в качестве распределителя используется металлическая сетка или слой порометалла, спеченного со стенкой газораспределительной трубки. Катализатор выполнен в виде навитых на трубу армированных лент, имеющих поочередно плоскую и гофрированную формы и образующие проницаемые для газа каналы. Окислитель – кислород воздуха подводится в зону реакции, в зависимости от варианта исполнения элемента, за счет диффузии из окружающей среды или с помощью инжектора.
Основным недостатком этого нагревательного элемента является его ограниченная мощность и возможность значительного разогрева внутренней поверхности каталитического слоя из-за отсутствия теплосъема внутри нагревателя. Кроме того, выполнение слоя катализатора в виде навивки армированных плоских и гофрированных лент трудоемко в изготовлении, трудно поддается механизации из-за большого объема ручных работ, не позволяет обеспечить равномерное распределение сжигаемого газа или газовоздушной смеси по длине и периметру элемента, т.к. не может быть обеспечена достаточная точность навивки лент. Это, в свою очередь, приводит к снижению мощности, неполному окислению и образованию токсичных веществ.
Известен также каталитический нагревательный элемент по патенту РФ №2166696, F23D 14/18 с пр.от 03.03.2000, содержащий трубчатую конструкцию, выполненную в виде водоохлаждаемого трубчатого теплообменника; катализатора, расположенного на поверхности трубчатой конструкции и выполненного в виде набора газопроницаемых плоских и армированных лент, навитых на трубчатую конструкцию и спеченных с ней, а также газораспределительного устройства с узлом подачи газовоздушной смеси.
К недостаткам данного нагревательного элемента относятся смешение газообразного топлива и окислителя (воздуха) до поступления этих компонентов в нагревательный элемент (что приводит к образованию взрывоопасной смеси), а также то, что для теплоотвода используется вода, а следовательно, невозможно получение теплоносителя с достаточно высокой температурой. Кроме того, в изобретении в качестве катализатора применена навивка из плоских и гофрированных лент, недостаток которой показан выше, при рассмотрении предыдущего аналога.
Известно также каталитическое устройство для сжигания углеводородных смесей по патенту RU №2172894, F23D 14/18 с пр. от 28.03.1997, содержащее подводящую перфорированную газораспределительную трубку и расположенную коаксиально с ней металлопористую каталитически активную трубку с вставкой-сердечником, заглушкой-компенсатором и торцевыми колпачками, причем подводящая трубка выполнена с односторонней перфорацией, ориентированной отверстиями навстречу конвективному потоку воздуха.
Недостатком указанного каталитического устройства является организация подвода воздуха к нему только за счет естественной конвекции, что ограничивает производительность (тепловую мощность) устройства, а кроме того, не обеспечивается равномерное распределение газа и окислителя (воздуха), а следовательно, и температуры реакции окисления по объему катализатора (что может явиться причиной образования вредных примесей (СО, NOx и др.).
Наиболее близким к изобретению является выбранное в качестве прототипа беспламенное горелочное устройство по авт. св. №1312316, F23D 1/0 с пр. от 26.11.85, которое содержит заполненный слоем дисперсного материала (огнеупора) корпус с воздушным коллектором в нижней части, имеющим входные окна, и распределительной решеткой, соосно размещенную в корпусе газоподводящую трубу с золотниками, имеющую возможность перемещаться в осевом направлении, и заглушенный с торца цилиндрический насадок, расположенный в слое дисперсного материала, причем насадок снабжен расположенными по высоте рядами отверстий, суммарная площадь проходного сечения которых от ряда к ряду изменяется. При перемещении газоподводящей трубы часть выходных отверстий насадка перекрывается и тем самым изменяется количество газа, поступающего для сжигания. Входные окна воздушного коллектора также снабжены золотниками, которые перемещаются синхронно с золотниками, установленными на газоподводящей трубе, и поддерживают соответствующий расход воздуха.
К недостаткам этого устройства относятся следующие:
при таком исполнении устройства имеют место перекрестные потоки газа и воздуха (газ поступает в активный слой в радиальном, а воздух – в аксиальном направлении), следствием чего оказывается неодинаковая концентрация газовоздушной смеси по сечению и по высоте активного слоя, а поэтому реакция окисления в различных точках слоя протекает при разных температурах, что при определенных температурных условиях может привести к образованию вредных примесей (СО, NOx и т.п.);
узел регулирования расхода поступающего газа сложный и ненадежный: существует опасность заклинивания системы золотников даже при небольшом перекосе, а также в случае попадания частиц дисперсного материала, из которого выполнен активный слой, через отверстия в цилиндрическом насадке в зазор между поверхностью цилиндрического насадка и золотниками, что исключит возможность аксиального перемещения газоподводящей трубы и нарушит процесс регулирования; если же для предотвращения такого заклинивания между золотниками и цилиндрическим насадком предусмотрен достаточно большой зазор, то возможен переток части газа в полость воздушного коллектора с образованием взрывоопасной смеси.
Задачи настоящего изобретения – повышение эффективности и безопасности сжигания топлива в устройствах беспламенного типа с возможностью исключения образования вредных примесей за счет обеспечения равномерного распределения топлива и окислителя в зоне реакции окисления, исключения возможности образования взрывоопасной смеси вне зоны горения, простого и надежного способа регулирования теплопроизводительности устройства и адиабатической температуры горения известным способом путем разбавления окислителя отходящими дымовыми газами.
Поставленные задачи решаются путем создания следующей конструкции газовой беспламенной горелки.
Газовая беспламенная горелка содержит вертикальный цилиндрический корпус с патрубком в нижнем днище для подвода воздуха (окислителя);
внутри корпуса, вдоль его вертикальной оси, с кольцевым зазором, образующим воздушный коллектор, установлен контейнер, состоящий из двух укрепленных на донышке концентрично расположенных перфорированных цилиндров, заполненный насадкой из зернистого огнеупорного материала, сверху воздушный коллектор заглушен, а внутренний перфорированный цилиндр образует центральный цилиндрический канал, являющийся коллектором продуктов сгорания, причем в верхней части внутренний цилиндр подсоединен к укрепленному на верхней крышке корпуса патрубку отвода продуктов сгорания;
в корпусе также установлено газораспределительное устройство, состоящее из общей подводящей газовой трубы и присоединенных к ней нескольких заглушенных сверху газоподводящих трубок, вертикальные участки которых введены вблизи наружного перфорированного цилиндра в объем насадки, заполняющей контейнер, и имеют перфорацию, отверстия которой ориентированы в сторону вертикальной оси горелки.
Кроме того, для повышения эффективности работы горелки и обеспечения равномерного распределения топлива и окислителя, а также необходимой полноты сгорания путем увеличения пути компонентов газовоздушной смеси в объеме насадки, между наружным и внутренним перфорированными цилиндрами установлены направляющие перегородки, имеющие в поперечном сечении форму спирали Архимеда, которые разделяют насадку на отдельные каналы, причем количество перегородок равно количеству газоподводящих трубок газораспределительного устройства.
Кроме того, для обеспечения равномерного распределения истекающего газа по высоте газоподводящих трубок предпочтительно перфорацию выполнять таким образом, чтобы суммарная площадь проходного сечения отверстий по рядам увеличивалась от торца к основанию трубки.
Кроме того, предпочтительно соединение внутреннего перфорированного цилиндра с установленным на верхней крышке патрубком выполнять с возможностью перемещения одного относительно другого для компенсации температурных удлинений.
Кроме того, для обеспечения возможности автономного пуска горелки без использования внешнего источника греющей среды в нижней части корпуса может быть установлена вспомогательная пусковая горелка факельного типа с отдельным подводом газообразного топлива и запальным устройством, предназначенная для разогрева рабочей части газовой беспламенной горелки при ее пуске.
Кроме того, для интенсификации реакции окисления насадка может быть выполнена из каталитически активного материала.
Изобретение поясняется чертежами:
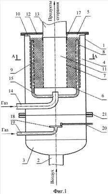
на фиг.1 схематично изображен общий вид горелки, продольный разрез;
на фиг.2 – поперечный разрез горелки по А-А на фиг.1.
Газовая беспламенная горелка содержит вертикальный цилиндрический корпус 1 с патрубком 2 на днище 3 для подвода воздуха (окислителя). Внутри корпуса 1, вдоль его вертикальной оси, с кольцевым зазором, образующим воздушный коллектор 4, установлен контейнер 5, состоящий из двух укрепленных на донышке 6 концентрично расположенных внутреннего и наружного перфорированных цилиндров соответственно 7 и 8 и заполненный насадкой 9 из огнеупорного зернистого материала, сверху воздушный коллектор 4 закрыт заглушкой 10. Внутренний перфорированный цилиндр 7 образует центральный цилиндрический канал 11, являющийся коллектором продуктов сгорания, причем в верхней части внутренний цилиндр 7 подсоединен к укрепленному на верхней крышке 12 корпуса 1 патрубку отвода продуктов сгорания 13.
В корпусе также установлено газораспределительное устройство, состоящее из общей подводящей газовой трубы 14 и присоединенных к ней нескольких заглушенных сверху газоподводящих трубок 15, вертикальные участки которых введены вблизи наружного перфорированного цилиндра 8 в объем насадки 9, заполняющей контейнер 5, и имеют перфорацию, отверстия которой ориентированы в сторону вертикальной оси горелки.
Для повышения эффективности работы горелки и равномерного распределения топлива и окислителя в зернистом слое, а также обеспечения необходимой полноты сгорания путем увеличения пути компонентов газовоздушной смеси в объеме насадки 9, между внутренним 7 и наружным 8 перфорированными цилиндрами установлены направляющие перегородки 16, имеющие в поперечном сечении форму спирали Архимеда, причем количество перегородок равно количеству газоподводящих трубок 15 газораспределительного устройства. Для обеспечения равномерного распределения истекающего газа по высоте газоподводящих трубок 15 перфорация выполнена таким образом, чтобы суммарная площадь проходного сечения отверстий по рядам увеличивалась от торца к основанию трубки. Для обеспечения компенсации температурных расширений стыковка внутреннего перфорированного цилиндра 6 с патрубком 13 выполнена с помощью телескопического соединения 17.
В нижней части корпуса 1 под контейнером 5 установлена вспомогательная горелка факельного типа 18 с отдельным подводом газообразного топлива 19 и запальным устройством 20, предназначенная для разогрева рабочей части газовой беспламенной горелки при ее пуске. Для обеспечения доступа к вспомогательной горелке 18 и запальному устройству 20 корпус 1 выполнен с фланцевым разъемом 21.
Предлагаемая горелка работает следующим образом.
Первоначальный запуск беспламенной горелки, до вывода ее на рабочий режим, проводится прогревом ее за счет факельного горения вспомогательной горелки 18, для чего по трубе 19 к вспомогательной горелке 18 подводят газ, а в корпус 1 через патрубок 2 подают воздух (окислитель) в количестве, необходимом для обеспечения процесса горения факела, после чего с помощью запального устройства 20 горелку 18 поджигают. Если газовая беспламенная горелка выполнена без вспомогательной (пусковой) горелки 18, то прогрев при пуске осуществляют, прокачивая через нее горячий газообразный теплоноситель (воздух или дымовые газы), поступающий от внешнего источника.
После того, как температура насадки 9, помещенной в контейнере 5, достигнет значения, при котором будет обеспечено устойчивое беспламенное горение газа, вспомогательную горелку 18 отключают, либо при ее отсутствии прекращают подачу горячего теплоносителя от внешнего источника, и через патрубок 2 подают окислитель (воздух), а через трубу 14 – газ. Воздух попадает в коллектор 4, откуда через перфорацию в наружном цилиндре 8 поступает во внутреннюю полость контейнера 5, заполненную насадкой 9. Одновременно через перфорацию в газоподводящих трубках 15 во внутреннюю полость контейнера 5 поступает газ. По мере движения газа и воздуха к оси горелки происходит смесеобразование и беспламенное сгорание газа. Установленные в контейнере 5 перегородки 16 направляют поток газовоздушной смеси от периферии к центру по спирали, благодаря чему увеличивается длина пути смеси в контакте с материалом насадки и более полное сжигание газа. Пройдя насадку, продукты сгорания через перфорацию во внутреннем цилиндре 7 попадают в центральный канал 11, откуда через патрубок 13 выводятся из горелки и направляются в качестве высокотемпературного теплоносителя в теплоприемник.
Достоинствами предлагаемой конструкции являются:
взрывобезопасность проведения процесса благодаря раздельному подводу газа и окислителя к горелке без предварительного смешения этих компонентов;
равномерное распределение газа и воздуха по высоте и поперечному сечению насадки;
эффективное использование объема насадки, а следовательно, и высокая производительность горелки благодаря тому, что газ и воздух вводятся в насадку потоками в одном и том же направлении (от периферии к центру), а поэтому смешение этих компонентов и реакция окисления начинаются непосредственно после поступления их в насадку;
более полное сжигание (окисление) топлива, в том числе без образования вредных примесей, являющееся результатом равномерного распределения топлива и окислителя благодаря наличию направляющих перегородок, увеличивающих длину пути газовоздушной смеси в зоне реакции окисления;
кроме того, благодаря установке вспомогательной горелки обеспечивается автономность использования устройства, т.к. для разогрева насадки при запуске не требуются внешние источники горячего газообразного теплоносителя или силового электропитания.
Формула изобретения
1. Газовая беспламенная горелка, содержащая вертикальный цилиндрический корпус с патрубком в нижнем днище для подвода воздуха (окислителя), в котором вдоль его вертикальной оси с кольцевым зазором, образующим воздушный коллектор, установлен контейнер, состоящий из двух укрепленных на донышке концентрично расположенных перфорированных цилиндров, заполненный насадкой из зернистого огнеупорного материала, сверху воздушный коллектор заглушен, а внутренний перфорированный цилиндр образует центральный цилиндрический канал, являющийся коллектором продуктов сгорания, причем в верхней части внутренний цилиндр подсоединен к укрепленному на верхней крышке корпуса патрубку отвода продуктов сгорания, и, кроме того, в корпусе также установлено газораспределительное устройство, состоящее из общей подводящей газовой трубы и присоединенных к ней нескольких заглушенных сверху газоподводящих трубок, вертикальные участки которых введены вблизи наружного перфорированного цилиндра в объем насадки, заполняющей контейнер, и имеют перфорацию, отверстия которой ориентированы в сторону вертикальной оси горелки.
2. Горелка по п.1, в которой между наружным и внутренним перфорированными цилиндрами установлены направляющие перегородки, имеющие в поперечном сечении форму спирали Архимеда, которые разделяют насадку на отдельные каналы, причем количество перегородок равно количеству газоподводящих трубок газораспределительного устройства.
3. Горелка по п.1, в которой газоподводящие трубки газораспределительного устройства выполнены с перфорацией, суммарная площадь проходного сечения отверстий которой по рядам увеличивается от торца к основанию трубок.
4. Горелка по п.1, в которой в нижней части корпуса под контейнером с насадкой установлена вспомогательная пусковая горелка факельного типа, снабженная запальным устройством и трубой для подвода газообразного топлива.
5. Горелка по п.1, в которой соединение внутреннего перфорированного цилиндра с установленным на верхней крышке корпуса патрубком отвода продуктов сгорания для компенсации температурных расширений выполнено с возможностью перемещения одного относительно другого.
6. Горелка по п.1, в которой насадка выполнена из каталитически активного материала.
РИСУНКИ
|
|