|
|
(21), (22) Заявка: 2007104161/06, 02.02.2007
(24) Дата начала отсчета срока действия патента:
02.02.2007
(46) Опубликовано: 10.10.2008
(56) Список документов, цитированных в отчете о поиске:
RU 99106148 А, 10.01.2001. RU 2190160 C2, 27.09.2002. CZ 2512 U, 15.12.1994. GB 1073543 A, 28.06.1967. SU 344221 A, 28.07.1972.
Адрес для переписки:
634034, г.Томск, ул. 19 Гвардейской дивизии, 17, НПП “МИЦ” А.Н. Иванову
|
(72) Автор(ы):
Гюнтер Виктор Эдуардович (RU), Чекалкин Тимофей Леонидович (RU), Проскурин Анатолий Владимирович (RU), Шеметов Виктор Петрович (RU), Иванов Александр Николаевич (RU)
(73) Патентообладатель(и):
Гюнтер Виктор Эдуардович (RU), Чекалкин Тимофей Леонидович (RU), Проскурин Анатолий Владимирович (RU), Шеметов Виктор Петрович (RU), Иванов Александр Николаевич (RU)
|
(54) ЛАБОРАТОРНАЯ СПИРТОВКА
(57) Реферат:
Изобретение относится к технике сжигания жидкого топлива. Устройство содержит резервуар для жидкого топлива, преимущественно спирта, фитиль, выполненный из проницаемо-пористого никелида титана с пористостью 8-65% и преимущественным размером пор в интервале 0,1-500 мкм. Равномерная капиллярная структура проницаемо-пористого материала обеспечивает ровное и стабильное горение пламени с повышенной температурой. Жаростойкие свойства никелида титана определяют практически неограниченный срок службы спиртовки. 4 ил.
Изобретение относится к технике сжигания жидкого топлива.
Пламенные нагревательные и осветительные устройства, использующие жидкое топливо, известны давно и широко распространены в быту и в технике.
Свечи и коптилки, осветительные лампы и керогазы, лабораторные спиртовки и устройства специального назначения используют фитильный механизм подачи топлива. Фитиль – это собранные в жгут волокна. Промежутки между ними образуют транспортные каналы для жидкости, которая перемещается вдоль них под действием капиллярных сил; в спиртовках – из резервуара топлива в зону горения. В простейшем случае фитиль изготавливают из хлопчатобумажных волокон в виде жгута или тканой ленты. Эксплуатация таких спиртовок сопряжена с необходимостью регулирования длины участка фитиля в зоне горения пламени и замены его при израсходовании в результате сгорания.
Известна спиртовка [ГОСТ 25336-82] для подогрева различных веществ в лабораторных условиях, в том числе в медицинской практике. В ней используют фитиль из асбестового шнура. Недостатками ее являются относительно низкая температура пламени, малый ресурс службы фитиля, технологическая сложность его производства.
В поисках продления ресурса спиртовки изобретены бесфитильные устройства – спиртовая горелка шведской компании Trangia [www.trangia.se/English].
Недостаток ее – сложная процедура запуска, повышенные требования к топливу.
Усовершенствование фитиля в традиционной схеме спиртовки с целью увеличения срока его службы осуществлялось в основном в направлении поиска подходящих материалов.
Известна спиртовка, включающая резервуар для жидкого топлива, преимущественно спирта, и фитиля для транспорта топлива, расположенного в держателе с возможностью регулирования длины пламяобразующего участка [Заявка на изобретение РФ №99106148]. В качестве материала фитиля выбраны стекловолокно, керамическое волокно, углеродное волокно. Скрученные в жгут, с добавлением связующего такие фитили вследствие своей жаростойкости имеют большой, но ограниченный срок службы. Волокнистая структура фитиля определяет струйную форму генерируемого пара и образуемого пламени. Вследствие этого высвобождающаяся энергия окисления (горения) в большой мере переходит в световую в ущерб тепловой. Температура пламени спиртовок с волокнистым фитилем не превышает 600°С.
Взрыхленный объем пламяобразующего участка фитиля хлопотно чистить от нагара и сажевых отложений, регулировать высоту расходуемого пламяобразующего участка. Технология производства тонких волокон из указанных материалов сложна и дорогостояща.
Технический результат предлагаемого изобретения – повышение температуры пламени, увеличение срока службы фитиля, упрощение обслуживания устройства.
Указанный технический результат достигается тем, что в лабораторной спиртовке, включающей резервуар для жидкого топлива, преимущественно спирта, и фитиль из жаростойкого материала с капиллярной структурой, в качестве жаростойкого материала выбран проницаемо-пористый сплав на основе никелида титана с пористостью 8-65% и преимущественным размером пор 0,1-500 мкм.
Работоспособность устройства обусловлена проницаемой пористостью материала, обеспечивающей транспорт жидкого топлива из резервуара в зону горения под действием капиллярных сил, которые, в свою очередь, обусловлены эффектами смачиваемости и поверхностного натяжения в капиллярных структурах. При вертикальной расположенности фитиля топливо поднимается к пламяобразующему участку, преодолевая силу веса. Необходимый баланс сил достигается выбором пористости и размеров проницаемых пор (т.е. капилляров). Для практически существующих габаритных размеров лабораторных спиртовок, т.е. заданной высоты подъема топлива, заданной жидкости – спирта и материала – никелида титана, с известными параметрами смачиваемости, подобраны интервалы пористости 8-65% и размеров пор 0,1-500 мкм, гарантирующие работоспособность.
Указанные параметры коррелированы через толщину межпоровых стенок. При этом размерность пор доминирует в степени зависимости от нее эффективности работы устройства. При уменьшении размеров пор и постоянной пористости увеличивается поверхность соприкосновения пористой матрицы и жидкости. Это приводит к увеличению пристеночного трения жидкости, т.е. снижению проницаемости материала. Т.о., на нижней границе интервала проницаемость становится недостаточной для поддержания эффективного горения и дальнейшее уменьшение размеров нецелесообразно. Верхний предел интервала размеров пор определен из условия сохранения высоты подъема жидкости и максимизации проницаемости.
Аналогичное обоснование имеет место для интервала пористости. Ниже нижнего предела снижается проницаемость объема, а выше верхнего подъемная сила капилляров недостаточна для преодоления веса жидкости. За счет анизотропной ориентации поровых выходов и, следовательно, лучшего перемешивания паров топлива с воздухом, а также предположительно за счет иной по сравнению с прототипом теплопроводности материала фитиля увеличивается температура пламени.
Никелид титана по жаропрочности и жаростойкости превосходит материалы прототипа. Фитиль, выполненный из него, практически безызносный. Поэтому ресурс самой спиртовки неопределяем. Эксплуатационные заботы сводятся к незатруднительному удалению возможных сажевых отложений с ровной и твердой поверхности пламяобразующего участка фитиля.
Технологическая программа изготовления фитиля сводится к синтезированию готового образца заданной формы, размеров и структуры из порошковых ингредиентов методом СВС-синтеза (самораспространяющегося высокотемпературного синтеза). Производство проницаемопористых сплавов никелида титана методом СВС-синтеза хорошо отработано и имеет относительно несложную технику [Гюнтер В.Э. и др. Сплавы с памятью формы в медицине. Изд-во Томск, ун-та, 1986, С.185-188].
Комплекс потребительских достоинств спиртовки, готовность ее к использованию для различных бытовых нужд, где нагреватели такого типа имеют штатное применение, свидетельствует о соответствии предложения критерию «промышленная применимость», а отсутствие в уровне техники совокупности признаков, увязанных с указанным техническим результатом, – критерию «изобретательский уровень».
На иллюстрациях представлено:
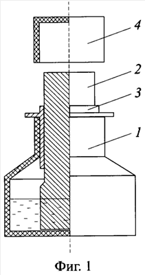
Фиг.1. Спиртовка лабораторная. Устройство в разрезе. 1 – резервуар для жидкого топлива, 2 – фитиль, 3 – держатель фитиля, 4 – защитный колпачок.
Фиг.2. Фитиль никелид-титановый, 5 – погружной участок, 6 – пламяобразующий участок.
Фиг.3. Распределение пор по размерам в материале фитиля.
Фиг.4. Спиртовка в действии.
Конкретным примером достижимости технического результата выполнена лабораторная спиртовка (фиг.1) со следующими техническими данными:
Стеклянный резервуар 1 рабочей емкостью 120 мл завершен горловиной с размещенным в ней держателем 3 фитиля 2. Внешний (пламяобразующий) участок 6 фитиля 2 выступает над торцом держателя 3 с возможностью регулирования его высоты и фиксации его в держателе плотной посадкой. Диаметр погружного участка 5 фитиля 2 равен внутреннему диаметру горловины и составляет 17 мм. Диаметр посадочного и пламяобразующего участков фитиля 13 мм. Габаритная длина фитиля 65 мм. Материал фитиля – проницаемо-пористый никелид титана, спеченный из порошковых ингредиентов методом СВС-синтеза в окончательных размерах без дополнительной обработки. Размеры пор в использованном образце подчиняются статистическому закону распределения, конкретный вид которого представлен на фиг.3. Пиковое значение содержания пор в единице объема соответствует интервалу размеров 70÷160 мкм. Измеренная интегральная пористость составила 35%.
Устройство работает и испытывалось следующим образом: после заправки резервуара этиловым спиртом и двухминутной паузы на пропитывание фитиля зажигают пламя над фитилем (фиг.4), в зоне испарения спирта и перемешивания паров с воздухом. Высоту пламени и температуру регулируют выдвижением фитиля из держателя.
Устройство испытывалось в действии для медицинских целей в условиях операционной при подготовке спецтехники в течение года. Технический уход за спиртовкой сводился к периодической заправке резервуара спиртом и эпизодической чистке фитиля от сажевых отложений. Нагара на поверхности фитиля не образовывалось. Температура пламени, измеренная термопарой, достигла 700°С.
Формула изобретения
Лабораторная спиртовка, включающая резервуар для жидкого топлива, преимущественно спирта, и фитиль из жаростойкого материала с капиллярной структурой, отличающаяся тем, что в качестве жаростойкого материала выбран проницаемо-пористый сплав на основе никелида титана с пористостью 8-65% и преимущественным размером пор 0,1-500 мкм.
РИСУНКИ
|
|