|
|
(21), (22) Заявка: 2006116462/06, 03.12.2003
(24) Дата начала отсчета срока действия патента:
03.12.2003
(43) Дата публикации заявки: 10.01.2008
(46) Опубликовано: 10.10.2008
(56) Список документов, цитированных в отчете о поиске:
FR 2710310 A, 31.03.1995. US 3547301 A, 15.12.1970. SU 717484 A, 25.02.1980. SU 1760235 A1, 07.09.1992. US 4079689 A, 21.03.1978.
(85) Дата перевода заявки PCT на национальную фазу:
03.07.2006
(86) Заявка PCT:
GB 03/05216 (03.12.2003)
(87) Публикация PCT:
WO 2005/054743 (16.06.2005)
Адрес для переписки:
190000, Санкт-Петербург, наб. Мойки, 58, офис 203, Патентика, пат.пов. М.И.Ниловой, рег.№378
|
(72) Автор(ы):
О ХАРА Леонард (GB)
(73) Патентообладатель(и):
Тейлор МакЛарен Лимитед (GB)
|
(54) СИСТЕМА ДЛЯ ОБНАРУЖЕНИЯ ПРОНИКНОВЕНИЯ ВОДЫ
(57) Реферат:
Изобретение относится к системе для обнаружения проникновения воды, предназначенной для индикации проникновения воды извне на поверхность трубы или емкости, заключенной в обшивку. В системе для обнаружения поступления воды на поверхность изолированной трубы или емкости, заключенной в обшивку, с внешней стороны этой обшивки, включающей отводящее устройство, выполненное и установленное с обеспечением возможности его прикрепления к нижней стороне трубы или емкости, на которой используется система, с внутренней стороны размещенной на ней обшивки; трубопровод, соединенный с отводящим устройством, для отвода воды от трубы или емкости на индикатор, реагирующий на наличие воды, имеющий по меньшей мере узел подачи сигнала, расположенный вне обшивки и служащий для подачи сигнала о наличии воды, отводящее устройство выполнено и установлено с возможностью задержки воды, протекающей вдоль внешней поверхности трубы или емкости, и отвода ее в трубопровод, а указанные трубопровод и индикатор, реагирующий на наличие воды, выполнены и установлены так, что этот индикатор способен реагировать по существу только на воду, перехваченную отводящим устройством. Кроме того, изобретение относится к трубе или емкости с предлагаемой системой обнаружения, а также способу предупреждения проникновения воды извне на поверхность трубы или емкости, заключенной в обшивку с использованием предлагаемой системы обнаружения. 3 н. и 12 з.п. ф-лы, 4 ил.
Данное изобретение относится к системе для обнаружения проникновения воды, пригодной для выявления проникновения воды извне под изоляцию трубопровода или емкости.
Нефтеочистительные заводы, химические производства и т.д., зачастую имеют большую протяженность изолированных трубопроводов, а также большое число емкостей, подвергающихся воздействию факторов внешней среды. С течением времени в изоляционной обшивке может начаться процесс разрушения и/или она может получить физические повреждения, которые могут привести к проникновению дождевой воды и т.д. внутрь обшивки и последующему увлажнению трубопроводов и емкостей. При запоздалом обнаружении это может привести к коррозии, что в некоторых отраслях промышленности может представлять крайнюю опасность. Это означает необходимость введения в действие сил и средств для регулярного осмотра изолированных трубопроводов и емкостей на предмет отсутствия коррозии, а также их замены в случае ее обнаружения. Целью данного изобретения является устранение или минимизация по меньшей мере одного из вышеуказанных недостатков.
Обнаружено, что проникновение воды под изоляцию может быть выявлено и индицировано простым, надежным и экономичным способом с использованием визуальных средств, а именно индикатора, включающего отводящую пластину, прилегающую к нижней части изолированной трубы или емкости. Данная пластина отводит воду вниз по сборной трубе в камеру индикации, находящуюся с внешней стороны изоляции. Указанное индицирование может быть как механическим или электронным, так и комбинированным.
Таким образом, в одном из аспектов данного изобретения предложена система для обнаружения проникновения воды, пригодная для индикации проникновения воды на поверхность трубы или емкости, заключенной в обшивку, с внешней стороны этой обшивки. Данная система включает отводящее устройство, выполненное и установленное с обеспечением возможности его прикрепления к нижней стороне трубы или емкости с внутренней стороны размещенной на ней обшивки некоторым способом, обычно с использованием хомута или других обвязывающих средств; трубопровод, соединенный с отводящим устройством, для отвода воды от трубы или емкости на индикатор, реагирующий на наличие воды, имеющий по меньшей мере узел подачи сигнала, расположенный снаружи обшивки и предназначенный для оповещения о наличии воды. Указанное отводящее устройство выполнено и установлено с возможностью задержки воды, протекающей вдоль внешней поверхности трубы или емкости, и отвода ее в трубопровод. Указанные трубопровод и индикатор, реагирующий на наличие воды, выполнены и установлены так, что этот индикатор способен реагировать по существу только на воду, перехваченную отводящим устройством.
В предпочтительном варианте выполнения отводящее устройство включает по меньшей мере один фланец, по меньшей мере частично проходящий по окружности. В предпочтительном варианте выполнения имеются два разнесенных фланца с проходящей между ними хомутовой опорой, к которой они прикреплены, обычно посредством кольцевого хомута, размещаемого вокруг трубы или емкости, а также поперек хомутовой опоры для прижатия отводящего устройства к трубе или емкости.
Такая схема обеспечивает быстрый и экономичный контроль, а также демонтаж и/или перемещение отводящего устройства. Тем не менее, могут быть применены другие различные виды отводящих устройств и узлов их крепления к трубам и емкостям. Таким образом, отводящее устройство в целом содержит основание, которое может быть прикреплено к внешней стороне трубы, на которой установлена система, и отводящий элемент, который при фиксации основания на трубе радиально выступает наружу по отношению к ней. Основание может быть прикреплено к трубе или емкости любым удобным способом, включающим, например, использование адгезивов. Наиболее удобный способ предусматривает крепление отводящего устройства при помощи стяжки вокруг основания и трубы (или емкости) таким образом, чтобы притянуть отводящее устройство к трубе или емкости. Желательно, чтобы отводящее устройство было выполнено и смонтировано с обеспечением более или менее надежного взаимодействия со стягивающим устройством для повышения надежности конструкции. Таким образом, в соответствии с вышеприведенным описанием между двумя противоположными отводящими элементами может быть расположена хомутовая опора. Возможно также наличие в части отводящего устройства отверстия, через которое может быть продета лента стягивающего устройства.
Трубопровод и индикатор наличия воды в совокупности и по отдельности могут быть прикреплены к изолированной трубе или емкости независимо от отводящего устройства, например, при помощи отдельных стяжек, прикрепленных к трубе, или посредством фиксации к изоляционной обшивке. Целесообразно прикреплять трубопровод и индикатор к устройству обнаружения с обеспечением их поддержки и при этом поступления необходимого стока воды в индикатор. Следует заметить, что выступающее наружу отводящее устройство как таковое служит в качестве трубопровода, и объем данного изобретения не ограничивается какой-либо конкретной формой, типом или размером трубопровода.
Как отмечено выше, важной особенностью изобретения является предотвращение существенного поступления воды с внешней поверхности обшивки непосредственно в индикатор и трубопровод, ведущий в него (во избежание ложной тревоги). По этой причине входное отверстие трубопровода расположено внутри обшивки для защиты от воздействия внешней среды. С другой стороны, должны быть приняты меры по предотвращению закупоривания отверстия обшивкой и обеспечению более или менее свободного прохода вдоль отводящего устройства в направлении отверстия трубопровода.
В одном из чрезвычайно простых и удобных вариантов реализации изобретения индикатор включает водоприемную камеру, имеющую поплавок, установленный с возможностью перемещения между нижним и верхним положениями в зависимости от уровня воды в камере. При необходимости поплавок дополнительно может быть использован в качестве приводного механизма механического устройства сигнализации, например закрепленного на шарнире сигнального рычага и/или электрического выключателя, используемого для приведения в действие электрического устройства сигнализации, такого как звуковое и/или визуальное устройство сигнализации. Вместо поплавка может быть также использован электронный датчик воды, например резисторное устройство, сопротивление которого уменьшается при контакте с водой. Резисторное устройство подключено к электрической цепи, предназначенной для обнаружения такого изменения сопротивления и приведения в действие электрического устройства сигнализации.
Системы обнаружения удобным образом смонтированы вдоль трассы трубопровода на требуемых интервалах: обычно на расстоянии от 0,5 до 10 метров, предпочтительно от 1 до 5 метров и наиболее предпочтительно примерно 2 метра с обеспечением стекания любого значительного объема воды, проникшего под изоляцию, вниз вдоль нижней части трубы в систему, в которой она отводится на индикатор, приводя последний в действие и таким образом обеспечивая индикацию наличия этой воды. Следует отметить, что чем меньше интервал между системами, тем уже зона, охватываемая данной системой, а следовательно, меньше площадь обшивки, требующая детального осмотра. Тем не менее, этот аспект необходимо соотносить со стоимостью отдельной системы. Механический поплавковый индикатор может находиться в положении сигнализации об опасности до того момента, пока он не будет физически удален путем отвинчивания камеры и выливания аккумулированной в ней воды. Непрерывная индикация электронных устройств может составлять до 1 недели, прежде чем произойдет полная выработка ресурса аккумулятора.
В случае отсутствия удобного доступа к какой-либо части трубопровода для проведения непосредственной визуальной инспекции в схему может быть удобно интегрирована любая форма дистанционной сигнализации, которая включает звуковые и/или визуальные системы, такие как сигналы тревоги, мигающие сигналы, радиосигналы и т.д. и в которой при необходимости могут быть использованы устройства для генерирования дистанционного сигнала, подсоединенные к индикатору, смонтированному на трубе, посредством соответстующих проводов или беспроводным способом. Так, например, может быть использовано устройство сигнализации со светодиодом высокой интенсивности, питаемым энергией батареи и способным работать в режиме мигания в течение 1 недели и более.
Еще в одном аспекте данное изобретение предлагает трубу или емкость, заключенную в обшивку, в которой имеется система для обнаружения проникновения воды, выполненная в соответствии с данным изобретением.
Еще в одном аспекте данное изобретение предлагает способ индикации проникновения воды на поверхность изолированной трубы или емкости с внешней стороны обшивки; включающий:
a) создание системы обнаружения, соответствующей данному изобретению; и
b) фиксирование отводящего устройства на нижней стороне трубы или емкости, а также фиксирование трубопровода и индикатора под отводящим устройством для приема воды, отведенной этим устройством из нижней части трубы или емкости; при этом индикатор находится в положении готовности к активации посредством поступления заранее заданного уровня воды в индикатор.
Дальнейшие особенности и преимущества изобретения станут очевидными из следующего детального описания приведенного в качестве примера предпочтительного варианта, описанного со ссылкой на сопровождающие чертежи, на которых:
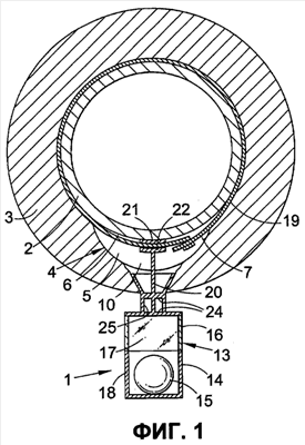
фиг.1 изображает поперечное сечение предлагаемой системы для обнаружения проникновения воды, смонтированной на изолированной трубе, в первоначальном несработанном состоянии;
фиг.2 изображает продольное (по отношению к трубе) сечение модифицированной системы, имеющей тесное сходство с системой, изображенной на фиг.1, в состоянии срабатывания сигнализации;
фиг.3 изображает поперечное сечение еще одного варианта выполнения изобретения, соответствующее фиг.1; и
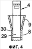
фиг.4 изображает местный продольный разрез, соответствующий разрезу, представленному на фиг.2, отводящего устройства и части трубопровода варианта выполнения изобретения, представленного на фиг.3.
На чертежах показана система обнаружения 1, смонтированная на трубе 2, заключенной в изолирующую обшивку 3.
Более подробно, система 1 включает отводящее устройство 4, включающее две разнесенные серповидные отводящие пластины 5, установленные по обеим сторонам от опоры 6 вплотную к нижней части 7 трубы 2, заключенной в изоляционную обшивку 3. Проходящий вниз трубопровод 8 имеет воронкообразное устье 9 увеличенного диаметра, расположенное в центре 10 под отводящим устройством 4 и предназначенное для захвата отводящими пластинами 5 воды 11, стекающей по ним, как показано стрелками 12. Трубопровод 8 отводит воду вниз от трубы и отводящей пластины 4 на индикатор 13, реагирующий на наличие воды.
Индикатор 13 включает цилиндрическую камеру 14, содержащую шариковый поплавок 15. Верхняя часть 16 камеры 14 имеет полупрозрачную перегородку, создающую окно 17, через которое можно наблюдать ярко окрашенный флуоресцентными красками шарик 15, находящийся в верхнем положении (см. фиг.2). Нижняя часть 18 камеры 14 выполнена из металла или другого непрозрачного материала способом, обеспечивающим невозможность наблюдения шарика 15, находящегося в нижнем положении, как показано на фиг.1.
Как видно из чертежей, камера 14 расположена под изолирующей обшивкой 3, при этом узел подачи сигнала индикатора 13, выполненный в виде окна 17, расположен вне обшивки 3.
Отводящая пластина 4 прикреплена к трубе 1 при помощи обвязывающего средства 19 кольцевой формы (такого, как стяжной хомут для шлангов, полиамидная или другая подобная пластиковая зубчатая стяжка или крепежный ремень торговой марки BAND-IT), затянутого вокруг хомутовой опоры отводящей пластины 6 и трубы 1.
Индикатор 13 и трубопровод 8 также крепятся обвязывающим средством 19. Более подробно, кронштейн 20 имеет основание 21 с проходящей в нем канавкой 22, через которую продевается обвязывающее средство 19 для прижатия основания 21 к трубе под поверхностью 7. Дальний край 23 кронштейна имеет радиально расширяющиеся консоли 24, присоединенные к внутренней стенке 25 трубопровода 8.
В случае образования трещины С на поверхности обшивки 3 устройство 1 работает следующим образом: наружная вода W может проникнуть в обшивку 3. Достигнув поверхности трубы 2, она протекает по ее нижней части 7 вдоль нисходящей поверхности трубы до тех пор, пока она не достигнет отражающего устройства 4. После этого она стекает по пластине 5 в трубопровод 8 и, следовательно, в камеру 14. По мере подъема уровня L воды 11 в камере 14 поплавок постепенно поднимается и становится все более видимым через окно 17 камеры 14. Таким образом, при помощи простого визуального осмотра индикатора можно легко выявить проникновение в трубу воды, которая может вызвать коррозию. Кроме этого, следует принять во внимание, что благодаря размещению отверстия трубопровода внутри обшивки 3 маловероятна возможность ложной тревоги вследствие попадания воды, не прошедшей извне через обшивку.
В модифицированной системе, представленной на фиг.2, индикатор 13 и трубопровод 8 закреплены непосредственно на отражающих пластинах 5, причем отверстие трубопровода 9 образовано нижними краями 5а пластин 5, так что нет необходимости использования кронштейна.
Следует заметить, что поскольку система обеспечивает раннее предупреждение о наличии воды, она также позволяет производить детальный осмотр обшивки в зоне, прилегающей к системе индикации поступления воды. Также она позволяет найти, герметизировать или каким-либо другим способом устранить любые повреждения обшивки до начала процесса коррозии, тем самым устраняя необходимость демонтажа обшивки для ее осмотра.
Удобство замены камеры индикации после пассивного использования в течение нескольких лет без необходимости съема изоляции или обшивки является дополнительным преимуществом изобретения.
Фиг.3 и 4 показывают еще один вариант выполнения изобретения, в котором аналогичные детали, соответствующие деталям, показанным на фиг.1 и 2, обозначены теми же номерами. В этом случае отводящее устройство 4 обычно имеет кронштейн 26 в форме полосы, который соединен с основанием 27 в форме полосы и в котором имеется канавка 28, находящаяся в непосредственной близости к основанию 27, через которое может быть продето обвязывающее средство 19 для прижима основания 27 к трубе 2. Дальний край 29 кронштейна 26 имеет внешние боковые края 30, образованные внутренней боковой стенкой 25 трубопровода 8 (или прикрепленные к нему другим способом, например путем посадки трения, приклеивания или сварки). Таким образом обеспечено крепление трубопровода 8 и, в свою очередь, индикатора 13 на трубе 2.
В этом случае верхний край 31 индикатора 13 имеет снабженную внешней резьбой 32 насадку 33, установленную на снабженном внутренней резьбой 34 дальнем крае 35 трубопровода 8. Это облегчает снятие индикатора 13 в случае необходимости выливания из него воды без необходимости деформации обшивки 3.
Нижний край 36 индикатора 13 под камерой 14 служит для размещения дополнительного электронного устройства 37 сигнализации. Более подробно, магнит 38, расположенный внутри поплавка 15, служит для открытия и закрытия магнитного датчика обнаружения объекта 39 (такого, как герметизированный магнитоуправляемый контакт), являющегося частью сигнальной цепи 40, так что при достаточном подъеме поплавка в направлении от переключателя 39 загорается высокоинтенсивный светодиод 41 (предпочтительно в мигающем режиме).
Следует заметить, что различные детали системы могут быть выполнены из различных материалов. Отражательную пластину, трубопровод и индикатор (по крайней мере ее камера) наиболее удобно выполнять из пластика, предпочтительно посредством литья.
Следует также заметить, что система обнаружения, выполненная в соответствии с описанием данного изобретения, может выявлять не только поступление воды с внешней поверхности обшивки, но также и значительные объемы воды, которые появляются на поверхности трубы или емкости из любого источника, включая протекание воды из изолированных труб или емкостей, что тем самым способствует риску возникновения коррозии. Кроме этого, следует заметить, что различные типы и/или конфигурации индикаторов требуют различного (заданного) количества воды для приведения устройства в действие из состояния “ожидания” в состояние “тревоги”, при котором происходит генерирование сигнала предупреждения. Таким образом, в вышеописанном примере потребуется определенное количество воды для того, чтобы поднять поплавок до определенной высоты, на которой он в зависимости от его размеров плавучести, диаметра камеры и т.д. в большей части будет виден через окно.
Формула изобретения
1. Система для обнаружения поступления воды, пригодная для индикации поступления воды на поверхность изолированной трубы или емкости, заключенной в обшивку, с внешней стороны этой обшивки, включающая отводящее устройство, выполненное и установленное с обеспечением возможности его прикрепления к нижней стороне трубы или емкости, на которой используется система, с внутренней стороны размещенной на ней обшивки; трубопровод, соединенный с отводящим устройством, для отвода воды от трубы или емкости на индикатор, реагирующий на наличие воды, имеющий по меньшей мере узел подачи сигнала, расположенный вне обшивки и служащий для подачи сигнала о наличии воды, причем отводящее устройство выполнено и установлено с возможностью задержки воды, протекающей вдоль внешней поверхности трубы или емкости, и отвода ее в трубопровод, а указанные трубопровод и индикатор, реагирующий на наличие воды, выполнены и установлены так, что этот индикатор способен реагировать, по существу, только на воду, перехваченную отводящим устройством.
2. Система по п.1, в которой отводящее устройство имеет основание, выполненное с возможностью его ввода, в прямое или непрямое взаимодействие со стягивающим устройством, с которым используется система, для обеспечения прижатия этого основания к трубе или емкости.
3. Система по п.2, в которой отводящее устройство имеет по меньшей мере один фланец, по меньшей мере частично проходящий по окружности и выступающий наружу от основы.
4. Система по п.3, в которой отводящая пластина включает два разнесенных фланца с хомутовой опорой, продольно расположенной между ними.
5. Система по любому из из пп.2-4, в которой по меньшей мере трубопровод или индикатор прикреплен к трубе или емкости при помощи кронштейна, с основанием которого может войти в прямое или непрямое взаимодействие обвязывающее средство, используемое при работе системы для прижатия этого основания к трубе или емкости.
6. Система по п.2, в которой отводящее устройство имеет удлиненную часть в форме полосы, которая выступает от основания и которая имеет дальний конец, прикрепленный по меньшей мере к одной из таких частей, как трубопровод и индикатор для их удержания на трубе или емкости, при работе системы.
7. Система по любому из пп.1-4 или 6, в которой трубопровод имеет устье увеличенного диаметра для приема воды, отведенной отводящим устройством из трубы или емкости.
8. Система по любому из пп.1-4, в которой индикатор присоединен к трубопроводу с возможностью отсоединения.
9. Система по любому из пп.1-4 или 6, в которой индикатор включает водоприемную камеру с поплавком, установленным с возможностью перемещения между верхним и нижним положениями в зависимости от уровня воды в камере.
10. Система по п.9, в которой камера имеет по меньшей мере одно окно, которое расположено смежно с верхним положением поплавка и через которое можно визуально наблюдать поплавок, находящийся в этом положении.
11. Система по п.10, в которой индикатор включает механическое устройство сигнализации, приводимое в действие поплавком, перемещающимся от нижнего до верхнего положения.
12. Система по пп.1-4 или 10, в которой в схему индикатора включен электрический переключатель, приводимый в действие поплавком, перемещающимся от нижнего до верхнего положения, или уровнем воды, и соединенный с электронным устройством сигнализации.
13. Система по п.12, в которой в качестве устройства электронной сигнализации использовано устройство звуковой сигнализации, радиосигнализации и/или визуальной сигнализации.
14. Труба или емкость, снабженная обшивкой и снабженная системой обнаружения проникновения воды в по пп.1-13.
15. Способ сигнализации поступления воды на изолированную трубу или емкость с внешней поверхности обшивки, включающий в себя этапы
а) создание системы обнаружения по п.1; и
б) фиксирование отводящего устройства на нижней стороне трубы или емкости, а также фиксирования трубопровода и индикатора под отводящим устройством для приема воды, отведенной этим устройством из нижней части трубы или емкости; при этом индикатор находится в положении готовности к активации посредством поступления заранее заданного уровня воды в индикатор.
РИСУНКИ
|
|