|
|
(21), (22) Заявка: 2006139997/06, 13.11.2006
(24) Дата начала отсчета срока действия патента:
13.11.2006
(43) Дата публикации заявки: 20.05.2008
(46) Опубликовано: 10.10.2008
(56) Список документов, цитированных в отчете о поиске:
US 3420554 А, 07.01.1969. US 4026584 А, 31.05.1977. SU 201857 А, 08.09.1967. US 5090759 А, 25.02.1992. SU 1525398 A1, 30.11.1989. SU 552464 A, 30.03.1977.
Адрес для переписки:
664074, г.Иркутск, а/я 163, пат.пов. Т.А. Шестаковой
|
(72) Автор(ы):
Усов Александр Юрьевич (RU), Москвитин Виктор Николаевич (RU), Захаров Владимир Алексеевич (RU)
(73) Патентообладатель(и):
Усов Александр Юрьевич (RU)
|
(54) БЫСТРОСЪЕМНОЕ УСТРОЙСТВО ДЛЯ СТЫКОВКИ ПНЕВМОТРАНСПОРТНЫХ ТРУБОПРОВОДОВ
(57) Реферат:
Изобретение относится к трубопроводной арматуре. Изобретение направлено на упрощение, ускорение монтажа-демонтажа трубопроводов и обеспечение возможности прокладки трубопроводов на криволинейных участках сложного рельефа земной поверхности. В быстросъемном устройстве для стыковки пневмотранспортных трубопроводов, включающем корпус и зажимные элементы, корпус выполнен в виде обечайки, а в качестве зажимного элемента используется эластичная торовая оболочка, заполненная сжатой газовой средой, расположенная внутри обечайки. Для удержания металлического порошка между стыками трубопроводов внутри торовой оболочки установлена лента из магнитной резины. 1 ил.
Изобретение относится к трубопроводной аппаратуре и может быть использовано для соединения пневмотранспортных трубопроводов в установках всасывающего действия различного назначения для транспортирования сыпучих сред.
Конструкция пневмотранспортных трубопроводов должна обеспечивать герметичность соединений, минимум сопротивления движению материаловоздушной смеси, малую стоимость, высокую надежность и долговечность. Соединение трубопроводов транспортных систем осуществляется различными средствами.
Известно быстросъемное устройство для стыковки трубопроводов по патенту US № 3420554 А, 07.01.1969, прототип. Устройство содержит корпус и расположенный в нем зажимной элемент, выполненный в виде эластичной торовой оболочки, заполненной средой. Такое выполнение устройства не обеспечивает эффективную стыковку трубопроводов за счет образования ступенек между стыками труб, уменьшая износостойкость стыков и увеличивая гидравлическое сопротивление трубопровода, что в целом уменьшает пропускную способности трубопровода.
Технический результат, на получение которого направлено изобретение, заключается в повышении износостойкости трубопроводов за счет исключения ступенек между стыками труб путем заполнения и удержания в этой зоне металлического порошка с магнитными свойствами.
Полученный результат достигается тем, что в быстросъемном устройстве для стыковки пневмотранспортных трубопроводов, включающем корпус и расположенный в нем зажимной элемент в виде эластичной торовой оболочки, заполненной сжатой газовой средой, корпус выполнен в виде обечайки, а внутри торовой оболочки установлена лента из магнитной резины для удержания между стыками трубопроводов металлического порошка с магнитными свойствами.
Устройство дает возможность монтажа трубопроводов с угловым и линейным смещением, благодаря чему обеспечивается прокладка трубопроводов по криволинейным участкам сложного рельефа земной поверхности и в подземных горных выработках.
Между стыками труб при таком монтаже неизбежно возникают зазоры и ступеньки. Наличие ленты из магнитной резины позволяет удерживать в этой зоне металлический порошок с магнитными свойствами и защищает края стыков труб от абразивного износа, а оптимальное его распределение снижает местные гидравлические сопротивления в трубопроводе.
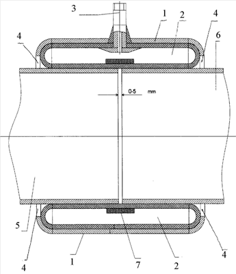
Схема предлагаемого устройства показана на чертеже. Устройство включает в себя корпус, выполненный в виде металлической обечайки 1, внутри которой расположена эластичная торовая оболочка 2 со сжатым воздухом. Для нагнетания воздуха торовая оболочка имеет ниппель 3, проходящий через обечайку 1. Сама обечайка выполнена с некоторым зазором 4 по диаметру относительно стыкуемых трубопроводов. Внутри торовой оболочки над стыком концов труб 5 и 6 симметрично относительно плоскости разъема труб установлена лента из магнитной резины для удержания металлического порошка между стыками трубопроводов.
Работа устройства заключается в следующем.
При отсутствии давления газовой среды в эластичной торовой оболочке 2 имеется зазор между соединяемыми трубами 5, 6 и внутренней поверхностью оболочки 2, который позволяет легко и быстро установить устройства на стык трубопровода. После подачи давления через ниппель 3 эластичная торовая оболочка 2 увеличивается в объеме и создает усилие между обечайкой 1 и трубами 5, 6, необходимое для надежного соединения стыка и герметизации трубопровода. Зазор 4 между обечайкой 1 и трубами 5, 6 позволяет получать осевое и угловое смещение трубопровода. Для заполнения возможного зазора между торцами труб 5, 6 перед установкой устройства на внутреннюю поверхность торовой оболочки наносится металлический порошок с магнитными свойствами, который удерживается лентой из магнитной резины 7. При необходимости поворота труб 5, 6 для увеличения износостойкости трубопровода давление в эластичной торовой оболочке 2 уменьшается, что позволит легко поворачивать трубы на необходимый угол.
Формула изобретения
Быстросъемное устройство для стыковки пневмотранспортных трубопроводов, включающее корпус и расположенную в нем эластичную торовую оболочку, заполненную газовой средой, отличающееся тем, что корпус выполнен в виде обечайки, а внутри торовой оболочки установлена лента из магнитной резины для удержания металлического порошка с магнитными свойствами между стыками трубопроводов.
РИСУНКИ
|
|