|
|
(21), (22) Заявка: 2007108153/06, 05.03.2007
(24) Дата начала отсчета срока действия патента:
05.03.2007
(46) Опубликовано: 10.10.2008
(56) Список документов, цитированных в отчете о поиске:
RU 2248485 C1, 20.03.2005. RU 2116541 С1, 07.07.1998. US 4502503 А, 05.03.1985. US 3074429 A, 22.01.1963. DE 545879 A, 09.03.1932. JP 59029874 А1, 17.02.1984.
Адрес для переписки:
195027, Санкт-Петербург, пр. Шаумяна, 4/1, лит.А, а/я 33, ЗАО НПФ “ЦКБА”, главному специалисту технического отдела В.Б. Ларионову
|
(72) Автор(ы):
Крыжановский Олег Георгиевич (RU)
(73) Патентообладатель(и):
Закрытое акционерное общество Научно-производственная фирма “Центральное конструкторское бюро арматуростроения” (RU)
|
(54) ОБРАТНЫЙ ПОВОРОТНЫЙ ЗАТВОР
(57) Реферат:
Изобретение относится к трубопроводной арматуре, в частности к затворам с поворотным диском, и предназначено для перекрытия обратного потока проходного сечения трубопровода. Обратный поворотный затвор включает установленные в корпусе на поворотном валу запорный диск и механический аккумулятор энергии. Последний выполнен в виде инерционной массы с регулируемыми радиусом и моментом инерции. Инерционная масса соединена с поворотным валом через механическую передачу с регулируемым передаточным отношением. Изобретение направлено на обеспечение регулирования величины гидравлического сопротивления затвора за счет регулирования величин радиуса инерции, момента инерции противовеса в зависимости от угла поворота вала, противовеса и запорного диска и создаваемого противовесом крутящего момента. 2 з.п. ф-лы, 8 ил.
Изобретение относится к трубопроводной арматуре, в частности к затворам с поворотными дисками.
Известен обратный поворотный затвор, защищенный патентом JP 59009372; МПК (2006) F16K 35/00, F16K 17/02; дата публикации – 18.01.1984. Затвор содержит корпус, поворотный вал, установленные на валу поворотный запорный диск и противовес. При открытии обратного затвора под напором прямого потока рабочей среды противовес, поворачиваясь совместно с запорным диском затвора, аккумулирует механическую энергию прямого потока рабочей среды. При изменении направления рабочего потока противовес способствует закрытию обратного поворотного затвора, высвобождая запасенную механическую энергию. Момент инерции противовеса и создаваемый противовесом крутящий момент находятся в прямой зависимости от радиуса инерции противовеса, равного расстоянию от центра приложения масс противовеса (центра тяжести) до оси вращения противовеса. Для регулирования радиуса инерции противовеса в его теле выполнена резьбовая расточка, в которой установлен резьбовой регулирующий элемент. При вращении резьбового регулирующего элемента центр тяжести противовеса смещается, в результате этого изменяется величина радиуса инерции и соответственно величина момента инерции противовеса и величина создаваемого противовесом крутящего момента. С помощью описанных манипуляций при сборке обратного поворотного затвора и в процессе его эксплуатации регулируют характер закрытия обратного поворотного затвора.
Недостатком аналога является отсутствие возможности регулирования величины радиуса инерции противовеса в зависимости от угла поворота противовеса и запорного диска в процессе открытия-закрытия обратного поворотного затвора.
Известен обратный поворотный затвор, защищенный патентом JP 59029874, МПК (2006) F16K 1/22, дата публикации – 17.02.1984. Затвор содержит установленный в корпусе на поворотном валу изогнутый запорный диск со смещенным относительно вала центром тяжести. С поворотным валом через тангенциальную рукоятку соединен противовес, образующий с рукояткой резьбовую пару. После принудительного открытия обратного затвора подаваемой сверху на запорный диск порцией сыпучего продукта противовес под действием силы своей тяжести возвращает поворотный запорный диск в закрытое положение. В зависимости от степени дисбаланса запорного диска перемещением противовеса вдоль резьбовой тангенциальной рукоятки регулируют радиус инерции и соответственно момент инерции противовеса и создаваемый противовесом крутящий момент.
Недостатком аналога также является отсутствие возможности регулирования величины радиуса инерции противовеса в зависимости от угла поворота вала, противовеса и запорного диска обратного поворотного затвора в процессе этого поворота.
Прототипом заявляемого устройства является обратный поворотный затвор, защищенный патентом RU2248485, МПК (2006) F16K 15/03, дата публикации 20.03.2005. Затвор содержит установленный в корпусе на валу поворотный запорный диск и жестко закрепленный на том же валу, снаружи от корпуса, противовес. Противовес соединен с поворотным валом жестким стержнем фиксированной длины и может быть смещен относительно стержня на определенное расстояние, чем обеспечивается регулирование радиуса инерции, момента инерции противовеса и создаваемого противовесом крутящего момента.
Недостаток прототипа тот же, что и у аналогов, – невозможность регулирования величины радиуса и момента инерции противовеса в зависимости от угла поворота вала, противовеса и запорного диска обратного поворотного затвора вокруг оси вала.
Заявляемое изобретение решает техническую задачу регулирования величины гидравлического сопротивления обратного поворотного затвора за счет регулирования величин радиуса инерции, момента инерции противовеса в зависимости от угла поворота вала, противовеса и запорного диска и создаваемого противовесом крутящего момента.
Поставленная техническая задача решена в заявляемом обратном поворотном затворе, который включает установленные в корпусе на поворотном валу запорный диск и механический аккумулятор энергии в виде инерционной массы с регулируемыми радиусом и моментом инерции. Инерционная масса соединена с поворотным валом через механическую передачу с регулируемым передаточным отношением, при этом механическая передача включает гибкое звено в виде нити, троса, каната либо цепи и соединенный с поворотным валом жестко и соосно направляющий блок переменного радиуса с желобом для гибкого звена. В желобе направляющего блока выполнены скос либо прорезь для провисания гибкого звена на заданном угловом участке поворота вала.
Сущность заявляемого изобретения поясняется чертежами,
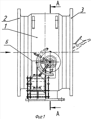
где на фиг.1 изображен обратный поворотный затвор, внешний вид;
на фиг.2 – обратный поворотный затвор, разрез по А-А;
на фиг.3 – то же, с приводом для принудительного открытия и закрытия затвора;
на фиг.4 – вид Б при закрытом положении обратного поворотного затвора;
на фиг.5 – вид Б при промежуточном положении обратного поворотного затвора;
на фиг.6 – вид Б при открытом положении обратного поворотного затвора;
на фиг.7 – поперечный разрез блока по В-В;
на фиг.8 – обратный поворотный затвор, разрез по Г-Г.
Обратный поворотный затвор содержит корпус 1 с входным 2, выходным 3 патрубками и седлом 4. В корпусе 1 на поворотном валу 5 с осью вращения, проходящей через точку О, закреплен рычаг 6, с которым соединен запорный диск 7. Запорный диск 7 дополнительно соединен с рычагом при помощи пружин 8. Обратный поворотный затвор снабжен аккумулятором механической энергии в виде инерционной массы (противовеса) 9, соединенной с поворотным валом 5 через механическую передачу, которая включает гибкое звено в виде нити, троса, каната либо цепи 10 и направляющий блок 11 (на чертеже показан фрагмент направляющего блока). Направляющий блок 11 соединен с поворотным валом 5 жестко и соосно. Направляющий блок 11 снабжен желобом 12 для гибкого звена 10. Радиус кривизны R желоба 12 на сегменте с центральным углом имеет переменную величину, так как на этом угловом участке направляющего блока 11 желоб 12 между точками Д и Е имеет скос либо прорезь 13. Для натяжения пружин 8 предназначены винты 14. Для ограничения боковых перемещений противовеса 9 предусмотрена корзина-ловушка 15.
Обратный поворотный затвор работает следующим образом.
При подаче во входной патрубок 2 корпуса 1 обратного затвора прямого потока рабочей среды запорный диск 7 под действием потока отходит от седла 4 и, прижимаясь к рычагу 6, поворачивается с валом 5 в сторону открытия затвора. Вместе с валом 5 поворачивается в том же направлении и жестко соединенный с ним направляющий блок 11. Пропущенное по желобу 12 гибкое звено 10 наматывается на блок 11, поднимая противовес 9. Между точками Д и Е гибкое звено 10 свободно провисает под силой тяжести противовеса 9. При этом радиус инерции противовеса равен плечу приложения массы противовеса, то есть расстоянию по горизонтали от оси поворотного вала 5 до вертикального направления провисания гибкого звена 10, нагруженного противовесом 9.
Изменением радиуса кривизны R направляющего блока 11 на угловом участке, соответствующем углу поворота вала 5 из закрытого положения обратного затвора в открытое, и, наоборот, изменяют величину передаточного отношения механической передачи. Одновременно с этим изменяется величина радиуса инерции, момента инерции противовеса 9 и создаваемого противовесом 9 крутящего момента.
Таким образом добиваются улучшения гидравлической характеристики обратного поворотного затвора, а именно способствуют открытию запорного диска на максимально возможный угол, при этом обеспечивая величину крутящего момента, создаваемого противовесом, достаточную для закрытия запорного диска из любого его положения.
Запорный диск 7 закрывается, проходя нижней кромкой над седлом 4. Затем, с момента контакта верхней точки поворотного диска 7 с седлом 4, происходит поворот диска относительно этой точки и относительно рычага 6 с растяжением пружин 8.
Формула изобретения
1. Обратный поворотный затвор, включающий установленные в корпусе на поворотном валу запорный диск и механический аккумулятор энергии в виде инерционной массы с регулируемыми радиусом и моментом инерции, отличающийся тем, что инерционная масса соединена с поворотным валом через механическую передачу с регулируемым передаточным отношением.
2. Обратный поворотный затвор по п.1, отличающийся тем, что механическая передача включает гибкое звено в виде нити, троса, каната либо цепи и соединенный с поворотным валом жестко и соосно направляющий блок переменного радиуса с желобом для гибкого звена.
3. Обратный поворотный затвор по п.2, отличающийся тем, что в желобе направляющего блока выполнены скос либо прорезь для провисания гибкого звена на заданном угловом участке поворота вала.
РИСУНКИ
|
|