|
|
(21), (22) Заявка: 2007111395/11, 28.03.2007
(24) Дата начала отсчета срока действия патента:
28.03.2007
(46) Опубликовано: 10.10.2008
(56) Список документов, цитированных в отчете о поиске:
RU 2018618 C1, 30.08.1994. RU 2254173 C2, 20.06.2005. RU 2273529 C1, 10.04.2006. EP 0254897 A1, 03.02.1988.
Адрес для переписки:
355029, г.Ставрополь, пр-кт Кулакова, 2, СевКавГТУ
|
(72) Автор(ы):
Антипин Владимир Михайлович (RU), Антипина Елена Станиславовна (RU), Жилин Станислав Николаевич (RU)
(73) Патентообладатель(и):
Государственное образовательное учреждение высшего профессионального образования “Северо-Кавказский государственный технический университет” (RU)
|
(54) СПОСОБ СОЗДАНИЯ КРУТИЛЬНЫХ КОЛЕБАНИЙ
(57) Реферат:
Изобретение относится к приводам машин с вращающимся рабочим органом для разрушения, транспортировки, перемешивания и т.п. обрабатываемого материала. В способе колебательное движение рабочему органу сообщается кулачком-толкателем с тремя кинематическими парами, одна из которых вращательная. Достигается снижение динамических нагрузок в соударяющихся парах, интенсификация импульсного воздействия на обрабатываемый материал, регулирование амплитуды колебания, исключается возможность заклинивания. 1 ил.
Изобретение относится к приводам машин с вращающимся рабочим органом для разрушения, транспортировке, перемешивания и т.п. обрабатываемого материала.
Существуют различные способы создания крутильных колебаний механическим, электрическим и гидропневматическим возбудителями крутильных колебаний (патент Российской Федерации № 2018618, стр.3, опубликован 30.08.94 г. Бюл. № 16, класс Е21В 3/02).
Известен способ создания крутильных колебаний на основе планетарного механизма с двумя степенями свободы (а.с. СССР № 1810914 А1, опубликован 23.04.93. Бюл. № 15, класс Н01С 17/24), где возбуждение крутильных колебаний в заданном технологическом цикле происходит силами инерции эксцентрично вращающихся масс на сателлитах планетарного редуктора: известен вибрационный шлифованный станок (а.с. СССР № 1458178 А1, опубликован 15.02.1989. Бюл. № 6, класс В24В 23/04), где крутильные колебания совмещены с осевыми колебаниями; известен способ создания крутильных колебаний (патент РФ № 2018618, опубликован 30.08.1994. Бюл. № 16, класс Е21В 3/02)
Наиболее близким техническим решением является способ создания крутильных колебаний (патент РФ № 2018618, опубликован 30.08.94. Бюл. № 16, класс Е21В 3/02), где изменения движения рабочего органа определяются кинематическим взаимодействием профилей двух пар кулачков рычажно-кулачкового механизма. При этом профиль одной из поверхностей кулачкового механизма соприкасается последовательно по ряду самостоятельных профилей второй поверхности. Амплитудно-частотная характеристика рабочего органа определяется по потребностям технологического процесса и регулируется за счет изменения профиля одной из поверхностей кулачкового механизма.
Недостатком известного способа создания крутильных колебаний являются ограничения возможной величины амплитуды колебания по причине редкого снижения коэффициента полезного действия передачи и вероятного заклинивания кинематической пары, при больших углах наклона поверхностей кулачка-толкателя, повышенный износ поверхности кулачка последовательно взаимодействующего с рядом самостоятельных профилей второй поверхности. Угол наклона клиновидного кулачка ограничен углом конуса трения и при необходимой амплитуде колебания 0,5 мм на рабочем органе перемещения кулачка к центру вращения вала составляет 2÷2,5 мм при значении тангенса угла наклона поверхности кулачка в пределах 0,1÷0,2. Размер профиля соприкасающейся поверхности таких размеров вызывает значительные динамические нагрузки при соприкосновении с ними кулачка. Увеличение угла наклона поворотного кулачка вызывает повышенные потери на трение, вплоть до заклинивания. Кроме этого, поверхность контакта кулачка с частями вала нарушается при заглублении кулачка и повороте поверхности вала относительно оси вращения.
Техническим результатом заявленного способа является снижение динамических нагрузок в соударяющихся парах, интенсификация импульсивного воздействия на обрабатываемый материал, возможность регулировки амплитуды колебания, исключая возможность заклинивания и без увеличения потерь на трение в кинематических парах.
Указанный технический результат достигается одновременным вращением кулачка на ведущем валу и скольжения по двум поверхностям корпуса с неподвижным кулачком и по поверхности ведомого вала.
Это возможно при условии использования возбудителя крутильных колебаний трех кинематических пар и совокупности одного вращательного и двух движений скольжения, при этом амплитуда колебаний и закономерность ее изменения является функцией двух поверхностей: неподвижного кулачка и поверхности скольжения вала возбудителя колебания.
На основании этого можно осуществить закономерность движения рабочего органа изменением формы одной поверхности вала. Поверхность неподвижного кулачка работает при равномерном вращении ведущего вала и периодически входит в контакт с поверхностью подвижного кулачка-толкателя. Предлагаемый способ создания крутильных колебаний позволяет регулировать динамические характеристики рабочего процесса без изменения профиля неподвижного кулачка, а требуемые режимы взаимодействия достигаются конфигурацией кинематической пары кулачок-толкатель-ведомый вал. В процессе работы в этой кинематической паре отсутствует зазор и исключаются динамические нагрузки при соударении поверхностей.
Заявленное техническое решение отличается от прототипа тем, что совокупность вращательного движения и движения скольжения двух кинематических пар обеспечивает заданную амплитуду крутильных колебаний, сокращает ударные нагрузки кулачка-толкателя и неподвижных кулачков, возможность влияния на организацию закономерности изменения и величину крутильных колебаний без снижения потерь на трение и исключает увеличение ударных нагрузок и заклинивания в кинематических парах.
Признаки, отличающие заявленное техническое решение от прототипа, не выявлены в других технических решениях.
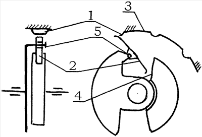
Осуществление заявленного способа поясняется с помощью устройства, представленого на чертеже. Устройство содержит неподвижный кулачок 1, кинематические пары скольжения 3 и 4, кулачок-толкатель 2, кинематическую пару вращения 5.
В процессе работы кулачок-толкатель 3 поворачивается на оси 5 при скольжении и взаимодействии с неподвижным кулачком 1 и изменяет положение вала при скольжении в кинематической паре 4. На валу рабочего органа суммируются равномерное вращение и колебательное вращательное движение.
Использование заявленного способа создания крутильных колебаний позволяет снизить динамические нагрузки в соударяющихся парах, интенсифицировать импульсное воздействие на обрабатываемый материал, регулировать амплитуду колебания, исключая возможность заклинивания и без увеличения потерь на трение в кинематических парах.
Формула изобретения
Способ создания крутильных колебаний, при котором вал рабочего органа выполнен из двух частей с суммированием равномерного вращения ведущего вала и колебательного движения возбудителя колебаний, отличающийся тем, что часть выходного вала приводится в колебательное движение путем взаимодействия профилей трех кинематических пар, одна из которых вращательного движения.
РИСУНКИ
|
|