|
|
(21), (22) Заявка: 2007110595/11, 22.03.2007
(24) Дата начала отсчета срока действия патента:
22.03.2007
(46) Опубликовано: 10.10.2008
(56) Список документов, цитированных в отчете о поиске:
SU 213479 A1, 29.05.1968. RU 2291336 C2, 10.01.2007. DE 19916098 A1, 12.10.2000. DE 4139049 A1, 03.06.1993.
Адрес для переписки:
644021, г.Омск, ул. 6-я линия, 173, кв.2, И.А.Холмянскому
|
(72) Автор(ы):
Холмянский Игорь Антонович (RU)
(73) Патентообладатель(и):
Холмянский Игорь Антонович (RU)
|
(54) ДЕМПФЕР КРУТИЛЬНЫХ КОЛЕБАНИЙ ЗУБЧАТЫХ ПЕРЕДАЧ С КОНИЧЕСКИМ КОЛЕСОМ
(57) Реферат:
Изобретение относится к высокооборотным зубчатым передачам, содержащим коническое зубчатое колесо. Демпфер содержит зубчатое колесо, ось которого опирается на подшипниковую опору, включающую корпус и два подшипника. Силовая связь преобразования крутильных колебаний (усилия крутящего момента) в осевое усилие от зубчатого колеса к корпусу выполнена через осевой кольцевой упругий элемент. Элемент содержит два металлических кольца, между которыми прикреплено упругое кольцо. Внутренние кольца подшипников стянуты через распорную втулку на оси зубчатого колеса внутренней гайкой. Упругое кольцо расположено в корпусе между наружным кольцом подшипника и наружной гайкой. Гайка прижимает наружное кольцо с усилием, в 1,5…2 раза превосходящим рабочее осевое усилие, действующее на коническое зубчатое колесо. Достигается упрощение конструкции, уменьшение габаритов, гашение крутильных колебаний и ударных нагрузок в высокооборотных зубчатых передачах. 2 ил.
Изобретение относится к высокооборотным зубчатым передачам, содержащим коническое зубчатое колесо.
Известны демпферы крутильных колебаний в виде упругой муфты (авторское свидетельство СССР №29399, МПК F16d, 1965), содержащие две полумуфты с радиальными ребрами, размещенными между ребрами второй полумуфты, между ребрами полумуфт установлены упругие элементы и приклеены к плоскостям ребер, при этом упругие элементы на боковой и торцевой поверхностях выполнены с впадинами, а наружная поверхность муфты покрыта двухслойной оболочкой.
Известна упругая муфта по а.с. СССР №213479, МПК F06d, 1968, которая содержит полумуфту с выступами на внутренней поверхности, полумуфту с выступами на наружной поверхности и установленный между ними упругий элемент из эластичного материала, приклеенный к гофрированным кольцам.
Однако все они предназначены для гашения крутильных колебаний, лежащих в плоскости, перпендикулярной оси вращения зубчатых колес, то есть колебаний от окружных сил. Это увеличивает действующие нагрузки на демпфер и усложняет его конструкцию.
Цель изобретения – упрощение конструкции, уменьшение габаритов и обеспечение гашения крутильных колебаний и ударных нагрузок в высокооборотных зубчатых передачах, имеющих коническую зубчатую пару за счет устройства осевого демпфера для гашения усилий, действующих вдоль оси конического зубчатого колеса.
Предлагается демпфер крутильных колебаний для высокооборотной зубчатой передачи, содержащий коническое зубчатое колесо, ось которого опирается на подшипниковую опору, включающую корпус и два подшипника, при этом силовая связь преобразования крутильных колебаний (окружных сил от крутящего момента) в осевое усилие от зубчатого колеса к корпусу выполнена через осевой кольцевой упругий элемент, который содержит два металлических кольца, между которыми прикреплено (привулканизировано или приклеено) упругое (резиновое) кольцо, при этом внутренние кольца подшипников стянуты через распорную втулку на оси зубчатого колеса внутренней гайкой, а упругое кольцо расположено в корпусе между наружным кольцом подшипника и прижато наружной гайкой с усилием поджатия, в 1,5…2 раза превосходящим рабочее осевое усилие, действующее на коническое зубчатое колесо. При этом боковые поверхности упругого демпфера выполнены вогнутыми по кривым второго порядка для снижения напряжений на наружных поверхностях упругого материала (резины). Это повышает нагрузочную способность конической зубчатой передачи в три-четыре раза. Для создания усилия поджатия демпфера 5 выполняют ложную сборку узла и стягивают динамометрическим ключом наружный пакет гайкой 7 через упругое кольцо 5 с усилием, в 1,5…2 раза превышающим осевую силу, действующую на коническое зубчатое колесо 1 при работе зубчатой передачи, замеряют осевую деформацию упругого кольца 5. Затем нагрузку снимают и заворачивают гайку 7, обеспечивая ранее замеренную осевую деформацию упругого кольца 5. Собранный узел устанавливают в корпус зубчатой передачи. Предложенное выполнение опор конического зубчатого колеса позволяет при сохранении боковых зазоров в зацеплении и обеспечении необходимого пятна контакта смягчать ударные нагрузки и повысить долговечность всей конической зубчатой передачи.
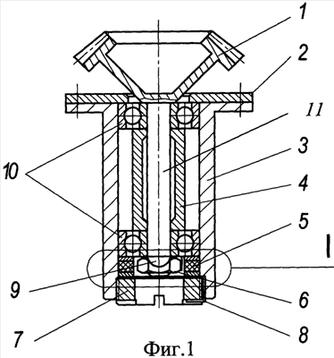
Сущность изобретения поясняется чертежом, где на фиг.1 изображено устройство в сборе, на фиг.2 – элемент I с упругим кольцом. Предлагаемая конструкция содержит коническое зубчатое колесо 1, прижимающее плоское кольцо 2, корпус подшипников 3, распорную втулку 4, осевой упругий демпфер 5. Демпфер 5 включает кольцевой упругий элемент, размещенный между двумя металлическими кольцами 13 и прикрепленный к ним (приклеен или привулканизирован). Внутренняя гайка 6 стягивает внутренний пакет, содержащий втулку 4 и внутренние обоймы подшипников 10. Наружная гайка 7 стягивает наружные обоймы подшипников 10 через упругий демпфер 5. Гайки 6 и 7 контрятся от отворачивания контровочными замками 8 и 9. При этом боковые поверхности 12 упругого кольца демпфера 5 выполнены вогнутыми по кривой второго порядка для снижения напряжений на наружных поверхностях резины. При сборке узла на ось 11 конического зубчатого колеса 1 надеваются: кольцо 2, подшипники 10 с распорной втулкой 4 и набор стягивается внутренней гайкой 6, которая контрится замком 9. Этот собранный узел вставляют (запрессовывают) в корпус подшипников 3, прикрепляют к нему кольцо 2 и с противоположной стороны вставляют упругий демпфер 5, контровочный замок 8 и прижимают весь набор наружной гайкой 7 с усилием, в 1,5-2 раза превышающим рабочее осевое усилие, действующее на коническое зубчатое колесо. Гайку 7 контрят замком 8.
Для определения необходимого усилия поджатия упругого демпфера 5 выполняют ложную сборку узла и стягивают динамометрическим ключом наружный пакет гайкой 7 через упругое кольцо 5 с усилием, в 1,5…2 раза превышающим рабочую осевую силу, действующую на коническое зубчатое колесо при работе зубчатой передачи, замеряют осевую деформацию упругого кольца 5. При окончательной сборке заворачивают гайку 7, обеспечивая ранее замеренную осевую деформацию упругого кольца 5. При работе конической зубчатой передачи, когда осевые силы, действующие на коническое зубчатое колесо 1, превышают усилие сжатия упругого кольца 5, возникающая деформация упругого демпфера 5 будет гасить не только осевые, но и крутильные колебания, и затем коническое колесо 1 восстанавливается в исходное рабочее положение, не вызывая колебаний в системе зубчатой передачи.
Формула изобретения
Демпфер крутильных колебаний зубчатых передач с коническим колесом, содержащий зубчатое колесо, ось которого опирается на подшипниковую опору, включающую корпус и два подшипника, отличающийся тем, что силовая связь преобразования крутильных колебаний (усилия крутящего момента) в осевое усилие от зубчатого колеса к корпусу выполнена через осевой кольцевой упругий элемент, который содержит два металлических кольца, между которыми прикреплено упругое кольцо, при этом внутренние кольца подшипников стянуты через распорную втулку на оси зубчатого колеса внутренней гайкой, а упругое кольцо расположено в корпусе между наружным кольцом подшипника и наружной гайкой, прижимающей наружное кольцо с усилием, в 1,5…2 раза превосходящим рабочее осевое усилие, действующее на коническое зубчатое колесо.
РИСУНКИ
|
|