|
|
(21), (22) Заявка: 2006134111/06, 25.09.2006
(24) Дата начала отсчета срока действия патента:
25.09.2006
(43) Дата публикации заявки: 27.03.2008
(46) Опубликовано: 10.10.2008
(56) Список документов, цитированных в отчете о поиске:
COMATROL, клапан типа XRP 044, www.comatrol.com. Башта Т.М. Гидропривод и гидропневмоавтоматика. – М.: Машиностроение, 1972, с.103. SU 1734080 A1, 15.05.1992. IT 1174994 A, 01.07.1987. GB 1174252 A, 17.12.1969.
Адрес для переписки:
420111, г.Казань, ул. Карла Маркса, 10, Казанский государственный технический университет им. А.Н. Туполева, отдел интеллектуальной собственности
|
(72) Автор(ы):
Кириллов Алексей Афанасьевич (RU), Маханько Андрей Анатольевич (RU), Маханько Анатолий Васильевич (RU), Михайлов Сергей Анатольевич (RU)
(73) Патентообладатель(и):
Негосударственная автономная некоммерческая организация Исследовательский центр “Омега” при КГТУ им. А.Н. Туполева (RU)
|
(54) КЛАПАН ДЛЯ УПРАВЛЕНИЯ ДАВЛЕНИЕМ (ВАРИАНТЫ)
(57) Реферат:
Клапан предназначен для управления давлением в гидравлических системах при включении фрикционов планетарных коробок перемены передач. Клапан содержит корпус с каналом подвода давления питания, каналом слива, выходным каналом регулируемого давления и внутренней расточкой, в которой размещен золотник, имеющий внутри канал с дросселем, соединяющий канал подвода с левой полостью, образованной расточкой в корпусе и левым торцом золотника и сообщающейся с каналом слива через управляющий клапан, и канал, соединяющий выходной канал с правой полостью, образованной расточкой в корпусе и правым торцом золотника и содержащей возвратную пружину, воздействующую на золотник. В золотнике выполнен дополнительный канал, соединяющий правую полость с каналом слива, в котором установлен дополнительный подпружиненный клапан, а в канале, соединяющем выходной канал с правой полостью, установлен дополнительный дроссель. В другом варианте выполнения клапана правая полость выполнена с возможностью соединения дополнительным подпружиненным клапаном с выходным каналом или с каналом слива, при этом дополнительный подпружиненный клапан установлен внутри золотника или в корпусе основного клапана. Технический результат – плавное включение фрикционов коробки перемены передач. 2 н. и 2 з.п. ф-лы, 5 ил.
Предлагаемое изобретение относится к области машиностроения, а именно к средствам управления давлением в гидравлических устройствах.
Известны регуляторы давления, например редукционные клапаны постоянного давления (Башта Т.М. Гидропривод и гидропневмоавтоматика, М., Машиностроение, 1972, с.103.) – [1]. Этот клапан содержит корпус с каналом подвода давления, каналом слива и выходным каналом и внутренней расточкой, в которой размещен золотник, изменяющий проходное сечение между каналом подвода давления и выходным каналом. На подвижную часть клапана действует с одной стороны пружина, стремящаяся увеличить проходное сечение, а с другой стороны давление в выходном канале, которое уменьшает проходное сечение. В выходном канале поддерживается стабилизированное давление, величина которого задается силой натяжения пружины. Основным недостатком этого регулятора является невозможность оперативно управлять величиной выходного давления.
Наиболее близким по устройству и назначению является клапан с электромагнитным управлением, например клапан типа XRP 044 фирмы Comatrol (Фиг.1) (www.comatrol.com см. Приложение 1), принятый за прототип – [2]. Этот клапан имеет корпус 1 с каналом подвода давления питания 2, каналом слива 3, выходным каналом регулируемого давления 4 и внутренней расточкой, в которой размещен золотник 5, соединяющий, в зависимости от своего положения, выходной канал регулируемого давления 4 либо с каналом подвода давления питания 2, либо с каналом слива 3. В теле золотника изготовлены каналы. Канал 10 постоянно соединяет через дроссель 11 канал подвода давления 2 с левой полостью, образованной расточкой в корпусе и левым торцом золотника. Канал 9 соединяет выходной канал 4 с правой полостью, образованной расточкой в корпусе и правым торцом золотника, в которой расположена возвратная пружина 6. Левая полость сообщается с каналом слива через управляющий клапан 7, усилие на котором задается током электромагнита 8. Положение золотника определяется равновесием действующих на него сил: с левой стороны – давлением, заданным усилием электромагнита, с правой стороны – давлением, сформированным в выходном канале и усилием возвратной пружины.
К недостаткам известной конструкции можно отнести сложность точного регулирования малых величин давления, так как непрерывный интервал регулирования охватывает весь диапазон давлений – от нуля до почти полного давления питания, и невозможность реализовать на выходе полное давление питания из-за влияния возвратной пружины.
Технический результат, на достижение которого направлено заявляемое изобретение, заключается в повышении точности регулирования в области малых давлений (1/10-1/5 от давления питания) и затем быстрого увеличения выходного давления до полного давления питания.
Технический результат достигается тем, что по первому варианту в клапане для управления давлением, содержащем корпус с каналом подвода давления питания, каналом слива, выходным каналом регулируемого давления и внутренней расточкой, в которой размещен золотник, имеющий внутри канал с дросселем, соединяющий канал подвода давления питания с левой полостью, образованной расточкой в корпусе и левым торцом золотника и сообщающейся с каналом слива через управляющий клапан, и канал, соединяющий выходной канал регулируемого давления с правой полостью, образованной расточкой в корпусе и правым торцом золотника и содержащей возвратную пружину, воздействующую на золотник, новым является то, что в золотнике выполнен канал, соединяющий правую полость с каналом слива, в котором установлен подпружиненный клапан, а в канале, соединяющем выходной канал регулируемого давления с правой полостью, установлен дополнительный дроссель.
По второму варианту в клапане для управления давлением, содержащем корпус с каналом подвода давления питания, каналом слива, выходным каналом регулируемого давления и внутренней расточкой, в которой размещен золотник, имеющий внутри канал с дросселем, соединяющий канал подвода давления питания с левой полостью, образованной расточкой в корпусе и левым торцом золотника и сообщающейся с каналом слива через управляющий клапан, и канал, соединяющий выходной канал регулируемого давления с правой полостью, образованной расточкой в корпусе и правым торцом золотника и содержащей возвратную пружину, воздействующую на золотник, новым является то, что правая полость выполнена с возможностью соединения дополнительным подпружиненным клапаном с выходным каналом регулируемого давления или с каналом слива.
Дополнительный подпружиненный клапан может быть установлен внутри золотника основного клапана или в дополнительной расточке корпуса основного клапана.
Сущность изобретения поясняется чертежами, где:
Фиг.2 – клапан для управления давлением (вариант 1).
Фиг.3 – клапан для управления давлением с дополнительным подпружиненным переключающим клапаном, установленным внутри золотника основного клапана (вариант 2).
Фиг.4 – клапан для управления давлением с дополнительным подпружиненным переключающим клапаном, установленным в дополнительной расточке корпуса основного клапана (вариант 2).
Фиг.5 – зависимость выходного давления от управляющего сигнала.
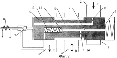
Клапан по варианту 1 (Фиг.2) содержит корпус 1 с каналом подвода давления питания 2, каналом слива 3 и выходным каналом регулируемого давления 4, с расточкой, содержащей золотник 5 и возвратную пружину 6, управляющий клапан 7 с электромагнитом 8. В золотнике 5 имеется канал 9, соединяющий выходной канал регулируемого давления 4 с правой полостью, образованной расточкой в корпусе 1 и правым торцом золотника 5, и канал 10 с дросселем 11, соединяющий канал подвода давления питания 2 с левой полостью, образованной расточкой в корпусе 1 и левым торцом золотника 5 и сообщающейся с каналом слива через управляющий клапан 7. В золотнике выполнен дополнительный канал, соединяющий правую полость с каналом слива 3 и в котором установлен дополнительный клапан 12, подпружиненный пружиной 13, а в канале 9 установлен дополнительный дроссель 14.
Клапан по варианту 2 для управления давлением содержит корпус 1 с каналом подвода давления питания 2, каналом слива 3, выходным каналом регулируемого давления 4 и внутренней расточкой, в которой размещен золотник 5, имеющий внутри канал с дросселем 11, соединяющий канал подвода давления питания 2 с левой полостью, образованной расточкой в корпусе 1 и левым торцом золотника 5 и сообщающейся с каналом слива 3 через управляющий клапан 7, и канал, соединяющий выходной канал регулируемого давления 4 с правой полостью, образованной расточкой в корпусе 1 и правым торцом золотника 5 и содержащей возвратную пружину 6, воздействующую на золотник 5. В клапане правая полость выполнена с возможностью соединения дополнительным подпружиненным пружиной 16 клапаном 15 с выходным каналом регулируемого давления 4 или с каналом слива 3.
Дополнительный подпружиненный клапан 15 может быть установлен внутри золотника 5 основного клапана (Фиг.3) или в дополнительной расточке корпуса 1 основного клапана (Фиг.4).
Клапан (Фиг.2) работает следующим образом. При отсутствии тока в обмотке электромагнита 8 управляющий клапан 7 свободно сообщает левую полость, образованную расточкой в корпусе 1 и левым торцом золотника 5, с каналом слива 3 и давление в ней близко к давлению в канале слива, т.к. падение давления на дросселе 11 практически равно давлению питания. Под действием возвратной пружины 6 золотник 5 перемещается в крайнее левое положение, соединяя выходной канал регулируемого давления 4 с каналом слива 3. Канал подвода давления питания 2 перекрыт золотником 5 от выходного канала регулируемого давления 4. Давление в выходном канале регулируемого давления 4 (в гидроцилиндре фрикциона) близко к нулю. При подаче тока в обмотку электромагнита 8 на управляющий клапан 7 действует усилие, определяемое величиной тока, уменьшается поток жидкости через дроссель 11 и в левой полости устанавливается давление, пропорциональное созданному электромагнитом 8 усилию. Когда усилие, создаваемое давлением в левой полости, превысит усилие возвратной пружины 6, золотник 5 смещается вправо, открывая путь жидкости из канала подвода давления питания 2 в выходной канал регулируемого давления 4. Давление в выходном канале регулируемого давления 4 через дроссель 14 и канал 9 в золотнике 5 передается в правую полость. Золотник 5 займет такое положение, при котором усилия, действующие на него справа и слева, уравновесятся. Давление в выходном канале регулируемого давления 4 при этом определяется величиной тока электромагнита 8. По достижении определенного давления в правой полости, на которое предварительным натяжением пружины 13 настроен дополнительный клапан 12, он сообщает правую полость с каналом слива 3 и давление в ней больше не увеличивается. При дальнейшем увеличении тока электромагнита 8 и соответственно увеличении давления в левой полости равновесие сил, действующих на золотник 5, будет нарушено и золотник 5 переместится в крайнее правое положение, обеспечивая надежное соединение выходного канала регулируемого давления 4 с каналом подвода давления питания 2 и подачу полного давления питания в гидроцилиндр фрикциона.
Зависимость давления в выходном канале регулируемого давления 4 от величины тока электромагнита 8 показано на Фиг.5. Характеристика имеет участки – зону нечувствительности ОА, участок плавного регулирования давления АВ, участок быстрого нарастания давления ВС и участок насыщения CD, на котором давление в выходном канале регулируемого давления 4 не зависит от величины тока электромагнита 8 и равно давлению питания. Протяженность участка АВ определяется настройкой пружины 13 дополнительного клапана 12.
Применение предлагаемого устройства позволяет повысить точность регулирования в области малых давлений, наиболее важной для управления многими устройствами, в частности фрикционами включения передач в планетарных коробках перемены передач тяжелых транспортных машин. Это обеспечивает плавное безударное включение передач, что снижает динамические нагрузки на элементы трансмиссии, повышает долговечность работы трансмиссии и улучшает комфортность использования машины.
В некоторых случаях наличие дросселя 14 в канале, связывающем правую полость с выходным каналом регулируемого давления 4, является нежелательным, поскольку ограничивает скорость перемещения золотника 5. Для преодоления этого недостатка предлагаются конструкции клапана, в которых дросселя 14 нет. Для обеспечения требуемого вида статической характеристики использован дополнительный переключающий клапан 15 с пружиной 16.
В зависимости от требований к конструкции и условий работы возможно размещение дополнительного подпружиненного переключающего клапана 15 внутри золотника 5 (Фиг.3) или в корпусе 1 основного клапана (Фиг.4).
Если давление в левой полости, задаваемое усилием электромагнита 8, не достигает т. В (Фиг.5), переключающий клапан 15 (Фиг.3 и 4) удерживается пружиной 16 в исходном положении, сообщая правую полость с выходным каналом регулируемого давления 4, что обеспечивает формирование в выходном канале регулируемого давления 4 требуемого давления. Когда давление в левой полости превысит значение в т. В (Фиг.5), переключающий клапан 15 (Фиг.3 и 4), преодолевая усилие пружины 16, сместится в правое положение. При этом правая полость будет разобщена с выходным каналом регулируемого давления 4 и соединена с каналом слива 3. Давление в ней уменьшится и под действием давления в левой полости золотник 5 (Фиг.3 и 4) сместится в крайнее правое положение, сообщая выходной канал регулируемого давления 4 с каналом подвода давления питания 2. Зависимость давления в выходном канале регулируемого давления 4 от управляющего тока электромагнита 8 имеет вид, показанный на Фиг.5.
Таким образом, введение в конструкцию клапана дополнительных элементов, обеспечивающих при достижении заданного давления соединение правой полости с каналом слива, позволяет реализовать необходимую зависимость выходного давления от управляющего сигнала для точного регулирования в области малых давлений.
Формула изобретения
1. Клапан для управления давлением, содержащий корпус с каналом подвода давления питания, каналом слива, выходным каналом регулируемого давления и внутренней расточкой, в которой размещен золотник, имеющий внутри канал с дросселем, соединяющий канал подвода давления питания с левой полостью, образованной расточкой в корпусе и левым торцом золотника и сообщающейся с каналом слива через управляющий клапан, и канал, соединяющий выходной канал регулируемого давления с правой полостью, образованной расточкой в корпусе и правым торцом золотника и содержащей возвратную пружину, воздействующую на золотник, отличающийся тем, что в золотнике выполнен дополнительный канал, соединяющий правую полость с каналом слива, в котором установлен дополнительный подпружиненный клапан, а в канале, соединяющем выходной канал регулируемого давления с правой полостью, установлен дополнительный дроссель.
2. Клапан для управления давлением, содержащий корпус с каналом подвода давления питания, каналом слива, выходным каналом регулируемого давления и внутренней расточкой, в которой размещен золотник, имеющий внутри канал с дросселем, соединяющий канал подвода давления питания с левой полостью, образованной расточкой в корпусе и левым торцом золотника и сообщающейся с каналом слива через управляющий клапан, и канал, соединяющий выходной канал регулируемого давления с правой полостью, образованной расточкой в корпусе и правым торцом золотника и содержащей возвратную пружину, воздействующую на золотник, отличающийся тем, что правая полость выполнена с возможностью соединения дополнительным подпружиненным клапаном с выходным каналом регулируемого давления или с каналом слива.
3. Клапан для управления давлением по п.2, отличающийся тем, что дополнительный подпружиненный клапан установлен внутри золотника.
4. Клапан для управления давлением по п.2, отличающийся тем, что дополнительный подпружиненный клапан установлен в корпусе основного клапана.
РИСУНКИ
|
|