|
|
(21), (22) Заявка: 2006141108/06, 20.11.2006
(24) Дата начала отсчета срока действия патента:
20.11.2006
(46) Опубликовано: 10.10.2008
(56) Список документов, цитированных в отчете о поиске:
RU 2059108 C1, 27.04.1996. RU 47986 U1, 10.09.2005. RU 2109385 A1, 27.04.1998. SU 1539385 A1, 30.01.1990. SU 842216 A1, 30.06.1981. SU 853148 A1, 07.08.1981. US 4525122 A, 25.06.1985.
Адрес для переписки:
607220, Нижегородская обл., г. Арзамас, ул. Кирова, 26, ОАО АНПП “ТЕМП-АВИА”
|
(72) Автор(ы):
Пономарев Николай Степанович (RU), Харбаш Владимир Хаим-Яковлевич (RU)
(73) Патентообладатель(и):
Открытое акционерное общество Арзамасское научно-производственное предприятие “ТЕМП-АВИА” (ОАО АНПП “ТЕМП-АВИА”) (RU)
|
(54) АВТОКОЛЕБАТЕЛЬНЫЙ ПРЕОБРАЗОВАТЕЛЬ
(57) Реферат:
Изобретение относится к области энергетики и может найти применение при преобразовании энергии потока жидкости или газа. Автоколебательный преобразователь содержит флюгер в виде лопасти, установленной на вертикальном валу. Преобразователь снабжен рамой, установленной на дополнительном валу, закрепленном в корпусе и связанном с нагрузкой, при этом рама установлена с возможностью поворота под действием потока совместно с лопастью и закрепленным в раме вертикальным валом на угол, равный углу между стойками рамы, ограничивающими поворот лопасти. Кроме того, дополнительный вал может быть связан с источником энергии. Изобретение обеспечивает преобразование энергии потока жидкости или газа в энергию угловых колебаний нагрузки или энергии источника в угловые колебания перемещения при простоте конструкции. 1 з.п. ф-лы, 2 ил.
Изобретение относится к области энергетики и может найти применение при преобразовании энергии потока жидкости или газа в энергию угловых колебаний нагрузки или энергии источника в угловые колебательные перемещения.
Известен ветродвигатель [1], содержащий ветроколесо с вертикальной осью вращения, снабженное не менее чем тремя ветровоспринимающими элементами, при этом ветроколесо установлено с возможностью взаимодействия с генератором электрической энергии.
Недостатком данного ветроколеса является сложность конструкции.
Наиболее близким по технической сущности является ветровой преобразователь [2], содержащий лопасти, механически связанные с валом генератора электрической энергии, а корпус генератора механически связан с лопастями противоположного исполнения по сравнению с лопастями, связанными с валом генератора. При этом корпус генератора имеет возможность вращения, выход генератора электрически связан с нагрузкой через коллектор, ветровой преобразователь выполнен в форме флюгера.
Недостатками известного устройства, принятого за прототип, являются сложность конструкции, наличие большого количества деталей.
Задачей изобретения является упрощение конструкции.
Указанная задача достигается за счет того, что автоколебательный преобразователь, содержащий флюгер в виде лопасти, установленной на вертикальном валу, согласно изобретению снабжен рамой, установленной на дополнительном валу, закрепленном в корпусе и связанном с нагрузкой, при этом рама установлена с возможностью поворота под действием потока совместно с лопастью и закрепленным в раме вертикальным валом на угол, равный углу между стойками рамы, ограничивающими поворот лопастей. Кроме того, дополнительный вал может быть связан с источником энергии.
К существенным отличиям предложенного устройства по сравнению с прототипом относится то, что его подвижная часть имеет только одну лопасть плоской формы, а не несколько лопастей различного исполнения, за счет чего достигается упрощение конструкции.
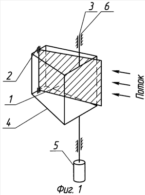
Сущность изобретения поясняется чертежами, причем на Фиг.1 изображена кинематическая схема автоколебательного преобразователя, а на Фиг.2 – вид сверху.
Автоколебательный преобразователь содержит флюгер в виде лопасти 1, которая установлена на вертикальном валу 2. На дополнительном валу 3 установлена рама 4, в которой закреплен вертикальный вал 2 с лопастью 1. Дополнительный вал 3 связан с нагрузкой 5. Поворот лопасти 1 ограничен стойками рамы 4 или специальными упорами (не показаны). Дополнительный вал 3 закреплен в корпусе 6. Дополнительный вал 3 может быть связан с источником энергии типа электродвигателя, и в этом случае заявленный преобразователь будет превращать энергию источника в угловые перемещения.
В первоначальный момент времени под воздействием потока лопасть 1 поворачивается до стойки рамы 4. После этого под воздействием потока рама 4 поворачивается вместе с лопастью 1 до пересечения плоскости лопасти 1 с вектором потока. При этом лопасть 1 попадает в зону неустойчивости и под воздействием боковой составляющей силы потока отклоняется к противоположной стойке рамы 4. За счет перемещения лопасти 1 сместится плоскость рамы 4 с лопастью 1 на угол, равный углу между двумя стойками рамы 4. Теперь под воздействием потока рама 4 с лопастью начнет движение в противоположную сторону. Далее процесс повторится. Таким образом, рама 4 и лопасть 1 с определенным фазовым сдвигом будут совершать угловые автоколебания.
Если вместо нагрузки 5 к валу 3 присоединить источник энергии, например электродвигатель с колебательным движением, то лопасть 1 с рамой 4 будут совершать угловые колебания, создавая однонаправленное толкающее усилие.
Источники информации
1. Патент РФ №2283968, МПК F03D 3/00, опубликовано 20.09.2006.
2. Патент РФ №2280192, МПК F03D 9/00, опубликован 20.07.2006 (прототип).
Формула изобретения
1. Автоколебательный преобразователь, содержащий флюгер в виде лопасти, установленной на вертикальном валу, отличающийся тем, что он снабжен рамой, установленной на дополнительном валу, закрепленном в корпусе и связанном с нагрузкой, при этом рама установлена с возможностью поворота под действием потока совместно с лопастью и закрепленным в раме вертикальным валом на угол, равный углу между стойками рамы, ограничивающими поворот лопасти.
2. Автоколебательный преобразователь по п.1, отличающийся тем, что дополнительный вал связан с источником энергии.
РИСУНКИ
|
|