|
|
(21), (22) Заявка: 2005124891/06, 04.08.2005
(24) Дата начала отсчета срока действия патента:
04.08.2005
(43) Дата публикации заявки: 10.02.2007
(46) Опубликовано: 10.10.2008
(56) Список документов, цитированных в отчете о поиске:
RU 2027883 C1, 27.01.1995. RU 2121066 C1, 27.10.1998. RU 2084661 C1, 20.07.1997. WO 0206650 A, 24.01.2002. DE 19954480 A, 17.05.2001. DE 4409212 A, 21.09.1995.
Адрес для переписки:
460000, г.Оренбург, пр. Парковый, 6, Торгово-промышленная палата Оренбургской области
|
(72) Автор(ы):
Гусев Владимир Семенович (RU), Гусев Игорь Владимирович (RU), Калимуллин Руслан Флюрович (RU), Горбачев Сергей Викторович (RU)
(73) Патентообладатель(и):
Гусев Владимир Семенович (RU)
|
(54) РОТОРНЫЙ ДВИГАТЕЛЬ ВНУТРЕННЕГО СГОРАНИЯ
(57) Реферат:
Изобретение относится к двигателестроению, а именно к роторным двигателям внутреннего сгорания. В роторном двигателе внутреннего сгорания между и над компрессорной и рабочей секциями установлен диск, связанный с секциями каналами, имеющий привод от вала двигателя. Диск в его средней части имеет две полости одинакового объема, отделенные одна от другой перегородкой, проходящей по центру диска вдоль его продольной оси, и установлен в корпусе с возможностью вращения относительно оси, перпендикулярной оси вала двигателя. Привод диска кинематически связан с валом двигателя так, что при вращении диска его полости занимают три фиксированных положения, при которых каждая полость поочередно сначала через канал в корпусе соединена с компрессорной секцией и выполняет при этом роль камеры сжатия, затем занимает промежуточное положение, изолирующее полость диска от каналов обеих секций, выполняя при этом роль камеры сгорания, и затем через другой канал в корпусе соединена с рабочей секцией и выполняет вместе с ней роль камеры расширения. Повышается КПД двигателя за счет обеспечения постоянного давления топливной смеси от конца процесса сжатия до начала воспламенения и создания условий для сгорания топливной смеси при постоянном объеме. 6 ил.
Изобретение относится к двигателестроению, а именно к роторным двигателям внутреннего сгорания.
Известен принятый за прототип роторный двигатель внутреннего сгорания, содержащий компрессорную и рабочую секции, установленный между секциями и связанный с ними каналами золотник, имеющий привод от вала двигателя, камеру сжатия и сгорания, рабочая секция двигателя включает корпус с цилиндрической полостью и ротор, выполненный в форме кулачка с криволинейной рабочей поверхностью, большая часть которой является цилиндрической поверхностью, концентричной поверхности полости корпуса, а меньшая часть выполнена в виде плавного выступа, контактирующего с поверхностью полости корпуса, при этом ротор кинематически связан с затвором, имеющим паз, а цилиндрическая поверхность затвора размещена в отверстии корпуса и прилегает к цилиндрической поверхности ротора (патент RU №2027883, F02В 53/00, 27.01.95 г.).
Недостатком известного двигателя является то, что в компрессорной секции необходимо создавать давление, значительно большее, чем необходимо для воспламенения топливной смеси, поскольку в момент достижения в компрессорной секции максимального давления сжатия открывается золотник и объем камеры сжатия увеличивается за счет объема перепускного канала в золотнике, а объем камеры сгорания является переменным.
Задачей изобретения является повышение КПД двигателя за счет обеспечения постоянного давления топливной смеси от конца цикла сжатия до начала воспламенения и создания условий для сгорания топливной смеси при постоянном объеме.
Поставленная задача решается за счет того, что в роторном двигателе внутреннего сгорания, содержащем компрессорную и рабочую секции, последняя из которых включает корпус с цилиндрической полостью и ротор, выполненный в форме кулачка с криволинейной рабочей поверхностью, большая часть которой является цилиндрической поверхностью, концентричной поверхности полости корпуса, а меньшая часть выполнена в виде плавного выступа, контактирующего с поверхностью полости корпуса, при этом ротор кинематически связан с затвором, имеющим паз, а цилиндрическая поверхность затвора размещена в отверстии корпуса и прилегает к цилиндрической поверхности ротора секции, согласно изобретению, между и над компрессорной и рабочей секциями установлен диск, связанный с секциями каналами, имеющий привод от вала двигателя, при этом диск в его средней части имеет две полости одинакового объема, отделенные одна от другой перегородкой, проходящей по центру диска вдоль его продольной оси, и установлен в корпусе с возможностью вращения относительно оси, перпендикулярной оси вала двигателя, а его привод кинематически связан с валом двигателя так, что при вращении диска его полости занимают три фиксированных положения, при которых каждая полость поочередно сначала через канал в корпусе соединена с компрессорной секцией и выполняет при этом роль камеры сжатия, затем занимает промежуточное положение, изолирующее полость диска от каналов обеих секций, выполняя при этом роль камеры сгорания, и затем через другой канал в корпусе соединена с рабочей секцией и выполняет вместе с ней роль камеры расширения.
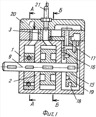
На фиг.1 изображен заявленный роторный двигатель в разрезе;
на фиг.2 – разрез А-А на фиг.1;
на фиг.3 – разрез Б-Б на фиг.1;
на фиг.4 – вид на камеру сжатия;
на фиг.5 – промежуточное положение камеры;
на фиг.6 – вид на камеру сгорания.
Заявляемый роторный двигатель устроен следующим образом.
Корпус 1 двигателя разделен перегородкой 2 на две секции: компрессорную и рабочую. Имеющиеся в диске 3 полости могут быть соединены с компрессорной секцией каналом 4. Корпус 1 в рабочей секции имеет цилиндрическую полость 6, в которой установлен цилиндрический ротор 7, имеющий выступ 8. Ротор 7 жестко закреплен на валу 9 двигателя и кинематически связан с заслонкой 10, которая размещена в отверстии корпуса 1. В теле заслонки 10 для прохода выступа 8 ротора 7 выполнен паз 11. Полости 12 и 13 в диске 3 отделены одна от другой перегородкой 14, проходящей по центру диска 3 вдоль его продольной оси. Привод диска 3 кинематически связан с ротором 7 так, что каждая из полостей 12 и 13 поочередно соединяются вначале с каналом 4 компрессорной секции и выполняют при этом роль камеры сжатия, затем занимают промежуточное положение и выполняют роль камеры сгорания, затем соединяются с каналом 5 рабочей секции и выполняют вместе с ней роль камеры расширения. Такая кинематическая связь может быть осуществлена, например, с помощью кулачкового барабана 15, закрепленного на валу двигателя 9 и воздействующего соответствующими кулачковыми пазами на рычаг 16 и рычаг – зубчатый сектор 17, жестко связанных соответственно с заслонкой 10 и диском 3. Кулачковый паз 18 барабана 15 предназначен для периодического поворота и установки диска 3 в положения, показанные на фиг.4, 5, 6, а кулачковый паз 19 предназначен для периодического поворота заслонки 10 в момент пропуска выступа 8 ротора 7 при каждом обороте последнего. В крышке 20 над каждой полостью диска 3 установлены свечи зажигания 21 (карбюраторный вариант двигателя) или форсунки для впрыска топлива в одну из полостей в диске 3. Системы питания смазки и охлаждения двигателя условно не показаны.
Двигатель работает следующим образом. При вращении вала 9 происходит вращение ротора 7 и эксцентрика 22. Условно назовем этот оборот нечетным. В положении, показанном на фиг.2 и 4, полость 23 компрессорной секции полностью заполнена топливной смесью (для карбюраторного варианта двигателя) или воздухом (для варианта двигателя с впрыском топлива). При этом по направлению вращения эксцентрика 22 происходит сжатие топливной смеси или воздуха, а вслед за эксцентриком 22 создается разрежение, обеспечивающее всасывание топливной смеси или воздуха через впускной канал 24. Сжимаемая топливная смесь или воздух через канал 4 поступает в полость 12 диска 3, а положение перегородки 14 при этом показано на фиг.4. После того, как эксцентрик 22 вытеснит топливную смесь или воздух из полости 23 в полость 12 и, воздействуя на затвор 25, закроет канал 4, перегородка 14 диска 3 займет положение, показанное на фиг.5. Поворот диска 3 в этот момент происходит с помощью кулачкового паза 18 барабана 15 рычага – зубчатого сектора 17. В этот момент подается напряжение на свечу зажигания (карбюраторный вариант двигателя) или впрыскивается топливо через форсунку в полость 12, в которой происходит воспламенение топливной смеси, т.е. полость в этот момент выполняет роль камеры сгорания при постоянном объеме. Далее выступ 8 ротора 7 проходит канал 5, через который в это время продукты сгорания топлива с высоким давлением поступают в полость 6 рабочей секции. Расширяющиеся в полости 6 продукты сгорания топлива оказывают давление на выступ 8 ротора 7 и совершают таким образом рабочий оборот вала 9. С другой стороны выступа 8 происходит удаление продуктов сгорания предыдущего оборота ротора через канал 26. С этого момента начинается условно названный «четный» оборот эксцентрика 22. При этом сжимаемая топливная смесь или воздух через канал 4 поступает в полость 13, перегородка 14 в диске 3 находится в положении, показанном на фиг.6, а сама полость 13 выполняет роль камеры сжатия. После того, как эксцентрик 22 вытеснит очередную порцию топливной смеси или воздуха из полости 23 в полость 13 и, воздействуя на затвор 25, снова закроет канал 4, перегородка 14 диска 3 займет положение, показанное на фиг.5. Поворот диска 3 в этот момент происходит аналогично описанному при «нечетном» обороте. Все дальнейшее происходит аналогично происходящему при «нечетном» обороте, за исключением того, что роль камеры сгорания при «четном» обороте ротора выполняет полость 13 в диске 3.
Таким образом, за каждые два оборота ротора 7 и эксцентрика 22 полости 12 и 13 в диске 3 поочередно соединяются вначале с каналом 4 компрессорной секции и выполняют роль камеры сжатия, затем занимают промежуточное положение, показанное на фиг.5, и выполняют роль камеры сгорания и затем соединяются с каналом 5 рабочей секции и выполняют роль камеры расширения.
Заявляемая конструкция роторного двигателя позволяет повысить коэффициент полезного действия двигателя за счет обеспечения постоянного давления топливной смеси от конца цикла сжатия до начала воспламенения и создания условий для сгорания топливной смеси при постоянном объеме.
Формула изобретения
Роторный двигатель внутреннего сгорания, содержащий компрессорную и рабочую секции, последняя из которых включает корпус с цилиндрической полостью и ротор, выполненный в форме кулачка с криволинейной рабочей поверхностью, большая часть которой является цилиндрической поверхностью, концентричной поверхности полости корпуса, а меньшая часть выполнена в виде плавного выступа, контактирующего с поверхностью полости корпуса, при этом ротор кинематически связан с затвором, имеющим паз, а цилиндрическая поверхность затвора размещена в отверстии корпуса и прилегает к цилиндрической поверхности ротора секции, отличающийся тем, что между и над компрессорной и рабочей секциями установлен диск, связанный с секциями каналами, имеющий привод от вала двигателя, при этом диск в его средней части имеет две полости одинакового объема, отделенные одна от другой перегородкой, проходящей по центру диска вдоль его продольной оси, и установлен в корпусе с возможностью вращения относительно оси, перпендикулярной оси вала двигателя, а его привод кинематически связан с валом двигателя так, что при вращении диска его полости занимают три фиксированных положения, при которых каждая полость поочередно сначала через канал в корпусе соединена с компрессорной секцией и выполняет при этом роль камеры сжатия, затем занимает промежуточное положение, изолирующее полость диска от каналов обеих секций, выполняя при этом роль камеры сгорания, и затем через другой канал в корпусе соединена с рабочей секцией и выполняет вместе с ней роль камеры расширения.
РИСУНКИ
MM4A – Досрочное прекращение действия патента СССР или патента Российской Федерации на изобретение из-за неуплаты в установленный срок пошлины за поддержание патента в силе
Дата прекращения действия патента: 05.08.2008
Извещение опубликовано: 10.07.2010 БИ: 19/2010
|
|