|
|
(21), (22) Заявка: 2004101931/06, 21.01.2004
(24) Дата начала отсчета срока действия патента:
21.01.2004
(30) Конвенционный приоритет:
22.01.2003 US 10/348,010
(43) Дата публикации заявки: 10.07.2005
(46) Опубликовано: 10.10.2008
(56) Список документов, цитированных в отчете о поиске:
US 6340285 B1, 22.01.2002. US 6126389 A, 03.10.2000. US 6116852 A, 12.09.2000. US 5993150 A, 30.11.1999. US 4177004 A, 04.12.1979. RU 2136896 C1, 10.09.1999.
Адрес для переписки:
129010, Москва, ул. Б.Спасская, 25, стр.3, ООО “Юридическая фирма Городисский и Партнеры”, пат.пов. С.А.Дорофееву
|
(72) Автор(ы):
ТОМПСОН Джефф (US)
(73) Патентообладатель(и):
ДЖЕНЕРАЛ ЭЛЕКТРИК КОМПАНИ (US)
|
(54) СТАТОРНЫЙ БАНДАЖНЫЙ ЭЛЕМЕНТ МНОГОСТУПЕНЧАТОЙ ГАЗОВОЙ ТУРБИНЫ, СЕГМЕНТ СТАТОРНОГО БАНДАЖА И СПОСОБ ОТСОЕДИНЕНИЯ И УДАЛЕНИЯ ПЕРВОГО ВНУТРЕННЕГО БАНДАЖНОГО ЭЛЕМЕНТА
(57) Реферат:
Статорный бандажный элемент многоступенчатой газовой турбины содержит сегмент бандажа, имеющий поверхность, предназначенную для обозначения тракта горячего газа, а также передний, направленный против потока, край и задний, направленный по потоку, край. Сегмент бандажа включает наружный бандажный элемент и, по меньшей мере, один внутренний бандажный элемент. Наружный бандажный элемент содержит вдоль каждого из его краев по канавке, каждая из которых открыта по оси в одном и том же направлении. Внутренний бандажный элемент имеет выступающие по оси части переднего и заднего краев для соединения с канавками наружного бандажного элемента. Статорный бандажный элемент содержит штифт, проходящий через канал, выполненный в наружном бандажном элементе, в гнездо, выполненное во внутреннем бандажном элементе, для фиксации по окружности внутреннего бандажного элемента на наружном бандажном элементе. Другое изобретение группы касается указанного сегмента статорного бандажа, входящего в состав статорного бандажного элемента. Способ отсоединения и удаления первого внутреннего бандажного элемента включает удаление и перемещение по оси сопряженной детали расположенной выше по потоку от первого внутреннего бандажного элемента. Затем осуществляют удаление штифта, препятствующего повороту первого внутреннего бандажного элемента относительно первого наружного бандажного элемента. После чего удаляют штифты из прилегающих по окружности внутренних бандажных элементов и сдвигают их до освобождения матерчатых уплотнений. Затем сдвигают первый внутренний бандажный элемент по направлению оси для отсоединения переднего и заднего краевых крючковидных элементов и перемещают его в радиальном направлении. Изобретения позволяют упростить обслуживание бандажных элементов без повышения сложности их конструктивного выполнения. 3 н. и 6 з.п. ф-лы, 5 ил.
Предпосылки создания изобретения
В промышленной газовой турбине сегменты бандажа прикреплены к крючковидным элементам кожуха турбины и расположены в виде кольцевой группы вокруг оси ротора турбины для образования кольцевого бандажа, ориентированного по радиусу наружу и находящегося вблизи концов рабочих лопаток турбины, образующих часть ротора турбины. Внутренняя стенка бандажа обозначает часть газового тракта. Обычно сегменты бандажа состоят из внутреннего и наружного бандажных элементов, снабженных сопряженными крючковидными элементами и канавками вблизи передних и задних краев, предназначенными для соединения внутреннего и внешнего бандажных элементов друг с другом. В свою очередь, наружный бандажный элемент прикреплен к крючковидным элементам кожуха или корпуса турбины. В типовой конструкции каждый сегмент бандажа имеет один наружный бандажный элемент и два или три внутренних бандажных элемента.
В последнее время при проектировании внутренних бандажных элементов используют два типовых решения: конструкцию с крючковидными элементами, противоположными по форме, и конструкцию с С-образным зажимом. Конструкция с крючковидными элементами, противоположными по форме, отражает более традиционное решение и в ней используются выступающие в противоположных направлениях крючковидные элементы на переднем и заднем краях, которые удерживаются наружным бандажным элементом. Основной недостаток, выявляющийся при обслуживании такой конструкции, заключается в том, что внутренний бандажный элемент не может быть перемещен в осевом направлении; его можно выдвигать из корпуса только по окружности. При таком условии доступа необходимо удалять все присоединенные бандажные узлы до того, как станет возможным доступ к бандажному элементу, представляющему интерес.
Поэтому в случае традиционной конструкции с крючковидными элементами, противоположными по форме, для удаления конкретного внутреннего бандажного элемента должны быть удалены все предшествующие бандажные элементы путем выведения из соединения их препятствующих повороту штифтов и затем выдвигания их одного за другим до тех пор, пока не станет доступным бандажный элемент, представляющий интерес. В случае газовой турбины, имеющей 66 деталей, для получения доступа к внутреннему бандажному элементу, представляющему интерес, потребуется удалить до 5 дополнительных наружных бандажных элементов, наряду с 15 внутренними бандажными элементами.
Второе известное решение, упомянутое выше, – конструкция с С-образным зажимом – обеспечивает улучшение обслуживания по сравнению с решением с крючковидными элементами, противоположными по форме настолько, что возникает возможность осевого доступа к внутреннему бандажному элементу. Известная конструкция с С-образным зажимом схематично показана на фиг.1. Как можно видеть, аналогично традиционному решению с крючковидными элементами, противоположными по форме, в этой конструкции также имеются передний и задний краевые крючковидные элементы 10, 12, выступающие в противоположных направлениях. Однако задний краевой крючковидный элемент 12 удерживается отдельным С-образным зажимом 14, тогда как противоположный удерживается наружным бандажным элементом 16. После удаления С-образного зажима 14 внутренний бандажный элемент 18 может быть перемещен в осевом направлении, показанном стрелкой А, в результате чего улучшается доступ для обслуживания благодаря предоставленной возможности удаления только представляющего интерес бандажного элемента 18. Однако следует отметить, что, по меньшей мере, один прилегающий внутренний бандажный элемент, приблизительно от одного до трех бандажных элементов на каждой стороне (непоказанных), все же необходимо сдвинуть по окружности для освобождения матерчатых уплотнений. Указанные выше технические решения раскрыты в патенте США №6340285, раскрывающем сегмент статорного бандажа.
Имеются два основных недостатка описанной выше конструкции с С-образным зажимом. Первый недостаток заключается в повышенной сложности из-за дополнительных компонентов и деталей С-образного зажима. Эти компоненты и детали включают в себя сам С-образный зажим, препятствующий повороту штифта, и обработанные на станке детали, необходимые для согласования осевых и радиальных установочных поверхностей, опорной поверхности для С-образного зажима и отверстий для удерживающих штифтов. Второй недостаток конструкции с С-образным зажимом заключается в том, что для получения возможности сервисного доступа к штифту С-образного зажима два сопла ступени в области, представляющей интерес, должны быть сдвинуты по окружности, для чего требуется удаление штифтов, препятствующих повороту сопел.
Краткое описание изобретения
Поэтому желательны дальнейшее улучшения доступа, например улучшение сервисного доступа, и уменьшение сложности.
Согласно настоящему изобретению предложено видоизменить только один внутренний бандажный элемент ступени, чтобы повернуть в обратном направлении передний краевой крючковидный элемент по сравнению с традиционной конструкцией крючковидного элемента и конструкцией C-образного зажима с целью обеспечения возможности осевого удаления представляющего интерес бандажного элемента без удаления дополнительных бандажных элементов. Конструкция с крючковидным элементом, повернутым в обратном направлении в соответствии с вариантом осуществления изобретения, упрощает доступ при отсутствии повышенной сложности конструкции с C-образным зажимом.
Поэтому изобретение может быть реализовано в виде сегмента статорного бандажа, содержащего наружный бандажный элемент, имеющий передний, направленный против потока, край и задний, направленный по потоку, край и радиально внутреннюю и радиально наружную поверхности, при этом указанный наружный бандажный элемент включает в себя передний краевой крючковидный элемент и задний краевой крючковидный элемент, оба указанных крючковидных элемента указанного наружного бандажного элемента выступают в первом осевом направлении; несколько внутренних бандажных элементов, при этом каждый имеет передний, направленный против потока, край и задний, направленный по потоку, край и радиально внутреннюю и радиально наружную поверхности, внутренний бандажный элемент включает в себя передний краевой крючковидный элемент и задний краевой крючковидный элемент, причем оба крючковидных элемента внутреннего бандажного элемента выступают во втором осевом направлении, диаметрально противоположном первому осевому направлению; передние и задние крючковидные элементы каждого внутреннего бандажного элемента соединены соответственно с передним и задним крючковидными элементами наружного бандажного элемента, при этом указанное соединение по направлению оси и радиально фиксирует внутренний бандажный элемент на наружном бандажном элементе.
Изобретение также может быть реализовано в виде статорного бандажного элемента многоступенчатой газовой турбины, содержащего сегмент бандажа, имеющий поверхность, отчасти предназначенную для обозначения тракта горячего газа через одну ступень и поверх размещения лопаток этой одной ступени, образующих часть ротора турбины, при этом сегмент бандажа имеет передний, направленный против потока, край и задний, направленный по потоку, край; сегмент бандажа включает в себя соединенные наружный бандажный элемент и, по меньшей мере, один внутренний бандажный элемент, наружный бандажный элемент имеет канавку, выполненную рядом и вдоль каждого из его переднего и заднего краев, причем канавки открыты по оси в одном и том же направлении; а внутренний бандажный элемент имеет выдающуюся по оси, выступающую часть переднего края и выдающуюся по оси, выступающую часть заднего края для вхождения в соединение соответственно с указанными канавками наружного бандажного элемента, при этом указанное соединение фиксирует по направлению оси и радиально внутренний бандажный элемент на наружном бандажном элементе.
Изобретение может быть дополнительно реализовано в виде способа отсоединения и удаления первого внутреннего бандажного элемента, имеющего передний краевой крючковидный элемент и задний краевой крючковидный элемент, от наружного бандажного элемента, имеющего переднюю краевую канавку и заднюю краевую канавку, находящиеся взаимно в соединении с передним и задним краевыми крючковидными элементами первого внутреннего бандажного элемента, при этом передний и задний краевые крючковидные элементы первого внутреннего бандажного элемента выступают в одном и том же осевом направлении, включающего в себя удаление и перемещение по направлению оси сопряженной детали на стороне выше по потоку от первого внутреннего бандажного элемента; удаление штифта, препятствующего повороту первого внутреннего бандажного элемента, соединяющего первый внутренний бандажный элемент и наружный бандажный элемент; удаление препятствующих повороту штифтов из прилегающих по окружности внутренних бандажных элементов и сдвиг прилегающих по окружности внутренних бандажных элементов до освобождения матерчатых уплотнений между ними; сдвиг первого внутреннего бандажного элемента по направлению оси для отсоединения переднего и заднего краевых крючковидных элементов от переднего и заднего краевых крючковидных элементов наружного бандажного элемента; и перемещение первого внутреннего бандажного элемента в радиальном направлении для отсоединения и удаления первого внутреннего бандажного элемента.
Краткое описание чертежей
Эти и другие аспекты и преимущества изобретения станут полностью понятными при изучении нижеследующего более подробного описания предпочтительных в настоящее время примерных вариантов осуществления изобретения, сделанного в сочетании с сопровождающими чертежами, на которых:
фиг.1 – схематичный вид сбоку сегмента бандажа на окружности, иллюстрирующий известную конструкцию C-образного зажима, предназначенного для удержания внутреннего бандажного элемента;
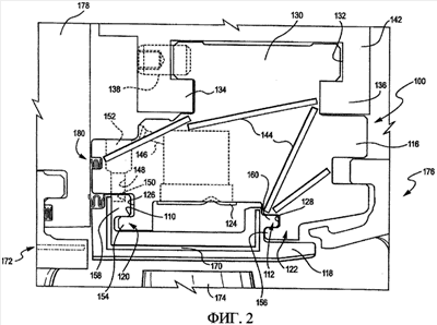
фиг.2 – схематичный вид сбоку сегмента бандажа на окружности, реализующего изобретение;
фиг.3 – перспективное изображение сегмента бандажа из фиг.2, при этом два внутренних бандажных элемента опущены с целью показа в радиальном направлении внутренней конфигурации наружного бандажного элемента;
фиг.4 – перспективное изображение сверху узла, показанного на фиг.3; и
фиг.5 – перспективное изображение внутреннего бандажного элемента согласно варианту осуществления изобретения.
Подробное описание изобретения
Как упоминалось выше, на фиг.1 схематично показана известная конструкция с С-образным зажимом. Как показано, внутренний бандажный элемент 18 включает в себя передний или находящийся выше по потоку краевой крючковидный элемент 10 внутреннего бандажного элемента и задний или находящийся ниже по потоку краевой крючковидный элемент 12 внутреннего бандажного элемента, предназначенные для соединения с соответствующими передним и задним краевыми крючковидными элементами 20, 22 наружного бандажного элемента 16. Задний краевой крючковидный элемент 12 внутреннего бандажного элемента прикреплен к заднему краевому крючковидному элементу 22 наружного бандажного элемента 16 посредством отдельного C-образного зажима 14, а не удерживается конструкцией наружного бандажного элемента. Для удаления внутреннего бандажного элемента C-образный зажим 14 должен быть удален, внутренний бандажный элемент 18 перемещен в радиальном направлении (по стрелке R) или, точнее, повернут вокруг переднего краевого крючковидного элемента 10 до высвобождения заднего края внутреннего бандажного элемента из наружного бандажного элемента 16, а затем внутренний бандажный элемент 18 должен быть сдвинут по направлению оси (по стрелке А) до полного высвобождения из наружного бандажного элемента 16. Как отмечалось выше, в дополнение к повышенной сложности из-за дополнительных компонентов и деталей C-образного зажима в конструкции с C-образным зажимом для получения сервисного доступа к штифту C-образного зажима (непоказанному) необходимо сдвинуть по окружности два сопла ступени в области, представляющей интерес, для чего требуется удаление штифтов, препятствующих повороту сопел.
Обратимся к фиг.2-5, на которых показан сегмент бандажа, в целом обозначенный номером 100, состоящий из наружного бандажного элемента 116 и нескольких внутренних бандажных элементов 118. Обычно предусматривают два или три внутренних бандажных элемента. Показанный сегмент 100 бандажа выполнен с возможностью включения трех внутренних бандажных элементов 118, но для ясности показан только один из них. Как описано более подробно ниже, внутренние бандажные элементы имеют крючковидные элементы 110 и 112 вблизи передних и задних краев соответственно, предназначенные для соединения с возможностью продвижения по окружности в канавках 126 и 128, обозначенных в законченном узле крючковидными элементами 120, 122 наружного бандажного элемента 116. В показанном варианте осуществления между бандажными элементами установлена отражательная охлаждающая пластина 124, предназначенная для ударного охлаждения обычным образом поверхностей внутренних стенок сегмента 100 бандажа.
В показанном варианте осуществления наружный бандажный элемент 116 имеет отдаленную по радиусу от центра деталь 130 в виде ласточкина хвоста, предназначенную для вхождения в соединение с трапецеидальной канавкой 132, обозначенной передним и задним крючковидными элементами 134, 136, образующими часть неподвижного кожуха или корпуса турбины, предназначенными для прикрепления сегмента бандажа к корпусу. Должно быть понятно, что в качестве альтернативы показанной конструкции наружный бандажный элемент может быть снабжен отдаленной по радиусу от центра трапецеидальной канавкой, предназначенной для размещения детали в виде ласточкина хвоста соответствующей формы, образованной в виде части корпуса турбины. Следует принять во внимание, что вокруг ротора газовой турбины и вокруг концов рабочих лопаток на роторе образована кольцевая группа сегментов 100 бандажа, посредством которых обозначена периферийная стенка или граница для горячего газа, протекающего по тракту горячего газа турбины. На фиг.2 для полноты и с целью сравнения показаны уплотненные щели 170 внутреннего бандажного элемента, конфигурация одного 172 сопла ступени, одна рабочая лопатка 174 ступени и конфигурация двух 176 сопел ступени.
Как упоминалось выше, с целью улучшения обслуживания и упрощения сборки для прикрепления внутренних бандажных элементов 118 к наружному бандажному элементу 116 и удержания их предусмотрена обратная форма крючковидного бандажного элемента. Что касается фиг.2, которая представляет собой детальный вид сбоку сегмента 100 бандажа на окружности с показом сопряженных деталей, то на ней можно видеть, что наружный бандажный элемент 116 находится в соединении благодаря переднему и заднему крючковидными элементам 134, 136 корпуса, что описано выше, а штифт 138, препятствующий повороту наружного бандажного элемента, предусмотрен для вхождения в соответствующий паз 140 (фиг.4) с целью фиксации в окружном направлении наружного бандажного элемента 116 относительно корпуса 142. В представленном варианте осуществления показаны уплотненные щели 144, а также дозирующие воздух отверстия 146 и отражательная пластина 124. На переднем краю наружного бандажного элемента дополнительно предусмотрены каналы 148 для штифтов, предотвращающих поворот внутреннего бандажного элемента, предназначенные для совмещения с соответствующими отверстиями 150 и для размещения штифтов 152, предотвращающих поворот внутреннего бандажного элемента.
В противоположность известной конструкции, описанной выше и показанной на фиг.1, передний краевой крючковидный элемент 120 наружного бандажного элемента 116 повернут в обратном направлении, так что он включает в себя выступающую часть 154, выдающуюся по направлению оси против потока на расстояние от заднего края. Задний краевой крючковидный элемент 122 наружного бандажного элемента 116 также включает в себя выступающую часть 156, которая выдается по оси против потока, по направлению к переднему краю, то есть в том же направлении, что и выступающая часть 154 переднего краевого крючковидного элемента 120. Поэтому обе канавки 126 и 128 наружного бандажного элемента 116 открыты по оси в направлении против потока.
Крючковидные элементы 110 и 112 внутреннего бандажного элемента 118 находятся в соединении с передним и задним краевыми крючковидными элементами 120, 122 и, в частности, с канавками 126, 128 наружного бандажного элемента 116. Точнее, в показанном варианте осуществления передний краевой крючковидный элемент 110 внутреннего бандажного элемента содержит выступающую часть 158, которая выдается по оси в направлении потока к заднему краю, так что по направлению оси и по радиусу находится в соединении с крючковидным элементом 120 наружного бандажного элемента 116 с тем, чтобы зафиксировать по направлению оси и по радиусу наружный и внутренний бандажные элементы. Должно быть понятно, что стопорное кольцо первой ступени, то есть техническое средство сопла первой ступени, также способствует фиксации внутреннего бандажного элемента. А именно, стопорное кольцо предотвращает сдвиг бандажного элемента вперед на расстояние, достаточное для высвобождения переднего краевого крючковидного элемента из наружного бандажного элемента. Кроме того, как упоминалось выше, в показанном варианте осуществления в переднем краевом крючковидном элементе внутреннего бандажного элемента выполнено гнездо или отверстие 150, предназначенное для размещения штифта 152, препятствующего повороту внутреннего бандажного элемента, вводимого через соответствующий канал 148, выполненный в передней краевой части наружного бандажного элемента.
Аналогично задний краевой крючковидный элемент внутреннего бандажного элемента включает в себя выступающую часть 160, выдающуюся по оси в направлении потока к заднему краю, в том же самом направлении, что и передняя краевая выступающая часть 158, для фиксации по направлению оси и радиусу с задним краевым крючковидным элементом 122 наружного бандажного элемента.
Чтобы удалить внутренний бандажный элемент, представляющий интерес, прежде всего стопорное кольцо 178 (сопряженную деталь) удаляют или продвигают вперед или в направлении против потока приблизительно на 1 дюйм. Затем удаляют уплотнение 180 переднего края W внутреннего бандажного элемента и убирают штифт 152, препятствующий повороту внутреннего бандажного элемента. Далее, на каждой стороне удаляют препятствующие повороту штифты по меньшей мере одного прилегающего внутреннего бандажного элемента и эти внутренние бандажные элементы продвигают по окружности до освобождения матерчатых уплотнений. Затем удаляют намеченный внутренний бандажный элемент путем сдвигания его по направлению оси до разъединения переднего и заднего краевых крючковидных элементов 110, 112 и после этого в радиальном направлении. Далее устанавливают новый внутренний бандажный элемент путем вставления его по радиусу и затем продвижения по направлению оси, повторного позиционирования соседних внутренних бандажных элементов до соединения с матерчатыми уплотнениями и повторной установки штифтов, препятствующих повороту внутренних бандажных элементов.
По сравнению с конструкцией с C-образным зажимом в конструкции с крючковидным элементом, повернутым в обратном направлении, исключается необходимость в удалении C-образного зажима и штифтов, препятствующих повороту двух сопел ступени. То есть в конструкции с C-образным зажимом необходимо в достаточной степени сдвинуть по окружности два сопла ступени до тех пор, пока не станет доступным стопорный штифт C-образного зажима. Для этого требуется удаление практически всех штифтов, препятствующих повороту двух сопел ступени. Все эти этапы исключены благодаря конструкции крючковидных элементов, повернутых в обратном направлении согласно показанному варианту осуществления.
В отличие от традиционных конструкций с C-образными зажимами в показанном узле бандажных элементов достигаются осевая установка и удаление благодаря изменению направления переднего крючковидного элемента 110. С точки зрения обслуживания и сборки возможность удаления внутреннего бандажного элемента в продольном направлении позволяет исключить или упростить стадии технического обслуживания, включающие в себя удаление сопряженных наружных бандажных элементов, C-образных зажимов и штифтов, предотвращающих поворот двух сопел ступени. Такая конструкция также повышает технологичность благодаря уменьшению числа деталей, которые необходимо обрабатывать на станке по сравнению с конструкцией с C-образными зажимами, наряду с решением тех же задач по улучшению технического обслуживания.
Хотя изобретение было описано относительно варианта осуществления, считающегося в настоящее время наиболее полезным и предпочтительным, должно быть понятно, что изобретение не ограничено раскрытым вариантом осуществления, а, наоборот, охватывает различные варианты и эквивалентные конструкции, находящиеся в рамках сущности и объема приложенной формулы изобретения.
Формула изобретения
1. Статорный бандажный элемент многоступенчатой газовой турбины, содержащий сегмент бандажа, имеющий поверхность, частично предназначенную для обозначения тракта горячего газа через одну ступень и поверх размещения лопаток указанной одной ступени, образующих часть ротора турбины, при этом указанный сегмент бандажа имеет передний, направленный против потока край, и задний, направленный по потоку край, указанный сегмент бандажа включает в себя соединенные наружный бандажный элемент и, по меньшей мере, один внутренний бандажный элемент, наружный бандажный элемент имеет рядом и вдоль каждого из его переднего и заднего краев по канавке, причем канавки открыты по оси в одном и том же направлении, а внутренний бандажный элемент имеет выдающуюся по оси, выступающую часть переднего края и выдающуюся по оси, выступающую часть заднего края для вхождения в соединение соответственно с канавками наружного бандажного элемента, при этом указанное соединение фиксирует по направлению оси и радиально, внутренний бандажный элемент на наружном бандажном элементе, причем указанный элемент дополнительно содержит препятствующий повороту штифт, проходящий через канал, выполненный в наружном бандажном элементе, в соответствующее гнездо, выполненное во внутреннем бандажном элементе, для фиксации по окружности внутреннего бандажного элемента на наружном бандажном элементе.
2. Элемент по п.1, в котором канавки открыты по оси в направлении против потока.
3. Элемент по п.1, содержащий три внутренних бандажных элемента, прикрепленных к наружному бандажному элементу.
4. Элемент по п.1, дополнительно содержащий полость с охлаждающим средством, определенную внутренними поверхностями стенок внутреннего и наружного бандажных элементов, и отражательную пластину, расположенную между внутренним и наружным бандажными элементами, для ударного охлаждения внутренних поверхностей стенок внутреннего бандажного элемента.
5. Элемент по п.1, в котором радиально наружная часть наружного бандажного элемента имеет конфигурацию ласточкина хвоста для соединения с соответствующей конфигурацией трапецеидальной канавки прилегающего корпуса турбины.
6. Сегмент статорного бандажа, содержащий наружный бандажный элемент, имеющий передний, направленный против потока край и задний, направленный по потоку край, и радиально внутреннюю и радиально наружную поверхности, при этом наружный бандажный элемент включает в себя передний краевой крючковидный элемент и задний краевой крючковидный элемент, оба указанных крючковидных элемента наружного бандажного элемента выступают в первом осевом направлении, множество внутренних бандажных элементов, при этом каждый имеет передний, направленный против потока край и задний, направленный по потоку край, и радиально внутреннюю и радиально наружную поверхности, причем внутренний бандажный элемент включает в себя передний краевой крючковидный элемент и задний краевой крючковидный элемент, оба указанных крючковидных элемента внутреннего бандажного элемента выступают во втором осевом направлении, диаметрально противоположном первому осевому направлению, передние и задние крючковидные элементы каждого внутреннего бандажного элемента соединены соответственно с передним и задним крючковидными элементами наружного бандажного элемента, при этом указанное соединение, по направлению оси и радиально, фиксирует внутренний бандажный элемент на наружном бандажном элементе, причем указанный элемент дополнительно содержит препятствующий повороту штифт, проходящий через канал, выполненный в наружном бандажном элементе, в соответствующее гнездо, выполненное во внутреннем бандажном элементе, для фиксации по окружности внутреннего бандажного элемента на наружном бандажном элементе.
7. Сегмент по п.6, в котором передний и задний краевые крючковидные элементы наружного бандажного элемента определяют соответствующие переднюю и заднюю краевые канавки, которые открыты в первом направлении для размещения в них соответственно переднего и заднего краевых крючковидных элементов внутренних бандажных элементов.
8. Способ отсоединения и удаления первого внутреннего бандажного элемента, имеющего передний краевой крючковидный элемент и задний краевой крючковидный элемент, от наружного бандажного элемента, имеющего переднюю краевую канавку и заднюю краевую канавку, находящиеся взаимно в соединении с передним и задним краевыми крючковидными элементами первого внутреннего бандажного элемента, при этом передний и задний краевые крючковидные элементы первого внутреннего бандажного элемента выступают в одном и том же осевом направлении, включающий в себя следующие этапы: удаление и перемещение по направлению оси сопряженной детали на стороне выше по потоку от первого внутреннего бандажного элемента, удаление штифта, препятствующего повороту первого внутреннего бандажного элемента, соединяющего первый внутренний бандажный элемент и наружный бандажный элемент, удаление препятствующих повороту штифтов из прилегающих по окружности внутренних бандажных элементов и сдвиг прилегающих по окружности внутренних бандажных элементов до освобождения матерчатых уплотнений между ними, сдвиг первого внутреннего бандажного элемента по направлению оси (по стрелке А) для отсоединения переднего и заднего краевых крючковидных элементов от переднего и заднего краевых крючковидных элементов наружного бандажного элемента и перемещение первого внутреннего бандажного элемента в радиальном направлении (по стрелке R) для отсоединения и удаления первого внутреннего бандажного элемента.
9. Способ по п.8, в котором крючковидные элементы первого внутреннего бандажного элемента выступают по оси по направлению потока, и этап сдвига первого внутреннего бандажного элемента по направлению оси включает в себя сдвиг первого внутреннего бандажного элемента в направлении против потока.
РИСУНКИ
|
|