|
|
(21), (22) Заявка: 2007106126/06, 19.02.2007
(24) Дата начала отсчета срока действия патента:
19.02.2007
(46) Опубликовано: 10.10.2008
(56) Список документов, цитированных в отчете о поиске:
RU 2248451 С1, 20.05.2005. RU 2087750 C1, 20.08.1997. RU 2000445 C1, 07.09.1993. SU 1576691 A1, 07.07.1990. US 4687410 А, 18.08.1987. ЕР 0049578 А, 14.04.1982.
Адрес для переписки:
620057, г.Екатеринбург, а/я 522, ОАО “Теплоэнергосервис”, Т.Ю. Пуляровой
|
(72) Автор(ы):
Сурков Александр Анатольевич (RU), Ефимов Николай Викторович (RU), Гуськов Виктор Иванович (RU), Ермолаев Владимир Владимирович (RU)
(73) Патентообладатель(и):
Открытое акционерное общество “Теплоэнергосервис” (RU)
|
(54) СХЕМА УПРАВЛЕНИЯ СЕРВОМОТОРОМ СИСТЕМЫ РЕГУЛИРОВАНИЯ ПАРОВОЙ ТУРБИНЫ
(57) Реферат:
Область использования: изобретение относится к паровым турбинам, а именно к системам регулирования и защиты паровой турбины. Сущность изобретения: схема управления сервомотором системы регулирования паровой турбины содержит сервомотор, который представляет собой цилиндр с движущимся в нем поршнем, отсечной золотник, управляющий золотник, электромеханический преобразователь, который механически соединен со штоком плунжера управляющего золотника, датчик положения штока поршня сервомотора, датчик положения штока плунжера управляющего золотника. В корпусе сервомотора по образующей выполнены первые два и вторые два окна на уровне первых, с образованием штоковой и поршневой полостей соответственно. Плунжеры золотников делят объемы их корпусов на рабочие полости, соответственно соединенные с напорными и сливными магистралями. Золотники гидравлически связаны со штоковой и поршневой полостями сервомотора. Золотник устанавливает поршень сервомотора в исходное состояние по сигналам с командного пункта. Золотник управляет сервомотором в аварийном режиме, обеспечивая его ускоренное закрытие. Достигаемый технический результат: повышение надежности срабатывания, быстродействия, надежности схемы управления в целом. 1 ил.
Изобретение относится к паровым турбинам, а именно к системам регулирования и защиты паровой турбины.
Известна схема регулирования паровой турбины с гидравлическими связями, в которой исполнительной частью являются отсечной золотник и гидравлический сервомотор, а управление исполнительной частью системы осуществляется посредством механизма управления, состоящего из управляющего золотника, шток плунжера которого механически соединен с электродвигателем. Все составляющие системы управления соединены между собой гидравлически (А.Д.Трухний. Стационарные паровые турбины. – М.: Энергоатомиздат, 1990, с.166-167, рис.4.18).
Известна электрогидравлическая система регулирования паровой турбины, в которой управление сервомотором осуществляется посредством отсечного золотника и электрического преобразователя управляющего сигнала в перемещение штока преобразователя, который механически соединен со штоками плунжера золотника и поршня сервомотора (патент РФ №2248451, F01D 17/20, 20.03.2005).
Недостаток выявленных схем управления сервомотором состоит в том, что принцип действия, заложенный в их работу, и конструктивные особенности выполнения не позволяют вынести в зону оптимального температурного режима электрическую часть системы управления, а именно электромеханический преобразователь управляющего сигнала, что снижает ресурс электродвигателя преобразователя, а следовательно, и снижает надежность известной системы управления.
Наиболее близкой к предлагаемой является схема управления сервомотором системы регулирования паровой турбины, содержащая отсечной золотник с цилиндрическим корпусом, соединенный через пружину с электромеханическим преобразователем, датчик положения штока плунжера отсечного золотника и сервомотор с датчиком положения штока сервомотора. Сервомотор представляет собой цилиндр с движущимся в нем поршнем. В корпусе сервомотора по образующей выполнены два окна. Плунжер отсечного золотника снабжен двумя верхними и нижними управляющими буртиками и поясками, делящими объем корпуса золотника на три полости, каждая из которых через окно, выполненное в корпусе золотника, гидравлически соединена с соответствующей магистралью: верхняя и нижняя полости, образованные управляющим буртиком и соответствующим пояском, соединены со сливом; полость, образованная управляющими буртиками, соединена с напорной магистралью. Кроме того, в корпусе отсечного золотника выполнены два окна, которые соответственно гидравлически соединены с двумя окнами в корпусе сервомотора и расположены в осевом протяжении с возможностью одновременного перекрытия управляющими буртиками плунжера отсечного золотника. (Compressor Controls Corporation – 2005, с.5, рис.1).
В известной схеме управления отсечной золотник выполняет две функции: установку поршня сервомотора в исходное состояние и в аварийной ситуации – закрытие сервомотора. При этом управление перемещением плунжера отсечного золотника осуществляется путем механической связи штока плунжера с толкателем электромеханического преобразователя, срабатывающего по управляющим сигналам от командного центра. Все это снижает быстродействие и надежность работы схемы управления. Кроме того, механическая связь отсечного золотника с толкателем электромеханического преобразователя обуславливает размещение последнего только непосредственно над отсечным золотником. В результате электродвигатель электромеханического преобразователя постоянно находится в зоне повышенной температуры, что снижает надежность срабатывания схемы. Поскольку срок службы электромеханического преобразователя зависит от температуры окружающей среды, то в результате снижается ресурс электродвигателя преобразователя, что, в свою очередь, снижает как надежность срабатывания, так и надежность работы схемы управления.
Таким образом, из вышеизложенного следует, что выявленная в процессе патентного поиска наиболее близкая к заявленной схема управления сервомотором системы регулирования паровой турбины при осуществлении не обеспечивает достижение технического результата, заключающегося в повышении надежности срабатывания, в повышении быстродействия, в повышении надежности схемы управления в целом.
Предлагаемое изобретение «Схема управления сервомотором системы регулирования паровой турбины» решает задачу создания соответствующего устройства управления, осуществление которого обеспечивает достижение технического результата, заключающегося в повышении надежности срабатывания, в повышении быстродействия, в повышении надежности схемы управления в целом.
Сущность заявленного изобретения заключается в том, что в схеме управления сервомотором системы регулирования паровой турбины, включающей отсечной золотник, электромеханический преобразователь, вход которого является управляющим входом схемы, сервомотор, соответственно подключенный датчик положения штока сервомотора, выход которого является первым управляющим выходом схемы, в корпусе сервомотора в осевом протяжении выполнены первые два окна с образованием штоковой и поршневой полостей соответственно, при этом плунжер отсечного золотника снабжен двумя поясками, верхним и нижним, и управляющими буртиками, верхним и нижним, делящими объем корпуса золотника на полости, каждая из которых через окно, выполненное в корпусе золотника, гидравлически соединена с соответствующей магистралью, кроме того, в корпусе отсечного золотника выполнены два окна, которые соответственно гидравлически соединены с первыми двумя окнами в корпусе сервомотора и расположены в осевом протяжении с возможностью одновременного перекрытия их управляющими буртиками плунжера отсечного золотника, дополнительно введены управляющий золотник, шток плунжера которого механически соединен с электромеханическим преобразователем, и соответственно подключенный датчик положения штока плунжера управляющего золотника, выход которого является вторым управляющим выходом схемы, при этом внутренний диаметр корпуса управляющего золотника составляет от 1/3 до 1/2 внутреннего диаметра корпуса отсечного золотника, кроме того, в корпусе сервомотора по образующей, на уровне первых, дополнительно выполнены вторые два окна соответственно, при этом плунжер управляющего золотника снабжен двумя поясками, верхним и нижним, и управляющими буртиками, верхним и нижним, образующими три рабочие полости: верхнюю и нижнюю полости, образованные соответствующими управляющими буртиками и поясками, и среднюю полость, образованную управляющими буртиками, каждая из которых через окно, выполненное в корпусе золотника, гидравлически соединена с соответствующей магистралью, при этом верхняя и нижняя полости соединены со сливом, а средняя полость соединена с напорной магистралью, кроме того, в корпусе управляющего золотника выполнены два окна, которые соответственно гидравлически соединены со вторыми двумя окнами в корпусе сервомотора и расположены в осевом протяжении с возможностью одновременного перекрытия их соответствующими управляющими буртиками плунжера управляющего золотника, а в верхней части корпуса управляющего золотника выполнено окно, которое перекрыто верхним пояском плунжера и имеет возможность сообщения с верхней рабочей полостью управляющего золотника при перекрытых управляющими буртиками вышеупомянутых двух окнах, кроме того, в корпусе отсечного золотника дополнительно в верхней и нижней торцевой полости выполнены окна, при этом в отсечном золотнике верхняя торцевая полость, верхняя и нижняя полости, образованные соответствующими управляющими буртиками и поясками, гидравлически соединены с напорной магистралью, полость, образованная управляющими буртиками, гидравлически соединена со сливом, а нижняя торцевая полость гидравлически соединена со сливом из импульсной линии отсечного золотника и с окном в верхней части корпуса управляющего золотника.
Технический результат достигается следующим образом. Выполнение окон в корпусах отсечного, управляющего золотников и в корпусе сервомотора обеспечивает возможность выполнения указанных в формуле изобретения гидравлических связей между основными устройствами схемы управления, а также их гидравлических связей с внешними магистралями, что обеспечивает работоспособность схемы.
Введение управляющего золотника, плунжер которого снабжен двумя поясками, верхним и нижним, и управляющими буртиками, верхним и нижним, образующими три рабочие полости: гидравлически соединенные со сливом верхнюю и нижнюю полости, образованные соответствующими управляющими буртиками и поясками, и гидравлически соединенную с напорной магистралью среднюю полость, образованную управляющими буртиками, а также выполнение в корпусе управляющего золотника двух окон, которые соответственно гидравлически соединены со вторыми двумя окнами в корпусе сервомотора, обеспечивают возможность управления положением поршня сервомотора путем перемещения плунжера управляющего золотника и изменения давления рабочей среды в штоковой и поршневой полостях сервомотора. При этом, благодаря тому что шток плунжера управляющего золотника механически соединен с электромеханическим преобразователем, обеспечивается возможность управления положением плунжера управляющего золотника, а следовательно, и положением поршня сервомотора в соответствии с управляющим сигналом, поступающим на управляющий вход электромеханического преобразователя от командного центра и содержащим в себе информацию о требуемом фиксированном положении поршня сервомотора. Причем механическое соединение штока плунжера управляющего золотника с электромеханическим преобразователем обеспечивает возможность удержания плунжера золотника в фиксированном состоянии при перетекании рабочей среды из полостей или в полости корпуса сервомотора через верхнюю и нижнюю полости корпуса управляющего золотника при установке поршня сервомотора в исходное фиксированное состояние, что исключает возможность возникновения обратной связи плунжера управляющего золотника по положению поршня сервомотора, что, в свою очередь, снижает пульсации поршня сервомотора при установке его в исходное состояние. В результате сокращается время установки поршня в исходное состояние, что повышает быстродействие схемы управления.
При этом, поскольку в корпусе управляющего золотника два окна, которые соответственно гидравлически соединены со вторыми двумя окнами в корпусе сервомотора, расположены в осевом протяжении с возможностью одновременного перекрытия их управляющими буртиками плунжера, обеспечивается возможность фиксации поршня сервомотора в установленном требуемом исходном состоянии путем перекрытия гидравлических связей с напорной линией, что обеспечивает работоспособность схемы и повышает ее надежность. Одновременно возможность перекрытия гидравлических связей с напорной линией обеспечивает надежное отключение управляющего золотника от сервомотора после установки в фиксированное исходное состояние поршня сервомотора, что повышает надежность схемы управления.
Из изложенного выше следует, что введенный дополнительно управляющий золотник с заявленными гидравлическими связями, шток плунжера которого механически соединен с электромеханическим преобразователем, выполняет только функцию управления перемещением штока сервомотора для установки его в фиксированное исходное состояние по управляющим сигналам от командного центра.
Поскольку электромеханический преобразователь механически соединен со штоком плунжера управляющего золотника, к которому соответственно подключен датчик положения штока плунжера, а управляющий золотник соединен с сервомотором гидравлически, то это позволяет вынести в зону оптимального температурного режима управляющий золотник вместе с электрической частью схемы управления: с электромеханическим преобразователем. Последнее увеличивает ресурс электродвигателя преобразователя, а следовательно, повышает надежность устройства.
Выполнение внутреннего диаметра корпуса управляющего золотника от 1/3 до 1/2 внутреннего диаметра корпуса отсечного золотника является оптимальным, получено опытным путем и позволяет сохранить в гидравлических связях схемы требуемое давление рабочей среды. Кроме того, благодаря тому что управляющий золотник имеет меньший диаметр корпуса, обеспечивается повышение чувствительности плунжера управляющего золотника к механическому воздействию на него толкателя электромеханического преобразователя, поскольку для его перемещения требуются меньшие усилия. Это повышает быстродействие схемы управления, а также позволяет снизить амплитуду управляющего сигнала, поступающего на вход преобразователя, и облегчить электрический режим работы двигателя преобразователя. Последнее также увеличивает ресурс двигателя преобразователя, а следовательно, повышает надежность схемы управления. Кроме того, при установке поршня сервомотора в исходное состояние выполнение управляющего золотника указанного диаметра обеспечивает возможность подачи рабочей среды в корпус сервомотора малыми порциями, что снижает пульсации поршня сервомотора при перемещении. В результате сокращается время установки поршня в исходное состояние, что повышает быстродействие схемы управления.
Датчик положения штока сервомотора, выход которого является первым управляющим выходом схемы управления, и датчик положения управляющего золотника, выход которого является вторым управляющим выходом схемы управления, обеспечивают возможность контроля на командном центре положения штоков поршня сервомотора и плунжера и формирования по результатам контроля соответствующих управляющих сигналов, что обеспечивает работоспособность устройства и его быстродействие при срабатывании в аварийном режиме.
Наличие отсечного золотника, плунжер которого снабжен двумя поясками, верхним и нижним, и управляющими буртиками, верхним и нижним, делящими объем корпуса золотника на рабочие полости, каждая из которых через окно, выполненное в корпусе золотника, гидравлически соединена с соответствующей магистралью, а также наличие в корпусе отсечного золотника двух окон, которые соответственно гидравлически соединены с первыми двумя окнами в корпусе сервомотора, обеспечивает возможность управления поршнем сервомотора в аварийной ситуации путем изменения гидравлического давления в штоковой и поршневой полостях. Возможность одновременного перекрытия гидравлически соединенных с первыми двумя окнами в корпусе сервомотора окон отсечного золотника управляющими буртиками плунжера обеспечивает в штатном режиме сохранение фиксированного положения поршня сервомотора, установленного управляющим золотником.
Рабочие полости отсечного золотника гидравлически соединены с соответствующей магистралью: верхняя торцевая полость, верхняя и нижняя полости, образованные соответствующим поясками и управляющими буртиками, соединены с напорной магистралью; полость, образованная управляющими буртиками, соединена со сливом, а нижняя торцевая полость соединена со сливом из импульсной линии отсечного золотника. В результате при возникновении аварийной ситуации обеспечивается возможность слива рабочей среды из нижней торцевой полости корпуса отсечного золотника по сигналу от командного центра, вызывающему открытие электромагнитных клапанов, установленных на сливе из импульсной линии (на чертеже не показано). Слив рабочей среды из нижней торцевой полости и наличие гидравлических связей с напорной и сливной магистралями рабочих полостей корпуса отсечного золотника приводит к астатическому движению вниз плунжера отсечного золотника, открытию гидравлически связанных с первыми окнами в корпусе сервомотора окон, перекрытых управляющими буртиками, и включению обратной связи отсечного золотника по положению поршня сервомотора при перемещении плунжера золотника. В результате перемещением плунжера отсечного золотника обеспечивается возможность управления положением поршня сервомотора в аварийной ситуации путем изменения давления рабочей среды в штоковой и поршневой полостях сервомотора. Кроме того, наличие указанных гидравлических связей позволяет организовать лавинообразное увеличение скорости астатического движения вниз плунжера отсечного золотника, что приводит к ускоренному закрытию сервомотора и повышает быстродействие схемы управления, поскольку приводит к поступлению рабочей среды в штоковую полость сервомотора, сливу рабочей среды из поршневой полости в среднюю полость корпуса отсечного золотника, образованную управляющими буртиками, а также к заполнению рабочей средой верхней торцевой и нижней полостей. В результате повышается также и надежность срабатывания схемы управления в аварийной ситуации.
Кроме того, поскольку нижняя торцевая полость корпуса отсечного золотника соединена, кроме того, с окном в верхней части корпуса управляющего золотника, то скорость перемещения поршня сервомотора еще более возрастает, что повышает скорость и надежность срабатывания схемы управления. Это объясняется следующим. В верхней части корпуса управляющего золотника выполнено окно, которое перекрыто верхним пояском плунжера и имеет возможность сообщения с верхней рабочей полостью управляющего золотника при перекрытых управляющими буртиками двух окон в корпусе управляющего золотника, которые, в свою очередь, соответственно гидравлически соединены со вторыми двумя окнами в корпусе сервомотора. В аварийной ситуации, как было показано выше, эти окна одновременно перекрыты соответствующими управляющими буртиками плунжера управляющего золотника. Возможность сообщения окна в верхней части корпуса управляющего золотника с его верхней рабочей полостью, соединенной со сливом, при перекрытых управляющими буртиками двух окон в корпусе управляющего золотника обеспечивает дополнительный слив рабочей среды из нижней торцевой полости отсечного золотника через верхнюю рабочую полость управляющего золотника, что ускоряет слив рабочей среды из нижней торцевой полости отсечного золотника, в результате чего давление в импульсной линии отсечного золотника резко снижается до нуля, плунжер отсечного золотника резко перемещается вниз, увеличивая подвод рабочей среды в штоковую полость сервомотора и активизируя слив рабочей среды из поршневой полости.
Таким образом, из вышеизложенного видно, что конструкция отсечного золотника и организация гидравлических связей отсечного золотника, заявленные в формуле изобретения, позволяют в аварийных ситуациях управлять перемещением поршня сервомотора только посредством отсечного золотника без участия управляющего золотника. Кроме того, управление сервомотором в аварийной ситуации обеспечивается только гидравлическими связями, что повышает быстродействие схемы управления в аварийных ситуациях. При этом использование отсечного золотника только по прямому назначению (выполняет свою непосредственную функцию – закрытие сервомотора), перемещение плунжера отсечного золотника только под действием гидравлических сил, введение обратной связи отсечного золотника по положению поршня сервомотора, введение связи нижней торцевой полости корпуса отсечного золотника с окном в верхней части корпуса управляющего золотника также повышают быстродействие схемы управления при возникновении аварийной ситуации, а также повышают надежность срабатывания схемы управления.
Из вышеизложенного следует, что в заявленной схеме управления сервомотором возможность надежного отключения от сервомотора управляющего золотника после установки штока сервомотора в исходное состояние (гидравлические связи с сервомотором перекрыты управляющими буртиками плунжера управляющего золотника) обеспечивает разделение функций управления сервомотором в штатном режиме и управления сервомотором в аварийном режиме. В заявленной схеме управления сервомотором функцию управления сервомотором в штатном режиме и функцию управления сервомотором в аварийном режиме выполняют самостоятельные, не зависящие друг от друга узлы: управляющий золотник и отсечной золотник соответственно. Это повышает надежность заявленной схемы управления сервомотором и повышает ее быстродействие в аварийном режиме. При этом управление сервомотором в аварийном режиме только посредством гидравлических связей, введение обратной связи отсечного золотника по положению поршня сервомотора и использование в аварийном режиме верхней рабочей полости управляющего золотника для ускорения слива рабочей среды из торцевой полости отсечного золотника повышают быстродействие схемы управления при возникновении аварийной ситуации, а также повышают надежность срабатывания схемы управления. Кроме того, возможность разделения функций управления сервомотором и использование для управления сервомотором в аварийной ситуации только гидравлических связей позволяет конструктивно вынести управляющий золотник с электромеханическим преобразователем из зоны повышенной температуры в помещение с нормальными условиями окружающей среды, благоприятными для работы электромеханического преобразователя. Последнее повышает надежность работы схемы управления в целом.
Таким образом, заявленная схема управления сервомотором системы регулирования паровой турбины при осуществлении обеспечивает достижение технического результата, заключающегося в повышении надежности срабатывания, в повышении быстродействия, в повышении надежности схемы управления в целом.
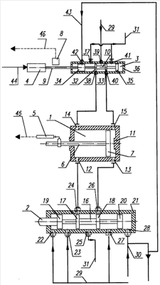
На чертеже изображена схема управления сервомотором системы регулирования паровой турбины. Схема управления сервомотором системы регулирования паровой турбины содержит сервомотор 1, который представляет собой цилиндр с движущимся в нем поршнем, отсечной золотник 2, управляющий золотник 3, электромеханический преобразователь 4, датчик 5 положения штока 6 поршня 7 сервомотора 1, датчик 8 положения штока 9 плунжера 10 управляющего золотника 3. Датчики положения 5 и 8 подключены соответственно к штокам 6 поршня 7 сервомотора 1 и плунжера 10 управляющего золотника 3, например посредством электромагнитов. Шток 9 плунжера 10 управляющего золотника 3 механически соединен с электромеханическим преобразователем 4, например, соединен с концом сердечника электромеханического преобразователя 4.
В корпусе 11 сервомотора 1 по образующей выполнены первые два 12, 13 и вторые два 14, 15 окна на уровне первых, с образованием штоковой и поршневой полостей соответственно.
Плунжер 16 отсечного золотника 2 снабжен верхним 17 и нижним 18 управляющими буртиками и двумя поясками 19, 20, делящими объем корпуса 21 отсечного золотника 2 на пять полостей, каждая из которых через окно, выполненное в корпусе 21 отсечного золотника 2, гидравлически соединена с соответствующей магистралью. В корпусе 21 отсечного золотника 2 по осевой выполнены семь окон с 22 по 28, одно 22 из которых расположено над верхним 19 пояском и гидравлически соединяет верхнюю торцевую полость с напорной магистралью 29, а второе 28 – под нижним 20 пояском и гидравлически соединяет нижнюю торцевую полость со сливом 30 из импульсной линии отсечного золотника 2. Окна 23 и 27 соединяют верхнюю и нижнюю полости, образованные управляющими буртиками 17 и 18 и соответствующими поясками 19 и 20, с напорной магистралью 29, а окно 25 соединяет полость, образованную управляющими буртиками 17 и 18, со сливом 31.
В корпусе отсечного золотника выполнены два окна 24 и 26, которые соответственно гидравлически соединены с первыми 12, 13 двумя окнами в корпусе 11 сервомотора 1 и расположены в осевом протяжении с возможностью одновременного перекрытия их управляющими буртиками 17 и 18 плунжера 16.
Плунжер 10 управляющего золотника 3 снабжен верхним 32 и нижним 33 управляющими буртиками и двумя поясками 34, 35, образующими три рабочие полости: верхнюю и нижнюю полости, образованные соответствующими управляющими буртиками и поясками (32 и 34, 33 и 35), и среднюю полость, образованную управляющими буртиками 32 и 33, каждая из которых через окно, выполненное в корпусе 36 управляющего золотника 3, гидравлически соединена с соответствующей магистралью. В корпусе 36 управляющего золотника 3 между поясками 34, 35 плунжера 10 по осевой выполнены пять окон с 37 по 41. Верхняя и нижняя полости через окна 37 и 41 соединены со сливом 31, а средняя полость через окно 39 соединена с напорной магистралью 29. Кроме того, в корпусе управляющего золотника два окна 38 и 40 гидравлически соединены со вторыми двумя окнами 14 и 15 в корпусе 11 сервомотора 1 и расположены в осевом протяжении с возможностью одновременного перекрытия их управляющими буртиками 32 и 33 плунжера 10.
В верхней части корпуса 36 управляющего золотника 3 выполнено окно 42, которое соединено с магистралью 43 и перекрыто верхним пояском 34 плунжера 10, и имеет возможность сообщения с верхней рабочей полостью управляющего золотника 3 при перекрытых управляющими буртиками 32 и 33 окнах 38 и 40.
Нижняя торцевая полость в корпусе 21 отсечного золотника гидравлически соединена, кроме того, через магистраль 43 с окном 42 в верхней части корпуса 36 управляющего золотника 3.
Внутренний диаметр корпуса 36 управляющего золотника 3 составляет от 1/3 до 1/2 внутреннего диаметра корпуса 21 отсечного золотника 2.
Вход электромеханического преобразователя является управляющим входом 44 схемы управления, а выходы датчиков положения 5 и 8 являются соответственно первым 45 и вторым 46 управляющими выходами схемы управления.
Устройство работает следующим образом. Работа схемы управления осуществляется по электрическим сигналам от командного центра (на чертеже не показано), поступающим с управляющего входа 44 схемы на вход электромеханического преобразователя 4. В исходном состоянии при отключенном гидравлическом питании положения плунжера 16 отсечного золотника 2 и поршня 7 сервомотора 1 – произвольные. Плунжер 10 управляющего золотника 3 находится в положении, при котором перекрыты управляющими буртиками 32, 33 плунжера 10 два окна 38 и 40 в его корпусе 36, которые соединены гидравлически со вторыми окнами 14 и 15 в корпусе 11 сервомотора 1 соответственно.
После подключения электрического питания плунжер 10 управляющего золотника 3 остается в исходном положении. После подключения гидравлического питания в корпус 21 отсечного золотника 2 через окна 23, 24, соединенные с напорной магистралью 29, и в корпус 11 сервомотора 1 через первые окна 12 и 13 поступает рабочая среда соответственно в штоковую и поршневую полости. После заполнения полостей корпуса отсечного золотника 2 его плунжер 16 устанавливается в положение, при котором управляющие буртики 17, 18 перекрывают окна 24 и 26, соединенные гидравлически с первыми окнами 12 и 13 в корпусе сервомотора 1 соответственно. Поступление рабочей среды в корпус 11 сервомотора 1 прекращается и поршень 7 сервомотора 1 останавливается в произвольном положении.
Затем по управляющему сигналу, поступающему со входа схемы 44 от командного центра на электромеханический преобразователь 4, приходит в движение плунжер 10 управляющего золотника 3, управляющие буртики 32 и 33 плунжера 10 также перемещаются от исходного положения и открывают окна 38 и 40, гидравлически соединенные со вторыми 14 и 15 окнами корпуса 11 сервомотора 1. Смещение плунжера 10 управляющего золотника 3 в ту или в другую сторону от нейтрального положения изменяет направление движения потока рабочей среды к полостям и из полостей корпуса 11 сервомотора 1 через гидравлические связи, соединяющие окна 38, 40 в корпусе 36 управляющего золотника 3 и окна 14, 15 в корпусе сервомотора 1. Это вызывает соответствующее перемещение поршня 7 сервомотора 1: при смещении плунжера 10 управляющего золотника 3 вверх поток рабочей среды направляется в штоковую полость корпуса 11 сервомотора 1, а из поршневой полости сливается. В результате поршень 7 сервомотора 1 перемещается вниз. При смещении плунжера 10 управляющего золотника 3 вниз от нейтрального положения поток рабочей среды направляется в поршневую полость корпуса 11 сервомотора 1, а из штоковой полости рабочая среда сливается. Поршень 7 сервомотора 1 перемещается вверх.
Контроль положения поршня 7 сервомотора 1 и плунжера 10 управляющего золотника 3 осуществляют на командном центре по сигналам с управляющих выходов 45 и 46 схемы: с выходов датчика 5 положения штока 6 поршня 7 сервомотора 1 и датчика 8 положения штока 9 плунжера 10 управляющего золотника 3. При достижении поршнем 7 сервомотора 1 заданного положения на электромеханический преобразователь 4 со входа 44 поступает управляющий сигнал. По управляющему сигналу электромеханический преобразователь 4 устанавливает плунжер 10 управляющего золотника 3 в фиксированное положение, при котором управляющие буртики 32, 33 плунжера 10 вновь перекрывают окна 38 и 40, соответственно гидравлически соединенные со вторыми окнами 14 и 15 в корпусе 11 сервомотора 1. Движение штока 6 сервомотора 1 прекращается и поршень 7 сервомотора 1 остается в требуемом фиксированном положении.
В аварийной ситуации управляющий сигнал на входе 44 от командного центра вызывает открытие электромагнитных клапанов (на чертеже не показаны), установленных на сливе из импульсной линии отсечного золотника 2. В результате из нижней торцевой полости корпуса отсечного золотника через окно 28 происходит быстрый слив рабочей среды. При этом давление в импульсной линии падает до нуля. Под действием перепада давления плунжер 16 отсечного золотника 3 астатически движется вниз, что приводит к смещению управляющих буртиков 17, 18 и открытию окон 24 и 26 в корпусе отсечного золотника 2, гидравлически соединенных с первыми 12, 13 окнами в корпусе 11 сервомотора 1. В результате штоковая полость сервомотора 1 через окна 23 и 24 в корпусе отсечного золотника и окно 12 в корпусе 11 сервомотора 1 быстро заполняется рабочей средой, поступающей от напорной магистрали 29, опуская гидравлическим давлением поршень 7 вниз. Одновременно через окно 13 в корпусе 11 сервомотора 1 рабочая среда из поршневой полости так же быстро сливается через полость отсечного золотника 2, образованную управляющими буртиками 17, 18, а ее избыток уходит в слив через окно 25 отсечного золотника 2. Кроме того, одновременно через окно 22 от напорной магистрали 29 заполняется рабочей средой верхняя торцевая полость корпуса 16 отсечного золотника 2, которая увеличивает свой объем по мере перемещения плунжера вниз, что лавинообразно увеличивает гидравлическое давление на верхний поясок 19 плунжера 16. В результате плунжер 16 отсечного золотника 2 начинает быстро перемещаться вниз.
Одновременно под действием управляющего сигнала со входа 44, поступающего на электромеханический преобразователь 4 от командного центра, электромеханический преобразователь 4, продолжая удерживать плунжер 10 управляющего золотника 3 в положении, при котором окна 38 и 40 перекрыты управляющими буртиками 32 и 33, сдвигает плунжер вверх до открытия окна 42 в верхней части корпуса управляющего золотника 3. Этот эффект можно получить, например, подбором высоты управляющих буртиков и верхнего пояска. В результате нижняя торцевая полость отсечного золотника 2 подключается, кроме того, через магистраль 43, окно 42, верхнюю рабочую полость и окно 37 в корпусе 36 управляющего золотника 3 к сливной магистрали 31. Это обеспечивает дополнительный слив и ускоряет слив рабочей среды из нижней торцевой полости отсечного золотника 2. В результате давление в импульсной линии отсечного золотника 2 резко снижается до нуля, плунжер 16 отсечного золотника 2 резко перемещается вниз, увеличивая подвод рабочей среды в штоковую полость сервомотора 1 и активизируя слив рабочей среды из поршневой полости. В результате возрастающего лавинообразно гидравлического давления плунжер 16 отсечного золотника 2 начинает быстро перемещаться вниз и занимает крайнее нижнее положение за короткий промежуток времени, что обеспечивает быстрый сброс давления из сервомотора 1 и ускоренное его закрытие.
Формула изобретения
Схема управления сервомотором системы регулирования паровой турбины, включающая отсечной золотник, электромеханический преобразователь, вход которого является управляющим входом схемы, сервомотор, соответственно подключенный датчик положения штока сервомотора, выход которого является первым управляющим выходом схемы, в корпусе сервомотора в осевом протяжении выполнены первые два окна с образованием штоковой и поршневой полостей соответственно, при этом плунжер отсечного золотника снабжен двумя поясками, верхним и нижним, и управляющими буртиками, верхним и нижним, делящими объем корпуса золотника на полости, каждая из которых через окно, выполненное в корпусе золотника, гидравлически соединена с соответствующей магистралью, кроме того, в корпусе отсечного золотника выполнены два окна, которые соответственно гидравлически соединены с первыми двумя окнами в корпусе сервомотора и расположены в осевом протяжении с возможностью одновременного перекрытия их управляющими буртиками плунжера отсечного золотника, отличающаяся тем, что дополнительно введены управляющий золотник, шток плунжера которого механически соединен с электромеханическим преобразователем, и соответственно подключенный датчик положения штока плунжера управляющего золотника, выход которого является вторым управляющим выходом схемы, при этом внутренний диаметр корпуса управляющего золотника составляет от 1/3 до 1/2 внутреннего диаметра корпуса отсечного золотника, кроме того, в корпусе сервомотора по образующей, на уровне первых, дополнительно выполнены вторые два окна соответственно, при этом плунжер управляющего золотника снабжен двумя поясками, верхним и нижним, и управляющими буртиками, верхним и нижним, образующими три рабочие полости: верхнюю и нижнюю полости, образованные соответствующими управляющими буртиками и поясками, и среднюю полость, образованную управляющими буртиками, каждая из которых через окно, выполненное в корпусе золотника, гидравлически соединена с соответствующей магистралью, при этом верхняя и нижняя полости соединены со сливом, а средняя полость соединена с напорной магистралью, кроме того, в корпусе управляющего золотника выполнены два окна, которые соответственно гидравлически соединены со вторыми двумя окнами в корпусе сервомотора и расположены в осевом протяжении с возможностью одновременного перекрытия их соответствующими управляющими буртиками плунжера управляющего золотника, а в верхней части корпуса управляющего золотника выполнено окно, которое перекрыто верхним пояском плунжера и имеет возможность сообщения с верхней рабочей полостью управляющего золотника при перекрытых управляющими буртиками вышеупомянутых двух окнах, кроме того, в корпусе отсечного золотника дополнительно в верхней и нижней торцевой полости выполнены окна, при этом в отсечном золотнике верхняя торцевая полость, верхняя и нижняя полости, образованные соответствующими управляющими буртиками и поясками, гидравлически соединены с напорной магистралью, полость, образованная управляющими буртиками, гидравлически соединена со сливом, а нижняя торцевая полость гидравлически соединена со сливом из импульсной линии отсечного золотника и с окном в верхней части корпуса управляющего золотника.
РИСУНКИ
|
|