|
|
(21), (22) Заявка: 2005136439/03, 16.04.2004
(24) Дата начала отсчета срока действия патента:
16.04.2004
(30) Конвенционный приоритет:
24.04.2003 EP 03076196.9
(43) Дата публикации заявки: 20.03.2006
(46) Опубликовано: 10.10.2008
(56) Список документов, цитированных в отчете о поиске:
WO 03010410 A1, 06.02.2003. SU 147982, 01.01.1962. SU 313950, 07.09.1971. SU 840279, 23.06.1981. SU 16882547 A1, 07.10.1991. US 3794127, 26.02.1974. EP 0049668 A2, 14.04.1982. EP 0132423 A1, 30.01.1985. EP 0206917 A1, 30.12.1986. US 5271472 A, 21.12.1993. US 5794703 A, 18.08.1998.
(85) Дата перевода заявки PCT на национальную фазу:
24.11.2005
(86) Заявка PCT:
EP 2004/050542 (16.04.2004)
(87) Публикация PCT:
WO 2004/094783 (04.11.2004)
Адрес для переписки:
129090, Москва, ул. Б.Спасская, 25, стр. 3, ООО “Юридическая фирма Городисский и Партнеры”, пат.пов. С.А.Дорофееву
|
(72) Автор(ы):
БЕРКХЕЙМЕР Эрл Юджин (US), РУНИА Дауве Йоханнес (NL)
(73) Патентообладатель(и):
ШЕЛЛ ИНТЕРНЭШНЛ РИСЕРЧ МААТСХАППИЙ Б.В. (NL)
|
(54) СКВАЖИННАЯ КОЛОННА В СБОРЕ
(57) Реферат:
Изобретение относится к буровому инструменту, а именно к компоновке колонны бурильных труб и ее применению. Техническим результатом является повышение эффективности проведения различных операций в процессе бурения скважины без применения специального породоразрушающего инструмента. Скважинная колонна в сборе содержит верхнюю трубчатую часть скважинной колонны, которая имеет верхний и нижний концы, между которыми образован канал, и нижнюю часть скважинной колонны, имеющую также верхний и нижний концы. Причем нижний конец выполнен с возможностью присоединения к буровому долоту или включает буровое долото. При этом имеется средство соединения, предназначенное для избирательного соединения нижней и верхней частей скважинной колонны друг с другом над нижним концом нижней части скважинной колонны, и вспомогательный инструмент, содержащий приводное средство, предназначенное для манипулирования средством для соединения скважинной колонны так, чтобы отсоединить нижнюю часть скважинной колонны от верхней части скважинной колонны. Причем вспомогательный инструмент выполнен таким образом, что после разъединения верхней и нижней частей скважинной колонны он проходит через отверстие на нижнем конце верхней части скважинной колонны для достижения рабочего положения. При этом нижний конец нижней части скважинной колонны расположен на расстоянии от нижнего конца верхней части скважинной колонны при соединении верхней и нижней частей скважинной колонны друг с другом, в результате чего нижний конец верхней части скважинной колонны располагается между нижним концом и верхним концом нижней части скважинной колонны. Применяется скважинная колонна в сборе для выполнения операции в стволе скважины вне скважинной колонны. 2 н. и 9 з.п. ф-лы, 9 ил.
Настоящее изобретение относится к скважинной колонне в сборе, пригодной для выполнения операции в стволе скважины и/или пласте земли вне скважинной колонны в стволе скважины.
Выражение “скважинная колонна” используется для обозначения любой колонны или скважинного трубчатого элемента, используемого для операций в стволе скважины, таких как бурение, каротаж, транспортировка текучих сред. Скважинная колонна не обязательно должна быть трубчатой на всей ее длине. Скважинная колонна, в частности, может представлять собой бурильную колонну.
В процессе выполнения операции, такой как бурение пласта земли, иногда желательно иметь доступ к пространству в стволе скважины, наружному по отношению к скважинной колонне. Например, выполнение измерений определенных характеристик окружающего пласта трудно, если вообще возможно, осуществить со стороны внутреннего пространства бурильной колонны. К другим примерам, в которых желателен доступ к стволу скважины, относятся получение образца окружающего пласта, нагнетание текучей среды, такой как цемент или пластозакупоривающий материал (материал для борьбы с поглощением бурового раствора) для предотвращения текучей среды, или выполнение операции чистки, такой как удаление фильтрационной корки бурового раствора со стенки ствола скважины, например, посредством струйной очистки.
Если в начале операции бурения известно, какие операции необходимо выполнить, иногда в скважинную колонну можно включить специализированное оборудование, такое как специальный прибор для скважинных исследований в процессе бурения. Такое специализированное оборудование является дорогим, и часто с необходимостью в использовании специализированного оборудования сталкиваются только в процессе выполнения операции бурения. В таких случаях приходится поднимать бурильную колонну на поверхность для монтажа специального прибора до того, как бурильная колонна будет снова спущена в ствол скважины.
В публикации международной заявки WO 00/17488 раскрыта система для бурения и каротажа ствола скважины, образованного в пласте земли, в которой каротажный прибор может быть спущен в ствол скважины из внутреннего пространства трубчатой бурильной колонны через буровое долото (буровую коронку) на нижнем конце бурильной колонны.
Буровое долото включает корпус долота, выполненный с каналом для прохода каротажного прибора, и закрывающий элемент для канала, выполненный в виде вставной секции на торце долота. Корпус долота присоединен к бурильной колонне со стороны корпуса долота, предназначенной для присоединения к бурильной колонне, и канал проходит от отверстия на стороне, предназначенной для присоединения к бурильной колонне, до пространства в скважине, наружного по отношению к корпусу долота. Закрывающий элемент содержит основное фиксирующее устройство, предназначенное для избирательного соединения закрывающего элемента с корпусом долота с тем, чтобы избирательно закрывать канал.
Известная система дополнительно содержит вспомогательный инструмент для манипулирования закрывающим элементом, при этом указанный вспомогательный инструмент образует нижнюю часть колонны с каротажным прибором.
Колонна с каротажным прибором известной системы расположена так, что она может проходить от присоединенной скважинной колонны через отверстие корпуса долота на предназначенной для присоединения к бурильной колонне стороне вдоль канала так, что она может достичь закрывающего элемента, когда закрывающий элемент присоединен к корпусу долота. Вспомогательный инструмент содержит вспомогательное фиксирующее устройство, предназначенное для избирательного присоединения вспомогательного инструмента к закрывающему элементу. Кроме того, вспомогательное фиксирующее устройство расположено так, что одновременно с фиксацией вспомогательного инструмента относительно закрывающего элемента основное фиксирующее устройство приводится в действие, так что происходит расфиксация закрывающего элемента относительно корпуса долота, в то время как закрывающий элемент остается присоединенным к вспомогательному инструменту.
Буровое долото известной системы может быть использовано для операции бурения, когда закрывающий элемент присоединен к корпусу долота. Когда желательно провести каротаж в пласте, операцию бурения прекращают, и колонну с каротажным прибором вместе со вспомогательным инструментом на ее нижнем конце опускают через скважинную колонну в канал. Вспомогательное фиксирующее устройство соединяется с закрывающим элементом, и одновременно основное фиксирующее устройство приводится в действие с тем, чтобы расфиксировать закрывающий элемент относительно корпуса долота. В таком случае каротажный прибор может быть спущен в ствол скважины в зону, находящуюся перед долотом для бурения скважины, откуда может быть выполнен каротаж. После завершения каротажа колонна с каротажным прибором может быть втянута обратно в скважинную колонну, так что закрывающий элемент повторно соединяется с корпусом долота, и вспомогательный инструмент одновременно отсоединяется от закрывающего элемента.
Несмотря на то что известная система обеспечивает возможность доступа скважинного прибора к необсаженной части ствола скважины, находящейся перед буровым долотом, в процессе выполнения операции бурения, она имеет недостаток, заключающийся в том, что необходимо специальное буровое долото, выполненное с каналом и съемным закрывающим элементом.
Цель настоящего изобретения состоит в создании скважинной колонны в сборе, которая пригодна для выполнения операции в стволе скважины и/или пласте земли вне скважинной колонны так, что при этом не требуется никакого специального бурового долота.
С этой целью в соответствии с настоящим изобретением создана скважинная колонна в сборе, содержащая верхнюю трубчатую часть скважинной колонны, имеющую верхний и нижний концы, между которыми образован канал, нижнюю часть скважинной колонны, имеющую верхний и нижний концы, причем нижний конец расположен на расстоянии от нижнего конца верхней части скважинный колонны и выполнен с возможностью присоединения к буровому долоту или включает буровое долото, выполненное с возможностью разъединения средство для соединения скважинной колонны, предназначенное для избирательного соединения нижней и верхней частей скважинной колонны друг с другом над нижним концом нижней части скважинной колонны, и вспомогательный инструмент, выполненный так, что он может проходить вдоль канала верхней части скважинной колонны, при этом вспомогательный инструмент содержит приводное средство, предназначенное для манипулирования средством для соединения скважинной колонны так, чтобы отсоединить нижнюю часть скважинной колонны от верхней части скважинной колонны, и при этом вспомогательный инструмент выполнен таким образом, что после разъединения верхней и нижней частей скважинной колонны он может проходить через отверстие на нижнем конце верхней части скважинной колонны для достижения рабочего положения, в котором, по меньшей мере, часть вспомогательного инструмента не окружена в радиальном направлении частью скважинной колонны.
В описании и в формуле изобретения термины “верхний/вверх” и “нижний/вниз” используется в отношении скважинной колонны в стволе скважины так, что “верхний” означает находящийся ближе к поверхности (вдоль ствола скважины и независимо от его траектории), чем «нижний». Термины “вверх” и “вниз” используются для обозначения соответствующего направления.
Настоящее изобретение основано на осознании заявителем того, что доступ к стволу скважины может быть обеспечен посредством открытия скважинной колонны над буровым долотом, расположенным у нижнего конца нижней части скважинной колонны, так что не требуется никакое специальное буровое долото. Операции в необсаженной части ствола скважины снаружи скважинной колонны могут быть выполнены посредством отверстия на нижнем конце верхней части скважинной колонны в сборе. Любое обычное буровое долото, включая долота, армированные поликристаллическими синтетическими алмазами, долота с коническими шарошками, колонковые долота, расширительные долота, может быть использовано вместе с настоящим изобретением, как и другие инструменты, которые выполнены с возможностью присоединения к нижнему концу бурильной колонны, где обычно может быть расположено буровое долото. Буровое долото может быть выполнено с возможностью присоединения непосредственно к нижнему концу нижней части скважинной колонны или с возможностью присоединения через посредство дополнительной секции скважинной колонны, включающей, например, обычную бурильную трубу или элементы оборудования низа бурильной колонны.
Соответственно, вспомогательный инструмент дополнительно содержит нижнее соединительное средство скважинной колонны, предназначенное для присоединения вспомогательного инструмента к нижней части скважинной колонны одновременно с разъединением или перед разъединением средства для соединения скважинной колонны. Таким образом, может быть обеспечено то, что нижняя часть скважинной колонны не будет утеряна в стволе скважины после разъединения.
Если вспомогательный инструмент содержит устройство для подвешивания, взаимодействующее с нижним концом верхней части скважинной колонны, сам вспомогательный инструмент соответственно вместе с присоединенной к его нижнему концу нижней частью скважинной колонны не может быть утерян в стволе скважины.
Предпочтительно скважинная колонна в сборе выполнена таким образом, что нижняя часть скважинной колонны может быть повторно присоединена к верхней части скважинной колонны соответственно посредством подъема вспомогательного инструмента снова вверх после выполнения операции в стволе скважины.
В предпочтительном варианте осуществления верхняя и нижняя части скважинной колонны могут телескопически открываться и закрываться, при этом вспомогательный инструмент служит в качестве центральной части.
Операция в стволе скважины или пласте, окружающем вспомогательный инструмент, может быть выполнена с помощью дополнительного специализированного инструмента, проходящего через вспомогательный инструмент в его рабочем положении, причем с этой целью вспомогательный инструмент может быть выполнен с соответствующим отверстием. Дополнительный специализированный инструмент может представлять собой, например, каротажный прибор, прибор контроля, пробоотборник, инструмент для нагнетания текучей среды, инструмент для очистки ствола скважины, инструмент для размещения, предназначенный для размещения оборудования, такого как пакер, в стволе скважины. Дополнительный специализированный инструмент может быть, например, спущен с поверхности внутрь вспомогательного инструмента в его рабочем положении. Сам вспомогательный инструмент также может составлять одно целое с дополнительным специализированным инструментом, то есть он может включать соответствующие средства для выполнения заданной операции, так что вспомогательный инструмент будет выполнять двойную функцию раскрытия скважинной колонны и выполнения заданной операции. Существует возможность выполнения нескольких вспомогательных инструментов для различных операций, при этом каждый из них, тем не менее, может обеспечить раскрытие скважинной колонны посредством манипулирования средством для соединения скважинной колонны. Каждый комплексный вспомогательный инструмент может быть, например, образован из первого модуля, который служит для выполнения функций присоединения/отсоединения и который присоединен с возможностью отсоединения ко второму модулю, включающему в себя специализированный инструмент, так что для выполнения определенной операции первый модуль соединяют с соответствующим вторым модулем для данной операции.
Изобретение далее будет описано более подробно и со ссылкой на чертежи, на которых изображено следующее:
фиг.1 схематически показывает вариант осуществления скважинной колонны в сборе в соответствии с настоящим изобретением, в которой верхняя и нижняя части скважинной колонны соединены друг с другом;
фиг.2 схематически показывает скважинную колонну в сборе по фиг.1 после разъединения верхней и нижней частей скважинной колонны;
фиг.3 схематически показывает вариант осуществления средства для соединения скважинной колонны, предназначенного для использования вместе с настоящим изобретением;
фиг.4 схематически показывает вариант осуществления верхней части вспомогательного инструмента;
фиг.5 схематически показывает расположенную ниже по ходу часть вспомогательного инструмента по фиг.4;
фиг.6 схематически показывает поперечное сечение, выполненное по линии VI-VI на фиг.5;
фиг.7 схематически показывает взаимодействие между вспомогательным инструментом и скважинной колонной в первой ситуации;
фиг.8 схематически показывает взаимодействие между вспомогательным инструментом и скважинной колонной во второй ситуации; и
фиг.9 схематически показывает взаимодействие между вспомогательным инструментом и скважинной колонной в третьей ситуации.
В том случае, когда аналогичные ссылочные позиции используются на различных фигурах, они относятся к по существу аналогичным частям и деталям.
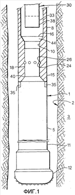
На фиг.1 схематически показана скважинная колонна 1 в сборе согласно изобретению, когда она расположена в стволе 2 скважины, проходящем в подповерхностный пласт 3. На фиг.1 нижняя часть 5 скважинной колонны показана присоединенной к верхней части 8 скважинной колонны. Нижняя часть 5 скважинной колонны имеет верхний конец 10 и нижний конец 11, и на нижнем конце в данном случае присоединено обычное буровое долото 12. Нижняя часть 5 скважинной колонны также может включать секцию обычной бурильной трубы, а также другие элементы оборудования низа бурильной колонны, такие как утяжеленная бурильная труба, устройства для регулирования направления, забойный турбинный двигатель, систему (непоказанную) для скважинных исследований в процессе бурения. Отсутствует необходимость в том, чтобы нижняя часть скважинной колонны имела продольный канал большого диаметра, но, само собой разумеется, она может иметь такой канал на определенном участке.
Верхняя часть 8 скважинной колонны имеет нижний конец 15, расположенный выше, то есть на расстоянии от нижнего конца нижней части скважинной колонны, когда верхняя и нижняя части скважинной колонны соединены друг с другом во время нормальной работы, как показано на фиг.1. Верхняя часть скважинной колонны проходит до поверхности, так что ее верхний конец не показан на фигуре. Верхняя часть 8 скважинной колонны является трубчатой, так что между ее верхним и нижним концами образован продольный канал 16.
Верхняя и нижняя части скважинной колонный соединены друг с другом с возможностью разъединения с помощью средства 18 для соединения скважинной колонны, которое образовано механизмом фиксации взаимодействующих частей на верхнем конце 10 нижней части 5 скважинной колонны и нижнем конце 15 верхней части 8 скважинной колонны. Механизм фиксации показан только схематически на фиг.1 в виде фиксирующих шариков 24 на нижней части скважинной колонны, взаимодействующих с фиксирующей выемкой или выемками 26 внутри трубчатой верхней части 8 скважинной колонны. Вариант средства для соединения будет описан более подробно со ссылкой на фиг.3.
Скважинная колонна 1 в сборе дополнительно содержит вспомогательный инструмент 30, который может проходить вдоль канала 16 верхней части 8 скважинной колонны, при этом вспомогательный инструмент 30 содержит приводное средство 33 для манипулирования средством 18 для соединения скважинной колонны для соединения нижней части 5 скважинной колонны от верхней части 8 скважинной колонны. Вариант вспомогательного инструмента с приводным средством будет рассмотрен более подробно со ссылкой на фиг.4-6.
Верхняя и/или нижняя части скважинной колонны выполнены со средствами 35 для фиксации частей скважинной колонны относительно друг друга в направлении вращения, когда они соединены друг с другом. Это необходимо для обеспечения возможности передачи крутящего момента нижней части скважинной колонны посредством вращения верхней части скважинной колонны, когда части соединены друг с другом. Фиксирующие средства могут иметь вид одного или нескольких фиксирующих пальцев или шпонок, взаимодействующих с соответствующей выемкой на другой части скважинной колонны.
На фиг.2 схематически показана скважинная колонна 1 в сборе по фиг.1 после того, как средство 18 для соединения скважинной колонны было приведено в действие вспомогательным инструментом 30, посредством опускания вспомогательного инструмента. Опускание может быть выполнено посредством ловильной шейки 37 с помощью талевого каната или гибких труб, или посредством использования специального инструмента для развертывания (установки), такого как оборудование для нагнетания.
Вспомогательный инструмент 30 в данном варианте дополнительно содержит нижнее соединительно средство 38 скважинной колонны, которое выполнено и расположено таким образом, что оно соединяет вспомогательный инструмент 30 с нижней частью 5 скважинной колонны одновременно с разъединением или перед разъединением средства 18 для соединения скважинной колонны с помощью приводного средства 33. Вариант нижнего соединительного средства бурильной колонны рассмотрен со ссылкой на фиг.3-9.
На фиг.2 показана скважинная колонна 1 в сборе в ситуации, когда вспомогательный инструмент 30 был пропущен через отверстие 40 на нижнем конце верхней части 8 скважинной колонны для достижения рабочего положения, подобного показанному, при этом вспомогательный инструмент проходит в зону 41 ствола 2 скважины вне скважинной колонны, в которой часть вспомогательного инструмента не окружена в радиальном направлении или сбоку какой-либо из частей скважинной колонны. Ни верхняя, ни нижняя часть скважинной колонны не окружает данную часть инструмента со всех радиальных направлений. То есть вспомогательный инструмент не огражден кольцеобразно в этом рабочем положении, так что имеется свободный доступ, по меньшей мере, к части ствола скважины и стенке ствола скважины. Должно быть понятным, что стенка ствола скважины может быть образована, например, обсадной колонной.
Для фиксации вспомогательного инструмента в рабочем положении вспомогательный инструмент выполнен с устройством для подвешивания в виде посадочного кольца 42 на его верхнем конце, причем посадочное кольцо взаимодействует с посадочным заплечиком 44 в верхней части 8 скважинной колонны.
Вспомогательный инструмент 30 дополнительно содержит каротажный прибор 46 на той части, которая не окружена скважинной колонной 1, когда скважинная колонна становится “раскрытой” и вспомогательный инструмент находится в рабочем положении, подобном показанному. Следует понимать, что вместо каротажного прибора 46 также может быть размещено другое средство для выполнения операции в отношении ствола скважины или пласта, окружающего вспомогательный инструмент, например оно может быть выполнено в виде модуля, который может быть размещен вместо модуля каротажного прибора. Альтернативно часть, обозначенная ссылочной позицией 46, создает только отверстие или окно (непоказанное), сквозь которое может действовать дополнительный специализированный инструмент, причем указанный дополнительный специализированный инструмент спускают внутрь во вспомогательный инструмент.
На фиг.3 показан пример средства 18 для соединения более подробно в продольном сечении, когда верхняя и нижняя части скважинной колонны соединены друг с другом, как на фиг.1.
Средство 18 для соединения образовано фиксирующим устройством 110 на верхнем конце 10 нижней части 5 скважинной колонны, которое взаимодействует с секцией 112 на нижнем конце 15 верхней части 8 скважинной колонны.
Фиксирующее устройство 110 нижней части 5 скважинной колонны имеет по существу цилиндрическую форму и проходит в центральное продольное отверстие 120 в секции 112 с малым зазором. Отверстие 120 образует часть канала 16 и имеет отверстие 40 на своем нижнем конце.
Фиксирующее устройство 110 присоединено к верхней части 8 скважинной колонны с возможностью отсоединения. Фиксирующее устройство 110 содержит по существу цилиндрическую наружную гильзу 123, которая простирается с небольшим зазором вдоль отверстия 120. Фиксирующее устройство 110 дополнительно содержит внутреннюю гильзу 125, которая установлена в наружной гильзе 123 по скользящей посадке. Внутренняя гильза 125 выполнена с кольцевым ободом 126, который поджат в направлении вверх к внутреннему буртику 128 наружной гильзы 123. Поджимающее усилие действует со стороны частично сжатой цилиндрической винтовой пружины 130, которая поджимает внутреннюю гильзу 125 в направлении вверх. На нижнем конце внутренней гильзы 125 предусмотрена кольцевая выемка 132, которая выполнена с возможностью охватывания верхней части пружины 130.
Наружная гильза 123 выполнена с выемками 134, в которых расположены фиксирующие шарики 135. Диаметр фиксирующего шарика 135 больше толщины стенки гильзы 123, и каждая выемка 134 выполнена с возможностью удерживания соответствующего шарика 135 нежестко (без фиксации), так что он может перемещаться на ограниченное расстояние в радиальном направлении внутрь и наружу из гильзы 123. На чертеже показаны два фиксирующих шарика 135, однако очевидно, что может быть размещено большее количество фиксирующих шариков. В качестве альтернативы фиксирующим шарикам могут быть использованы замковые защелки.
В положении, в котором верхняя и нижняя части скважинной колонны соединены друг с другом, подобном показанному на фиг.3, фиксирующие шарики 125 поджаты радиально наружу внутренней гильзой 125 и совмещены с кольцевой выемкой 136, выполненной в секции 112 внутри вокруг отверстия 120. Таким образом, фиксирующее устройство 110 и, следовательно, нижняя часть 5 скважинной колонны фиксируются относительно верхней части 8 скважинной колонны.
Внутренняя гильза 125 дополнительно выполнена с кольцевой выемкой 137, которая в положении, в котором верхняя и нижняя части скважинной колонны соединены друг с другом, смещена в продольном направлении вверх относительно выемки 136. Также могут быть предусмотрены внутренние выемки 138. Как будет разъяснено более подробно ниже, средство для соединения может быть приведено в действие посредством обеспечения продольного перемещения внутренней гильзы 125 относительно наружной гильзы 123, поскольку таким образом фиксирующие шарики 135 могут быть введены в канавку 136 с обеспечением фиксации и высвобождены из канавки 136.
Верхний конец 123а наружной гильзы 123 имеет воронкообразную форму с тем, чтобы обеспечить направление вспомогательного инструмента в фиксирующую секцию 110, при этом указанный вспомогательный инструмент служит для присоединения к нижней части скважинной колонны и для приведения в действие средства для соединения скважинной колонны. Фиксирующие выемки 139 выполнены в наружной гильзе 123 с возможностью их взаимодействия с нижним соединительным средством 38 скважинной колонны, предусмотренным на вспомогательном инструменте 30 (см. ниже).
Секция 112 дополнительно содержит двустороннее ориентирующее устройство 140 и подпружиненную пусковую кнопку 145, при этом оба этих элемента выполнены с возможностью взаимодействия со вспомогательным инструментом, который может быть установлен с пропусканием его через канал 16 для манипулирования средством 18 для соединения. Ориентирующее устройство 140 имеет направляющую канавку 141, образованную выступающими внутрь ободами 142а, 142b, которые простираются в направлении вверх и вниз по всей окружной периферии канала 16 для образования верхней кромки 143 с кулачковой поверхностью и нижней кромки 144 с кулачковой поверхностью. Ориентирующее устройство 140 начерчено, как показано на фиг.3, для ясности, однако оно ориентировано соответствующим образом так, что направляющая канавка 141 будет расположена напротив кнопки 145.
Далее будет рассмотрен вариант осуществления вспомогательного инструмента, взаимодействующего со средством для соединения по фиг.3.
Далее приводится описание фиг.4-6. Фиг.4 схематически показывает верхнюю часть вспомогательного инструмента, фиг.5 – нижнюю часть вспомогательного инструмента в продольном сечении, фиг.6 – поперечное сечение, выполненное по линии VI-VI на фиг.5.
Вспомогательный инструмент 30 для манипулирования средством 18 для соединения выполнен таким образом, что он может проходить от поверхности через внутреннее пространство верхней части 8 скважинной колонны, вдоль канала 16 к средству 18 для соединения, когда верхняя и нижняя части скважинной колонны соединены, как показано на фиг.1 и 3. С этой целью вспомогательный инструмент выполнен удлиненным и по существу цилиндрическим и имеет максимальный наружный диаметр, который меньше внутреннего диаметра верхней части 8 скважинной колонны. Самая нижняя часть вспомогательного инструмента имеет максимальный наружный диаметр, который меньше минимального диаметра канала. Типовой минимальный диаметр канала составляет 6 см (2,5 дюйма), в то время как диаметр верхней части скважинной колонны составляет всего 9 см (3,5 дюйма), или, само собой разумеется, он может быть составлять бульшую величину.
Вспомогательный инструмент содержит первый, наружный элемент 155 и второй элемент в виде внутреннего поршня 156. Наружный элемент 155 в данном варианте имеет корпус, образованный деталями 157, 158, 159, которые собраны вместе с помощью винтов 160, 161. Наружный элемент 155 включает нижнее соединительное средство 38 скважинной колонны на своем самом нижнем конце. Нижнее соединительное средство скважинной колонны включает четыре фиксирующих “лепестка” (выступа криволинейной формы) 163, которые выполнены с возможностью взаимодействия с фиксирующими выемками 139 в фиксирующем устройстве 110 нижней части 5 скважинной колонны с тем, чтобы обеспечить избирательное и разъемное соединение вспомогательного инструмента с нижней частью скважинной колонны.
На нижнем конце внутреннего поршня 156 предусмотрено приводное средство 33, выполненное в виде плунжера 164. Плунжер 164 имеет крестообразное поперечное сечение на своем самом нижнем конце, как лучше всего видно на фиг.6, и служит для обеспечения смещения внутренней гильзы 125 в продольном направлении относительно наружной гильзы 123 фиксирующей секции. С этой целью внутренний поршень 156 выполнен с возможностью перемещения в продольном направлении относительно наружного элемента 155. Плунжер 164 показан в первом, отведенном положении, в котором он обозначен 166. В то же время данное положение характеризует положение первого, наружного элемента 156 и внутреннего поршня (второго элемента) 156 относительно друг друга. Это также видно на изображении верхней части вспомогательного инструмента 30 на фиг.4, где стержень 167, который соединен с верхней частью внутреннего поршня 156, полностью отведен от верхней части наружного элемента 155. Стержень 167 имеет буртик 168 и соединен через посредство вертлюга 169 с другим оборудованием (непоказанным), образующим часть вспомогательного инструмента 30 или присоединенным к верхнему концу вспомогательного инструмента 30. Вертлюг создает возможность свободного вращения подобного другого оборудования.
Когда плунжер находится в данном отведенном положении, фиксирующие выступы 163 наружного элемента 155 могут изгибаться в поперечном направлении к оси 170 вспомогательного инструмента, так что они могут входить в фиксирующее устройство 110 и в фиксирующие выемки 139 с обеспечением соединения. Внутренний поршень 156 также может быть перемещен в продольном направлении с тем, чтобы он занял другие положения относительно наружного элемента 155. Одно такое положение обозначено пунктиром со ссылочной позицией 171, и в данном положении выступы 163 не могут больше изгибаться по направлению к оси.
Плунжер 164 выполнен таким образом, что он может давить на верхний конец внутренней гильзы 125, тем самым образуя приводное средство 33 для средства 18 для соединения, подобного рассмотренному выше. Это будет рассмотрено более подробно в связи с фиг.7-9.
Вспомогательный инструмент дополнительно имеет несколько деталей, которые дополнительно содействуют отказоустойчивой работе, в частности, они служат для дополнительного гарантирования того, что нижняя часть скважинной колонны не сможет быть потеряна в стволе скважины. Верхняя собачка 172, образующая первое удерживающее устройство, и нижняя собачка 173, образующая второе удерживающее устройство, расположены на наружном элементе 155 с возможностью взаимодействия с выемкой 175 на внутреннем поршне 156 и с кнопкой 145 в секции 112 верхней части 8 скважинной колонны, как будет разъяснено ниже более подробно. Собачки 172 и 173 выполнены с зубцами 177, 178, проходящими через отверстие 180 в корпусе 158, и установлены с возможностью поворота относительно осей 182, 183, при этом концы, противоположные зубцам, поджаты в направлении внутреннего поршня 156 посредством пружины 186, 187.
Корпус дополнительно имеет шпонку 190, выступающую наружу от по существу цилиндрической наружной поверхности нижней части наружного элемента 155, при этом указанная шпонка взаимодействует с двухсторонним ориентирующим средством 140 верхней части 8 колонны. Шпонка 190 выполнена удлиненной, расположена параллельно направлению оси 170 и имеет скошенные края, придающие ей ладьевидную форму. Шпонка опирается на пружины 192. Вместо ладьевидной удлиненной шпонки также могут быть предусмотрены две отдельные шпонки, которые разнесены в продольном направлении. Под шпонкой 190 и с небольшим угловым смещением относительно нее предусмотрен препятствующий столкновениям зуб в виде выступающего радиально наружу, заостренного элемента 195, опирающегося на пружину 197.
Внутренний поршень 156 может быть дополнительно предусмотрен с пальцами (не показанными), проходящими под плунжером 164, при этом указанные пальцы могут взаимодействовать с выемками 138 в фиксирующем устройстве 110. Таким образом, внутренний поршень также может быть присоединен к нижней части скважинной колонны в заранее заданном месте, что может дополнительно способствовать отказоустойчивой работе в случае больших сил, действующих в продольном направлении наружу (вниз) на нижнюю часть 5 скважинной колонны вследствие вытягивания или нагнетания.
Функционирование деталей, предназначенных для обеспечения отказоустойчивой работы, станет понятным при рассмотрении фиг.7-9.
На фиг.7-9 показаны несколько стадий взаимодействия между вспомогательным инструментом 30 и средством 18 для соединения, когда средство для соединения приведено в действие с тем, чтобы обеспечить разъединение верхней и нижней частей скважинной колонны. Ссылочные позиции соответствуют тем, которые уже были использованы в связи с фиг.1-6.
Скважинная колонна 1 с верхней и нижней частями скважинной колонны, соединенными друг с другом, как показано на фиг.1, может быть использована для проходки ствола 2 скважины.
Когда желательно выполнить операцию в необсаженной части 2 ствола скважины, буровое долото 12 сначала размещают в заданном положении на некотором расстоянии над забоем скважины. После этого нижняя часть 5 скважинной колонны может быть отсоединена и опущена вниз для создания пространства для работы между верхней и нижней частями скважинной колонны.
Для выполнения разъединения вспомогательный инструмент 30 спускают с поверхности или из некоторого положения внутри верхней части 8 скважинной колонны вдоль канала 16, чтобы достичь секции 112.
При спуске вспомогательного инструмента 30 внутренний поршень 156 находится в его отведенном (втянутом) положении 166, которое также названо первым положением относительно наружного элемента 156 в описании и в формуле изобретения. Когда нижняя часть вспомогательного инструмента войдет в секцию 112, шпонка 190 войдет в контакт с верхней кромкой 143 с кулачковой поверхностью (не показанной на фиг.7-9), и вспомогательный инструмент поворачивается вокруг вертлюга 169 так, что будет достигнуто заранее заданное угловое положение нижнего соединительного средства 38 скважинной колонны относительно фиксирующего устройства 110 в том месте или непосредственно перед тем местом, в котором вспомогательный инструмент контактирует с фиксирующим устройством 110.
Выступы (“лепестки”) 163, образующие нижнее соединительное средство скважинной колонны на нижнем конце наружного элемента 156, входят в воронкообразный верхний конец 123а и направляются воронкообразным верхним концом 123а наружной гильзы 123 в фиксирующее устройство 110. Ножки выступов 163 деформируются в направлении внутрь до тех пор, пока выступы 163 не совместятся с выемками 139 так, чтобы они могли сместиться наружу со щелчком. Данное положение, в котором вспомогательный инструмент 30 соединен с фиксирующим устройством 110 нижней части 5 скважинной колонны, показано на фиг.7.
Из фиг.7 также понятно, что кнопка 145 вошла в контакт с зубцом 177 верхней собачки 172 (которая образует первое удерживающее устройство), тем самым вызывая подъем верхнего конца собачки 172 из выемки 175. Следовательно, когда выступы 163 вошли в выемки 139 с соединением с ними, осуществляется управление первым удерживающим устройством 172 (расфиксация, отпускание его), так что оно больше не препятствует перемещению внутреннего поршня 156 вниз.
Дополнительное надавливание на верхний конец вспомогательного инструмента 30 вызовет сдвигание внутреннего поршня 156 в продольном направлении относительно наружного элемента 155. Плунжер 164 входит в контакт с верхним концом внутренней гильзы 125, который имеет меньший внутренний диаметр по сравнению с диаметром плунжера 164. Дальнейшее перемещение внутреннего поршня вниз заставляет внутреннюю гильзу смещаться вниз против направления действия усилия, действующего со стороны пружины 130, до тех пор, пока фиксирующие шарики 135 не совместятся с выемками 137. Данная ситуация показана на фиг.8. Таким образом, создается возможность перемещения фиксирующих шариков внутрь, в результате чего осуществляется расфиксация нижней части 5 скважинной колонны с выходом из кольцевой выемки 136, то есть расфиксация относительно верхней части 8 скважинной колонны. Таким образом, плунжер 164 образует приводное средство для средства 18 для соединения. Положение внутреннего поршня 156 относительно наружного элемента 155, в котором фиксирующие шарики полностью “высвобождены” из кольцевой выемки 136, названо вторым относительным положением в описании и в формуле изобретения.
В положении, показанном на фиг.8, внутренний поршень 156 предотвращает изгибание выступов 163 внутрь, так что вспомогательный инструмент 30 будет прочно зафиксирован относительно нижней части 5 скважинной колонны. Кроме того, в данном положении выемка 175 на внутреннем поршне смещена настолько далеко, что она совмещается с нижней собачкой 173 (вторым удерживающим устройством). Нижний конец нижней собачки 173 входит в выемку 175 за счет усилия, действующего со стороны пружины 187, и блокирует перемещение внутреннего поршня 156 в продольном направлении вверх относительно наружного элемента 155, когда закрывающий элемент 10 открыт (разблокирован).
При дополнительном проталкивании вспомогательного инструмента 30 в направлении вниз нижняя часть 5 скважинной колонны “отталкивается” от верхней части скважинной колонны. Часть вспомогательного инструмента достигает необсаженной части ствола скважины и не будет радиально окружена скважинной колонной, так что может быть выполнена операция, как рассмотрено со ссылкой на фиг.2. Соответственно, вспомогательный инструмент может быть подвешен в оборудовании низа бурильной колонны, как показано на фиг.2.
Скважинная бурильная колонна 1 и вспомогательный инструмент 30 выполнены с такой конструкцией, что нижняя часть 5 скважинной колонны может быть повторно присоединена к верхней части 8 скважинной колонны с фиксацией относительно нее, если это желательно после выполнения операции в необсаженной части ствола скважины.
С этой целью вспомогательный инструмент снова поднимают в направлении вверх. Нижняя собачка 173, взаимодействующая с выемкой 175, удерживает внутренний поршень в заданном положении относительно наружного элемента 155.
Шпонка 190 взаимодействует с нижней кромкой 144 с кулачковой поверхностью (которая показана только на фиг.3) с тем, чтобы перевести нижнюю часть скважинной колонны с присоединенным вспомогательным инструментом 30 в заранее заданное угловое ориентированное положение относительно верхней части 8 скважинной колонны. Эта заранее заданная угловая ориентация должна быть обеспечена в другом, более низком положении вспомогательного инструмента, чем ранее, когда вспомогательный инструмент должен был входить в контакт и соединяться с фиксирующим устройством 110. С этой целью шпонка 190 выполнена удлиненной, или две шпонки расположены на соответствующем расстоянии друг от друга в продольном направлении. Таким образом, ориентирование происходит в разных положениях в продольном направлении. Это в принципе также может быть достигнуто посредством выполнения более длинной направляющей канавки 141. Преимущество удлиненного средства в виде шпонки состоит в том, что для ориентирующего устройства 140 как части скважинной колонны или бурового долота требуется меньше места. Длина средства в виде шпонки может быть выбрана большей по сравнению с длиной направляющей канавки.
Когда будет достигнуто положение, показанное на фиг.8, фиксирующие шарики 135 могут быть вставлены с усилием обратно в кольцевую выемку 136. В этом положении кнопка 145 приводит в действие нижнюю собачку 173 так, что она выходит из выемки 175, и внутренний поршень 156, включающий в себя плунжер 164 на своем нижнем конце, может быть перемещен в направлении вверх. Внутренняя гильза 125, имеющая выемки 137, смещается вверх, и фиксирующие шарики снова фиксируются в кольцевой выемке 136. На этой стадии корпус долота и закрывающий элемент снова соединяются друг с другом.
После соединения частей скважинной колонны друг с другом вспомогательный инструмент может быть снова отсоединен от закрывающего элемента. С этой целью внутренний поршень перемещается в положение относительно наружного элемента, подобное показанному на фиг.7, и больше не препятствует изгибанию выступов 163 внутрь. Следовательно, при дальнейшем вытягивании вспомогательного инструмента вверх, например, от поверхности выступы 163 выходят из выемок 139, и с этой целью верхние края немного скошены, как показано на чертеже. После вытягивания немного дальше кнопка 145 выходит из контакта с верхней собачкой 172, которая впоследствии предотвратит перемещение внутреннего поршня снова в направлении вниз.
Как должно быть понятно из предшествующего рассмотрения, вариант осуществления вспомогательного инструмента и скважинной колонны, рассмотренный со ссылкой на фиг.3-9, обеспечивает возможность отказоустойчивого раскрытия средства для соединения скважинной колонны и нижнего соединительного средства скважинной колонны посредством простого пропускания/проталкивания вспомогательного инструмента вниз через верхнюю часть скважинной колонны (например, посредством использования системы труб, проходящих до поверхности, или нагнетания). В частности, предотвращается ситуация, при которой нижняя часть скважинной колонны может быть потеряна в стволе скважины. Кроме того, существует возможность повторного отказоустойчивого соединения посредством простого повторного пропускания/вытягивания вверх вспомогательного инструмента (например, посредством системы труб или талевого каната).
В данном варианте осуществления две функции вспомогательного инструмента “развязаны” [выполняются независимо друг от друга], с одной стороны, присоединение нижней части бурильной колонны к вспомогательному инструменту и, с другой стороны, приведение в действие средства для соединения скважинной колонны. “Развязка” [независимое выполнение функций] достигается определенным образом, так что средство для соединения может быть приведено в действие только тогда, когда вспомогательный инструмент присоединен к нижней части бурильной колонны. Таким образом, предотвращается возможность потери нижней части бурильной колонны в стволе скважины, поскольку она может быть отсоединена от верхней части скважинной колонны только в том случае, если она полностью присоединена к вспомогательному инструменту.
“Развязка” данных функций достигается за счет того, что вспомогательный инструмент содержит первый и второй элементы, каждый из которых связан в основном с выполнением одной из функций и которые выполнены с возможностью перемещения относительно друг друга. В первом положении первого и второго элементов относительно друг друга вспомогательный инструмент может быть соединен с нижней частью бурильной колонны, и посредством перемещения первого и второго элементов в их второе относительное положение средство для соединения приводится в действие.
В данном варианте осуществления нижнее соединительное средство бурильной колонны расположено вблизи нижнего по ходу конца первого элемента, приводное средство расположено вблизи нижнего по ходу конца второго элемента, и второй элемент расположен с возможностью скольжения в продольном направлении вдоль канала относительно первого элемента. Соответственно в этом случае в первом относительном положении второй элемент будет находиться в верхнем положении относительно первого элемента, и второй элемент перемещается вниз при перемещении его по направлению ко второму относительному положению.
Данный вариант осуществления является предпочтительным, поскольку он создает возможность простого управления средством для соединения только за счет продольных перемещений. При опускании вспомогательного инструмента тогда, когда второй элемент находится в первом относительном положении, вспомогательный инструмент может соединяться с нижней частью бурильной колонны. При дальнейшем перемещении второго элемента в продольном направлении относительно первого элемента средство для соединения может быть приведено в действие. Такое продольное перемещение может быть обеспечено простым образом.
Взаимодействие вспомогательного инструмента, средства для соединения и нижнего соединительного средства скважинной колонны, рассмотренное со ссылкой на фиг.3-9, по существу такое же, как работа скважинного узла с буровым долотом, пригодного для выполнения операций с проходом через буровое долото, подобного описанному в заявке на Европейский патент № 03250243.7, не опубликованной на дату приоритета настоящей заявки.
Работа двустороннего ориентирующего устройства по существу такая, как описана в заявках на Европейский патент №№03250243.7 и 03250242.9, не опубликованных на дату приоритета настоящей заявки. Рассмотрение этих заявок на Европейский патент было прекращено до даты подачи настоящей заявки, и они служили в качестве приоритетных заявок для международной заявки на патент №РСТ/ЕР2004/050017, в которую был включен предмет обеих заявок на Европейский патент.
Следует понимать, что другие средства для соединения и вспомогательные инструменты также могут быть использованы вместе с настоящим изобретением, например аналогичные блокировочному механизму для буровых долот, пригодных для операций, выполняемых “сквозь” долото, который описан в публикации международных заявок на патент № WO 00/17488 и WO 03/004825, в которых роль верхней и нижней частей скважинной колонны играют соответственно корпус долота и закрывающий элемент для продольного канала в корпусе долота.
В некоторых случаях применения может отсутствовать проблема, связанная с потерей нижней части бурильной колонны в стволе скважины после разъединения, так что не требуется нижнее соединительное средство бурильной колонны.
Настоящее изобретение может быть использовано для того, чтобы можно было “раскрыть” скважинную колонну в любом заданном месте, находящемся выше ее нижнего конца. Требуется только разместить соответствующее средство для соединения в этом месте. Средство для соединения не препятствует обычной операции бурения, но обеспечивает гибкость при выполнении некоторой операции в стволе скважины. Когда скважинная колонна в сборе установлена в стволе скважины, изобретение может быть использовано для выполнения операций в стволе скважины вне скважинной колонны, при этом ствол скважины может представлять собой необсаженный ствол скважины или также частично или полностью законченный ствол скважины.
Нижняя часть скважинной колонны может включать все или часть так называемого оборудования низа скважинной бурильной колонны.
Скважинная колонна согласно настоящему изобретению необязательно должна быть оснащена буровым долотом на нижнем конце ее нижней части. Может быть смонтирован, например, расширитель или инструмент для цементирования. В особом случае применения нижний конец нижней части скважинной колонны образован гидромониторной головкой, и нижняя часть скважинной колонны в этом случае дополнительно включает в себя шарнирный отклонитель. Гидромониторная головка и шарнирный отклонитель используются в повторно вводимых системах для направления скважинной колонны в определенное ответвление в скважине с множеством боковых ответвлений.
Формула изобретения
1. Скважинная колонна в сборе, содержащая верхнюю трубчатую часть скважинной колонны, имеющую верхний и нижний концы, между которыми образован канал, нижнюю часть скважинной колонны, имеющую верхний и нижний концы, причем нижний конец выполнен с возможностью присоединения к буровому долоту или включает буровое долото, выполненное с возможностью разъединения средство для соединения скважинной колонны, предназначенное для избирательного соединения нижней и верхней частей скважинной колонны друг с другом над нижним концом нижней части скважинной колонны, и вспомогательный инструмент, выполненный с возможностью прохождения вдоль канала верхней части скважинной колонны и содержащий приводное средство, предназначенное для манипулирования средством для соединения скважинной колонны так, чтобы отсоединить нижнюю часть скважинной колонны от верхней части скважинной колонны, при этом вспомогательный инструмент выполнен таким образом, что после разъединения верхней и нижней частей скважинной колонны он проходит через отверстие на нижнем конце верхней части скважинной колонны для достижения рабочего положения, в котором, по меньшей мере, часть вспомогательного инструмента не окружена в радиальном направлении частью скважинной колонны, при этом нижний конец нижней части скважинной колонны расположен на расстоянии от нижнего конца верхней части скважинной колонны при соединении верхней и нижней частей скважинной колонны друг с другом, в результате чего нижний конец верхней части скважинной колонны располагается между нижним концом и верхним концом нижней части скважинной колонны.
2. Скважинная колонна в сборе по п.1, в которой вспомогательный инструмент дополнительно содержит нижнее соединительное средство скважинной колонны, предназначенное для присоединения вспомогательного инструмента к нижней части скважинной колонны одновременно с разъединением или перед разъединением средства для соединения скважинной колонны.
3. Скважинная колонна в сборе по п.1 или 2, в которой вспомогательный инструмент содержит устройство для подвешивания, взаимодействующее с нижним концом верхней части скважинной колонны.
4. Скважинная колонна в сборе по п.1 или 2, дополнительно содержащая средство для выполнения операции в стволе скважины или пласте, окружающем вспомогательный инструмент, когда вспомогательный инструмент находится в рабочем положении.
5. Скважинная колонна в сборе по п.4, в которой средство для выполнения операции образует часть вспомогательного инструмента.
6. Скважинная колонна в сборе по п.4, в которой средство для выполнения операции выбрано из группы, состоящей из каротажного прибора, пробоотборника, инструмента для нагнетания текучей среды, инструмента для размещения.
7. Скважинная колонна в сборе по п.2, в которой вспомогательный инструмент содержит первый элемент, включающий нижнее соединительное средство скважинной колонны, и второй элемент, включающий приводное средство и выполненный с возможностью перемещения для принятия первого и второго положений относительно первого элемента, причем в первом положении нижнее соединительное средство скважинной колонны выполнено с возможностью соединения, по меньшей мере тогда, когда верхняя и нижняя части скважинной колонны соединены друг с другом, с нижней частью скважинной колонны без приведения в действие средства для соединения скважинной колонны, и после присоединения вспомогательного инструмента к нижней части скважинной колонны средство для соединения скважинной колонны может быть приведено в действие посредством перемещения второго элемента, включающего приводное средство, между первым и вторым положением.
8. Скважинная колонна в сборе по п.7, в которой нижнее соединительное средство скважинной колонны расположено вблизи нижнего конца первого элемента, приводное средство расположено вблизи нижнего конца второго элемента, и второй элемент выполнен с возможностью скольжения в продольном направлении вдоль канала относительно первого элемента так, что первое относительное положение представляет собой верхнее положение второго элемента, при этом второй элемент способен перемещаться относительно первого элемента в направлении вниз при перемещении его по направлению ко второму относительному положению.
9. Скважинная колонна в сборе по п.8, в которой первый элемент вспомогательного инструмента содержит по существу трубчатый корпус, второй элемент расположен коаксиально с возможностью скольжения, нижняя часть скважинной колонны содержит на своем верхнем конце наружную гильзу и коаксиальную внутреннюю гильзу, при этом верхний конец наружной гильзы выполнен с возможностью взаимодействия с нижним соединительным средством скважинной колонны для фиксации вспомогательного инструмента относительно наружной гильзы, а верхний конец внутренней гильзы выполнен с возможностью взаимодействия с приводным средством вспомогательного инструмента, так что средство для соединения скважинной колонны приводится в действие посредством скольжения внутренней гильзы в продольном направлении относительно наружной гильзы.
10. Скважинная колонна в сборе по п.1 или 2, в которой средство для соединения скважинной колонны вспомогательный инструмент и, выборочно, нижнее соединительное средство скважинной колонны выполнены так, что верхняя и нижняя части скважинной колонны могут быть повторно соединены снова после разъединения.
11. Применение скважинной колонны в сборе по любому из пп.1-10 для выполнения операции в стволе скважины вне скважинной колонны.
РИСУНКИ
|
|