|
|
(21), (22) Заявка: 2007138718/03, 19.10.2007
(24) Дата начала отсчета срока действия патента:
19.10.2007
(46) Опубликовано: 10.10.2008
(56) Список документов, цитированных в отчете о поиске:
RU 2262586 С1, 05.06.2003. RU 59138 U1, 10.12.2006. RU 2070333 С1, 10.12.1996. RU 40647 U1, 20.09.2004. RU 2253009 C1, 27.05.2005. RU 2136856 C1, 10.09.1999. RU 2205427 C2, 27.05.2003. RU 2216632 C2, 20.11.2003. US 5634522 A, 03.06.1997.
Адрес для переписки:
423450, Республика Татарстан, г. Альметьевск, ул. Фахретдина, 60, НГДУ “Ямашнефть”, нач. тех. отдела
|
(72) Автор(ы):
Ибрагимов Наиль Габдулбариевич (RU), Халимов Рустам Хамисович (RU), Кормишин Евгений Григорьевич (RU), Салахиев Ахматзуфар Файделхакович (RU), Вахитов Ильшат Дамирович (RU), Желонкин Александр Леонидович (RU), Бирюков Дмитрий Юрьевич (RU)
(73) Патентообладатель(и):
Открытое акционерное общество “Татнефть” им. В.Д. Шашина (RU)
|
(54) УСТРОЙСТВО СКВАЖИНЫ ДЛЯ ОДНОВРЕМЕННО-РАЗДЕЛЬНОЙ ЭКСПЛУАТАЦИИ ДВУХ ПЛАСТОВ
(57) Реферат:
Изобретение относится к нефтедобывающей промышленности и может быть использовано при эксплуатации скважины, оборудованной для одновременно-раздельной эксплуатации двух пластов. Обеспечивает повышение достоверности и оперативности определения показателей нижнего пласта при одновременно-раздельной эксплуатации пластов в скважине. Сущность изобретения: устройство включает колонну труб, насос, пакер и глубинный прибор. Согласно изобретению устройство дополнительно содержит патрубок, сообщенный с колонной труб, который выполнен с боковым отверстием, расположенным над пакером и под насосом. В боковом отверстии патрубка герметично размещена трубка с одним концом внутри патрубка и с другим концом – снаружи патрубка. Концы трубки выполнены с резьбой под кабельные наконечники. На концы трубки навернуты кабельные наконечники НК-28. Геофизический кабель закреплен на внешней поверхности колонны труб. Сверху геофизический кабель соединен со вторичным прибором, снизу – с кабельным наконечником НК-28 на трубке снаружи патрубка. Герметичные кабельные наконечники НК-28 внутри трубки соединены отрезком геофизического кабеля. Кабельный наконечник НК-28 на трубке внутри патрубка соединен с отрезком геофизического кабеля, который снизу соединен с глубинным прибором, расположенным в потоке жидкости из нижнего пласта. 1 ил.
Изобретение относится к нефтедобывающей промышленности и может быть использовано при эксплуатации скважины, оборудованной для одновременно-раздельной эксплуатации двух пластов.
Известна пакерная разъединяющая установка для эксплуатации одного или нескольких пластов скважины, включающая спущенную в ствол скважины колонну труб, оснащенную, по меньшей мере, одним пакером для разобщения одного или нескольких пластов от полости труб и ствола скважин, и/или скважинной камерой со съемными клапанами для потока добываемой или закачиваемой среды, и/или ниппелем, и/или насосом, и/или фильтром, и/или хвостовиком. В ниппеле и/или в скважинных камерах съемные клапаны выполнены в виде обратного или приемного клапана и/или глубинного прибора для измерения физических параметров потока среды (Номер публикации 2004101186, опубл. 2005.06.20).
Размещение глубинного прибора в скважинных камерах и/или посадочных ниппелях не приводит к получению достоверной информации о нижнем пласте.
Наиболее близкой к изобретению по технической сущности является скважинная установка для одновременно-раздельной и поочередной эксплуатации нескольких пластов одной скважиной, включающая спущенные и установленные в скважину одну или несколько колонн труб. По крайней мере, одна колонна труб оснащена, по меньшей мере, двумя устройствами – пакером и разъединителем. Установка имеет возможность после спуска в скважину и герметичной посадки в колонне труб, по меньшей мере, одного пакера, разъединения от пакера и извлечения из скважины, затем спуска и установки в скважину колонны труб большего, или меньшего, или равного диаметра, без или с одним, или с несколькими из устройств – пакером, разъединителем, состоящим из съемной и несъемной двух частей, одной или несколькими скважинными камерами со съемными клапанами, телескопическим соединением и насосом. При этом колонна труб спущена или непосредственно в скважину, или же в колонну труб большего диаметра и не соединена или соединена герметично, но не жестко, через разъединитель, с соответствующим посаженным пакером. Причем башмак колонны труб ниже пакера, установленного над или под нижним пластом, гидравлически разобщен или соединен с забоем скважины. В скважинных камерах и/или посадочных ниппелях над и/или под пакером установлены съемные клапаны в виде съемного газлифтного пускового и/или рабочего клапана для нагнетания рабочего агента или перепуска флюида через них при освоении и эксплуатации скважины, и/или в виде глубинного прибора для измерения параметров пласта (Патент РФ №2262586, опубл. 2005.10.20 – прототип).
Применение автономного глубинного прибора лишает возможности оперативного вмешательства в эксплуатацию нижнего пласта, а применение дистанционного прибора невозможно из-за нерешенности задачи подводки кабеля и герметизации кабельного ввода в скважинную камеру или ниппель. Кроме того, прибор, размещенный в скважинных камерах и/или посадочных ниппелях, не способен с достаточной достоверностью определять показатели нижнего пласта.
В изобретении решается задача повышения достоверности и оперативности определения показателей нижнего пласта при одновременно-раздельной эксплуатации пластов в скважине.
Задача решается тем, что устройство скважины для одновременно-раздельной эксплуатации двух пластов, включающее колонну труб, насос, пакер и глубинный прибор, согласно изобретению, дополнительно содержит патрубок, сообщающийся с колонной труб, патрубок выполнен с боковым отверстием, расположенным над пакером и под насосом, в боковом отверстии патрубка герметично размещена трубка с одним концом внутри патрубка и с другим концом снаружи патрубка, концы трубки выполнены с резьбой под кабельные наконечники, на концы трубки навернуты кабельные наконечники, геофизический кабель закреплен на внешней поверхности колонны труб, сверху геофизический кабель соединен со вторичным прибором, снизу – с кабельным наконечником на трубке снаружи патрубка, герметичные кабельные наконечники внутри трубки соединены отрезком геофизического кабеля, кабельный наконечник на трубке внутри патрубка соединен с отрезком геофизического кабеля, который снизу соединен с глубинным прибором, расположенным в потоке жидкости из нижнего пласта.
Сущность изобретения
Основными параметрами, необходимыми для регулирования работы скважин, оборудованных установками для одновременно раздельной эксплуатации, являются дебит, обводненность продукции, забойное и пластовое давление для каждого из эксплуатируемых пластов. В однолифтовой установке прямым замером измеряются параметры нижнего пласта лишь автономными приборами, что лишает эксплуатирующих скважину оперативного контроля и принятия решений в зависимости от изменяющейся ситуации.
В изобретении решается задача повышения достоверности и оперативности определения показателей нижнего пласта при одновременно-раздельной эксплуатации пластов в скважине. Задача решается устройством, представленным на чертеже.
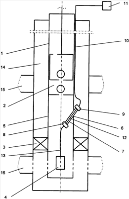
На чертеже представлено устройство скважины для одновременно-раздельной эксплуатации двух пластов.
Устройство скважины для одновременно-раздельной эксплуатации двух пластов включает колонну труб 1, насос 2, пакер 3, глубинный прибор 4, патрубок 5, сообщающийся с насосом 2 и колонной труб 1. Патрубок 5 выполнен с боковым отверстием 6, расположенным над пакером 3 и под насосом 2. В боковом отверстии 6 патрубка 5 герметично размещена трубка 7 с одним концом внутри патрубка 5 и с другим концом снаружи патрубка 5. Концы трубки 7 выполнены с резьбой (не показана). На концы трубки 7 навернуты кабельные наконечники НК-28 8 и 9. Геофизический кабель 10 закреплен на внешней поверхности колонны труб 1. Сверху геофизический кабель 10 соединен со вторичным прибором 11, снизу – с кабельным наконечником НК-28 9 на трубке 7 снаружи патрубка 5. Кабельные наконечники 8 и 9 внутри трубки 7 соединены отрезком геофизического кабеля 12. Кабельный наконечник 8 на трубке 7 внутри патрубка 5 соединен с отрезком геофизического кабеля 13, который снизу соединен с глубинным прибором 4. Устройство размещено в скважине 14, вскрывшей верхний пласт 15 и нижний пласт 16.
Устройство собирают следующим образом.
Глубинный прибор 4 соединяют с отрезком геофизического кабеля 13. Геофизический кабель 13 соединяют с кабельным наконечником 8, к которому присоединяют отрезок геофизического кабеля 12. Кабельный наконечник 8 наворачивают по резьбе на трубку 7 с размещением отрезка геофизического кабеля 12 внутри трубки 7. К отрезку геофизического кабеля 12 присоединяют кабельный наконечник 9 и наворачивают последний на трубку 7. Соединяют кабельный наконечник 9 и геофизический кабель 10. На патрубок 5 ниже бокового отверстия 6 устанавливают пакер 3. Соединяют патрубок 5 с насосом 2 и с трубой 1, прикрепляют геофизический кабель 10 к наружной поверхности трубы 1. Собранную компоновку спускают в скважину 14. Наращивают колонну труб 1 и закрепляют геофизический кабель 10 на наружной поверхности каждой трубы 1. На заданной глубине устанавливают насос 2, имеющий возможность отбирать жидкость через колонну труб 1. Опускают в колонну труб 1 плунжер насоса 2 и колонну штанг (не обозначена).
Устройство работает следующим образом.
При незапакерованном пакере 3 насосом 2 отбирают жидкость из верхнего 15 и нижнего пласта 16. Постоянно или периодически замеряют глубинным прибором 4 суммарные параметры нижнего 16 и верхнего пласта 15. Информация по геофизическому кабелю 13, через кабельный наконечник 8, отрезок геофизического кабеля 12, кабельный наконечник 9 и геофизический кабель 10 поступает на вторичный прибор 11, размещенный на дневной поверхности. Информацию считывают и анализируют. Параметры верхнего пласта 15 замеряют прочими приборами, например спущенными по межтрубному пространству и размещенными напротив верхнего пласта 15. По разнице показаний приборов определяют параметры верхнего пласта 15.
При запакерованном пакере 3 считывают информацию только нижнего пласта 16. При изменении параметров нижнего пласта 16 или верхнего пласта 15 оперативно вносят изменения в работу скважины 14, например ограничивают или интенсифицируют дебит из нижнего пласта 16.
В качестве кабельного наконечника используют кабельный наконечник типа НК-28 (ТУ 41-03-730-82, № регистрации 2302120 ОКБ геофизического приборостроения. Киев. 1982).
Для герметизации трубки 7 в боковом отверстии 6 патрубка 5 может быть использована сварка, применены клеи, герметики.
Применение герметичного соединения трубки в отверстии патрубка, кабельных наконечников НК-28, геофизического кабеля, размещение глубинного прибора в потоке жидкости из нижнего пласта приводит к повышению достоверности и оперативности определения показателей нижнего пласта при одновременно-раздельной эксплуатации пластов в скважине.
Формула изобретения
Устройство скважины для одновременно-раздельной эксплуатации двух пластов, включающее колонну труб, насос, пакер и глубинный прибор, отличающееся тем, что оно дополнительно содержит патрубок, сообщенный с колонной труб, который выполнен с боковым отверстием, расположенным над пакером и под насосом, в боковом отверстии патрубка герметично размещена трубка с одним концом внутри патрубка и с другим концом снаружи патрубка, концы трубки выполнены с резьбой под кабельные наконечники, на концы трубки навернуты кабельные наконечники НК-28, геофизический кабель закреплен на внешней поверхности колонны труб, сверху геофизический кабель соединен со вторичным прибором, снизу – с кабельным наконечником НК-28 на трубке снаружи патрубка, герметичные кабельные наконечники НК-28 внутри трубки соединены отрезком геофизического кабеля, кабельный наконечник НК-28 на трубке внутри патрубка соединен с отрезком геофизического кабеля, который снизу соединен с глубинным прибором, расположенным в потоке жидкости из нижнего пласта.
РИСУНКИ
|
|