|
|
(21), (22) Заявка: 2007102163/03, 22.01.2007
(24) Дата начала отсчета срока действия патента:
22.01.2007
(46) Опубликовано: 10.10.2008
(56) Список документов, цитированных в отчете о поиске:
ЕР 1043472 А, 11.10.2000. RU 2216631 C1, 20.11.2003. ЕР 0377179 А, 11.07.1990. GB 2144472 A, 06.03.1985.
Адрес для переписки:
141371, Московская обл., г. Хотьково, ул. Акад. Королева, 2, кв.56, В.И. Сисаури
|
(72) Автор(ы):
Суханов Александр Викторович (RU), Асеев Алексей Вадимович (RU), Сисаури Виталий Ираклиевич (RU), Скобарев Александр Артемович (RU), Марценюк Александр Степанович (RU), Миков Виктор Леонидович (RU), Куренкова Александра Юрьевна (RU)
(73) Патентообладатель(и):
Общество с ограниченной ответственностью “Компания “Армопроект” (ООО “Компания “Армопроект”) (RU), Общество с ограниченной ответственностью “БФК-Енисей” (ООО “БФК-Енисей”) (RU), Открытое акционерное общество “Красноярский ПромстройНИИпроект” (ОАО “Красноярский ПромстройНИИпроект”) (RU)
|
(54) ОКОННАЯ, ДВЕРНАЯ ИЛИ ПОДОБНАЯ ОГРАЖДАЮЩАЯ РАМНАЯ КОНСТРУКЦИЯ
(57) Реферат:
Изобретение относится к области строительства, в частности к оконной, дверной или подобной ограждающей рамной конструкции. Технический результат заключается в повышении эксплуатационной надежности. Оконная, дверная или подобная ограждающая рамная конструкция включает, по меньшей мере, один многокамерный пластмассовый, преимущественно поливинилхлоридный, элемент. Конструкция включает, по меньшей мере, один усилитель, размещенный в одной из камер элемента. Усилитель выполнен из композиционного материала на основе искусственного армирующего волокна и полимерного связующего в виде пултрузионного профиля. Профиль состоит из, по меньшей мере, одной несущей части, имеющей, при необходимости, высокопрочную вставку, и, по меньшей мере, одной установочной части с, при необходимости, по меньшей мере, одним выступом и поверхностным слоем из системы переплетающихся и/или пересекающихся нитей. Форма пултрузионного профиля ограничена, по меньшей мере, одной, замкнутой в поперечном направлении, формообразующей поверхностью с получением профиля с открытым, закрытым или комбинированным из указанных двух поперечным сечением. Структура композиционного материала профиля выполнена на основе армирующего волокна диаметром от 5 до 30 мкм при его объемном содержании в композиционном материале от 50 до 92%. При этом структура выбрана с учетом обеспечения отношения жесткости и прочности всех несущих частей профиля к аналогичным параметрам всех его установочных частей, составляющего от 1:1 до 30:1. Также структура выбрана с учетом обеспечения отношения модулей упругости в продольном направлении материала пластмассового элемента и композиционного материала профиля, составляющего от 1:50 до 1:3. Структура выбрана и с учетом обеспечения отношения коэффициентов теплопроводности упомянутых материалов друг к другу, составляющего от 1:0,5 до 1:10. По меньшей мере, одна несущая часть профиля снабжена, по меньшей мере, одним выступом и поверхностным слоем из системы переплетающихся и/или пересекающихся нитей. Длина поверхностного слоя в поперечном направлении, по меньшей мере, одной установочной и/или, по меньшей мере, одной несущей частей профиля составляет от 0,1 до 3,0 длины периметра профиля. 38 з.п. ф-лы, 2 ил.
Изобретение относится к строительству и может быть использовано в ограждающих рамных конструкциях (ОРК) окон, дверей, теплиц, оранжерей, витрин, зимних садов, разделительных перегородок и т.п., выполненных из полых пластмассовых элементов с усилителями из композиционных материалов.
Вышеупомянутые ОРК должны соответствовать сочетанию различных эксплуатационных требований: тепловых, силовых, надежности, длительности срока эксплуатации и т.п. Этим требованиям должны удовлетворять конструкции и материалы как пластмассовых элементов, так и усилителей. От согласованности конструктивных особенностей, параметров и характеристик того и другого зависит эффективность совместной работы элемента и усилителя в ОРК.
Усилители являются силовым каркасом ОРК. По сравнению с металлическими усилителями конструкции усилителей из композиционных материалов являются наиболее выигрышными. Они обеспечивают достижение необходимых характеристик как в целом по конструкции, так и в отдельных ее частях благодаря одновременности создания конструкции и материала. Использование усилителей из композиционного материала способствует повышению тепловой защиты помещений, что особенно важно для регионов с продолжительными периодами низких температур.
Известна оконная ОРК, включающая многокамерный, пластмассовый, преимущественно поливинилхлоридный, элемент и усилитель, размещенный в одной из камер указанного элемента, выполненный из стеклопластика (композиционного материала на основе искусственного армирующего волокна и полимерного связующего) в виде пултрузионного профиля, состоящего из несущей части, имеющей, при необходимости, высокопрочную (металлическую) вставку, и установочной части с, по меньшей мере, одним выступом и поверхностным слоем из системы переплетающихся и/или пересекающихся нитей (в известной ОРК из ткани) (ЕР 1043472 В1, фиг.1, МПК7 Е06В 3/22, опубл. 13.10.2004).
В известной ОРК физико-механические характеристики усилителя не согласованы с соответствующими характеристиками пластмассового элемента, конструкция самого усилителя создана без учета соотношения между жесткостью и прочностью несущей части и жесткостью и прочностью установочной части, форма усилителя ограничена одним вариантом, структура его композиционного материала не уточнена. Все это говорит о недостаточной эксплуатационной надежности оконной ОРК, собранной из деталей с такими недостатками.
ОРК по патенту ЕР 1043472, фиг.1 является наиболее близкой по технической сущности к заявляемой и выбрана в качестве ближайшего аналога (прототипа).
Технической задачей, на решение которой направлено создание изобретения, является разработка оконной, дверной или другой подобной ОРК, выдерживающей длительную эксплуатацию с сохранением конструкционной целостности и товарного вида.
Технический результат, который может быть получен при использовании изобретения, заключается в повышении эксплуатационной надежности ОРК.
Для решения поставленной задачи и достижения технического результата в оконной, дверной или подобной ОРК, включающей, по меньшей мере, один многокамерный пластмассовый, преимущественно поливинилхлоридный, элемент и, по меньшей мере, один усилитель, размещенный в одной из его камер, выполненный из композиционного материала на основе искусственного армирующего волокна и полимерного связующего в виде пултрузионного профиля, состоящего из, по меньшей мере, одной несущей части, имеющей, при необходимости, высокопрочную вставку, и, по меньшей мере, одной установочной части с, при необходимости, по меньшей мере, одним выступом и поверхностным слоем из системы переплетающихся и/или пересекающихся нитей, согласно изобретению форма пултрузионного профиля усилителя ограничена, по меньшей мере, одной, замкнутой в поперечном направлении, формообразующей поверхностью с получением профиля с открытым, закрытым или комбинированным из указанных двух поперечным сечением, структура композиционного материала упомянутого профиля, выполненная на основе армирующего волокна диаметром от 5 до 30 мкм при его объемном содержании в композиционном материале от 50 до 92%, выбрана с учетом обеспечения отношения жесткости и прочности всех несущих частей профиля к аналогичным параметрам всех его установочных частей, составляющего от 1:1 до 30:1, с учетом обеспечения отношения модулей упругости в продольном направлении материала пластмассового элемента и упомянутого композиционного материала профиля, составляющего от 1:50 до 1:3, и с учетом обеспечения отношения коэффициентов теплопроводности упомянутых материалов друг к другу, составляющего от 1:0,5 до 1:10, по меньшей мере, одним выступом и поверхностным слоем из системы переплетающихся и/или пересекающихся нитей снабжена, при необходимости, и, по меньшей мере, одна несущая часть вышеуказанного профиля, причем длина поверхностного слоя в поперечном направлении, по меньшей мере, одной установочной и/или, по меньшей мере, одной несущей частей профиля составляет от 0,1 до 3,0 длины периметра указанного профиля, при этом в частных случаях выполнения изобретения в качестве искусственного волокна композиционного материала профиля усилителя использовано стеклянное, базальтовое, углеродное или полимерное волокно или их комбинация, а в качестве полимерного связующего использовано связующее на основе полимерных смол, преимущественно эпоксидной, полиэфирной, винилэфирной, фенольной, полиуретановой или их комбинации; в несущей и установочной частях профиля усилителя использованы одинаковые или различные схемы армирования из одинаковых или различных по диаметру и прочности искусственных волокон; профиль усилителя выполнен из композиционного материала на основе продольно ориентированных и перекрещивающихся и/или переплетающихся искусственных армирующих волокон, чередующихся по его толщине; отношение диаметра переплетающихся и пересекающихся волокон к диаметру продольно ориентированных волокон составляет от 0,1:1 до 2:1; в качестве продольно ориентированных волокон использована комбинация из стеклянных и/или базальтовых и угольных волокон в виде жгутов или ровингов при объемной доле угольных волокон до 30%; поперечное сечение профиля усилителя выполнено прямоугольным, треугольным, трапецеидальным, кольцевым, в виде сектора кольца или их комбинации; поперечное сечение профиля усилителя выбрано из форм, представленных на фиг.2; несущие части профиля усилителя расположены на его противоположных сторонах; несущие части упомянутого профиля расположены рядом и соединены узлом соединения; толщина узла соединения двух несущих частей меньше толщины несущей части; узел соединения выполнен скругленным с разными радиусами на внешней и внутренней его сторонах; несущие и/или установочные части профиля усилителя выполнены с плавными переходами друг в друга; поверхность профиля усилителя выполнена с распределенными по ней выемками или несквозными пазами; стенки профиля усилителя выполнены с отверстиями и/или сквозными пазами; высокопрочная вставка несущей части профиля усилителя выполнена из металлической ленты, набора проволоки и/или струн или их комбинации; высокопрочная вставка выполнена в виде набора базальтовых, и/или углеродных, и/или полимерных волокон; в полости профиля усилителя установлен ответный ей жесткий вкладыш из прессованного стеклопластика, дерева, вспененного заполнителя типа пенополиуретана, пенополистирола, пенополиэтилена или из пропитанной связующим минеральной базальтовой или стеклянной ваты; выступы на несущей и/или установочной части профиля усилителя выполнены одинакового или различного сечения; ширина у основания, по меньшей мере, одного выступа, выполненного на несущей или установочной части профиля усилителя, лежит в пределах от 0,05 до 1,0 ширины этой части; отношение высоты выступа к толщине стенки соответствующей части профиля составляет от 0,2 до 4,0; на наружной стороне, по меньшей мере, одной (любой) части профиля выполнен, по меньшей мере, один продольный выступ; выступы дополнительно армированы угольными или базальтовыми волокнами или стальной проволокой; в качестве системы из переплетающихся и/или пересекающихся волокон поверхностного слоя профиля усилителя использован мат, лента, текстильная плетеная, нитепрошивная или мультиаксиальная ткань или семейство отдельных волокон, пропитанные связующим композиционного материала; поверхностный слой выполнен из отдельных лент, расположенных в поперечном направлении с зазором, или с нахлестом, или встык по боковым кромкам; две или более ленты расположены с зазором, разнесенным по периметру профиля; поверхностный слой выполнен из мультиаксиальной ткани, выполненной из двух, трех или более семейств волокон, расположенных под углами [0°/90°], или [±45°], или [0°/±45°], или [0°/±45°/90°] к оси профиля; поверхностный слой выполнен из семейств волокон, расположенных под углом, выбранным из диапазона 30°-90°, друг к другу; поверхностный слой выполнен из семейств волокон в виде нитей, и/или жгутов, и/или ровингов; поверхностный слой выполнен из семейств волнообразных волокон; поверхностный слой выполнен в поперечном направлении сплошным или дискретным, одно- или многослойным; полимерное связующее содержит до 40% (объемн.) наполнителя, в качестве которого использованы мел, доломит, микрокальцит, тальк, каолин или их комбинация; полимерное связующее содержит до 40% (объемн.) антипиреновых добавок; профиль усилителя имеет наружное и/или внутреннее защитное покрытие; профиль, по меньшей мере, одного усилителя выполнен с отличной от остальных геометрией, и/или жесткостью, и/или армирующим материалом, и/или полимерным связующим; профили двух или более усилителей одного блока выполнены на основе различных волокон и/или различных связующих; между пластмассовым элементом и, по меньшей мере, одной частью профиля усилителя размещен слой клея, герметика или заполнителя, преимущественно пенополиуретана или пенополистирола; профиль усилителя выполнен с отверстиями и/или сквозными пазами или их комбинацией; толщина стенки профиля усилителя по периметру постоянна, дискретно переменна, линейно переменна или выполнена комбинированной из указанного.
Отличительными от прототипа признаками заявленной оконной, дверной или подобной ОРК являются следующие:
а) признаки, обеспечивающие получение технического результата во всех случаях, на которые распространяется испрашиваемый объем правовой охраны:
– ограничение формы пултрузионного профиля усилителя, по меньшей мере, одной, замкнутой в поперечном направлении, формообразующей поверхностью с получением профиля с открытым, закрытым или комбинированным из указанных двух поперечным сечением,
– выбор структуры композиционного материала пултрузионного профиля усилителя с учетом обеспечения отношения жесткости и прочности всех несущих частей профиля к аналогичным параметрам всех его установочных частей, составляющего от 1:1 до 30:1,
– выбор структуры композиционного материала пултрузионного профиля с учетом обеспечения отношения модулей упругости в продольном направлении материала пластмассового элемента и упомянутого композиционного материала, составляющего от 1:50 до 1:3,
– выбор структуры композиционного материала упомянутого профиля с учетом обеспечения отношения коэффициентов теплопроводности материала пластмассового элемента и вышеуказанного композиционного материала, составляющего от 1:0,5 до 1:10,
– выполнение структуры композиционного материала пултрузионного профиля усилителя на основе армирующего волокна диаметром от 5 до 30 мкм при его объемном содержании в композиционном материале от 50 до 92%,
– снабжение по меньшей мере, одним выступом и поверхностным слоем из системы переплетающихся и/или пересекающихся нитей, при необходимости, кроме, по меньшей мере, одной установочной части и, по меньшей мере, одной несущей части вышеуказанного профиля усилителя,
– длина поверхностного слоя в поперечном направлении, по меньшей мере, одной установочной и/или, по меньшей мере, одной несущей части профиля, составляющая от 0,1 до 3,0 длины периметра указанного профиля,
б) признаки, характеризующие изобретение в частных случаях:
– использование в качестве искусственного волокна композиционного материала профиля усилителя стеклянного, базальтового, углеродного или полимерного волокна или их комбинации, а в качестве полимерного связующего – связующего на основе полимерных смол, преимущественно эпоксидной, полиэфирной, винилэфирной, фенольной, полиуретановой или их комбинации,
– использование в несущей и установочной части профиля усилителя одинаковых или различных схем армирования из одинаковых или различных по диаметру и прочности искусственных волокон,
– выполнение профиля усилителя из композиционного материала на основе продольно ориентированных и перекрещивающихся и/или переплетающихся искусственных армирующих волокон, чередующихся по толщине его профиля,
– отношение диаметра переплетающихся и пересекающихся волокон к диаметру продольно ориентированных волокон, составляющее от 0,1:1 до 2:1,
– использование в качестве продольно ориентированных волокон комбинации из стеклянных и угольных волокон в виде жгутов или ровингов при объемной доле угольных волокон до 30%,
– выполнение поперечного сечения профиля усилителя прямоугольным, треугольным, трапецеидальным, кольцевым, в виде сектора кольца или их комбинации,
– выбор поперечного сечения профиля усилителя из форм, представленных на фиг.2,
– расположение несущих частей профиля усилителя на его противоположных сторонах,
– расположение несущих частей упомянутого профиля рядом и соединение их узлом соединения,
– толщина узла соединения двух несущих частей, которая меньше толщины несущей части,
– выполнение узла соединения скругленным с разными радиусами на внешней и внутренней его сторонах,
– выполнение несущих и/или установочных частей профиля усилителя с плавными переходами друг в друга,
– выполнение поверхности профиля усилителя с распределенными по ней выемками или несквозными пазами,
– выполнение стенок профиля усилителя с отверстиями и или сквозными пазами,
– выполнение высокопрочной вставки несущей части профиля усилителя из металлической ленты, набора проволоки и/или струн или их комбинации,
– выполнение высокопрочной вставки в виде набора базальтовых и/или углеродных и/или полимерных волокон,
– установка в полости профиля усилителя ответного ей жесткого вкладыша из прессованного стеклопластика, дерева, вспененного заполнителя типа пенополиуретана, пенополистирола, пенополиэтилена или минеральной базальтовой или стеклянной ваты,
– выполнение выступов одинакового или различного сечения на несущей и/или установочной части профиля усилителя,
– ширина у основания, по меньшей мере, одного выступа, выполненного на несущей или установочной части профиля усилителя, лежащая в пределах от 0,05 до 1,0 ширины этой части,
– отношение высоты выступа к толщине стенки соответствующей части профиля усилителя, составляющее от 0,2 до 4,0,
– выполнение на наружной стороне, по меньшей мере, одной (любой) части профиля усилителя, по меньшей мере, одного продольного выступа,
– дополнительное армирование выступов угольными или базальтовыми волокнами или стальной проволокой,
– использование в качестве системы из переплетающихся и/или пересекающихся волокон поверхностного слоя профиля усилителя мата, ленты, текстильной плетеной, нитепрошивной или мультиаксиальной ткани или семейств отдельных волокон, пропитанных связующим композиционного материала,
– выполнение поверхностного слоя из отдельных лент, расположенных в поперечном направлении с зазором, или с нахлестом, или встык по боковым кромкам,
– расположение двух или более лент с зазором, разнесенным по периметру профиля усилителя,
– выполнение поверхностного слоя из мультиаксиальной ткани, выполненной из двух, трех или более семейств волокон, расположенных под углами [0°/90°], или [±45°], или [0°/±45°], или [0°/±45°/90°] к оси профиля усилителя,
– выполнение поверхностного слоя из семейств волокон, расположенных под углом, выбранным из диапазона 30°-90°, друг к другу,
– выполнение поверхностного слоя из семейств волокон в виде нитей, и/или жгутов, и/или ровингов,
– выполнение поверхностного слоя из семейств волнообразных волокон,
– выполнение поверхностного слоя в поперечном направлении сплошным или дискретным, одно- или многослойным,
– содержание в полимерном связующем до 40% (объемн.) наполнителя, в качестве которого использованы мел, доломит, микрокальцит, тальк, каолин или их комбинация,
– содержание в полимерном связующем до 40% (объемн.) антипиреновых добавок,
– наличие у профиля усилителя наружного и/или внутреннего защитного покрытия,
– выполнение профиля, по меньшей мере, одного усилителя с отличной от остальных геометрией, и/или жесткостью, и/или армирующим материалом, и/или полимерным связующим;
– выполнение профилей двух или более усилителей одной ОРК на основе различных волокон и/или различных связующих;
– размещение между пластмассовым элементом и, по меньшей мере, одной частью профиля усилителя слоя клея, герметика или заполнителя, преимущественно пенополиуретана или пенополистирола;
– выполнение профиля усилителя с отверстиями и/или сквозными пазами или их комбинацией;
– выполнение толщины стенки профиля усилителя по периметру постоянной, дискретно переменной, линейно переменной или комбинированной из указанного.
Указанные отличительные признаки, каждый в отдельности и все вместе, направлены на достижение заявленного результата и являются существенными. В предшествующем уровне техники представленная в формуле изобретения совокупность известных и отличительных признаков не известна и, следовательно, изобретение соответствует критерию «новизна».
Заявленная конструкция обладает рядом преимуществ перед конструкцией по прототипу:
– возможностью выбора материалов пластмассового элемента и усилителя, согласованных по их модулям упругости и коэффициентам теплопроводности,
– вариативностью формы профиля усилителя,
– устойчивым соотношением между жесткостью и прочностью несущей части профиля усилителя и жесткостью и прочностью его установочной части,
– возможностью выбора структуры композиционного материала, обеспечивающей выбранное вышеупомянутое соотношение,
– возможностью использовать, кроме стеклянного, другие виды искусственных волокон,
– диапазоном диаметров используемых волокон и их определенным содержанием в композиционном материале,
– возможностью, при необходимости, выбора материала поверхностного слоя при дополнительном армировании профиля из числа многочисленных систем переплетающихся и/или пересекающихся нитей,
– возможностью выбора длины поверхностного слоя.
Обнаруженное соотношение модулей упругости материала пластмассового элемента и композиционного материала профиля усилителя, составляющее от 1:50 до 3:10, обеспечивает совместную работу элемента и усилителя в ОРК, а соотношение коэффициентов теплопроводности позволяет выбрать для конкретного климата сочетание материалов элемента и усилителя, позволяющее максимально снизить интенсивность тепловых процессов и практически исключить образование конденсата.
Форма усилителя может быть ограничена одной формообразующей поверхностью с получением профиля с открытым поперечным сечением, двумя формообразующими поверхностями с получением полого профиля с замкнутым поперечным сечением, тремя и более упомянутыми поверхностями с получением профиля, состоящего из комбинации первых двух форм, взятых в необходимом количестве.
Поперечное сечение профиля усилителя может быть выполнено прямоугольным, треугольным, трапецеидальным, кольцевым, в виде сектора кольца, комбинированным из перечисленного или выбрано из сечений, которые в составе ОРК представлены на фиг.2.
Экспериментально найденное отношение жесткости и прочности несущей части профиля усилителя к жесткости и прочности его установочной части, составляющее от 1:1 до 30:1, достигается соответствующим выбором структуры композиционного материала, включая все ее составляющие: вид и диаметр армирующего волокна, тип полимерного связующего и, при необходимости, тип наполнителя связующего, объемное содержание волокна и связующего, основную схему армирования и, при необходимости, дополнительное армирование в виде поверхностного слоя из системы переплетающихся и/или пересекающихся нитей (лент, тканей, матов).
Приведенный интервал отношений (от 1:1 до 30:1) означает, что при более легких условиях эксплуатации ОРК (окна и двери домов, выходящие на застекленную лоджию, внутренние окна и перегородки магазинов, рамные конструкции теплиц и оранжерей и т.д.) жесткость и прочность несущей части профиля усилителя может совпадать с жесткостью и прочностью его установочной части, а при более тяжелых условиях (наружные окна и двери промышленных зданий, супермаркетов, гаражей и т.д.) жесткость и прочность несущей части может до 30 раз превышать жесткость и прочность установочной части профиля.
Экспериментальным путем был выведен интервал значений для диаметров армирующего волокна от 5 до 30 мкм и его объемного содержания в композиционном материале профиля усилителя: от 50 до 92%. Приведенный интервал диаметров означает, что волокно диаметром менее 5 мкм и более 30 мкм не пригодно для пултрузионной переработки, а интервал объемного содержания волокна означает, что при содержании волокна ниже 50% и выше 92% материал профиля усилителя будет непрочным (в первом случае из-за недостатка волокна, во втором – из-за недостатка связующего) и усилитель может разрушиться даже при транспортировочных нагрузках.
Усилитель заявленной ОРК изготавливают из композиционного материала на основе искусственного армирующего волокна, такого как стеклянное, базальтовое, углеродное или полимерное волокно или их комбинация, и на основе полимерного связующего, такого как связующее на основе полимерных смол, преимущественно эпоксидной, полиэфирной, винилэфирной, полиуретановой или их комбинации.
Таким образом, усилитель может быть выполнен из композиционного материала на основе одинаковых или различных искусственных волокон и одного или нескольких полимерных связующих, при этом связующее может содержать минеральные добавки.
Несущая и/или установочная часть усилителя дополнительно могут быть армированы поверхностным слоем (наружным для профиля с открытым поперечным сечением, наружным и/или внутренним для профиля с закрытым поперечным сечением) из системы переплетающихся и/или пересекающихся нитей с охватом профиля на величину, составляющую от 0,1 до 3,0 длины его периметра. Это означает, что армирование может быть местным или полным, а система может состоять как из отдельных лент, кусков ткани или мата, так и из непрерывных ленты, ткани или мата.
Для фиксации усилителя в пластмассовом элементе оконной, дверной или подобной ОРК на несущей или установочной части или на обеих его частях снаружи в строго определенных местах выполняют необходимое число выступов, форма и размер которых рассчитаны заранее. Выступы обеспечивают ограниченный контакт между усилителем и пластмассовым элементом с образованием воздушной прослойки, снижают интенсивность тепловых потоков и способствуют сохранению тепла. В зависимости от конкретной конструкции камеры пластмассового элемента, имеющей собственные приливы, и от величины действующих механических усилий, выступы усилителя могут выступать как дополнительные контактные опоры, что способствует надежности сохранения исходного положения усилителя в процессе всего срока эксплуатации ОРК.
Для повышения прочности и жесткости несущей части профиля усилителя может быть использована вставка из металлической ленты, проволоки, струны или их комбинации, а также из набора базальтовых, и/или углеродных, и/или полимерных волокон.
С той же целью в полости (или в полостях) любой или обеих частей профиля может быть установлен вкладыш формой, ответной форме полости, выполненный из прессованного стеклопластика, дерева, заполнителя из вспененного материала типа пенополиуретана, пенополистирола, пенополиэтилена или из пропитанной связующим минеральной базальтовой или стеклянной ваты.
Все вышеописанное позволяет выбрать надежный и оптимальный вариант оконной, дверной или подобной ОРК для заданных условий эксплуатации.
Сущность изобретения поясняется описанием конкретного, но не ограничивающего его, примера реализации и прилагаемыми чертежами.
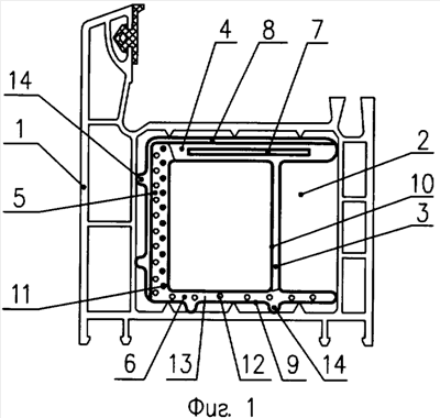
На фиг.1 показана оконная ОРК (частично), общий вид, на фиг.2 показаны варианты форм сечений ОРК.
Оконная ОРК включает выполненный из поливинилхлорида многокамерный элемент 1, в камере 2 которого расположен усилитель (фиг.1) (другие варианты ОРК представлены на фиг.2а÷г).
Усилитель выполнен в виде пултрузионного закрытого профиля 3 из полиэфирного углебазальтопластика. Профиль 3 имеет несущие части 4 и 5 и установочную часть 6. В несущей части 4 расположена вставка 7 из металлической ленты. Части 4 и 5 снаружи охвачены поверхностным слоем 8. Поверхностный слой 8 выполнен из отдельных стекловолокнистых лент, уложенных так, что общая длина лент в поперечном направлении равна одной длине периметра профиля 3. Форма профиля 3 усилителя ограничена двумя формообразующими поверхностями: наружной 9 и внутренней 10.
Несущие части 4 и 5 выполнены более жесткими и прочными, чем установочная часть 6 (соотношение жесткости и прочности частей 4 и 5 к тем же параметрам части 6 составляет 10:1).
Основу материала профиля 3 составляют прямолинейные равнодлинные угольные 11 и базальтовые 12 волокна диаметром 15 мкм, скрепленные полиэфирным связующим 13. Общее содержание волокна в материале составляет 75%, в том числе содержание угольного волокна – 15%, а базальтового – 60%. Угольное волокно в комбинации с базальтовым, взятым в количестве 15%, использовано для армирования только несущей части 5. Остальное базальтовое волокно использовано для армирования всех остальных частей профиля.
На частях 5 и 6 профиля 3 снаружи выполнено по два выступа 14 шириной 3 мм и высотой 2 мм. Упомянутые выступы 14 формируют на профиле 3 усилителя в процессе изготовления профиля 3 способом «пултрузии». На фиг.26 представлена ОРК с тремя несущими частями 4, 5 и 15.
Эффективную совместную работу поливинилхлоридного элемента 1 и усилителя обеспечивает согласованность их материалов по модулям упругости в продольном направлении, отношение которых составляет 1:40, а также по коэффициентам теплопроводности, отношение которых составляет 1:5.
Таким образом, новое техническое решение является высоконадежным по сравнению с известным уровнем техники.
Формула изобретения
1. Оконная, дверная или подобная ограждающая рамная конструкция, включающая, по меньшей мере, один многокамерный пластмассовый, преимущественно поливинилхлоридный элемент и, по меньшей мере, один усилитель, размещенный в одной из его камер, выполненный из композиционного материала на основе искусственного армирующего волокна и полимерного связующего в виде пултрузионного профиля, состоящего из, по меньшей мере, одной несущей части, имеющей, при необходимости, высокопрочную вставку, и, по меньшей мере, одной установочной части, с, при необходимости, по меньшей мере, одним выступом и поверхностным слоем из системы переплетающихся и/или пересекающихся нитей, отличающаяся тем, что форма пултрузионного профиля усилителя ограничена, по меньшей мере, одной, замкнутой в поперечном направлении, формообразующей поверхностью с получением профиля с открытым, закрытым или комбинированным из указанных двух поперечным сечением, структура композиционного материала упомянутого профиля, выполненная на основе армирующего волокна диаметром от 5 до 30 мкм при его объемном содержании в композиционном материале от 50 до 92%, выбрана с учетом обеспечения отношения жесткости и прочности всех несущих частей профиля к аналогичным параметрам всех его установочных частей, составляющего от 1:1 до 30:1, с учетом обеспечения отношения модулей упругости в продольном направлении материала пластмассового элемента и упомянутого композиционного материала профиля, составляющего от 1:50 до 1:3, и с учетом обеспечения отношения коэффициентов теплопроводности упомянутых материалов друг к другу, составляющего от 1:0,5 до 1:10, по меньшей мере, одним выступом и поверхностным слоем из системы переплетающихся и/или пересекающихся нитей снабжена, при необходимости, и, по меньшей мере, одна несущая часть вышеуказанного профиля, причем длина поверхностного слоя в поперечном направлении, по меньшей мере, одной установочной и/или, по меньшей мере, одной несущей частей профиля составляет от 0,1 до 3,0 длины периметра указанного профиля.
2. Конструкция по п.1, отличающаяся тем, что в качестве искусственного волокна композиционного материала профиля усилителя использовано стеклянное, базальтовое, углеродное или полимерное волокно или их комбинация, а в качестве полимерного связующего использовано связующее на основе полимерных смол, преимущественно эпоксидной, полиэфирной, винилэфирной, полиуретановой, фенольной или их комбинации.
3. Конструкция по п.1, отличающаяся тем, что в несущей и установочной частях профиля усилителя использованы одинаковые или различные схемы армирования из одинаковых или различных по диаметру и прочности искусственных волокон.
4. Конструкция по п.1, отличающаяся тем, что профиль усилителя выполнен из композиционного материала на основе продольно ориентированных и перекрещивающихся и/или переплетающихся искусственных армирующих волокон, чередующихся по его толщине.
5. Конструкция по п.4, отличающаяся тем, что отношение диаметра переплетающихся и пересекающихся волокон к диаметру продольно ориентированных волокон составляет от 0,1:1 до 2:1.
6. Конструкция по п.4, отличающаяся тем, что в качестве продольно ориентированных волокон использована комбинация из стеклянных и/или базальтовых и угольных волокон в виде жгутов или ровингов при объемной доле угольных волокон до 30%.
7. Конструкция по п.1, отличающаяся тем, что поперечное сечение профиля усилителя выполнено прямоугольным, треугольным, трапецеидальным, кольцевым, в виде сектора кольца или их комбинации.
8. Конструкция по п.1, отличающаяся тем, что поперечное сечение профиля усилителя выбрано из форм, представленных на фиг.2.
9. Конструкция по п.1, отличающаяся тем, что несущие части профиля усилителя расположены на его противоположных сторонах.
10. Конструкция по п.1, отличающаяся тем, что несущие части упомянутого профиля расположены рядом и соединены узлом соединения.
11. Конструкция по п.10, отличающаяся тем, что толщина узла соединения двух несущих частей меньше толщины несущей части.
12. Конструкция по п.10, отличающаяся тем, что узел соединения выполнен скругленным с разными радиусами на внешней и внутренней его сторонах.
13. Конструкция по п.1, отличающаяся тем, что несущие и/или установочные части профиля усилителя выполнены с плавными переходами друг в друга.
14. Конструкция по п.1, отличающаяся тем, что поверхность профиля усилителя выполнена с распределенными по ней выемками или несквозными пазами.
15. Конструкция по п.1, отличающаяся тем, что стенки профиля усилителя выполнены с отверстиями и/или сквозными пазами.
16. Конструкция по п.1, отличающаяся тем, что высокопрочная вставка несущей части профиля усилителя выполнена из металлической ленты, набора проволоки и/или струн или их комбинации.
17. Конструкция по п.1, отличающаяся тем, что высокопрочная вставка выполнена в виде набора базальтовых и/или углеродных, и/или полимерных волокон.
18. Конструкция по п.1, отличающаяся тем, что в полости профиля усилителя установлен ответный ей жесткий вкладыш из прессованного стеклопластика, дерева, вспененного заполнителя типа пенополиуретана, пенополистирола, пенополиэтилена или из пропитанной связующим минеральной базальтовой или стеклянной ваты.
19. Конструкция по п.1, отличающаяся тем, что выступы на несущей и/или установочной части профиля усилителя выполнены одинакового или различного сечения.
20. Конструкция по п.1, отличающаяся тем, что ширина у основания, по меньшей мере, одного выступа, выполненного на несущей или установочной части профиля усилителя, лежит в пределах от 0,05 до 1,0 ширины этой части.
21. Конструкция по п.1, отличающаяся тем, что отношение высоты выступа к толщине стенки соответствующей части профиля составляет от 0,2 до 4,0.
22. Конструкция по п.1, отличающаяся тем, что на наружной стороне, по меньшей мере, одной части профиля выполнен, по меньшей мере, один продольный выступ.
23. Конструкция по п.1, отличающаяся тем, что выступы дополнительно армированы угольными или базальтовыми волокнами или стальной проволокой.
24. Конструкция п.1, отличающаяся тем, что в качестве системы из переплетающихся и/или пересекающихся волокон поверхностного слоя профиля усилителя использованы мат, лента, текстильная плетеная, нитепрошивная или мультиаксиальная ткань, или семейство отдельных волокон, пропитанные связующим композиционного материала.
25. Конструкция по п.24, отличающаяся тем, что поверхностный слой выполнен из отдельных лент, расположенных в поперечном направлении с зазором или с нахлестом или встык по боковым кромкам.
26. Конструкция по п.24, отличающаяся тем, что две или более ленты расположены с зазором, разнесенным по периметру профиля.
27. Конструкция по п.24, отличающаяся тем, что поверхностный слой выполнен из мультиаксиальной ткани, выполненной из двух, трех или более семейств волокон, расположенных под углами 0° и 90°; или +45° и -45°; или 0°, +45° и -45°; или 0°, +45°, -45° и 90° к оси профиля.
28. Конструкция по п.24, отличающаяся тем, что поверхностный слой выполнен из семейств волокон, расположенных под углом, выбранным из диапазона 30-90°, друг к другу.
29. Конструкция по п.24, отличающаяся тем, что поверхностный слой выполнен из семейств волокон в виде нитей и/или жгутов, и/или ровингов.
30. Конструкция по п.24, отличающаяся тем, что поверхностный слой выполнен из семейств волнообразных волокон.
31. Конструкция по п.24, отличающаяся тем, что поверхностный слой в поперечном направлении выполнен сплошным или дискретным, одно- или многослойным.
32. Конструкция по п.1, отличающаяся тем, что полимерное связующее содержит до 40% наполнителя, в качестве которого использованы мел, доломит, микрокальцит, тальк, каолин или их комбинация.
33. Конструкция по п.1, отличающаяся тем, что полимерное связующее содержит до 40% антипиреновых добавок.
34. Конструкция по п.1, отличающаяся тем, что профиль усилителя имеет наружное и/или внутреннее защитное покрытие.
35. Конструкция по п.1, отличающаяся тем, что профиль, по меньшей мере, одного усилителя выполнен с отличной от остальных геометрией, и/или жесткостью, и/или армирующим материалом, и/или полимерным связующим.
36. Конструкция по п.1, отличающаяся тем, что профили двух или более усилителей выполнены на основе различных волокон и/или различных связующих.
37. Конструкция по п.1, отличающаяся тем, что между пластмассовым элементом и, по меньшей мере, одной частью профиля усилителя размещен слой клея, герметика или заполнителя, преимущественно пенополиуретана или пенополистирола.
38. Конструкция по п.1, отличающаяся тем, что профиль усилителя выполнен с отверстиями и/или сквозными пазами, или их комбинацией.
39. Конструкция по п.1, отличающаяся тем, что толщина стенки профиля усилителя по периметру постоянна, дискретно переменна, линейно переменна или выполнена комбинированной из указанного.
РИСУНКИ
|
|