|
|
(21), (22) Заявка: 2006107136/12, 10.03.2006
(24) Дата начала отсчета срока действия патента:
10.03.2006
(43) Дата публикации заявки: 10.10.2007
(46) Опубликовано: 10.10.2008
(56) Список документов, цитированных в отчете о поиске:
ЕР 1067269 В1, 10.01.2001. GB 213118 А, 27.03.1924. WO 9318264 А1, 16.09.1993. RU 2833 U1, 16.09.1996. GB 777592 А, 26.06.1957.
Адрес для переписки:
142791, Московская обл., Ленинский р-н, пос. Сосенки, ООО “ЗМК ПРОМЕТ”
|
(72) Автор(ы):
Сосков Андрей Александрович (RU), Бойко Александр Борисович (RU)
(73) Патентообладатель(и):
ООО “ЗМК ПРОМЕТ” (RU)
|
(54) ДВЕРЬ МЕТАЛЛИЧЕСКОГО ШКАФА ИЛИ СЕЙФА
(57) Реферат:
Изобретение относится к области изготовления дверей для сейфов и несгораемых шкафов. Дверь металлического шкафа или сейфа включает полотно и короб. Полотно со стороны, противоположной навешиванию двери, имеет два загиба, образующих П-образный профиль, линии сгиба которых параллельны оси поворота двери. Профиль имеет два выступа на кромке. Короб на одной из стенок имеет два продолговатых отверстия для размещения указанных выступов полотна двери. На стенке короба, противоположной указанной, выполнен загиб для жесткого соединения короба и полотна посредством точечной контактной сварки. Короб и полотно двери содержат отверстия и пазы для размещения замкового устройства. Изобретение обеспечивает повышение технологичности конструкции двери и снижение себестоимости ее изготовления. 3 з.п. ф-лы, 3 ил.
Настоящее изобретение относится к сейфам и металлической мебели, а именно к конструкции двери сейфов или металлических шкафов.
Известны металлические двери, конструктивно включающие, по меньшей мере, полотно двери и короб, жестко соединенные между собой (ЕР 1067269 В1, 10.01.2001).
Недостатком данной конструкции двери является низкая точность изготовления и низкая технологичность вследствие того, что и полотно двери и короб имеют значительное количество загибов, кроме того, конструкцией не предусмотрены элементы, обеспечивающие точное взаимное базирование указанных деталей. Данное техническое решение выбрано в качестве прототипа настоящего изобретения.
Задача, на решение которой направлено настоящее изобретение, состоит в повышении технологичности изготовления и снижении себестоимости двери сейфа или металлического шкафа при повышении общей жесткости всей конструкции.
Решение поставленной задачи достигается путем обеспечения точного базирования короба на полотне двери за счет введения в конструкцию деталей и элементов, обеспечивающих достаточно точную взаимную ориентацию, а именно: дверь металлического шкафа или сейфа, включающая полотно, имеющее со стороны, противоположной навешиванию двери, два загиба, параллельных оси поворота двери, образуя П-образный профиль с, по меньшей мере, двумя выступами на кромке, и короб, на одной из стенок которого имеется, по крайней мере, два отверстия для размещения указанных выступов, при этом на другой стенке короба, противоположной указанной, выполнен загиб для жесткого соединения короба и полотна.
В частном случае изготовления возможны следующие приемы и технические решения:
– жесткое соединение короба и полотна обеспечивается точечной контактной сваркой;
– выступы на полотне и отверстия для выступов на коробе имеют продолговатую форму и ориентированы параллельно указанным загибам;
– на полотне двери и коробе предусмотрены дополнительные пазы и отверстия для размещения врезного замка.
Заявленное изобретение поясняется фиг.1-3.
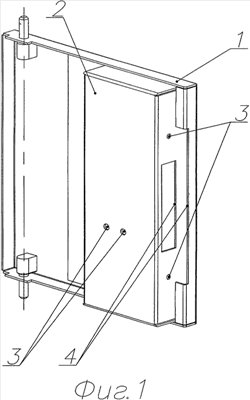
Дверь металлического шкафа или сейфа (Фиг.1) содержит полотно двери (1) и короб (2), закрепляемый на внутренней стороне полотна двери. Указанный короб одновременно выполняет функцию ребра жесткости и служит для размещения внутри и закрепления посредством отверстий (3) и пазов (4) замкового устройства, в частности врезного замка (не показан).
Полотно двери (Фиг.2) выполняется из металлической листовой заготовки путем технологической операции гибки, таким образом, что со стороны замкового устройства (косяка) полотно двери имеет два загиба (5), линии сгиба которых параллельны оси поворота двери, образуя П-образный профиль, а кромка (6) имеет, по меньшей мере, два выступа (8), обращенных в сторону оси поворота двери (7).
При этом короб (Фиг.3), закрепляемый на внутренней стороне полотна двери, имеет на одной из своих стенок продолговатые отверстия (9), внутри которых, при базировании короба на полотне, размещаются указанные выступы, выполненные на кромке П-образного профиля. Указанное взаимодействие выступов П-образного профиля и отверстий на стенке короба обеспечивает точное базирование короба на полотне двери и препятствует их взаимному смещению в момент окончательного закрепления между собой. Приведенная выше особенность конструкции позволяет производить сварку указанных деталей без использования специальной оснастки, кондукторов и прочих вспомогательных приспособлений.
В частном случае, окончательная фиксация короба на полотне двери обеспечивается точечной контактной сваркой, для чего на стенке короба, противоположной той, на которой выполнены продолговатые отверстия, имеется загиб (10), который при размещении короба на полотне, как указано выше, располагается в плоскости полотна двери. Зафиксированный таким образом короб обеспечивает жесткость конструкции двери, выполняя функцию ребра жесткости. Кроме того, полученная в результате полость (11), ограниченная полотном двери и коробом, служит для размещения замкового устройства, в частном случае врезного замка (не показан). Для закрепления врезного замка внутри короба, полотно двери и короб имеют крепежные отверстия (3) и пазы (4) (см. фиг.1).
Таким образом, описанная выше дверь сейфа или металлического шкафа является простой в изготовлении высокотехнологичной конструкцией, обеспечивающей высокую точность и стабильность геометрических размеров конечного изделия в условиях серийного производства. Кроме того, благодаря использованию конструкторского решения, в соответствии с данным изобретением, при выполнении технологической операции сварки не требуется использование каких-либо кондукторов, оснастки и прочих вспомогательных приспособлений, обеспечивающих заданные зазоры при размещении короба на полотне двери.
Формула изобретения
1. Дверь металлического шкафа или сейфа, включающая полотно и короб, отличающаяся тем, что полотно со стороны, противоположной навешиванию двери, имеет два загиба параллельных оси поворота двери, образуя П-образный профиль с, по меньшей мере, двумя выступами на кромке, а короб на одной из стенок имеет, по крайней мере, два отверстия для размещения указанных выступов, при этом на другой стенке короба, противоположной указанной, выполнен загиб для жесткого соединения короба и полотна.
2. Дверь металлического шкафа или сейфа по п.1, отличающаяся тем, что жесткое соединение короба и полотна выполнено точечной контактной сваркой.
3. Дверь металлического шкафа или сейфа по п.1, отличающаяся тем, что выступы на полотне и отверстия для выступов на коробе имеют продолговатую форму и ориентированы параллельно указанным загибам.
4. Дверь металлического шкафа или сейфа по п.1, отличающаяся тем, что на полотне двери и коробе предусмотрены дополнительные пазы и отверстия для размещения врезного замка.
РИСУНКИ
MM4A – Досрочное прекращение действия патента СССР или патента Российской Федерации на изобретение из-за неуплаты в установленный срок пошлины за поддержание патента в силе
Дата прекращения действия патента: 11.03.2009
Извещение опубликовано: 27.01.2010 БИ: 03/2010
NF4A – Восстановление действия патента СССР или патента Российской Федерации на изобретение
Дата, с которой действие патента восстановлено: 27.01.2010
Извещение опубликовано: 27.01.2010 БИ: 03/2010
PC4A – Регистрация договора об уступке патента СССР или патента Российской Федерации на изобретение
Прежний патентообладатель:
Общество с ограниченной ответственностью “ЗМК Промет”
(73) Патентообладатель:
Акционерная компания с ответственностью участников компании в пределах принадлежащих им акций “Промет Холдинг Лимитед” (VG)
Договор № РД0060402 зарегистрирован 12.02.2010
Извещение опубликовано: 27.03.2010 БИ: 09/2010
|
|