|
|
(21), (22) Заявка: 2007100855/11, 09.01.2007
(24) Дата начала отсчета срока действия патента:
09.01.2007
(46) Опубликовано: 10.10.2008
(56) Список документов, цитированных в отчете о поиске:
RU 2194115 C1, 10.12.2002. SU 1162890 A, 23.06.1985. US 6256827 A, 10.07.2001. US 5369833 A, 06.12.1994.
Адрес для переписки:
625000, г.Тюмень, ул. Володарского, 38, ТюмГНГУ, патентно-информационный отдел
|
(72) Автор(ы):
Логачев Виктор Григорьевич (RU), Логачев Сергей Викторович (RU), Хохлов Александр Венядиевич (RU)
(73) Патентообладатель(и):
Государственное образовательное учреждение высшего профессионального образования “Тюменский государственный нефтегазовый университет” (RU), Общество с ограниченной ответственностью “Асфа-Трейд-Тюмень” (RU)
|
(54) ЗАГРУЗОЧНЫЙ УЗЕЛ КОММУНАЛЬНОЙ МАШИНЫ
(57) Реферат:
Изобретение относится к области дорожных машин, предназначенных для очистки дорожных покрытий. Загрузочный узел коммунальной машины содержит силовой каркас, состоящий из двух полых П-образных элементов прямоугольного сечения, образующих замкнутую конструкцию. Один из приводных элементов, установленных в углах рамной конструкции, сопряжен с валом двигателя и является ведущим, а другие являются опорными. На внутреннюю сторону рабочей поверхности приводной цепи, перпендикулярно ее продольной оси, закреплены рабочие лопатки. В нижней и верхней внутренних стенках каркаса выполнены окна для загрузки рабочего материала на транспортер и его выгрузки. Повышается эффективность уборки. 1 ил.
Изобретение относится к коммунальному хозяйству, а именно к области дорожных машин, предназначенных для очистки дорожных покрытий от снежного покрова.
Известен снегопогрузчик, включающий самоходное шасси, рабочий орган, состоящий из лопаты, цепного питателя и ленточного транспортера (Пат. 2205917 РФ, МПК 7 E01H 5/00, опубл. 2003.06.10). Питатель задней стороной шарнирно закреплен на лопате и средней частью опирается на упоры лопаты, транспортер выполнен разрезным в точке его соединения с рамой шасси.
Известен снегоуборщик, на шасси которого размещены ротор и ленточный транспортер со скребками, смонтированный с возможностью изменения положения в продольно-вертикальной плоскости от гидромотора (Пат. 2006547, МПК 5 E01H 5/09, опубл. 1994.01.30).
Известна машина для зимнего содержания автомобильных дорог и аэродромов БНВ-21 путем очистки их от снега и льда (РФ 2194115 C1, E01H 5/1). Машина содержит шасси с двигателем внутреннего сгорания, снабженного загрузочным бункером с душевым коллектором и связанным со шнековым питателем посредством сопла.
Недостатком известных устройств является то, что ленточный транспортеры (шнековый питатель) расположены на значительном удалении от бункера, впереди машины, что затрудняет работу по перемещению и управлению снегопогрузчиков из-за сокращения зоны обзора.
Задачей, на решение которой направлено заявляемое решение, является разработка загрузочного узла коммунальной машины, отвечающей современным требованиям технологического процесса уборки дорожных покрытий.
При осуществлении изобретения поставленная задача решается за счет достижения технического результата, который заключается в расширении функциональных возможностей, уменьшении габаритов, повышении эффективности уборки.
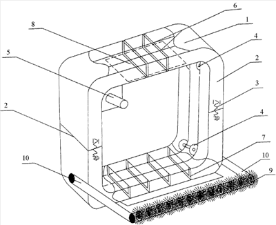
Основные узлы и элементы загрузочного узла коммунальной машины представлены на чертеже.
Загрузочный узел коммунальной машины содержит силовой каркас 1 (корпус), состоящий из двух полых П-образных элементов 2 прямоугольного сечения, установленных через элементы сопряжения 3 так, что вместе образуют замкнутую конструкцию – раму, в углах которой установлены приводные элементы 4, например, в виде шестерен (зубчатые колеса), одна из которых 5 сопряжена с валом двигателя (не показан), и является ведущей, а другие являются опорными. Шестерни кинематически связаны друг с другом, по крайней мере, одной приводной цепью 6 так, что ее внешняя рабочая поверхность (транспортер) сопряжена с зубьями указанных шестерн. На внутреннюю сторону рабочей поверхности приводной цепи 6, перпендикулярно ее продольной оси, закреплены рабочие лопатки 7. Силовой каркас 1 смонтирован на раме базового самоходного транспортного средства (не показан) так, что имеет возможность вертикального перемещения с помощью механизма (не показан), снабженного гидроцилиндрам. В нижней и верхней внутренних стенках силового каркаса 1 выполнены окна 8 для загрузки снеголедовой массы на транспортер и ее выгрузки, например, в кузов транспортного средства.
Сзади силового каркаса 1, параллельно его продольной оси, закреплена роторная подметальная щетка 9, снабженная двигателем (не показан) и имеющая механизм 10 для подъема щетки 9 из рабочего (нижнего) в транспортное (верхнее) положение.
Работа загрузочного узла коммунальной машины осуществляется следующим образом.
Разрушенный режущими элементами рабочего органа коммунальной машины рабочий материал, например, снего-ледовая масса, загружается щеткой 9 через окно 8 загрузки на лопатки 7 рабочей поверхности приводной цепи 6. Перемещаясь по закольцованной приводной цепи 6, рабочий материал через окно 8 для выгрузки попадает в кузов транспортного средства.
Формула изобретения
Загрузочный узел коммунальной машины, содержащий, по крайней мере, одну закольцованную приводную цепь, помещенную в каркас, состоящий из двух полых П-образных элементов, установленных так, что они образуют раму, в каждом углу которой установлены приводные элементы, которые взаимодействуют с цепью с внешней стороны, а к внутренней стороне цепи поперек ее продольной оси закреплены рабочие лопатки, причем в верхней и нижней частях каркаса выполнены окна для подачи рабочего материала в загрузочный узел и его выгрузки.
РИСУНКИ
|
|