|
(21), (22) Заявка: 2006123385/02, 30.06.2006
(24) Дата начала отсчета срока действия патента:
30.06.2006
(43) Дата публикации заявки: 20.01.2008
(46) Опубликовано: 10.10.2008
(56) Список документов, цитированных в отчете о поиске:
ГАЙСИН А.Ф. и др. «Технологические процессы модификации поверхностей изделий плазмой парогазового разряда с жидким катодом», Научно-технический отчет по гос. бюджетной теме 3С710-1/98, № гос. регистрации 01990011968, Казань, 1999. САВЕЛЬЕВ В.А. Устройство для создания паровоздушного разряда между металлическим катодом и электролитическим анодом.
Адрес для переписки:
420011, г.Казань, ул. К. Маркса, 10, КГТУ им. А.Н. Туполева, Отдел интеллектуальной собственности
|
(72) Автор(ы):
Гайсин Азат Фивзатович (RU)
(73) Патентообладатель(и):
Государственное образовательное учреждение высшего профессионального образования Казанский государственный технический университет им. А.Н. Туполева (RU)
|
(54) СПОСОБ УПРОЧНЕНИЯ ИЗДЕЛИЯ (ВАРИАНТЫ) И УСТРОЙСТВО ДЛЯ ЕГО ОСУЩЕСТВЛЕНИЯ (ВАРИАНТЫ)
(57) Реферат:
Изобретение относится к плазменной технике и технологии и может быть использовано при упрочнении изделий. Для повышения глубины и параметра упрочнения изделий в 1,5÷2 раза, уменьшения времени обработки и увеличения габаритов обрабатываемых изделий изделия нагревают плазменной струей парогазового разряда между многоканальным твердым анодом и электролитическим катодом с напряжением 1000 U 1600 В и током разряда 1 I 6 А в течение 5 с, при этом расстояние от поверхности обрабатываемого изделия до поверхности твердого анода составляет 5 h 100 мм, межэлектродное расстояние от нижней поверхности твердого анода до поверхности электролитического катода 2U 2000 В и током разряда 1,5 I 8 А в течение не менее 5 с, при этом расстояние от поверхности обрабатываемого изделия до поверхности твердого катода составляет 5 h 140 мм, межэлектродное расстояние от нижней поверхности твердого катода до поверхности электролитического анода 2
(56) (продолжение):
CLASS=”b560m”Автореферат. – Казань: КГТУ им. А.Н.Туполева, 2003. SU 1441991 C, 20.01.1995. RU 2241320 C1, 27.11.2004. RU 2169443 C1, 20.06.2001.
Изобретение относится к плазменной технике и технологии и может быть использовано при упрочнении стальных изделий.
Известен способ упрочнения (Савельев В.А. Кандидатская диссертация «Устройство для создания паровоздушного разряда между металлическим катодом и электролитическим анодом (непроточные и проточные электролиты) и его характеристики при атмосферном давлении», Казань, КГТУ им. А.Н.Туполева, 2003), включающий нагрев изделия, нагрев изделия осуществляют путем подачи отрицательного потенциала на обрабатываемое изделие, зажигают разряд между обрабатываемым изделием – катодом и электролитом – анодом, устанавливают зазор между электродами 0,5 l 4 мм, поддерживают разрядный ток 20 I 250 мА при напряжении разряда в пределах 400 U 800 В, где l – межэлектродное расстояние, U – напряжение разряда между обрабатываемым изделием и электролитом, I – ток разряда.
Для всех вариантов в качестве прототипа выбран способ упрочнения изделия и устройство для его осуществления, описанное ниже.
В качестве прототипа выбран способ (Гайсин А.Ф. и др. № Гос. регистрации 019900119668, научно-технический отчет по гос. бюджетной теме № С 710-1/98. «Технологические процессы модификации поверхностей изделий плазмой парогазового разряда с жидким катодом», Казань, 1999), включающий нагрев изделия, нагрев изделия осуществляют путем подачи положительного потенциала на обрабатываемое изделие, зажигают разряд между обрабатываемым изделием – анодом и электролитом – катодом, устанавливают зазор между электродами 1 l 2 мм, поддерживают разрядный ток 10 I 110 мА, тепловой поток на поверхности обрабатываемого изделия 6·103 q 1,3·104 Вт/м2, температуру в пределах 250 Т 350°С, напряжение разряда 600 U 900 В, процесс обработки осуществляют в течение времени не менее сорока минут, где: l – межэлектродное расстояние, U – напряжение разряда между обрабатываемым изделием и электролитом, I – ток разряда, Т – температура обрабатываемого изделия, q – тепловой поток на поверхности обрабатываемого изделия.
Устройство для упрочнения изделия по прототипу состоит из электролитической ванны с металлическим токоподводом и металлического электрода. Анодом является металлический электрод, а катодом является электролит. В прототипе-способе упрочнения изделия твердость, достигаемая по Виккерсу, HV50=720. Эта величина достигается в течение времени не менее сорока минут.
Недостатками устройства является то, что размеры твердого катода небольшие. Изменение зазора между электродами более l>2 мм приводит к выгоранию поверхности электрода.
Решаемая техническая задача заключается в возможности повышения глубины и параметра упрочнения изделий в 1,5÷2 раза. При этом существенно уменьшается время обработки и увеличиваются габариты изделия.
Решаемая техническая задача, по первому варианту способа, в способе упрочнения стального изделия, включающем нагрев изделия плазмой парогазового разряда между электролитическим катодом и твердым анодом, достигается тем, что нагрев изделия осуществляют плазменной струей многоканального разряда твердого анода и электролитического катода с напряжением 1000 U 1600 В, током разряда 1 I 6 А в течение не менее 5 с, при этом расстояние от поверхности обрабатываемого изделия до поверхности твердого анода 5 h 100 мм, межэлектродное расстояние от нижней поверхности твердого анода до поверхности электролитического катода 2
U – напряжение многоканального разряда между твердым анодом электролитическим катодом, В,
I – ток разряда А,
L – расстояние между нижней поверхностью твердого анода и поверхностью электролитического катода, мм,
h – расстояние между обрабатываемым изделием и верхней поверхностью твердого анода, мм,
t – время нагрева изделия, с.
Решаемая техническая задача, по второму варианту способа, в способе упрочнения стального изделия, включающем нагрев изделия плазмой парогазового разряда между электролитическим анодом и твердым катодом, достигается тем, что нагрев изделия осуществляют плазменной струей многоканального парогазового разряда твердого катода и электролитического анода с напряжением 500 U 2000 В и током разряда 1,5 I 8 А в течение не менее 5 с, при этом расстояние от поверхности обрабатываемого изделия до поверхности твердого катода составляет 5 h 140 мм, межэлектродное расстояние от нижней поверхности твердого катода до поверхности электролитического анода 2
U – напряжение многоканального разряда между твердым катодом и электролитическим анодом, В,
I – ток разряда А,
L – расстояние между нижней поверхностью твердого катода и поверхностью электролитического анода,
h – расстояние между обрабатываемым изделием и верхней поверхностью твердого катода, мм.
Решаемая техническая задача, по первому варианту устройства, в устройстве упрочнения стального изделия, содержащем твердый анод и электролитический катод с металлическим токоподводом, достигается тем, что твердый анод имеет со стороны электролитического катода форму усеченного конуса снаружи и центральное цилиндрическое отверстие диаметром 5
d – внутренний диаметр анода, мм,
L – расстояние между нижней поверхностью твердого анода и поверхностью электролитического катода, мм.
Решаемая техническая задача, по второму варианту устройства, в устройстве упрочнения стального изделия, содержащем твердый анод и электролитический катод с металлическим токоподводом, достигается тем, что твердый анод имеет со стороны электролитического катода форму усеченного конуса снаружи и форму цилиндра со стороны твердого анода со сплошным верхним торцом, имеющего по бокам не менее одного отверстия для выхода струи плазмы, внутренний диаметр цилиндрического отверстия составляет 5
Решаемая техническая задача, по третьему варианту устройства, в устройстве упрочнения стального изделия, содержащем твердый катод и электролитический анод с металлическим токоподводом, достигается тем, что твердый катод имеет со стороны электролитического анода форму усеченного конуса снаружи и центральное цилиндрическое отверстие с диаметром 5
d – внутренний диаметр катода, мм,
L – расстояние между нижней поверхностью твердого катода и поверхностью электролитического анода, мм.
Решаемая техническая задача, по четвертому варианту устройства, в устройстве упрочнения стального изделия, содержащем твердый катод и электролитический анод с металлическим токоподводом, достигается тем, что твердый катод имеет со стороны электролитического анода форму усеченного конуса снаружи и форму цилиндра со стороны твердого катода со сплошным верхним торцом, имеющего по бокам не менее одного отверстия для выхода струи плазмы, внутренний диаметр цилиндрического отверстия составляет 5
d – внутренний диаметр катода, мм,
L – расстояние между нижней поверхностью твердого катода и поверхностью электролитического анода, мм.
Решаемая техническая задача, по пятому варианту устройства, в устройстве упрочнения стального изделия, содержащем твердый анод и электролитический катод с металлическим токоподводом, достигается тем, что твердый анод имеет со стороны электролитического катода форму усеченного конуса снаружи и центральное цилиндрическое отверстие с диаметром 5
d – диаметр цилиндрического отверстия анода, мм,
L – расстояние между нижней поверхностью твердого анода и поверхностью электролитического катода, мм.
Решаемая техническая задача по шестому варианту устройства, в устройстве упрочнения стального изделия, содержащем твердый катод и электролитический анод с металлическим токоподводом, достигается тем, что твердый катод имеет со стороны электролитического анода форму усеченного конуса снаружи и центральное цилиндрическое отверстие с диаметром 5
d – внутренний диаметр цилиндра, мм,
L – расстояние между нижней поверхностью твердого катода и поверхностью электролитического анода.
На фигуре 1 изображен твердый анод, входящий в устройство для осуществления первого варианта способа упрочнения стального изделия.
На фигуре 2 изображено устройство для осуществления способа упрочнения стального изделия по первому варианту способа.
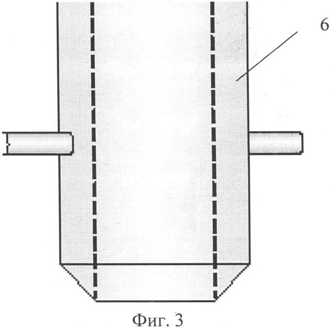
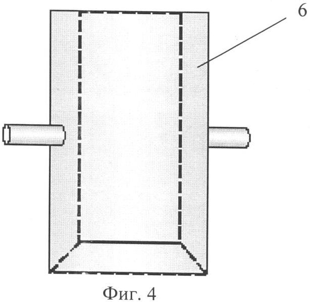
На фигуре 3 и 4 изображен твердый катод, входящий в устройство для осуществления второго варианта способа упрочнения стального изделия.
На фигуре 5 изображено устройство для осуществления способа упрочнения стального изделия по второму варианту способа.
На фигуре 6 изображено устройство упрочнения стального изделия по первому варианту устройства.
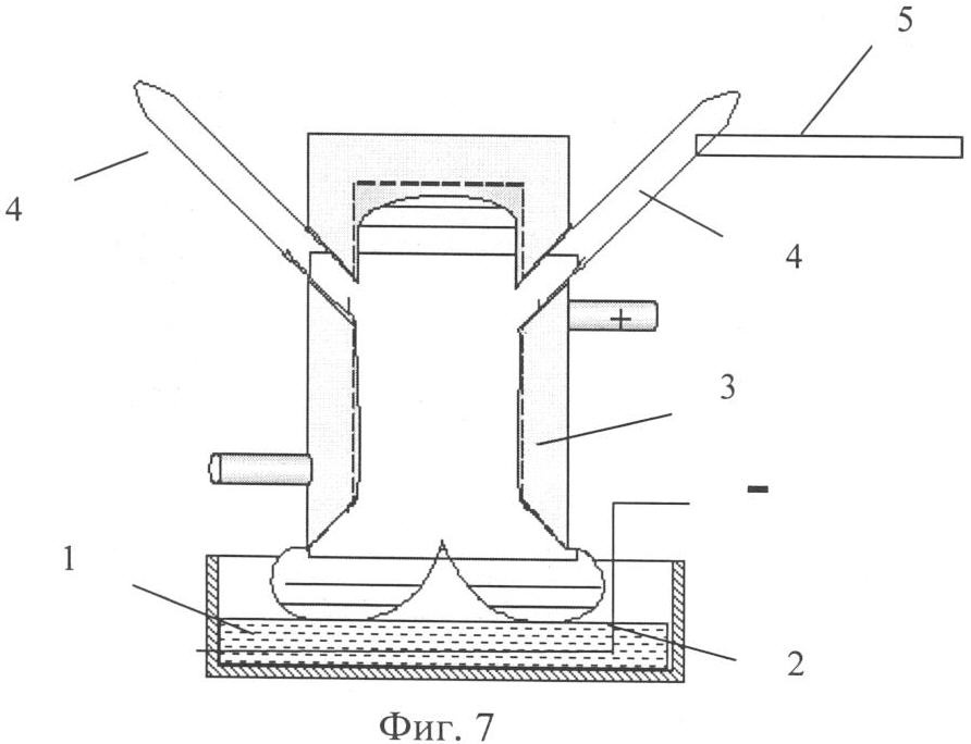
На фигуре 7 изображено устройство упрочнения стального изделия по второму варианту устройства.
На фигуре 8 изображено устройство упрочнения стального изделия по третьему варианту устройства.
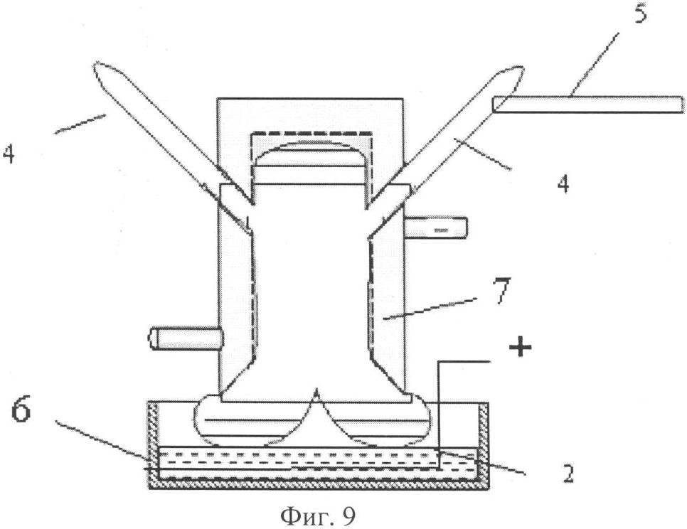
На фигуре 9 изображено устройство упрочнения стального изделия по четвертому варианту устройства.
На фигуре 10 изображено устройство упрочнения стального изделия по пятому варианту устройства.
На фигуре 11 изображено устройство упрочнения стального изделия по шестому варианту устройства.
На фигуре 12 приведена ВАХ устройства для получения струйного многоканального разряда с электролитическим анодом при различных межэлектродных расстояниях: верхняя кривая – L=10 мм; нижняя кривая – L=5 мм по второму варианту устройства.
На фигуре 13 представлен график зависимости температуры плазменной струи от диаметра струи для различных расстояний от поверхности устройства: 9-100 мм; 10-80 мм; 11-60 мм; 12-40 мм; 13-20 мм по второму варианту способа.
На фигуре 14 представлен график зависимости высоты плазменной струи от межэлектродного расстояния по второму варианту способа.
На фигуре 15 представлены графики зависимости твердости Ст.45 по Викерсу после обработки в плазменной струе многоканального разряда с электролитическим катодом от центра струи: 15 – время обработки 7 с, расстояние от поверхности изделия до устройства 8 мм, мощность многоканального разряда 8 кВт; 16 – время обработки 10 с, расстояние от поверхности изделия до устройства 5 мм, мощность многоканального разряда 10 кВт по первому варианту способа.
На фигуре 16 представлен график зависимости твердости Ст.45 после обработки в плазменной струе многоканального разряда с электролитическим катодом от глубины поверхностного слоя образца: 17 – время обработки 7 с, расстояние от поверхности изделия до устройства 8 мм, мощность многоканального разряда 8 кВт; 18 – время обработки 10 с, расстояние от поверхности изделия до устройства 5 мм, мощность многоканального разряда 10 кВт по первому варианту способа.
На фигуре 17 представлен график зависимости твердости Ст.45 после обработки плазменной струей от высоты над поверхностью устройства (19) и от расстояния между электролитическим анодом и нижней кромкой устройства (20) по второму варианту способа.
Устройство для осуществления способа упрочнения стального изделия по первому варианту способа (фиг.1, фиг.2) содержит электролитическую ячейку 1 с металлическим токоподводом 2, твердый анод 3, плазменную струю 4. На фиг.2 показано обрабатываемое изделие 5, помещенное в струю 4 плазмотрона многоканального разряда с электролитическим катодом 1.
Устройство для осуществления способа упрочнения стального изделия по второму варианту (фиг.3, фиг.4 и фиг.5) содержит электролитическую ячейку 6 с металлическим токоподводом 2, твердый катод 7, плазменную струю 4. На фиг.5 показано обрабатываемое изделие 5, помещенное в струю 4 плазмотрона многоканального разряда с электролитическим анодом 6.
Устройство упрочнения стального изделия по первому варианту предлагаемого изобретения устройства (фиг.6) содержит электролитическую ячейку 1 с металлическим токоподводом 2, твердый анод 3, плазменную струю 4. На фиг.6 представлено обрабатываемое изделие 5, помещенное в струю 4 плазмотрона многоканального разряда с электролитическим катодом 1. Твердый анод 3 имеет со стороны электролитической ячейки 1 форму усеченного конуса снаружи и центральное цилиндрическое отверстие, причем внутренний диаметр цилиндра выбран из неравенства 5
d – внутренний диаметр анода, мм,
L – расстояние между нижней поверхностью твердого анода и поверхностью проточного электролитического катода, мм.
Устройство упрочнения стального изделия по второму варианту устройства предлагаемого изобретения (фиг.7) содержит электролитическую ячейку 1 с отрицательным металлическим токоподводом 2, твердый анод 3, плазменную струю 4. Обрабатываемое изделие 5 помещено в струю 4 плазмотрона многоканального разряда с электролитическим катодом 1. Твердый анод 3 имеет со стороны электролитического катода форму усеченного конуса снаружи и форму цилиндра со стороны твердого анода со сплошным верхним торцом, имеющего по бокам не менее одного отверстия для выхода струи плазмы, внутренний диаметр цилиндрического отверстия выбран из неравенства 5
d – внутренний диаметр анода, мм,
L – расстояние между нижней поверхностью твердого анода 3 и поверхностью электролитического катода, мм.
Устройство упрочнения стального изделия по третьему варианту устройства предлагаемого изобретения (фиг.8) содержит электролитическую ячейку 6 с металлическим токоподводом 2, твердый катод 7, плазменную струю 4. Обрабатываемое изделие 5 помещено в плазменную струю 4. Твердый катод 7 имеет со стороны электролитической ячейки 6 форму усеченного конуса снаружи и центральное цилиндрическое отверстие, причем внутренний диаметр цилиндра выбран из неравенства 5
d – внутренний диаметр катода, мм,
L – расстояние между нижней поверхностью твердого катода и поверхностью электролитического анода, мм.
Устройство упрочнения стального изделия по четвертому варианту устройства предлагаемого изобретения (фиг.9) содержит электролитическую ячейку 6 с металлическим токоподводом 2, твердый катод 7, плазменные струи 4. Обрабатываемое изделие 5 помещено в струю 4 плазмотрона многоканального разряда с электролитом. Твердый катод 7 имеет со стороны электролитического анода 6 форму усеченного конуса снаружи и форму цилиндра со стороны твердого катода 7 со сплошным верхним торцом, имеющего по бокам не менее одного отверстия для выхода струи плазмы, внутренний диаметр выбран из неравенства 5
d – внутренний диаметр катода, мм,
L – расстояние между нижней поверхностью твердого катода и поверхностью электролитического анода, мм.
Устройство упрочнения стального изделия по пятому варианту устройства предлагаемого изобретения (фиг.10) содержит электролитическую ячейку 1 с металлическим токоподводом 2, твердый анод 3. На фиг.10 показана плазменная струя 4, обрабатываемое изделие 5 и диэлектрический экран 8. Обрабатываемое изделие 5 помещено в струю 4. Твердый анод 3 имеет со стороны электролитического катода 1 форму усеченного конуса снаружи и центральное цилиндрическое отверстие с диаметром 5
d – диаметр цилиндрического отверстия анода, мм,
L – расстояние между нижней поверхностью твердого анода и поверхностью электролитического катода, мм.
Устройство упрочнения стального изделия по шестому варианту устройства предлагаемого изобретения (фиг.11) содержит электролитическую ячейку 6 с металлическим токоподводом 2, твердый катод 7. На фиг.11 показана плазменная струя 4, обрабатываемое изделие 5 и диэлектрический экран 8. Обрабатываемое изделие помещено в струю 4 и плазмотрона многоканального разряда с электролитическим анодом. Твердый катод 7 имеет со стороны электролитического анода 6 форму усеченного конуса снаружи и центральное цилиндрическое отверстие с диаметром 5
d – внутренний диаметр цилиндра, мм,
L – расстояние между нижней поверхностью твердого катода и поверхностью электролитического анода, мм.
Выбор диапазонов по первому варианту способа объясняется следующим образом: одним из важных параметров способа является ток разряда. Для того чтобы поддерживать оптимальную температуру и длину струи для упрочнения изделия, ток меняется в пределах 1 I 6 А. При I<1 А струя не выходит над поверхностью твердого электрода, а при I>6 А не удается получить многоканальный разряд с электролитическим катодом. Пределы напряжения определяются величиной тока. При h<5 мм обрабатываемое изделие находится непосредственно над твердым анодом и процесс упрочнения ухудшается, при h>100 мм температура струи не достаточна для упрочнения стального изделия. При L<2 мм плазменная струя практически не выходит над поверхностью анода и упрочнения стального изделия не удается. При L>10 мм длина струи существенно уменьшается и ухудшается устойчивость разряда. Изменение внутреннего диаметра анода приводит к изменению высоты плазменной струи. Выбор диапазонов по второму, третьему, четвертому, пятому, шестому, седьмому и восьмому вариантам объясняется также как и по первому варианту. При d<5 мм разряд практически не горит и наблюдается неустойчивая струя плазмы. При d>20 мм уменьшается длина струи, которая не позволяет проводить упрочнение стального изделия.
Способ упрочнения стального изделия по первому варианту (фиг.1, фиг.2) осуществляется следующим образом.
Обрабатываемая изделие 5 помещают в струю 4 плазмотрона многоканального разряда с электролитическим катодом 1, устанавливают напряжение разряда между твердым анодом 3 и электролитическим катодом 1 1000 U 1600 В, ток разряда 1 I 6 А, расстояние от поверхности обрабатываемого изделия до поверхности твердого анода 5 h 100 мм, межэлектродное расстояние от нижней поверхности твердого анода до поверхности электролитического катода 2
U – напряжение многоканального разряда между твердым анодом и электролитическим катодом, В,
I – ток разряда А,
L – расстояние между нижней поверхностью твердого анода и поверхностью электролитического катода, мм,
h – расстояние между обрабатываемым изделием и верхней поверхностью твердого анода, мм,
t – время нагрева изделия, с.
Способ упрочнения стального изделия по второму варианту (фиг.3, фиг.4 и фиг.5) осуществляется следующим образом: путем помещения обрабатываемого изделия 5 в струю плазмотрона 4 многоканального разряда с электролитическим анодом 6 устанавливают напряжение разряда между твердым катодом 7 и электролитическим анодом 6 500 U 2000 В, ток разряда 1,5 I 8 А, расстояние от поверхности обрабатываемого изделия до поверхности твердого катода составляет 5 h 140 мм, межэлектродное расстояние от нижней поверхности твердого катода 7 до поверхности электролитического анода 6 2
U – напряжение многоканального разряда между твердым катодом и электролитическим анодом, В,
I – ток разряда А,
L – расстояние между нижней поверхностью твердого катода и поверхностью электролитического анода,
h – расстояние между обрабатываемым изделием и верхней поверхностью твердого катода, мм.
t – время нагрева изделия, с.
Рассмотрим устройство упрочнения стального изделия в работе по первому варианту устройства (фиг.6). Многоканальный разряд зажигают между твердым анодом 3 и электролитической ячейкой 1. Обрабатываемое изделие 5 помещают в струю плазмы 4, устанавливают напряжение и ток разряда, например U=1500 В и I=3 А. Процесс обработки ведут в течение времени 10 с до заданного параметра по упрочнению.
Рассмотрим устройство для упрочнения стального изделия в работе по второму варианту устройства (фиг.7). Многоканальный разряд зажигают между твердым анодом 3 и электролитической ячейкой 7. Обрабатываемое изделие 5 помещают в струю плазмы 4, устанавливают напряжение и ток разряда, например U=2000 В и I=5 А. Процесс обработки ведут в течение времени 5 с до заданного параметра по упрочнению.
Рассмотрим устройство для упрочнения стального изделия в работе по третьему варианту устройства (фиг.8). Многоканальный разряд зажигают между твердым катодом 7 и электролитической ячейкой 6. Обрабатываемое изделие 5 помещают в струю плазмы 4, устанавливают напряжение и ток разряда, например U=2500 В и I=2 А. Процесс обработки ведут в течение времени 5 с до заданного параметра по упрочнению.
Рассмотрим устройство для упрочнения стального изделия в работе по четвертому варианту устройства (фиг.9). Многоканальный разряд зажигают между твердым катодом 1 и электролитической ячейкой 6.
Обрабатываемое изделие 5 помещают в струю плазмы 4, устанавливают напряжение и ток разряда, например U=2200 В и I=4 А. Процесс обработки ведут в течение времени 5 с до заданного параметра по упрочнению.
Рассмотрим устройство для упрочнения стального изделия в работе по пятому варианту устройства (фиг.10). Многоканальный разряд зажигают между твердым анодом 3 и электролитической ячейкой 1. Обрабатываемое изделие 5 помещают в струю плазмы 4, устанавливают напряжение и ток разряда, например U=2500 В и I=3,5 А. Процесс обработки ведут в течение времени 5 с до заданного параметра по упрочнению.
Рассмотрим устройство для упрочнения стального изделия в работе по шестому варианту устройства (фиг.11). Многоканальный разряд зажигают между твердым катодом 7 и электролитической ячейкой 6. Обрабатываемое изделие 5 помещают в струю плазмы 4, устанавливают напряжение и ток разряда, например U=2000 В и I=3 А. Процесс обработки ведут в течение времени 5 с до заданного параметра по упрочнению.
Анализ полученных результатов по всем вариантам изобретения эксперимента показывает значительное упрочнение поверхности стальных изделий. Так для стали марки Ст.45 в результате обработки плазменной струей твердость HV50 по Виккерсу повышается в среднем в 3 раза при глубине упрочненного слоя 0,9÷1,35 мм.
Образцы, обработанные плазменной струей, подвергались анализу на распределение твердости с помощью твердомера ПМТ-3, а микроструктура по микроскопу ММР-2Р. Анализ образца в результате обработки показывает, что на поверхности изменилась микроструктура стали. Если до обработки сталь состояла из перлита и феррита в виде сетки по границам зерен перлита, то после обработки на глубине до 0,6 мм произошла перекристаллизация стали. Сетка феррита разбилась, и сталь состоит из бейнита и троостита. Твердость исходного образца стали составляла 250 HV50 по Виккерсу, после обработки она достигла 570 HV50. В глубине ниже 0,6 мм микроструктура стали не изменилась.
Из анализа другого образца стали выяснилось, что на поверхности образовался закаленный слой со структурой мастенсита и троостомартенсита различной дисперсности. Произошло измельчение кристаллических зерен стали и увеличение твердости по сравнению со структурой образца. В результате обработки твердость повысилась в среднем в 4 раза при глубине упрочненного слоя 0,9-1,5 мм.
Анализ экспериментальных данных показал, что твердость стали повышается с увеличением времени обработки в заданных интервалах тока и напряжения многоканального разряда. Также на твердость существенное влияние оказывает расстояние от обрабатываемого изделия до самого устройства.
По сравнению с прототипом способы упрочнения изделия и устройства для его осуществления позволяют увеличить твердость по Виккерсу HV50 в среднем в 1,5-2 раза при глубине упрочненного слоя 0,9-2 мм. Это доказывают фиг.12, фиг.13, фиг.14, фиг.15, фиг.16, фиг.17 и таблица 1.
Во всех вариантах способа и устройства процесс упрочнения стального изделия осуществляется только при многоканальном разряде.
Твердости, достигаемые способами упрочнения HV50 по Виккерсу
| Таблица 1 |
| Материал |
Состояние поставки |
Объемная термообработка |
ТВЧ |
Лазер (без оплавления) |
Плазменная обработка (эл. катод) |
Плазменная обработка (эл. анод) |
| Сталь У8 |
210…270 |
720 |
760 |
1000 |
900-1050 |
950-1100 |
| Сталь У10 |
220…280 |
720 |
780 |
1000 |
|
|
| Сталь ХВГ |
250…270 |
800 |
900 |
2000 |
|
|
| Сталь ШХ15 |
180…200 |
690 |
700 |
1000 |
|
|
| Сталь Ст.35 |
180 |
230 |
540 |
800 |
|
|
| Сталь 40Х |
210 |
560 |
620 |
800 |
800-1000 |
900-1100 |
| Сталь Ст.45 |
200 |
550 |
620 |
1000 |
800-1050 |
1000-1150 |
| Сталь Ст.10 |
180…190 |
400 |
|
1000 |
|
|
Формула изобретения
1. Способ упрочнения стального изделия, включающий нагрев изделия плазмой парогазового разряда между электролитическим катодом и твердым анодом, отличающийся тем, что нагрев изделия осуществляют плазменной струей многоканального парогазового разряда твердого анода и электролитического катода с напряжением 1000 U 1600 В и током разряда 1 I 6 А в течение 5 с, при этом расстояние от поверхности обрабатываемого изделия до поверхности твердого анода составляет 5 h 100, межэлектродное расстояние от нижней поверхности твердого анода до поверхности электролитического катода 2
U – напряжение многоканального разряда между твердым анодом и электролитическим катодом, В,
I – ток разряда, А,
L – расстояние между нижней поверхностью твердого анода и поверхностью электролитического катода, мм,
h – расстояние между обрабатываемым изделием и верхней поверхностью твердого анода, мм.
2. Способ упрочнения стального изделия, включающий нагрев изделия плазмой парогазового разряда между электролитическим анодом и твердым катодом, отличающийся тем, что нагрев изделия осуществляют плазменной струей многоканального парогазового разряда твердого катода и электролитического анода с напряжением 500 U 2000 В и током разряда 1,5 I 8 А в течение не менее 5 с, при этом расстояние от поверхности обрабатываемого изделия до поверхности твердого катода составляет 5 h 140, межэлектродное расстояние от нижней поверхности твердого катода до поверхности электролитического анода 2
U – напряжение многоканального разряда между твердым катодом и электролитическим анодом, В,
I – ток разряда, А,
L – расстояние между нижней поверхностью твердого катода и поверхностью электролитического анода, мм,
h – расстояние между обрабатываемым изделием и верхней поверхностью твердого катода, мм.
3. Устройство упрочнения стального изделия, содержащее твердый анод и электролитический катод с металлическим токоподводом, отличающееся тем, что твердый анод имеет со стороны электролитического катода форму усеченного конуса снаружи и центральное цилиндрическое отверстие диаметром 5
d – диаметр цилиндрического отверстия анода, мм,
L – расстояние между нижней поверхностью твердого анода и поверхностью электролитического катода, мм.
4. Устройство упрочнения стального изделия, содержащее твердый анод и электролитический катод с металлическим токоподводом, отличающееся тем, что твердый анод имеет со стороны электролитического катода форму усеченного конуса снаружи и форму цилиндра со стороны твердого анада со сплошным верхним торцом, имеющего по бокам не менее одного отверстия для выхода струи плазмы, при этом внутренний диаметр цилиндра составляет 5
d – диаметр цилиндрического отверстия анода, мм,
L – расстояние между нижней поверхностью твердого анода и поверхностью электролитического катода, мм.
5. Устройство упрочнения стального изделия, содержащее твердый катод и электролитический анод с металлическим токоподводом, отличающееся тем, что твердый катод имеет со стороны электролитического анода форму усеченного конуса снаружи и центральное цилиндрическое отверстие диаметром 5
d – диаметр цилиндрического отверстия катода, мм,
L – расстояние между нижней поверхностью твердого катода и поверхностью электролитического анода, мм.
6. Устройство упрочнения стального изделия, содержащее твердый катод и электролитический анод с металлическим токоподводом, отличающееся тем, что твердый катод имеет со стороны электролитического анода форму усеченного конуса снаружи и форму цилиндра со стороны твердого катода со сплошным верхним торцом, имеющего по бокам не менее одного отверстия для выхода струи плазмы, при этом внутренний диаметр цилиндра составляет 5
d – диаметр цилиндрического отверстия катода, мм,
L – расстояние между нижней поверхностью твердого катода и поверхностью электролитического анода, мм.
7. Устройство упрочнения стального изделия, содержащее твердый анод и электролитический катод с металлическим токоподводом, отличающееся тем, что твердый анод имеет со стороны электролитического катода форму усеченного конуса снаружи и центральное цилиндрическое отверстие диаметром 5
d – диаметр цилиндрического отверстия анода, мм,
L – расстояние между нижней поверхностью твердого анода и
L – расстояние между нижней поверхностью твердого анода и поверхностью проточного электролитического катода, мм.
8. Устройство упрочнения стального изделия, содержащее твердый катод и электролитический анод с металлическим токоподводом, отличающееся тем, что твердый катод имеет со стороны электролитического анода форму усеченного конуса снаружи и центральное цилиндрическое отверстие диаметром 5
d – диаметр цилиндрического отверстия катода, мм,
L – расстояние между нижней поверхностью твердого катода и поверхностью электролитического анода, мм.
РИСУНКИ
|