|
|
(21), (22) Заявка: 2006134141/02, 25.09.2006
(24) Дата начала отсчета срока действия патента:
25.09.2006
(43) Дата публикации заявки: 10.04.2008
(46) Опубликовано: 10.10.2008
(56) Список документов, цитированных в отчете о поиске:
RU 2271869 С2, 20.03.2006. RU 2270724 С2, 27.10.2005. SU 1210879 А, 15.02.1986. RU 2003130016 А, 10.04.2005. JP 1104357 А, 21.04.1989.
Адрес для переписки:
300903, г.Тула, пос. Косая Гора, ул. Ген. Горшкова, 20, кв.5, Е.Ф.Лингарту
|
(72) Автор(ы):
Лингарт Евгений Федорович (RU)
(73) Патентообладатель(и):
Лингарт Евгений Федорович (RU)
|
(54) ПЫЛЕУЛОВИТЕЛЬ
(57) Реферат:
Изобретение относится к черной металлургии, в частности к очистке колошникового газа доменных печей. Пылеуловитель содержит цилиндроконический корпус с патрубком для поступления пылегазовой смеси, выполненный с диффузором из неферромагнитного материала и с патрубками для вывода газа и выпуска пыли, электромагнитную систему улавливания пыли с магнитопроводами, ячеистым сердечником, упорными ребрами. В цилиндроконическом корпусе пылеуловителя выполнено монтажное окно, через которое установлены газовый затвор и направляющий пыль конус. Газовый затвор выполнен в виде трубы с фланцами, прикрепленной к верхнему цилиндроконическому торцу корпуса, и опорного конуса с фланцами, прикрепленного к цилиндру корпуса пылеуловителя. Направляющий пыль конус прикреплен к опорному конусу. Электромагнитная система улавливания пыли с магнитопроводами, ячеистым сердечником и упорными ребрами смонтированна на цилиндре с фланцами на стенде и в сборе установлена между фланцами трубы и опорного конуса. Использование изобретения позволяет уменьшить габариты пылеочистного оборудования, упростить его сборку и монтаж на современных пылеуловителях доменных печей. 2 ил.
Изобретение относится к черной металлургии, а именно к очистке колошникового газа доменных печей.
Известен пылеуловитель сухой очистки в виде вертикального резервуара с коническими торцами, патрубками для поступления пылегазовой смеси, вывода газа для тонкой очистки и выпуска пыли (1). Эффективность осаждения пыли в этом пылеуловителе 50-80%, что является его существенным недостатком.
Наиболее близким по технической сущности к предлагаемому изобретению является пылеуловитель, включающий цилиндроконический корпус с патрубками для поступления пылегазовой смеси, вывода очищенного газа и выпуска пыли, электромагнитную систему улавливания пыли, ячеистый сердечник из ферромагнитного материала, упорные ребра для монтажа электромагнитной системы, ячеистого сердечника и фиксации их положения в пространстве, патрубок для поступления пылегазовой смеси выполнен с диффузором из неферромагнитного материала, нижняя часть которого расположена на уровне низа магнитопроводов и ячеистого сердечника (2).
Недостатком этого пылеуловителя является сложность изготовления, монтажа и эксплуатации крупногабаритных электромагнитной системы улавливания пыли с магнитопроводами, ячеистого сердечника, упорных ребер и диффузора на пылеуловителях современных мощных доменных печей.
Технической задачей предлагаемого изобретения является снижение габаритов оборудования, объединение его в блок улавливания пыли, монтируемый на отдельном стенде, упрощение его монтажа на пылеуловителе и замены на ремонте.
Поставленная цель достигается тем, что на отдельном стенде монтируют блок улавливания пыли в составе цилиндра с фланцами, установленной на нем электромагнитной системы с магнитопроводами, упорных ребер и ячеистого сердечника из ферромагнитного материала. В цилиндроконическом корпусе выполнено монтажное окно, через которое монтируют верхний торец с фланцем и нижний опорный конус с фланцем, прикрепленные к корпусу пылеуловителя.
Блок улавливания пыли в сборе, установленный между фланцами верхнего торца и нижнего опорного конуса, выполняет также роль газового затвора.
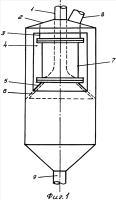
Предлагаемое устройство показано на фиг.1 и 2 и состоит из цилиндроконического корпуса 2 с патрубками 1, 8, 9 с монтажным окном 4, верхним торцом 3 с фланцем, нижним опорным конусом 5 с фланцем, к которому прикреплен направляющий пыль конус 6. Через монтажное окно 4 устанавливают блок питания 7, который показан на фиг.2 и включает цилиндр 10 с фланцами, электромагнитную систему 11 с магнитопроводами 12 и 13, упорные ребра 14, ячеистый сердечник 15 и патрубок 1 с диффузором.
Предлагаемое устройство действует следующим образом.
Пылегазовая смесь поступает по патрубку 1 с диффузором в пылеуловитель и направляется в зазор между ячеистым сердечником 15, магнитопроводом 13 и цилиндром 10. Пыль осаждается в результате снижения скорости в пылеуловителе, изменения направления газового потока и осаждения пыли электромагнитной системой 11. Очищенный газ выходит через патрубок очищенного газа 8. Уловленная пыль накапливается в нижнем коническом торце и периодически выпускается через патрубок 9.
Использование изобретения позволит выполнить сборку части оборудования на стенде и упростить монтажные работы на пылеуловителе.
Источники информации
1. Справочник «Доменное производство» под ред. И.П.Бардина. Москва, 1963 г., том 2, стр. 218.
2. Патент RU 2271869 C2,20.03.06.
Формула изобретения
Пылеуловитель, включающий цилиндроконический корпус с патрубком для поступления пылегазовой смеси, выполненный с диффузором из неферромагнитного материала, и с патрубками для вывода газа и выпуска пыли, электромагнитную систему улавливания пыли с магнитопроводами, ячеистым сердечником, упорными ребрами, отличающийся тем, что в цилиндроконическом корпусе пылеуловителя выполнено монтажное окно, через которое установлены газовый затвор и направляющий пыль конус, причем газовый затвор выполнен в виде трубы с фланцами, прикрепленной к верхнему цилиндроконическому торцу корпуса, и опорного конуса с фланцами, прикрепленного к цилиндру корпуса пылеуловителя, а направляющий пыль конус прикреплен к опорному конусу, при этом электромагнитная система улавливания пыли с магнитопроводами, ячеистым сердечником и упорными ребрами, смонтированная на цилиндре с фланцами, на стенде в сборе установлена между фланцами трубы и опорного конуса.
РИСУНКИ
TZ4A – Поправки к описаниям изобретений
Часть описания, где обнаружена ошибка: Текст описания, страница 2, строка 33
Напечатано: устанавливают блок питания 7, 
Следует читать: устанавливают блок улавливания пыли 7, 
Номер и год публикации бюллетеня: 28-2008
Извещение опубликовано: 10.04.2010 БИ: 10/2010
|
|