|
|
(21), (22) Заявка: 2006139804/03, 13.11.2006
(24) Дата начала отсчета срока действия патента:
13.11.2006
(43) Дата публикации заявки: 20.05.2008
(46) Опубликовано: 10.10.2008
(56) Список документов, цитированных в отчете о поиске:
RU 2214982 C2, 27.10.2003. SU 614071 A1, 05.07.1978. SU 341288 A1, 15.10.1993. SU 1791028 A1, 30.01.1993. DE 2628412 A, 27.01.1977.
Адрес для переписки:
309530, Белгородская обл., г.Старый Оскол, станция Котел, промузел , площадка “Складская”, пр-д М-3, д.3 (ООО “Бентопром”)
|
(73) Патентообладатель(и):
Общество с ограниченной ответственностью “Бентопром” (ООО “Бентопром”) (RU)
|
(54) СПОСОБ ПОЛУЧЕНИЯ ГЛИНОПОРОШКОВ И ТЕХНОЛОГИЧЕСКАЯ ЛИНИЯ ДЛЯ ЕГО ОСУЩЕСТВЛЕНИЯ
(57) Реферат:
Изобретение относится к технологии получения глинопорошков максимально высокого качества для буровых растворов, формовочных смесей и железорудных окатышей и может быть использовано для приготовления буровых растворов, адсорбентов и носителей, для катализаторов на основе глин, для очистки нефтепродуктов масел, соков, а также в других областях использования глинопорошка. Техническим результатом изобретения является повышение производительности процесса и получение глинопорошков с высоким качеством. Способ получения глинопорошков из глины бентонитовой, палыгорскитовой или каолиновой включает подготовку глинистого сырья до заданной влажности и размера, предварительный помол, после которого сырье усредняется по размеру не более 15 мм. Затем проводят сушку в горизонтально расположенном цилиндрическом сушильном барабане в режиме вращения и прямоточном движении потока теплоносителя. Сушку осуществляют в потоке теплоносителя, поступающем со скоростью не более 800 м3/ч, и температурой на входе и выходе сушильного барабана соответственно 140-150°С и 60-70°С при объеме подачи сырья не более 4-6 т/час. Используют сушильный барабан длиной, обеспечивающей перепад температуры по длине 2,8-3,0°С/м. Полученный продукт с влажностью не менее 9-10% подвергают дроблению до размера зерен не более 5 мм, отсеивают порошок с размером зерен не более 2,6 мм и подвергают его дезинтегрированию на высокоскоростном дезинтеграторе с последующим усреднением его до тонины помола готового продукта путем дополнительного измельчения, а остаток после отсеивания подвергают дополнительному трехступенчатому измельчению до получения тонины помола готового продукта. Предлагается также технологическая линия для осуществления способа. 2 н. и 6 з.п. ф-лы, 1 табл., 1 ил.
Изобретение относится к технологии получения глинопорошков максимально высокого качества для буровых растворов, формовочных смесей и железорудных окатышей и может быть использовано для приготовления буровых растворов, адсорбентов и носителей, для катализаторов на основе глин, для очистки нефтепродуктов масел, соков, а также в других областях использования глинопорошка.
В настоящее время накоплен достаточный опыт по приготовлению глинопорошков, с учетом свойств любых разновидностей глин. Однако, в ряде случаев, технологии производства в той или иной мере отрицательно влияют на природные свойства порошкообразных глин, ухудшая их физические свойства: набухание, способность к диспергированию в воде, а глинистые растворы по структурно-механическим свойствам уступают растворам из глины естественной влажности. Отрицательное влияние технологии производства порошков можно до некоторой степени избежать при правильном выборе и строгом соблюдении оптимальных режимов сушки, величины остаточной влажности и тонкости помола, а иногда при дополнительном введении и в глинопорошок химических реагентов.
Одной из ранних технологий приготовления глинопорошков является получение их путем гидратации подсушенной глины в воде с последующей сушкой продукта в потоке дымовых газов в распылительной сушилке [Белопольский М.С. Сушка керамических суспензий в распылительных сушилках. М.: Стройиздат, 1972, с.20-30] или приготовления глинопорошков автоклавированием водной суспензии глины с последующей распылительной сушкой полученной суспензии [Авторское свидетельство СССР 717119, кл. С09К 7/00, 1980].
Недостатком названных технологий являются большие энергетические затраты на приготовление глинопорошка, невысокое их качество и нестабильность свойств полученных глинопорошков.
Известен способ приготовления глинопорошка из глины бентонитовой, палыгорскитовой или каолиновой путем механической активации дезинтегрированием и дополнительной термической активации газообразным теплоносителем путем термического удара при температуре теплоносителя 150-550°С и скоростях нагрева от 100 до 1000 градусов в секунду [Патент РФ №2209824, С04В 33/04, опубл. 2003.08.10].
Исходную глину подсушивают до влажности 8-16 мас.%, затем глину подвергают дроблению на щековой мельнице. Размер частиц глины после дробления составляет от 1 мм до 2 см. Дробленую глину подвергают дезинтегрированию на высокоскоростном дезинтеграторе. После дезинтегрирования глинопорошок подвергают термической активации путем подачи глинопорошка в поток газообразного теплоносителя. Взаимодействие между глинопорошком и газообразным теплоносителем осуществляется в режиме пневмотранспорта. Температура газообразного теплоносителя составляет от 150 до 550°С. При температурах термической активации менее 150°С не происходит теплового удара для частиц глинопорошка и их качество остается без изменения. При температурах термической активации более 550°С происходит значительная дегидратация частиц глинопорошка и их качество ухудшается. Время контакта между газообразным теплоносителем и глинопорошком выдерживают от 0.1 до 10 секунд в зависимости от скорости подачи и температуры теплоносителя. В качестве газообразного теплоносителя используют дымовые газы, предварительно нагретый воздух или инертный газ.
Недостатком данного способа являются большие энергетические затраты на приготовление глинопорошков и недостаточно высокое их качество, за счет неоднородного фракционного состава получаемого продукта и нестабильности показателей влажности продукта. Более того, проведение термической активации глины при столь высоких температурах зачастую приводит к пережогу глины, ухудшая ее качество.
Известен способ получения бентонитового порошка, заключающийся в том, что комовую глину после предварительно грубого дробления до размера 50-100 мм подсушивают в сушильных барабанах до остаточной влажности 15-45%, затем измельчают помолом в мельнице до получения частиц порошка – 0,15-0,25 мм. При этом помол дробленой бентонитовой глины производят одновременно по времени с подачей в зону помола потока горячего воздуха, имеющего скорость потока 1000-100000 м3/ч и нагретого до температуры 80-300°С. Скорость подачи сырья – 2-35 т/час в зависимости от используемого оборудования, пригодного для одновременного помола и сушки глинистого сырья. Скорость и температура воздушного потока определяется остаточной влажностью бентонитового порошка 6-15%. Указанный поток, проходя через зону помола, обеспечивает сушку бетонитового порошка и вынос из мельницы измельченного и высушенного до влажности 6-15% бентонитового порошка [Патент РФ №2214982, С04В 33/04, опубл. 2003.10.27].
Сушка и помол бентонита может осуществляться в мельницах ударного типа молотковых, шаровых, ролико-маятниковых и штифтовых, которые можно продувать горячими газами для сушки и выноса измельченного бентонита.
Согласно известной технологии за счет совмещения операций помола, сушки и выноса обеспечивается сокращение времени получения бентонитового порошка, однако при отсутствии надлежащего контроля не всегда получается глинопорошок высокого качества, т.к. при влажности более 15% бентонитовый порошок склонен к слеживанию и комкованию, что затрудняет его пневмотранспортировку и использование. Недостатком является также то, что в процессе сушки в сушильном барабане время пребывания в нем больших и мелких частиц практически одинаково, вследствие чего мелкие частицы бентонитовой глины пересушиваются, что приводит к снижению качества глины. Более того, в зону помола подается атмосферный воздух для осуществления струйного дробления глины за счет создания воздушных завихрений и перемешивания кусков, что приводит к большому расходу воздуха, кроме того процесс длителен по времени.
Заводские технологические способы производства глинопорошков однотипны, а технологическая последовательность операций примерно следующая.
Поступившую на склад карьерную глину подают в бункер глинорезательной машины, где она подвергается предварительному грубому измельчению, затем измельчению и усреднению до размера 25 мм и далее глина поступает в сушильный барабан с прямоточным или противоточным движением нагретых газов. Температура топочных газов, поступивших в барабан, 700-800°С, влажность глины, поступившей на сушку, колеблется в пределах 20-23%, скорость движения газов – 1,5-1,8 сек. Температура горячей камеры поддерживается на уровне 500-600°С, температура газов на выходе из барабана – 100-180°С, влажность глины после сушильного барабана – 4-5%. Глина, загружаемая на сушку, при вращении барабана пересыпается и перемещается к выходу вдоль оси. Как правило, используется барабан длиной не более 12 м, установленный под углом 2-5°. Высушенную глину подвергают измельчению до размера частиц 4-5 мм, для этого ее перемещают в дезинтегратор, после чего она подвергается дополнительному помолу в мельницах.
Согласно изложенному способу получают глинопорошки с преимущественным содержанием в его составе фракции от 0,1 до 0,25 мм и влажностью 4-5%.
Технологическая линия по производству глинопорошков по вышеуказанной технологии характеризуется наличием в технологической последовательности следующего: отделения по подготовке сырья, включающего помещение сортировки глины (складские помещения), глинорезательную машину, в качестве которой используют стругач и зубчатую дробилку. Далее глина элеватором направляется в сушильный барабан, к которому примыкают на входе камера смешения воздуха и топочных газов и топка, и разгрузочная камера на выходе. Высушенную глину перемещают в дезинтегратор, а для окончательного помола она поступает в ролико-маятниковую мельницу и направляется вентилятором или другими транспортными средствами в бункер готовой продукции [П.И.Денисов, Е.Ф.Жванецкий, «Производство и применение глинопорошков в бурении», Москва, «Недра» 1964, с.34-36, 39-43 (прототип)].
Получают глинопорошки с указанными выше свойствами.
Недостатком указанной технологии и технологической линии является невысокое качество получаемых глинопорошков, обусловленное рядом факторов, начиная с некачественной подготовки сырья до поступления в сушильный барабан, где глина просушивается неравномерно, высокой температурой сушки в сушильном барабане, дающей пережог глины и соответственно снижение качества получаемых глинопорошков. Более того, недостаточная тонина помола также приводит к снижению качества глинопорошков и буровых растворов.
Задача, решаемая настоящим техническим решением, заключается в повышении производительности процесса и получении глинопорошков с максимально высоким и стабильным их качеством.
Поставленная задача решается тем, что в способе получения глинопорошков из глины бентонитовой палыгорскитовой или каолиновой, включающем подготовку глинистого сырья до заданной влажности и размера, предварительный помол, сушку его в горизонтально расположенном цилиндрическом сушильном барабане в режиме вращения и прямоточном движении потока теплоносителя и окончательный помол глинопорошка на дезинтеграторе, на сушку подают сырье, усредненное по размеру не более 15 мм, сушку осуществляют в потоке теплоносителя, поступающем со скоростью не более 800 м3/ч, и температурой на входе и выходе сушильного барабана соответственно 140-150°С и 60-70°С при объеме подачи сырья не более 4-6 т/час, при этом используют сушильный барабан длиной, обеспечивающей перепад температуры по длине 2,8-3,0°/м. Полученный продукт с влажностью не менее 9-10% подвергают дроблению до размера зерен не более 5 мм, отсеивают порошок с размером зерен не более 2,6 мм и подвергают его дезинтегрированию на высокоскоростном дезинтеграторе с последующим усреднением его до тонины помола готового продукта путем дополнительного измельчения, а остаток после отсеивания подвергают дополнительному трехступенчатому измельчению до получения тонины помола готового продукта.
Обычно используют сушильный барабан длиной не менее 25 м, а сушку осуществляют при угле наклона и скорости вращения сушильного барабана соответственно 2-5° и 2-5 об/м.
Поставленная задача решается также созданной технологической линией по производству глинопорошков, которая характеризуется наличием установленных в технологической последовательности отделения подготовки глинистого сырья, включающего помещение подготовки глины до заданной влажности и блок предварительного дробления сырья, узла сушки, включающего цилиндрический сушильный барабан, снабженный на входе теплогенератором и загрузочной камерой и разгрузочной камерой на выходе, и системы окончательного измельчения глинопорошка до тонины помола готового продукта, включающего дезинтегратор. Технологическая линия дополнительно снабжена блоком управления режимом сушки, учитывающим показания датчиков контроля режимом сушки, и блоком промежуточного измельчения и классификации высушенного сырья до размера не более 2,6 мм, размещенным после сушильного барабана и включающим молотковую дробилку, блок бункеров-накопителей, снабженных дозатором, и сито, а система окончательного измельчения глинопорошка включает соединенный с ситом дезинтегратор и первую вибромельницу и дополнительно снабжена последовательно установленными и соединенными с ситом валковой дробилкой, второй вибромельницей и грохотом, при этом блок предварительного дробления сырья включает пластинчатый питатель и молотковую дробилку.
Блок управления режимом сушки включает комплект датчиков, контроллер сбора информации, исполнительный механизм, при этом в качестве датчиков контроля режимом сушки использованы датчики контроля подачи газ/воздух в камеру сгорания, контроля температуры и разрежения в сушильном барабане на его входе и выходе, скорости вращения барабана, объема подаваемого сырья в сушильный барабан.
Обычно патрубки подвода теплоносителя расположены соосно сушильному барабану по его торцу, сушильный барабан выполнен длиной не менее 25 м и установлен под углом 2-5°.
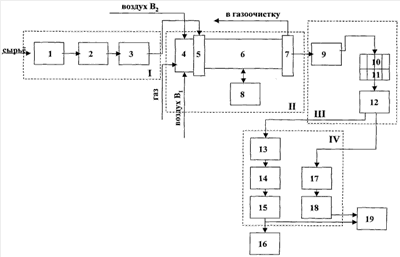
На чертеже представлена общая схема технологической линии по производству глинопорошков, включающая I – отделение подготовки глинистого сырья, II – узел сушки глинопорошков, III – промежуточную систему по измельчению и классификации высушенного сырья и систему окончательного измельчения полученного продукта до состояния его готовности – IV.
Отделение подготовки глинистого сырья I включает помещение активации и сортировки глины 1, пластинчатый питатель 2, аппарат по измельчению и усреднению сырья 3, в качестве которого может быть использована валковая дробилка. Далее конвейером (на схеме не показан) усредненная до размера зерна не более 15 мм глина подается в узел сушки глинопорошков II. Последний включает сушильную камеру 6 с камерами загрузки 5 и разгрузки 7 и теплогенератором 4 и блок управления режимом сушки 8.
Промежуточная система измельчения и классификации высушенного сырья III включает: молотковую дробилку 9, размещенную после сушильной камеры 6, далее последовательно установлены блок бункеров-накопителей 10 с дозаторами 11 и сито 12.
Система окончательного измельчения полученного продукта до состояния его готовности – IV включает: валковую дробилку 13, на которую поступает глиняная крупка после сита 12 с размером зерен более 2,6 мм, вибромельницу 14, грохот 15 и бункер отсева 16, дезинтегратор 17, на который поступает глинопорошок после прохождения сита 12 с размером зерен более 2,6 мм, вторую вибромельницу 18, на которую поступает глинопорошок из дезинтегратора 17. Готовый продукт собирают в бункер 19.
Схема предусматривает непрерывную систему обеспыливания, обеспечивающую полную очистку воздушных потоков установки через систему рукавных фильтров и дымососы (на схеме не показаны).
Технологическая линия работает следующим образом.
Глинистое сырье карьерной влажности – 23-25% проходит традиционный путь его подготовки в отделении I подготовки сырья: перемешивания его с содой в течение 2-3 дней при использовании бентонитовой глины или предварительное вылеживание с перелопачиванием при использовании других видов сырья. Затем глина дробится до однородного фракционного состава в пластинчатом питателе 2 емкостью 35 м3 с бесступенчатой регулировкой и производительностью до 20 т/час и затем в молотковой дробилке (1500 об/мин), где полученное сырье усредняется по размеру зерен не более 15 мм. Влажность последнего до 23-25%. Влажность глинопорошка и размер зерна являются основными параметрами, контролируемыми в заявляемом технологическом процессе получения глинопорошков. Затем сырье равномерно подается конвейером (на схеме не показан) со скоростью 4-6 т/час в узел сушки II в сушильный барабан 6, через который проходит теплоноситель со скоростью не менее 800 м3/час и температурой 140°С на входе воздухораспределителя. Сушильный барабан установлен под углом 2-5°, регулируется по скорости вращения от 2-х до 5 об/мин в зависимости от влажности глины на выходе из барабана. Угол наклона барабана регулируется в зависимости от плотности сырья.
В течение примерно 30 мин глина проходит расстояние 25 м (длина сушильного барабана) с перепадом температур от 140-150° на входе и 70° на выходе в разгрузочной камере 7, т.е. перепад температур – 2,5-3°/м. В сушильном барабане за счет его длины и подачи горячего воздуха из теплогенератора, работающего на природном газе, создаются очень мягкие условия для сушки глины, исключив ее пережигание. При этом предварительно раздробленное сырье сушится в тепловом потоке, проходит дополнительную активацию в парах воды в первой половине сушильного барабана и подвергается дополнительному помолу и механоактивации за счет истирания частиц о внутреннюю поверхность трубы-сушилки и соударения их друг с другом.
Горячий поток воздуха для сушки создается теплогенератором 4 при сгорании природного газа и подачи первичного воздуха B1 и подается воздухораспределителем с 8-ю патрубками, установленными соосно сушильному барабану. При необходимости поток разбавляется вторичным воздухом. Нужное соотношение горячего и холодного воздуха регулируется блоком управления 8. Производительность сушильного барабана 5-20 т/час, в зависимости от вида сырья. Целесообразно загружать сырье в количестве порядка 5 т, за счет этого достигается высокое усреднение материала по влажности. Более того, за счет изменения скорости вращения барабана, поддержания стабильной температуры на входе и выходе сушильного барабана блоком управления возможно достижение требуемой влажности глины с большой точностью до 0,5%. За счет высокой степени автоматизации поддержания режима сушки гарантируется получение глинопорошка со стабильной конечной влажностью 9-10%. Разрежение в сушильном барабане создается регулируемыми по производительности дымососами с очисткой выталкиваемого из барабана запыленного воздуха системой рукавных фильтров со степенью очистки 99,9%.
Установленный блок управления режимом сушки 8 включает комплект датчиков, контроллер «СИМАТИК S-7» для сбора информации, ее обработки и выработки управляющих действий, исполнительный механизм, пульт дистанционного управления. Блок управления работает по специально разработанному программному обеспечению, получает и обрабатывает данные с датчиков подачи газ/воздух в загрузочную камеру, контроля разрежения в сушильном барабане и перед ним, контроля температуры на входе в сушильный барабан и разгрузочной камере, контроля скорости вращения аппарата и объема подаваемого в сушильный барабан сырья, логически обрабатывает их и изменяет в случае необходимости параметры протекающих процессов, оптимизируя их. При невозможности восстановления параметров срабатывает автоматическая система защиты, воздействуя на клапан отсечки природного газа. Это позволяет в значительной степени автоматизировать процесс на основном производственном участке – сушки сырья, снизить трудоемкость процесса и значительно повысить качество получаемых глинопорошков.
Дополнительно в технологической системе установлены приборы контроля давления газа и воздуха и их расхода, газоанализаторы для анализа отходящих газов СО, СО2 и NO2.
После сушки глина поступает в молотковую дробилку 9 (скорость 3000 об/мин), где усредняется до размера зерен до 3-5 мм и менее, собирается в бункерах-накопителях 10, их которых поступает на сито 12 с диаметром отверстий 2,6 мм для отделения крупных и трудно измельчаемых частиц. На выходе бункеров-накопителей имеются дозаторы 11 глины, обеспечивающие заданную и равномерную подачу глины на дальнейшую переработку, создающие возможность выработки порошка из любой привозной глины и позволяющие модифицировать глинопорошки в соответствии с задаваемыми требованиями.
Фракция с размером менее 2,6 мм направляются на дезинтегратор 17, работающий с 1500 об/мин. В дезинтеграторе порошок измельчается неоднородно, в получаемом материале существует большой разброс частиц от 0,1 мм до более тонкого размера, однако неоднородность материала также способствует его дополнительной механической деактивации. Полученный глинопорошок с размером частиц 0,07-0,1 мм направляют на вибромельницу 18, где он доводится до требований к готовому продукту: размеру частиц – менее 0,07 мм и влажности 9-10%.
Глинистые частицы – крупка – после сита 12 с размером более 2,6 мм подвергаются далее трехступенчатому измельчению на валковой дробилке 13, затем на второй вибромельнице 14 и грохоте 15 до состояния 0,03 мм – пыль.
Получают высококачественные глинопорошки класса «А», производительность линии может быть увеличена до 20 т/час в зависимости от производительности установленных помольных агрегатов.
Пример 1.
Бентонитовую глину Дашсалахлинского месторождения в количестве 5 т активирует 100 кг (2%) соды, выдерживают в закрытом помещении 2-3 дня при перемешивании, исходная влажность глины 20-23%.
Далее глина дробится и усредняется по размеру в питателе и дробилке до размера зерен 13-15 мм, подается конвейером со скоростью 5 т/час в сушильную камеру. В камеру одновременно подают горячий с температурой 140°С воздух со скоростью 700 м3/час. Происходит сушка глины, получают глинопорошок с влажностью 10%. Глинопорошок дополнительно дробят в молотковой дробилке, просеивают, фракцию менее 2,6 мм направляют на дезинтегратор и вибромельницу, остаток на сите направляют на дополнительный помол на валковой дробилке, вибромельнице и грохоте. Получают 4350 кг готового продукта. Характеристика полученного бентопорошка указана в таблице.
Пример 2
Аналогично примеру 1 получают глинопорошок из глины о.Милос, Греция, исходная влажность 16%.
Характеристика полученного глинопорошка указана в таблице.
| Фракционный состав, мас.% |
Влажность, % |
600 показатель вязкости |
выход бурового раствора, м3/т |
| Пример № 1 |
|
|
|
|
| менее 0,063 |
-98 |
10 |
>30 ед. |
21 |
| от 0,063 до 0,1 мм |
-2 |
|
|
|
| от 0,1 до 0,25 |
-0 |
|
|
|
| более 0,25 |
-0 |
|
|
|
| Пример 2 |
|
|
|
|
| менее 0,063 |
-98 |
9,8 |
>35 ед. |
25,5 |
| от 0,063 до 0,1 мм |
-2 |
|
|
|
| от 0,1 до 0,25 |
-0 |
|
|
|
| более 0,25 |
-0 |
|
|
|
Заявленная технология и технологическая линия обеспечивают возможность стабильного высокопроизводительного процесса получения механоактивированного порошка из различных видов глинистого сырья.
Предложенная технология позволяет сохранить и улучшить природные свойства глинистого сырья, получать глинопорошки с гарантированным их качеством, влажность порошков контролируется в пределах ±0,5%, отказаться от воздушного классифицирования готового продукта, что позволяет снизить энергозатраты производства.
Формула изобретения
1. Способ получения глинопорошков из глины бентонитовой, палыгорскитовой или каолиновой, включающий подготовку глинистого сырья до заданных влажности и размера, предварительный помол, сушку его в горизонтально расположенном цилиндрическом сушильном барабане в режиме вращения и прямоточном движении потока теплоносителя и окончательный помол глинопорошка на дезинтеграторе, отличающийся тем, что на сушку подают сырье, усредненное по размеру не более 15 мм, сушку осуществляют в потоке теплоносителя, поступающем со скоростью не более 800 м3/ч, и температурой на входе и выходе сушильного барабана соответственно 140-150°С и 60-70°С при объеме подачи сырья не более 4-6 т/ч, при этом используют сушильный барабан длиной, обеспечивающей перепад температуры по длине 2,8-3,0 град./м, полученный продукт с влажностью не менее 9-10% подвергают дроблению до размера зерен не более 5 мм, отсеивают порошок с размером зерен не более 2,6 мм и подвергают его дезинтегрированию на высокоскоростном дезинтеграторе с последующим усреднением его до тонины помола готового продукта путем дополнительного измельчения, а остаток после отсеивания подвергают дополнительному трехступенчатому измельчению до получения тонины помола готового продукта.
2. Способ по п.1, отличающийся тем, что используют сушильный барабан длиной не менее 25 м.
3. Способ по п.1, отличающийся тем, что сушку осуществляют при угле наклона и скорости вращения сушильного барабана соответственно 2-5° и 2-5 об./м.
4. Технологическая линия по производству глинопорошков, характеризующаяся наличием установленных в технологической последовательности отделения подготовки глинистого сырья, включающего помещение подготовки глины до заданной влажности, и блок предварительного дробления сырья, узла сушки, включающего цилиндрический сушильный барабан, снабженный на входе теплогенератором и загрузочной камерой и разгрузочной камерой на выходе, и системы окончательного измельчения глинопорошка до тонины помола готового продукта, включающей дезинтегратор, отличающаяся тем, что технологическая линия дополнительно снабжена блоком управления режимом сушки, учитывающим показания датчиков контроля режимом сушки, и блоком промежуточного измельчения и классификации высушенного сырья до размера не более 2,6 мм, размещенным после сушильного барабана и включающим молотковую дробилку, блок бункеров-накопителей, снабженных дозаторами, и сито, а система окончательного измельчения глинопорошка включает соединенный с ситом дезинтегратор и первую вибромельницу и дополнительно снабжена последовательно установленными валковой дробилкой, второй вибромельницей и грохотом, соединенными с ситом, при этом блок предварительного дробления сырья включает пластинчатый питатель и молотковую дробилку.
5. Устройство по 4, отличающееся тем, что блок управления режимом сушки включает комплект датчиков, контроллер сбора информации, исполнительный механизм.
6. Устройство по 4, отличающееся тем, что в качестве датчиков контроля режимом сушки использованы датчики контроля подачи газ/воздух в камеру сгорания, контроля температуры и разрежения в сушильном барабане на его входе и выходе, скорости вращения барабана, объема подаваемого сырья в сушильный барабан.
7. Устройство по 4, отличающееся тем, что сушильный барабан выполнен длиной не менее 25 м.
8. Устройство по 4, отличающееся тем, что сушильный барабан установлен под углом 2-5°.
РИСУНКИ
|
|