|
|
(21), (22) Заявка: 2007116397/15, 02.05.2007
(24) Дата начала отсчета срока действия патента:
02.05.2007
(46) Опубликовано: 10.10.2008
(56) Список документов, цитированных в отчете о поиске:
RU 2224722 С1, 27.02.2004. SU 1468867 A1, 30.03.1989. SU 882944 A1, 23.11.1981. SU 1634643 A1, 15.03.1991. GB 2253860 A, 23.09.1992.
Адрес для переписки:
400012, г.Волгоград, 12, ГСП, ул. Трехгорная, 21, ГНУ ПНИИЭМТ, В.Г. Абезину
|
(72) Автор(ы):
Абезин Валентин Германович (RU), Карпунин Василий Валентинович (RU), Лагутин Анатолий Николаевич (RU), Порываева Надежда Ивановна (RU), Галактионов Александр Геннадьевич (RU)
(73) Патентообладатель(и):
Государственное научное учреждение Поволжский научно-исследовательский институт эколого-мелиоративных технологий Российской академии сельскохозяйственных наук (RU)
|
(54) ЭЛЕКТРОАКТИВАТОР ДЛЯ ВОДЫ
(57) Реферат:
Изобретение относится к электрохимической обработке воды, используемой для питьевых целей, в промышленности и сельском хозяйстве. Электроактиватор содержит корпус из диэлектрического материала, разделенный перегородкой на анодную и катодную камеры с размещенными в них анодом и катодом, и снабжен трубопроводами для раздельного отвода обработанной воды с отрицательным и положительным потенциалом. Катод и анод выполнены из перфорированного и изогнутого в виде змеевика отрезка трубы круглого сечения из коррозионностойкой нержавеющей стали, диаметр перфорированных отверстий составляет 0,01-0,5 мм, при этом на верхней крышке корпуса установлены шины для подвода положительного и отрицательного потенциала, имеющие электрический контакт с анодом и катодом. Подводящие и отводящие трубопроводы снабжены регуляторами расхода, перегородка между камерами выполнена из микропористой пластмассы. 3 ил.
Изобретение относится к электрохимической обработке воды, используемой для питьевых целей, в промышленности, медицине, микроэлектронике, лазерной технике и орошении сельскохозяйственных культур в системах капельного орошения с регулированием окислительно-восстановительных свойств для обеспечения возможности повышения биологической активности и оптимальных условий произрастания сельскохозяйственных культур с целью получения максимальной урожайности.
Известен электролизер для обработки воды, содержащий корпус, разделенный диафрагмой на анодную и катодную камеры с размещенными в них перфорированными электродами, прижатыми к диафрагме, при этом поверхность электродов, обращенная к диафрагме, покрыта электроизоляционным материалом, а перфорация электродов выполнена соосно (SU, авторское свидетельство №882944).
К недостаткам известного устройства относятся низкая производительность, отсутствие возможности получения непрерывного потока активированной воды, а также отсутствие возможности регулирования количества воды с отрицательным и положительным потенциалом.
Известно также устройство для электрохимической обработки жидкости, содержащее диэлектрический корпус, разделенный диафрагмой на анодную и катодную камеры с размещенными в них соответственно анодом и катодом, подключенным к источнику постоянного тока, при этом электродные камеры соединены переточным каналом, вход которого расположен в катодной камере у ее дна вблизи диафрагмы, а выход – в анодной камере у верхнего края электрода, причем в канале у его концов установлены сетчатые электроды, соединенные с дополнительным источником постоянного тока так, что сетчатый электрод у входа канала является катодом, а у выхода – анодом, и отрицательный полюс дополнительного источника тока соединен с положительным полюсом основного, а переточный канал выполнен в корпусе устройства (SU, авторское свидетельство №1634643).
К недостаткам данного устройства относятся повышенные энергозатраты на обработку воды из-за того, что часть электроэнергии непроизводительно тратится на электролиз прослойки воды, находящейся между электродами, низкая производительность устройства, невозможность получения непрерывного потока активированной воды, отсутствие возможности регулирования расхода воды с отрицательным и положительным потенциалом.
Известен электролизер для обработки воды, включающий корпус, разделенный диафрагмой на анодную и катодную камеры с размещенными в них анодом и катодом, при этом на поверхности электродов со стороны межэлектродного пространства установлены вертикальные ребра, прижимающие диафрагму к поверхности противоположного электрода, причем на аноде и катоде ребра установлены в чередующемся порядке и выполнены из токопроводящего материала (SU, авторское свидетельство №1468867).
К недостаткам этого устройства относятся сложность конструкции, отсутствие возможности регулирования расхода воды, протекающей через катодные и анодные камеры, и создания заданного отрицательного и положительного потенциала подаваемой воде на орошение, а также возможности смешивания католита и анолита в заданной пропорции, обеспечивающей оптимальные условия для роста и развития растений, а также использования для других целей.
Наиболее близким аналогом к заявленному объекту относится установка для электрохимической активации оросительной воды, преимущественно для систем капельного орошения, содержащая корпус, разделенный перегородками на анодные и катодные камеры с размещенными в них анодами и катодами и снабженные патрубками для раздельного отвода обработанной воды с отрицательным и положительным потенциалами, при этом катодные и анодные камеры разделены полупроницаемыми перегородками в виде гофр, выполненными в вертикальной плоскости с высотой, равной расстоянию между катодом и анодом, при этом катодные и анодные камеры размещены в диэлектрическом корпусе и снабжены общим водоподводящим трубопроводом, а патрубки для отвода воды снабжены вентилями для изменения величины расхода активированной воды (RU, патент №2224722).
К недостаткам данной установки относятся повышенные затраты электрической энергии и низкая эффективность электрохимической обработки из-за ламинарного потока обрабатываемой воды и недостаточного контакта частиц потока с электродами.
Сущность изобретения заключается в следующем.
Задача, на решение которой направлено заявляемое изобретение, – повышение эффективности электрохимической обработки воды и снижение потребления энергии на обработку.
Технический результат – повышение биологической активности воды и коэффициента полезного действия электроактиватора.
Указанный технический результат достигается тем, что в известном проточном электроактиваторе воды, включающем корпус из диэлектрического материала, разделенный перегородкой на анодную и катодную камеры с размещенными в них анодом и катодом и снабженный трубопроводами для разделенного отвода обработанной воды с отрицательным и положительным потенциалом, при этом катод и анод выполнены из перфорированного и изогнутого в виде змеевика отрезка трубы круглого сечения из коррозионностойкой (нержавеющей) стали, диаметр перфорированных отверстий составляет 0,01…0,5 мм, при этом на верхней крышке установлены шины для подвода положительного и отрицательного потенциала, имеющие электрический контакт с анодом и катодом, подводящие и отводящие трубопроводы снабжены регуляторами расхода, а перегородка выполнена из микропористой пластмассы.
Изобретение поясняется чертежами.
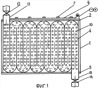
На фиг.1 показан электроактиватор без боковой стенки корпуса.
На фиг.2 – вид на электроактиватор сверху со снятой верхней крышкой.
На фиг.3 – вид сверху на электроактиватор.
Сведения, подтверждающие возможность реализации заявленного изобретения, заключаются в следующем.
Электроактиватор для воды содержит корпус 1, выполненный из диэлектрического материала. Сверху корпус 1 закрыт крышкой 2, а снизу днищем 3. Внутри корпуса 1 установлены катод 4 и анод 5, выполненные из перфорированного и изогнутого в виде змеевика отрезка трубы круглого сечения из коррозионностойкой нержавеющей стали. На крышке 2 установлены шины 6 для подвода отрицательного и положительного потенциала. Электрический контакт с катодом 4 и анодом 5 обеспечивается с помощью болтов 7 и резьбовых отверстий 8. Корпус 1 разделен на катодную и анодную камеры полупроницаемой перегородкой 9, выполненной из микропористой пластмассы. Катод 4 и анод 5 по всей площади имеют отверстия 10, диаметр которых составляет 0,01…0,5 мм. Для подвода воды в электроактиватор предусмотрены подводящие трубопроводы 11, оборудованные регуляторами расхода 12. Для отвода обработанной воды из электроактиватора выполнены отводящие трубопроводы 13 с регуляторами расхода 14. На шинах 6 предусмотрены отверстия 15, через которые обеспечивается с помощью болтов 7 контакт с электродами 4, 5.
Электроактиватор для воды работает следующим образом.
Через подводящие трубопроводы 11 подается заданный расход, который регулируется регуляторами 12. На электроды 4, 5 подается соответственно отрицательный и положительный потенциал от источника постоянного тока по шинам 6 через болты 7. При протекании потока воды по внутренней полости катода 4 и анода 5 вода заполняет через перфорированные отверстия 10 внутреннюю полость корпуса 1 и создает токопроводящую среду для движения электронов. Поток воды, протекающий во внутренней полости катода 4, получает отрицательный потенциал, а поток воды, протекающий во внутренней полости анода, получает положительный потенциал. Так как диаметр перфорированных отверстий имеет незначительную величину 0,01…0,5 мм, то движения потока через отверстия не будет, а будет движение только электронов и внутренняя и наружная полости катода 4 и анода 5 будут интенсивно передавать заряд протекающим потокам воды. В то же время выполнение катода 4 и анода 5 в виде змеевиков обеспечивает турбулентное перемешивание частиц потока, что значительно повышает коэффициент полезного действия электроактиватора.
Использование регуляторов расхода на отводящих трубопроводах позволяет подавать воду заданного электрического потенциала и регулировать заданный расход.
Формула изобретения
Электроактиватор для воды, включающий корпус из диэлектрического материала, разделенный перегородкой на анодную и катодную камеры с размещенными в них анодом и катодом и снабженный трубопроводами для раздельного отвода обработанной воды с отрицательным и положительным потенциалами, отличающийся тем, что катод и анод выполнены из перфорированного и изогнутого в виде змеевика отрезка трубы круглого сечения из коррозионно-стойкой нержавеющей стали, диаметр перфорированных отверстий составляет 0,01-0,5 мм, при этом на верхней крышке корпуса установлены шины для подвода положительного и отрицательного потенциалов, имеющие электрический контакт с анодом и катодом, подводящие и отводящие трубопроводы снабжены регуляторами расхода, а перегородка между камерами выполнена из микропористой пластмассы.
РИСУНКИ
|
|