|
|
(21), (22) Заявка: 2007109239/15, 13.03.2007
(24) Дата начала отсчета срока действия патента:
13.03.2007
(46) Опубликовано: 10.10.2008
(56) Список документов, цитированных в отчете о поиске:
АПЕЛЬЦИН И.Э., КЛЯЧКО В.А. Опреснение воды. – М.: Изд. литературы по строительтву, 1968, с.220, рис.5.10. SU 1724586 A1, 07.04.1992. SU 1669468 A1, 15.08.1991. RU 55766 U1, 27.08.2006. RU 2004118163 A, 20.11.2005. RU 2280011 C1, 20.07.2006. US 4302297 A, 24.11.1981. US 4319965 A1, 16.03.1982. WO 2004074187 A1, 02.09.2004.
Адрес для переписки:
197082, Санкт-Петербург, П-82, ул. Красного курсанта, 16, ГОУ ВПО Военно-космическая академия им. А.Ф.Можайского
|
(72) Автор(ы):
Ведерников Михаил Васильевич (RU), Пеньков Максим Михайлович (RU), Сырцов Леонид Аркадьевич (RU), Софьин Алексей Петрович (RU), Мороз Валерьян Михайлович (RU), Наумчик Игорь Васильевич (RU)
(73) Патентообладатель(и):
Государственное образовательное учреждение высшего профессионального образования Военно-космическая академия имени А.Ф. Можайского (RU)
|
(54) СПОСОБ ОПРЕСНЕНИЯ ДЕАЭРИРОВАННОЙ СОЛЕНОЙ ВОДЫ И УСТРОЙСТВО ДЛЯ ЕГО ОСУЩЕСТВЛЕНИЯ
(57) Реферат:
Изобретение может быть использовано в районах с засушливым климатом и большим количеством солнечных дней. Устройство для опреснения деаэрированной соленой воды содержит резервуар соленой деаэрированной воды 1, магистраль подвода соленой воды на опреснение 2, регенеративный теплообменник 3, испаритель 4 с нагревателем 5, датчик уровня воды 6 в испарителе 4, паропровод 7, восходящий участок 8 паропровода 7, вакуумный вентиль 9, датчик параметров газовой фазы 10, экран 11, нисходящий участок 12 паропровода 7, конденсатор 13, устройство сброса теплоты конденсации 14, магистраль отвода пресной воды 15, резервуар сброса пресной воды 16, устройство отвода тепла от испарителя 17, магистраль отвода рассола 18, устройство теплоотвода 19 от магистрали 18, пусковой насос 20, водяной радиатор 21, море 22. Низкое давление в сообщающихся полостях испарителя 4 и конденсатора 13 создается за счет гидростатического вакуумирования столбом соленой воды и рассола от уровня жидкости в магистралях 2 и 18, на котором полное давление жидкости равно атмосферному, до уровня соленой воды в испарителе 4 и столбом пресной воды от ее уровня в магистрали 15, на котором полное давление пресной воды равно атмосферному, до уровня пресной воды в конденсаторе 13. Технический результат: минимизация температуры кипения воды в испарителе до уровня, при котором появляется возможность использования в технологическом процессе низкопотенциального тепла. 2 н. и 6 з.п. ф-лы, 1 ил.
Заявляемое изобретение относится к технологии опреснения морской воды дистилляционным методом. Предпочтительная область применения данного изобретения – опреснение морской воды для потребителей с малым расходом пресной воды, например для систем капельного полива растений в районах с засушливым климатом и большим количеством солнечных дней.
Известен способ опреснения соленой воды и устройство для его осуществления [3]. Способ, описанный в [3], предполагает нагрев соленой воды, в том числе и в магистрали ее подвода, парообразование при низком давлении в полости испарения, последующие конденсацию пара и отвод пресной воды. Низкое давление в полости испарения создается эжекцией пара путем подачи на выход из полости в качестве активного потока части опресненной воды. Подача соленой воды в полость испарения осуществляется в диспергированном виде и тангенциально. Для реализации данного способа предлагаемое устройство включает испарительную камеру с тангенциально установленным диспергирующим устройством и нагревателем, каналы подвода соленой воды и отвода рассола, канал отвода пара из испарителя в резервуар сбора опресненной воды. В канале подвода соленой воды установлено нагревательное устройство. В канале отвода пара размещено одно или несколько эжектирующих устройств с установленным за ними теплообменником. Опреснительная установка оснащена блоком управления.
Недостатками данного способа являются: необходимость организации посредством насосной подачи принудительной циркуляции части пресной воды через эжектор и подачи соленой воды под давлением на диспергаторы для ее распыления и тангенциального ввода в полость испарителя; наличие в испарителе тумана из капель соленой воды, образовавшегося после ее диспергирования, который вместе с водяным паром может увлекаться в эжектор и далее – в резервуар для сбора опресненной воды; необходимость регулирования соотношения расходов соленой воды на опреснение и пресной воды для активного потока эжектора, обеспечивающего устойчивость работы опреснителя.
Перечисленные недостатки повышают стоимость пресной воды, так как на подачу воды при помощи насосов требуются дополнительные энергозатраты. Кроме того, сосуществование двух потоков в одном объеме полости испарения в ряде случаев может оказаться невозможным без применения в опреснительной установке, кроме блока управления, достаточно быстродействующих исполнительных органов автоматики. В противном случае может произойти, например, переполнение полости испарения соленой водой или, наоборот, при ее недостаточной подаче, в районе частично заполненных отверстий для удаления рассола будут развиваться неустойчивые колебательные процессы (на границе полости испарения и частично заполненной отходящим потоком рассола магистрали его отвода).
Известен способ опреснения и установка для его реализации [2, с.27, 28]. Способ предполагает нагрев соленой воды, в том числе и регенеративный в магистрали ее подвода, парообразование при низком давлении в полости испарения, последующие конденсацию пара и отвод пресной воды. Низкое давление в сообщающихся полостях испарения и конденсации создается эжекцией из них насыщенного пара. При этом в качестве активного потока используется пар, направляемый для нагрева опресняемой воды. В испарителе организованы принудительная подача и циркуляция опресняемой соленой воды, отвод рассола и опресненной воды. В испарителе и конденсаторе создается разность температур за счет одновременного нагрева опресняемой воды и охлаждения полости конденсатора.
Опреснитель, описанный в [2, с.27, 28] имеет магистрали подвода соленой воды на опреснение и отвода рассола, насос циркуляции опресняемой воды через нагреватель и отвода рассола, насос отвода опресненной воды, испаритель и конденсатор, связанные друг с другом посредством короткого паропровода, регулятор уровня опресняемой воды в испарителе.
В результате проведенного сопоставительного анализа последних двух способов опреснения и устройств для их реализации, по числу признаков, общих с заявляемым способом и устройством, последний способ опреснения и устройство для его реализации [2, с.27, 28] выбраны в качестве прототипа. Прототип обладает следующими недостатками:
– для эжекционного вакуумирования полости испарителя и для нагрева опресняемой воды требуется перегретый пар, то есть требуется высокотемпературный источник тепла, что практически исключает возможность использования низкопотенциального тепла в технологическом процессе опреснения;
– для организации всех видов движения жидкостей применяются насосы.
Перечисленные недостатки обусловливают необходимость применения мощных источников энергии (электроэнергия, топливо) и соответствующих устройств (котлы, паропроводы высокого давления, постоянно работающие насосы). Все это повышает стоимость пресной воды, усложняет опреснители и понижает их надежность.
Задачей изобретения является разработка способа дистилляционного опреснения воды и создание устройства для его реализации, которое позволяло бы использовать низкопотенциальное тепло. Предлагаемый способ и устройство позволяют:
– минимизировать температуру кипения воды в испарителе до уровня, при котором появляется возможность использовать в технологическом процессе низкопотенциальное тепло (солнечную энергию, тепловые сбросы энергогенерирующих установок и т.п.);
– организовать движение потоков соленой воды, рассола, пресной воды без задействования механизмов (насосы, регуляторы);
– минимизировать энергопотребление процесса опреснения от энергоисточников искусственного происхождения (традиционная энергетика);
– поднять без использования насосов уровень в резервуаре опресненной воды по сравнению с уровнем в резервуаре забора соленой воды на опреснение;
– упростить технологию и применяемое технологическое оборудование и перевести процесс опреснения в режим саморегуляции.
Указанный выше технический результат при осуществлении заявленного устройства основывается на следующих физических свойствах жидкостей.
Известно, что условием кипения жидкостей является равенство давления насыщенного пара данной жидкости давлению окружающей среды. Насыщенный пар находится в динамическом равновесии с жидкостью. То есть насыщенное состояние пара характеризует такое состояние системы «жидкость – пар», при котором число молекул, уходящих из жидкости в паровое пространство в единицу времени, равно числу молекул, возвращающихся за то же время из парового пространства в жидкость. Для воды давление насыщенного пара является функцией только ее температуры и солености (и не зависит, например, от наличия или отсутствия в одном объеме с парами воды других газов).
Повышение температуры жидкости сопровождается ростом давления насыщенного пара над ее поверхностью. При температуре пресной воды 100°С давление ее насыщенного пара становится равным атмосферному (0,101 МПа) [1, с.170, 462; 2, с.10], что и соответствует условию кипения воды при атмосферном давлении (на нулевой глубине или по ее поверхности). При изменении давления (окружающей среды или в самой жидкости, например на разных глубинах или в разных точках потока жидкости) соответственно изменяется и температура кипения: рост давления приводит к росту температуры кипения, понижение давления приводит к снижению температуры кипения.
Условием конденсации пара является равенство текущего давления пара давлению насыщенного пара при данной температуре. Если текущее давление пара меньше давления насыщенного пара при данной температуре, то для приведения пара к условиям конденсации надо либо понизить его температуру, либо изотермически поднять его давление.
Известно, что для снижения температуры кипения по дистилляционному методу опреснения в испарителе опреснителя при помощи различных технических устройств снижают давление [см., например, 2, с.13-15, 27, 28]. Если в испарителе и конденсаторе температуры равны, то для конденсации паров воды в конденсаторе их необходимо изотермически компримировать [2, с.13, 14], то есть посредством компрессора одновременно удалять пары из испарителя и повышать их давление в конденсаторе. Так как давление пара не может быть выше значения давления насыщенного пара при данной температуре, за компрессором в данном случае и будет происходить конденсация.
Недостатками способа опреснения, при реализации которого требуется компримирование пара [2, с.13, 14], являются дополнительные энергопотери на работу компрессора, увеличение на эту же величину потребного теплоотвода от конденсатора, усложнение опреснителя и как следствие – снижение его надежности. По этой причине чаще всего, для реализации процесса конденсации в конденсаторе, в нем понижают температуру по сравнению с температурой в испарителе [2, с.27, 28], а не устанавливают в опреснителях компрессоры между испарителем и конденсатором.
Для снижения давления в испарителе опреснителя применяются вакуумные насосы [2, с.30, 31], как правило, эжекционного типа, активным потоком в которых может выступать часть отводимой опресненной воды [3] или поток пара, направляемый, например, на теплообменник нагревателя адиабатического опреснителя [2, с.27, 28].
Повышение солености воды приводит к понижению давления насыщенного пара над ее поверхностью по сравнению с пресной водой. Как правило, величина этого понижения давления насыщенного пара характеризуется таким показателем как депрессия давления насыщенного пара над поверхностью раствора. Депрессия давления насыщенного пара равна разности давления насыщенного пара над поверхностью пресной воды и раствора. Депрессия давления насыщенного пара возникает из-за того, что в приповерхностном слое раствора вместо части молекул воды пребывают ионы и молекулы солей, препятствующие выходу молекул воды из жидкости в паровое пространство. С повышением концентрации солей депрессия насыщенного пара линейно возрастает [2, с.14].
Известно, что отношение величины депрессии давления насыщенного пара над раствором к величине давления насыщенного пара над пресной водой слабо зависит от температуры и в диапазона от 5°С до 100°С остается величиной практически постоянной [табл.1.9 и 1.10, 2, с.10]. Так, для солености 30 г/л это соотношение принимает значение 0,0155 при температуре 5°С и значение 0,0160 в диапазоне температур от 25°С до 100°С. Для солености 36 г/л (морская вода) это соотношение в диапазоне температур от 5°С до 100°С имеет значение 0,0192. То есть депрессия для солености 30 г/л при температуре 40°С составляет 120 Па, а для солености 36 г/л составляет 144 Па.
При нагреве пресной воды в диапазоне температур от 20°С до 40°С повышение давления насыщенного пара над ее поверхностью, приходящееся на 1°С, составляет приблизительно 250 Па/1°С. Отсюда следует, что, если в испарителе опреснителя температура соленой воды с концентрацией соли 30 г/л будет равна, например, 40°С, то для получения такого же давления насыщенного пара над пресной водой в конденсаторе ее температура должна быть ниже температуры соленой воды в испарителе всего лишь на 0,5°С. Если температура в конденсаторе будет на 1°С ниже температуры в испарителе, то перепад давлений между испарителем и конденсатором составит 125 Па, что приведет к движению пара от испарителя по направлению к конденсатору. Идеальную скорость такого потока можно определить из равенства перепада давлений, создавшего поток, и давления полного торможения данного потока (скоростного напора или динамического давления газа [1, с.124]).
Для указанного перепада давлений в 125 Па при плотности насыщенного пара воды 0,0512 кг/м3, соответствующей 40°С [2, с.10, табл.1.10], равный ему по величине скоростной напор (динамическое давление газа) создаст поток этого пара со скоростью 68,5 м/с. То есть при указанных значениях перепада давлений и плотности пара такой будет идеальная скорость движения пара в паропроводе между испарителем и конденсатором. Указанным значениям скорости и плотности пара соответствует удельный массовый расход . Для морской воды с соленостью 36 г/л и депрессией давления насыщенного пара над ней в 144 Па перепад давления при той же разности температур в 1°С составит 106 Па. Идеальная скорость равновеликого ему по скоростному напору потока пара составит 62,5 м/с. Удельный массовый расход этого потока пара составляет .
Из физики известно, что если «бесконечно длинную» прямую трубку, закрытую с одного конца, полностью заполнить деаэрированной жидкостью и затем поставить ее вертикально, погрузив открытый конец трубки в сосуд с данной жидкостью, то ее уровень в трубке установится на такой высоте, при которой внутри трубки, на уровне, совпадающем с уровнем жидкости в открытом сосуде, сумма давления насыщенных паров над зеркалом жидкости в трубке и давления столба жидкости в ней будет равна давлению окружающего воздуха. На практике этим пользуются, в частности, при определении атмосферного давления при помощи ртутных барометров. Такой гидростатический столб нередко называют атмосферным гидростатическим столбом данной жидкости. Давление пара над жидкостью в такой трубке будет равно давлению насыщенного пара данного вещества при температуре жидкости в ней. Для воды в диапазоне температур 20°С…45°С величина давления насыщенного пара составляет РS=2,3…10 кПа (0,023…0,1 атм). Ртуть при температуре 20°С имеет давление насыщенного пара РS 1,63·10-4 кПа (1,6·10-6 атм) [1, табл.24а, 25, 26, с.467, 468]. Так как указанные величины давлений насыщенного пара многократно ниже атмосферного, то можно говорить о гидростатическом вакуумировании пространства над зеркалом жидкости в трубке.
Как известно из физики, высота атмосферного гидростатического столба деаэрированной жидкости определяется формулой

где – плотность жидкости, g – ускорение свободного падения. При давлении атмосферы на уровне моря Ратм=101,3 кПа и указанных выше давлениях насыщенного пара высота атмосферного гидростатического столба пресной воды в диапазоне температур 20°С…45°С не может быть выше 10,11 м…10,03 м соответственно.
Если в жидкости растворен газ (например, в воде при нормальных условиях концентрация растворенных газов, главным образом воздуха, составляет около 0,012 г/л), то давление газа над зеркалом жидкости при гидростатическом вакуумировании будет складываться из парциальных давлений насыщенного пара воды и газов, вышедших из воды при понижении давления. Давление вышедших газов будет определяться не только их исходной концентрацией в воде, но и соотношением объемов парового пространства над зеркалом жидкости и объемом вышедших газов, то есть конструктивными особенностями устройства, в котором гидростатический способ вакуумирования применен. Так как данное соотношение, кроме этого, будет во многом определяться и технологией процесса опреснения, то вопрос опреснения недеаэрированной соленой воды является предметом отдельного исследования и в настоящей заявке не рассматривается.
В заявляемом способе минимально возможное давление насыщенного пара для данной температуры в полости испарения (долее – испаритель) и в полости конденсации (далее – конденсатор) достигается и поддерживается естественным образом за счет использования эффекта гидростатического вакуумирования объема над зеркалом жидкости. Удаление из испарителя образующегося рассола в водоем (например, в море), откуда происходит забор воды на деаэратор и последующее опреснение, происходит благодаря его более высокой плотности по сравнению с морской водой при одинаковых с ней температурах. Поступление деаэрированной соленой воды из ее резервуара в испаритель происходит благодаря конвективному движению воды по цепочке «резервуар соленой деаэрированной соленой воды – магистраль ее подачи на опреснение – испаритель – магистраль отвода рассола – море», которое и возникает в магистрали отвода рассола вследствие указанного превышения плотностью рассола плотности морской воды и движения рассола по направлению на выход из испарителя. Теплоподвод к опресняемой воде происходит по мере ее продвижения по магистрали подвода воды на опреснение и в испарителе от низкопотенциального источника тепла. Кипение соленой воды в испарителе происходит при автомодельно поддерживающихся температуре и давлении вследствие подведения тепла и отводе образующегося пара. Так как давление пара в испарителе за счет гидростатического вакуумирования всегда будет равно давлению насыщения при данной температуре, кипение воды в испарителе будет происходить при любом температурном перепаде между источником тепла и нагревателем испарителя. То есть производительность установки не будет определяться температурой источника тепла. Это обстоятельство позволяет использовать для нагрева опресняемой воды, например, солнечную радиацию, промышленные тепловые сбросы.
Гидростатическое вакуумирование осуществляется по всем трем магистралям: подвода соленой воды на опреснение, отвода рассола, отвода пресной воды. Перемещение пара из полости испарителя в сообщающуюся с ней полость конденсатора происходит под действием имеющегося между ними перепада давления насыщенного пара, вызванного разностью температур между полостью испарителя и полостью конденсатора.
Испарение воды в испарителе и сток рассола способствуют снижению уровня жидкости в нем, однако действие стабильного атмосферного давления на противоположной стороне гидростатического столба соленой воды, подаваемой на опреснение, способствует восстановлению этого уровня. Таким образом, уровень жидкости в испарителе стабилизируется в пределах незначительных колебаний давления атмосферы и незначительных колебаний температуры в испарителе. По аналогичному механизму стабилизируется уровень жидкости и в конденсаторе. Также естественным путем осуществляется не только стабилизация уровня жидкости в испарителе, но и движение в нем соленой воды от выхода из магистрали подачи соленой воды на опреснение к входу в магистраль отвода рассола. Так как плотность соленой по мере ее перехода в рассол воды (по мере испарения из нее пресной воды) повышается, то атмосферный гидростатический столб рассола будет иметь высоту ниже атмосферного гидростатического столба соленой воды, поступающей на опреснение, уже при одинаковом законе изменения в них температуры по высоте. Если при этом рассол еще будет и охлаждаться, то это приведет к появлению естественного стока жидкости из испарителя в магистраль отвода рассола. В тех случаях, когда сброс рассола происходит в море, для охлаждения рассола до температуры морской воды организуется теплообмен между ними. Так как поток рассола является сплошным, то не имеет значение конкретное место или участок охлаждения рассола.
Подведение тепла к пару, например, находящемуся в паропроводе, препятствует его конденсации. В связи с этим пар, подогреваемый на восходящем участке паропровода, можно поднять и на некоторую высоту Н, на эту же высоту можно поднять и уровень воды в резервуаре сбора опресненной воды по сравнению с уровнем соленой воды в резервуаре ее забора на опреснение.
Указанный технический результат при осуществлении заявленного способа достигается благодаря следующему. Магистрали подвода соленой деаэрированной соленой воды на опреснение выбраны с таким полным перепадом высот, чтобы в испарителе оставался слой жидкости. В этом слое от точки выхода из магистрали соленой воды на опреснение по направлению к точке выхода в магистраль отвода рассола формируется поток кипящей на поверхности нагревателя деаэрированной опресняемой соленой воды. Суммарная высота столба жидкости в каждой из этих двух магистралей и слоя жидкости в испарителе над открывающимися соответствующими отверстиями в эти магистрали, измеренная от того уровня магистралей, где абсолютное давление в них соответствует атмосферному, равна атмосферному гидростатическому столбу находящихся в них жидкостей. Магистраль отвода пресной воды выбрана с таким полным перепадом высот, чтобы суммарная высота столба жидкости в ней и слоя пресной воды в конденсаторе была бы равна высоте атмосферного гидростатического столба пресной воды.
При использовании устройства в районах с высокой солнечной активностью магистраль подвода соленой деаэрированной воды на опреснение, испаритель, теплоприемник лучистой солнечной энергии нагревателя испарителя и восходящая часть паропровода расположены на освещенной стороне, а магистрали отвода пресной воды и рассола, ниспадающая часть паропровода, конденсатор и устройства отвода от них тепла в окружающую среду расположены на затененной стороне опреснителя.
Конденсатор, магистрали отвода рассола и пресной воды посредством тепловых мостов или теплообменника связаны с магистралью подачи соленой воды на опреснение по схеме регенеративного теплообмена с ней.
Для подъема на высоту Н уровня пресной воды в резервуаре ее сбора или подъема самого резервуара на эту высоту по сравнению с уровнем воды в резервуаре деаэрированной соленой воды паропровод имеет восходящий участок с перепадом высот не менее Н, связанный на этом участке с источником тепла, поддерживающим температуру пара в нем не ниже, чем в испарителе. Это позволяет на такую же высоту Н поднять конденсатор и начало магистрали отвода пресной воды.
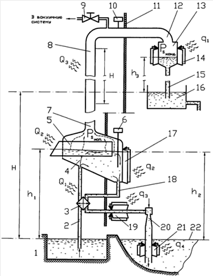
На чертеже изображена принципиальная гидравлическая схема опреснительной установки.
Устройство для опреснения (чертеж) включает резервуар соленой деаэрированной воды 1, магистраль подачи соленой деаэрированной воды на опреснение 2, регенеративный теплообменник 3 (между магистралью подачи соленой воды на опреснение и магистралью отвода рассола), испаритель 4, нагреватель испарителя 5, датчик уровня воды в испарителе 6, паропровод 7, восходящий участок 8 паропровода 7, вакуумный вентиль 9, датчик параметров газовой фазы (давление, температура) 10, экран 11, нисходящий участок 12 паропровода 7, конденсатор 13, устройством сброса теплоты конденсации 14 (воздушный радиатор конденсатора), магистраль отвода пресной воды 15, резервуар сбора пресной воды 16, устройство отвода тепла от испарителя 17, магистраль отвода рассола 18, устройство теплоотвода от магистрали отвода рассола 19 (воздушный радиатор магистрали отвода рассола), пусковой насос 20 (например, эжекционного типа), водяной радиатор магистрали отвода рассола 21, море 22.
На схеме (чертеж) обозначено:
– h1 – высота атмосферного гидростатического столба соленой деаэрированной воды;
– h2 – высота атмосферного гидростатического столба рассола;
– h3 – высота атмосферного гидростатического столба пресной воды;
– Н – перепад высот на восходящем участке 8 паропровода 7 и высота подъема уровня пресной воды в резервуаре ее сбора 16 или подъема самого резервуара 16 по сравнению с уровнем воды в резервуаре соленой деаэрированной воды 1;
– Q1 – тепловой поток от источника тепла к магистрали подвода соленой воды на опреснение 2 (например, поток лучистой солнечной энергии, поглощенный магистралью подвода соленой воды на опреснение 2);
– Q2 – тепловой поток от источника тепла, поглощенный нагревателем испарителя 5 (например, лучистый поток солнечной энергии, поглощенный тепловоспринимающей поверхностью нагревателя испарителя);
– Q3 – тепловой поток от источника тепла к восходящему участку 8 паропровода 7 (например, поток лучистой солнечной энергии, поглощенный восходящим участком паропровода);
– q1 – теплота конденсации пресной воды;
– q2 – теплоотвод от рассола, находящегося в испарителе;
– q3, q4 – тепловые потоки от рассола в воздух и в морскую воду соответственно;
– – давление насыщенного пара в испарителе;
– – давление насыщенного пара в конденсаторе.
Магистраль подвода воды на опреснение 2 связана с испарителем 4. На участке между резервуаром деаэрированной соленой воды 1 и испарителем 4 к находящейся в ней соленой воде подводится тепловая энергия Q1 (например, поток лучистой солнечной энергии). Причем при реализации схемы регенеративного теплообмена на отрезке от резервуара соленой деаэрированной соленой воды 1 до испарителя 4 магистраль подвода воды на опреснение 2 в тепловом отношении через регенеративный теплообменник 3 связана с магистралью отвода рассола 18. К нагревателю испарителя 5 подводится тепловая энергия Q2 (например, поток лучистой солнечной энергии). Испаритель 4 через паропровод 7 связан с конденсатором 13. Причем при реализации схемы подъема уровня пресной воды в резервуаре ее сбора 16 или подъема самого резервуара 16 на высоту Н (по сравнению с уровнем соленой воды в резервуаре ее подачи на опреснение 1) к восходящему участку 8 паропровода 7 высотой Н подводится тепловая энергия Q3 (например, поток лучистой солнечной энергии). В испарителе 4, со стороны, противоположной нагревателю испарителя 5, и выше входа в магистраль отвода рассола 18 установлено устройство отвода тепла от испарителя 17 (тепло q2). Полость паропровода 7 связана через вакуумный вентиль 9 с системой вакуумирования. Паровое пространство испарителя, паропровода или конденсатора связано с датчиком параметров газовой фазы (давление, температура) 10. Нисходящий участок 12 паропровода 7, конденсатор 13 со связанным с ним в тепловом отношении устройством сброса 14 теплоты конденсации q1 (воздушным радиатором конденсатора), магистраль отвода пресной воды 15, магистраль отвода рассола 18 находятся на неосвещенной стороне, например за экраном 11. Магистраль отвода рассола 18 в тепловом отношении связана с устройством теплоотвода 19 (например, с воздушным радиатором) и ниже уровня моря 22 – с водяным радиатором 21, отводящими от рассола тепло q3 и q4 соответственно. В магистрали отвода рассола 18 или на ее конце находится пусковой насос 20 (например, насос эжекционного типа). В испарителе 4 установлен датчик уровня воды 6. Уровень воды в резервуаре деаэрированной соленой воды 1 поддерживается одинаковым или выше уровня воды в море 22.
Заявляемый способ опреснения деаэрированной соленой воды реализуется в заявляемом устройстве следующим образом. Перед началом процесса опреснения резервуар соленой воды 1, подаваемой на опреснение, заполняется деаэрированной соленой водой, резервуар сбора пресной воды 16 заполняется пресной водой. После этого через вакуумный вентиль 9, находящийся в районе верхней точки паропровода 7, внутренний объем опреснительной установки вакуумируется, что приводит к заполнению магистралей 2, 15 и 18, испарителя и конденсатора водой из соответствующих резервуаров, удалению газов, растворенных в морской воде и в пресной воде, попавшей при вакуумировании опреснительной установки в соответствующие магистрали 18 и 15. Вакуумная система задействуется до момента стабилизации давления, то есть до завершения выхода из воды, находящейся в указанных магистралях 18 и 15, полостях испарителя и конденсатора остаточных растворенных газов. Затем вакуумный вентиль 9 закрывается. После закрытия вентиля 9 уровни жидкости в испарителе 4, и конденсаторе 13 установятся на высотах атмосферных гидростатических столбов h1 и h3 относительно резервуаров соленой 1 и пресной 16 воды соответственно, а в сообщающихся полостях и испарителя 4, и конденсатора 13 установится равное давление насыщенного водяного пара . Если уровень воды в резервуаре деаэрированной пресной воды 1 выше, чем в море 22, то вода из него начнет сразу же перетекать в море по схеме сифона (то есть по магистрали подвода соленой деаэрированной воды на опреснение 1, через полость испарителя 4 и по магистрали отвода рассола 18).
При подводе тепла Q2 через нагреватель испарителя 5 к воде, находящейся в испарителе 4, начинается ее кипение. Давление насыщенного пара в этой полости возрастает и становится выше, чем в конденсаторе 13 ( ). Это приводит к перетеканию пара по паропроводу 7 в конденсатор 13, к которому тепло не подводилось, сохранившему по этой причине в момент запуска прежнюю температуру, то есть более низкую температуру, чем температура в испарителе 5. В конденсаторе 13 пары воды конденсируются, отдавая теплоту конденсации q1 сначала на нагрев массы конденсатора, устройства сброса теплоты конденсации 14 (воздушному радиатору конденсатора), а затем и окружающему воздуху.
Одновременно с этим к воде, находящейся в магистрали подвода соленой деаэрированной воды на опреснение 2, подводится тепло Q1. Нагрев и вызванное им понижение плотности соленой воды в магистрали 2 и одновременно с этим протекающие процессы кипения соленой воды в испарителе сброса части тепла (тепло q1) через устройства отвода тепла от испарителя 17 со стороны, противоположной нагревателю 5, вызывают повышение плотности рассола и инициируют конвективное движение по контуру «магистраль подвода соленой воды 2 – полость испарителя 4 – магистраль отвода рассола 18» в направлении от резервуара деаэрированной соленой воды 1 к морю 22. Если уровень в резервуаре деаэрированной соленой воды 1 одинаков с уровнем моря 22, то интенсивность конвективного движения будет возрастать только лишь по мере прогрева магистрали подвода соленой деаэрированной воды на опреснение 2. Этот процесс может занять много времени. В этом случае для ускорения запуска включается малорасходный пусковой насос 20, который интенсифицирует движение по магистрали отвода рассола 18 и далее – движение жидкости в испарителе 4 и приток воды из резервуара 1 в испаритель 4.
На установившемся режиме к воде при ее движении по магистрали подвода соленой деаэрированной соленой воды на опреснение 2 от внешнего источника тепла подводится тепло Q1 (например, низкопотенциальное тепло поглощенного солнечного потока) и в регенеративном теплообменнике 3 подводится тепло от отводимого рассола. В испарителе 4 к опресняемой воде от нагревателя 5 подводится тепло Q2, что приводит к ее кипению при низком давлении. Образовавшийся пар пребывает в состоянии насыщения и создает в испарителе 4 давление . Нисходящий участок 12 паропровода 7, конденсатор 13, устройство отвода от него теплоты конденсации 14, магистраль отвода рассола 18, ее устройство теплоотвода от нее 18 находятся на затененной стороне, например за экраном 10, что исключает возможность их нагрева солнечными лучами. В связи с этим одновременно с процессами нагрева и кипения соленой воды в испарителе 4 происходит охлаждение конденсатора 13 за счет сброса теплоты конденсации q1 через устройство сброса теплоты конденсации 14 (например, через воздушный радиатор конденсатора). Вследствие этого пар конденсируется, его давление падает и становится ниже, чем в испарителе. Имеющийся перепад давления заставляет двигаться пар от испарителя 4 к конденсатору 13 по паропроводу 7. На восходящем участке 8 паропровода 7 к пару подводится тепло Q3, которое повышает его температуру выше точки конденсации и одновременно совершает на этом участке работу по подъему пара на высоту Н. Это позволяет поднять уровень воды в конденсаторе 13 и соответственно в резервуаре пресной воды 16 на ту же высоту Н.
При использовании для опреснения солнечного тепла в первой половине дня из-за повышения интенсивности солнечного нагрева температура и давление пара, измеренные датчиком параметров газовой фазы (давление, температура) 10 в сообщающихся полостях испарителя 4, паропровода 7 и конденсатора 13, будут возрастать. Поэтому строго пропорционально этому (при неизменном давлении окружающего воздуха) будет понижаться уровень жидкости в испарителе 4, измеренный датчиком 6. Во второй половине дня процесс будет носить обратный характер. Однако в связи с тем, что произвести полную деаэрацию соленой воды достаточно сложно, по мере работы опреснителя возможно накопление газов в указанных полостях. Признаком накопления газов будет несоответствие между величиной понижения уровня жидкости в испарителе 4, параметрами газовой фазы и давлением окружающего воздуха. Для удаления накопившегося газа через вакуумный вентиль 9 задействуется вакуумная система.
Литература
1. Кухлинг X. Справочник по физике: Пер. с нем. – М.: Мир, 1982. – 520 с., ил.
2. Пельцин И.Э., Клячко В.А. Опреснение воды. – М.: Изд. литературы по строительству, 1968. – 220 с., ил.
3. Способ опреснения соленой воды и устройство для его реализации. – Заявка на изобретение RU 2004118163/15. Дата подачи заявки 2004.06.15, дата публикации заявки 2005.11.20. Кл. 7 C02F 1/04.
Формула изобретения
1. Способ опреснения деаэрированной соленой воды, включающий ее подвод, в том числе и с одновременным нагревом, нагрев и парообразование при низком давлении, последующее охлаждение и конденсацию пара в конденсаторе, отвод пресной воды и рассола, отличающийся тем, что низкое давление в сообщающихся полостях испарителя и конденсатора создается за счет гидростатического вакуумирования столбом соленой воды и рассола от уровня жидкости в соответствующих магистралях, на котором полное давление жидкости равно атмосферному, до уровня соленой воды в испарителе и столбом пресной воды от ее уровня в магистрали отвода пресной воды, на котором полное давление пресной воды равно атмосферному, до уровня пресной воды в конденсаторе.
2. Способ опреснения деаэрированной соленой воды по п.1, отличающийся тем, что подвод соленой воды на опреснение в испаритель происходит естественным образом по мере парообразования части воды за счет сохранения равенства давлений на входе в магистраль ее подвода: со стороны резервуара деаэрированной соленой воды – давления окружающей среды в этой точке и со стороны магистрали – суммы давлений насыщенного пара в испарителе и гидростатического давления столба соленой воды, находящейся в магистрали ее подвода на опреснение и в испарителе; отвод пресной воды из конденсатора происходит естественным образом за счет сохранения равенства давлений на выходе из магистрали ее отвода: со стороны резервуара пресной воды – давления окружающей среды в этой точке и со стороны магистрали отвода пресной воды – суммы давлений насыщенного пара в конденсаторе и гидростатического давления столба пресной воды, находящейся в магистрали ее отвода и в конденсаторе; отвод рассола из испарителя и его свободное истечение в море осуществляется благодаря его более высокой плотности по сравнению с плотностью морской воды при равных с ней температурах и происходит за счет создания в магистрали отвода рассола средней температуры жидкости ниже, чем в магистрали подвода соленой воды на опреснение, и выравнивания температур рассола и морской воды по мере его продвижения к точке выхода в море из магистрали отвода рассола.
3. Способ опреснения деаэрированной соленой воды по п.2, отличающийся тем, что нагрев соленой воды в магистрали ее подвода на опреснение и в испарителе осуществляется за счет подвода низкопотенциальной энергии тепла, например энергии промышленных тепловых сбросов, поглощенной солнечной энергии с освещенной стороны опреснительной установки.
4. Способ опреснения деаэрированной соленой воды по п.3, отличающийся тем, что подъем уровня в резервуаре пресной воды на высоту Н относительно уровня воды в резервуаре соленой деаэрированной воды, подаваемой на опреснение, осуществляется за счет подведения тепла к пару на восходящем участке паропровода с перепадом высот не менее Н.
5. Устройство для опреснения деаэрированной соленой воды, содержащее испаритель с нагревателем, магистраль подвода соленой воды на опреснение, связанную с источником тепла, магистраль отвода рассола, связанную с приемником тепла, магистраль отвода пресной воды, конденсатор, паропровод, связывающий испаритель с конденсатором, систему контроля параметров, отличающееся тем, что вертикальная составляющая длины магистралей подвода соленой воды на опреснение и отвода рассола, измеренная от уровня, на котором полное давление жидкостей в них равно атмосферному, до испарителя меньше высоты атмосферного гидростатического столба этих жидкостей, уравновешенного с одной стороны давлением, равным атмосферному, и с другой стороны давлением насыщенного пара опресняемой воды при температуре в испарителе, на величину толщины слоя жидкости в испарителе в точках ввода в него этих магистралей, а вертикальная составляющая магистрали отвода пресной воды от уровня, на котором полное давление жидкости в ней равно атмосферному, до конденсатора равна или меньше на величину толщины слоя жидкости в конденсаторе высоты атмосферного гидростатического столба пресной воды, уравновешенного с одной стороны давлением, равным атмосферному, и с другой стороны давлением насыщенного пара пресной воды при температуре в конденсаторе.
6. Устройство для опреснения деаэрированной соленой воды по п.5, отличающееся тем, что магистраль подвода соленой деаэрированной воды на опреснение, теплоприемник лучистой солнечной энергии нагревателя испарителя и испаритель находятся на освещенной стороне установки, а ниспадающая часть паропровода, конденсатор и магистрали отвода рассола и пресной воды и устройства теплоотвода от них находятся на затененной стороне установки в условиях теплообмена с окружающим воздухом.
7. Устройство для опреснения деаэрированной соленой воды по пп.5 и 6, отличающееся тем, что ее паропровод на своем восходящем участке с перепадом высот Н связан с источником тепла, а ее конденсатор, магистраль отвода пресной воды, резервуар пресной воды или уровень в нем подняты также на высоту Н относительно уровня воды в резервуаре с деаэрированной соленой водой, подаваемой на опреснение.
8. Устройство для опреснения деаэрированной соленой воды по пп.6 и 7, отличающееся тем, что при заборе на опреснение воды из резервуара деаэрированной морской соленой воды, уровень которой находится на уровне моря, и отводе рассола в море магистраль отвода рассола в тепловом отношении, например через теплообменник, связана с морем.
РИСУНКИ
|
|