|
|
(21), (22) Заявка: 2007115792/11, 25.04.2007
(24) Дата начала отсчета срока действия патента:
25.04.2007
(46) Опубликовано: 10.10.2008
(56) Список документов, цитированных в отчете о поиске:
SU 1189781 А, 07.11.1985. SU 893801, 30.12.1981. DE 19927140 A, 04.05.2000.
Адрес для переписки:
394000, г.Воронеж, пр-кт Революции, 19, ГОУ ВПО ВГТА, отдел СМП
|
(72) Автор(ы):
Бахолдин Александр Михайлович (RU), Полубков Максим Анатольевич (RU)
(73) Патентообладатель(и):
Государственное образовательное учреждение высшего профессионального образования Воронежская государственная технологическая академия (RU)
|
(54) КРЮКОВАЯ ПОДВЕСКА
(57) Реферат:
Изобретение относится к подъемно-транспортному оборудованию и может быть использовано на грузоподъемных кранах и траверсах. Крюковая подвеска содержит крюк, траверсу с отверстием для крюка, крепежный элемент для закрепления крюка на траверсе и упорный подшипник, расположенный между траверсой и крепежным элементом, стопорное устройство. Стопорное устройство выполнено в виде набора втулок, с одного конца которых имеется впадина резьбой, противоположной по направлению резьбе на хвостовике крюка, а с другого выступ с резьбой, противоположной по направлению резьбе на хвостовике крюка, и двух концевых втулок, на одном из торцов которых выполнен прямоугольный выступ, между втулками расположены жестяные прокладочные кольца толщиной до 1 мм, которые служат для жесткого монтажа конструкции. Достигается расширение возможности применения стопорного устройства, использование одного стопорного устройства для креплений разной длины, снижение металлоемкости. 3 ил.
Изобретение относится к подъемно-транспортному оборудованию и может быть использовано на грузоподъемных кранах и траверсах.
Наиболее близкой по технической сущности и достигаемому эффекту является крюковая подвеска, содержащая крюк, траверсу с отверстием для крюка, крепежный элемент для закрепления крюка на траверсе и упорный подшипник, расположенный между траверсой и крепежным элементом [А.С. SU 1189781 А, опубл. 07.11.85, бюл. №41].
Недостатком данной конструкции является то, что для разной длины креплений требуется своя стопорная Т-образная планка, которая не может быть использована для креплений другой длины, высокая металлоемкость.
Техническая задача изобретения – расширение возможности применения стопорного устройства, использование одного стопорного устройства для креплений разной длины, снижение металлоемкости.
Крюковая подвеска содержит крюк, траверсу с отверстием для крюка, крепежный элемент для закрепления крюка на траверсе и упорный подшипник, расположенный между траверсой и крепежным элементом, стопорное устройство. Новым является то, что стопорное устройство выполнено в виде набора втулок, с одного конца которых имеется впадина резьбой, противоположной по направлению резьбе на хвостовике крюка, а с другого – выступ с резьбой, противоположной по направлению резьбе на хвостовике крюка, и двух концевых втулок, на одном из торцов которых выполнен прямоугольный выступ, между втулками расположены жестяные прокладочные кольца толщиной до 1 мм, которые служат для жесткого монтажа конструкции.
Технический результат заключается в том, что использование предлагаемой конструкции стопорного устройства позволит расширить возможности его применения для креплений различной длины и снизить металлоемкость и предотвратить отвинчивание крюка.
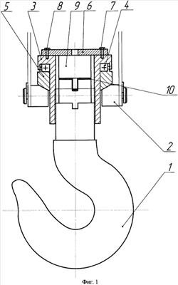
На фиг.1 изображена крюковая подвеска с коротким видом крепления крюка к траверсе; на фиг.2 изображена крюковая подвеска с удлиненным видом крепления крюка к траверсе; на фиг.3 показана крышка и увеличенное изображение втулок с прокладочными жестяными кольцами.
Крюковая подвеска содержит крюк 1, траверсу 2 с отверстием для крюка, крепежный элемент для закрепления крюка 1 на траверсе 2, представляющий собой гайку 3, выполненную в виде втулки с фланцем и упорный подшипник 4, расположенный между траверсой 2 и гайкой 3. Между упорным подшипником 4 и траверсой 2 установлена шайба 5, при этом сопрягаемые поверхности шайбы 5 выполнены сферическими. На гайке 3 установлена крышка 6, прикрепленная к гайке болтами 7, застопоренными отгибочными шайбами 8. Между крышкой 6 и крюком 1 установлен стопорное устройство, которое состоит из набора втулок 9 с одного конца которых имеется впадина с резьбой, противоположной по направлению резьбе на хвостовике крюка, а с другого – выступ с резьбой, противоположной по направлению резьбе на хвостовике крюка, и двух концевых втулок, на одном из торцов выполнен прямоугольный выступ, с помощью которого концевые втулки крепятся с крышкой 6 и крюком 1. В случае несовпадения расположения паза крышки 6 и выступа втулки 9 в наборе между втулками устанавливаются жестяные прокладочные кольца 10, которые позволяют точно установить приспособление.
Крюковая подвеска действует следующим образом.
Крюк 1 удерживается в гайке 3 посредством резьбового соединения. Поворот крюка 1 относительно вертикальной оси осуществляется вместе с гайкой 3, которая фланцем через упорный подшипник 4 и сферическую поверхность шайбы 5 опирается на сферическую поверхность планки, приваренной к траверсе.
Для предотвращения отвинчивания крюка 1 и обеспечения совместного поворота крюка 1 с гайкой 3, хвостовик крюка законтривается стопорным устройством, которое состоит из набора втулок 9, с одного конца которых имеется впадина с резьбой, противоположной по направлению резьбе на хвостовике крюка, а с другого – выступ с резьбой, противоположной по направлению резьбе на хвостовике крюка, и двух концевых втулок, имеющих на одном из торцов прямоугольный выступ, которым с одной стороны стопорное устройство фиксируется в отфрезерованном пазе хвостовика крюка 1, а с другой стороны в крышке 6, которая закрепляется с помощью болтов 7, застопоренными отгибочными шайбами 8.
Использование данного стопорного устройства позволит: во-первых, расширить возможности применения стопорного устройства; во-вторых, использовать стопорное устройство для креплений различной длины, так как в стопорное устройство входят промежуточные одинаковые втулки, которые могут легко добавляться и убираться из конструкции, увеличивая или уменьшая длину стопорного устройства; в-третьих, данная конструкция позволяет очень точно регулировать свою длину и жестко зафиксировать стопорное устройство, вследствие резьбового соединения втулок между собой и наличия тонких жестяных прокладочных колец, которые устанавливаются между втулками.
Формула изобретения
Крюковая подвеска, содержащая крюк, траверсу с отверстием для крюка, крепежный элемент для закрепления крюка на траверсе и упорный подшипник, расположенный между траверсой и крепежным элементом, стопорное устройство, отличающаяся тем, что стопорное устройство выполнено в виде набора втулок, с одного конца которых имеется впадина с резьбой, противоположной по направлению резьбе на хвостовике крюка, а с другого выступ с резьбой, противоположной по направлению резьбе на хвостовике крюка, и двух концевых втулок, на одном из торцов которых выполнен прямоугольный выступ, между втулками расположены жестяные прокладочные кольца толщиной до 1 мм, которые служат для жесткого монтажа конструкции.
РИСУНКИ
|
|