|
|
(21), (22) Заявка: 2007114497/11, 17.04.2007
(24) Дата начала отсчета срока действия патента:
17.04.2007
(46) Опубликовано: 10.10.2008
(56) Список документов, цитированных в отчете о поиске:
SU 1189781 А, 07.11.1985. SU 893801, 30.12.1981. DE 3742703 А, 28.07.1988.
Адрес для переписки:
394000, г.Воронеж, пр-кт Революции, 19, ГОУ ВПО ВГТА, отдел СМП
|
(72) Автор(ы):
Бахолдин Александр Михайлович (RU), Чапчуров Александр Сергеевич (RU)
(73) Патентообладатель(и):
Государственное образовательное учреждение высшего профессионального образования Воронежская государственная технологическая академия (RU)
|
(54) КРЮКОВАЯ ПОДВЕСКА
(57) Реферат:
Изобретение относится к подъемно-транспортному оборудованию и может быть использовано на грузоподъемных кранах и траверсах. Крюковая подвеска включает крюк, траверсу, крепежный элемент для закрепления крюка на траверсе и упорный подшипник, расположенный между траверсой и крепежным элементом. В качестве стопорного устройства используется цилиндр, разрезанный на четыре части, с внутренним коническим отверстием и клиновой стопорный винт с левой резьбой на его концевой части, которая вкручивается в отверстие, выполненное в хвостовике крюка, при этом средняя часть клинового стопорного винта выполнена в виде усеченного конуса и взаимодействует с внутренней конической поверхностью разрезанного цилиндра. Достигается расширение возможности использования в различных траверсах, повышение удобства эксплуатации, повышение надежности, удобство монтажа. 1 ил.
Изобретение относится к подъемно-транспортному оборудованию и может быть использовано на грузоподъемных кранах и траверсах.
Наиболее близкой по технической сущности и достигаемому эффекту является крюковая подвеска, снабженная установленной между упорным подшипником и траверсой шайбой и Т-образной стопорной планкой, установленной на крепежном элементе для взаимодействия с хвостовиком крюка [АС 1189781, опубл. 07.11.85, Бюл. №41].
Недостатком данной конструкции является то, что используются Т-образные стопорные планки различной длины, а также крюки с нестандартной длинной хвостовика, что приводит к снижению удобства эксплуатации.
Техническая задача изобретения – расширение возможности использования в различных траверсах, повышение удобства эксплуатации, повышение надежности, удобство монтажа.
Техническая задача достигается тем, что в крюковой подвеске, включающей крюк, траверсу, крепежный элемент для закрепления крюка на траверсе и упорный подшипник, расположенный между траверсой и крепежным элементом, новым является то, что в качестве стопорного устройства используют цилиндр, разрезанный на четыре части, с внутренним коническим отверстием и клиновой стопорный винт с левой резьбой на его концевой части, который вкручивается в отверстие, выполненное в хвостовике крюка, при этом средняя часть клинового стопорного винта выполнена в виде усеченного конуса и взаимодействует с внутренней конической поверхностью разрезанного цилиндра.
Технический результат заключается в расширении возможности использования данного устройства в различных крюковых подвесках, повышении удобства эксплуатации, повышении надежности и удобстве монтажа.
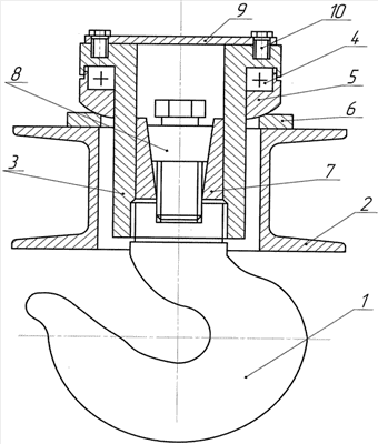
На чертеже изображена предлагаемая крюковая подвеска.
Крюковая подвеска содержит крюк 1, траверсу 2, крепежный элемент для закрепления крюка 1 на траверсе 2, представляющий собой гайку 3, выполненную в виде втулки с фланцем, и упорный подшипник 4, расположенный между траверсой 2 и гайкой 3. Между упорным подшипником 4 и траверсой 2 установлена шайба 5 и планка 6, при этом сопрягаемые поверхности шайбы 5 и планки 6 выполнены сферическими. Внутрь гайки 3 вставляется разрезанный на четыре части цилиндр 7, в коническое отверстие которого вставляется клиновой стопорный винт 8 и вкручивается в отверстие, выполненное в хвостовике крюка 1. На гайке 3 устанавливается крышка 9, которая крепится к ней болтами 10.
Устройство работает следующим образом.
Крюк 1 удерживается в гайке 3 посредством резьбового соединения. Поворот крюка 1 относительно вертикальной оси осуществляется вместе с гайкой 3, которая фланцем через упорный подшипник 4 и сферическую поверхность шайбы 5 опирается на сферическую поверхность планки 6, приваренной к траверсе.
Для предотвращения отвинчивания крюка 1 и обеспечения совместного поворота крюка 1 с гайкой 3 внутри гайки 3 помещается разрезанный на четыре части цилиндр 7 с внутренним коническим отверстием, который затягивается клиновым стопорным винтом 8. Вследствие затягивания винта 8 он (винт) начинает перемещаться вниз в осевом направлении, внешняя поверхность его конической части вступает в контакт с внутренней конической поверхностью цилиндра 7. Цилиндр 3 начинает расходиться в стороны, и его внешняя поверхность вступает в контакт с внутренней поверхностью гайки 3. Сила трения между сопрягаемыми поверхностями в процессе затягивания клинового стопорного винта 8 постепенно возрастает, и крюк 1 стопорится. Самопроизвольное отвинчивание крюка 1 исключено, так как при этом он вращается в сторону затяжки клинового стопорного винта 8, что предотвращает отворот.
Предлагаемая крюковая подвеска позволяет расширить возможности использования в различных траверсах, повысить удобство эксплуатации, повысить надежность и удобство монтажа.
Формула изобретения
Крюковая подвеска, содержащая крюк, траверсу, крепежный элемент для закрепления крюка на траверсе и упорный подшипник, расположенный между траверсой и крепежным элементом, отличающаяся тем, что в качестве стопорного устройства используют цилиндр, разрезанный на четыре части, с внутренним коническим отверстием и клиновой стопорный винт с левой резьбой на его концевой части, который вкручивается в отверстие, выполненное в хвостовике крюка, при этом средняя часть клинового стопорного винта выполнена в виде усеченного конуса и взаимодействует с внутренней конической поверхностью разрезанного цилиндра.
РИСУНКИ
|
|