|
|
(21), (22) Заявка: 2007109051/11, 12.03.2007
(24) Дата начала отсчета срока действия патента:
12.03.2007
(46) Опубликовано: 10.10.2008
(56) Список документов, цитированных в отчете о поиске:
RU 2034768 C1, 10.05.1995. DE 2645362 A, 14.04.1977. SU 727550, 15.04.1980.
Адрес для переписки:
195112, Санкт-Петербург, Красногвардейская пл., 3, ФГУП “ЦКБМ”, Отдел стандартизации, научно-технической информации и патентов
|
(72) Автор(ы):
Кудрявцев Александр Владимирович (RU), Платонов Геннадий Григорьевич (RU), Русаков Николай Иванович (RU), Турецков Николай Михайлович (RU)
(73) Патентообладатель(и):
Федеральное государственное унитарное предприятие “Центральное конструкторское бюро машиностроения” (ФГУП “ЦКБМ”) (RU)
|
(54) УСТРОЙСТВО ДЛЯ ДИСТАНЦИОННОГО НАВЕШИВАНИЯ ГРУЗА НА ДВУРОГИЙ КРЮК КРАНА
(57) Реферат:
Изобретение относится к подъемно-транспортному оборудованию, в частности к грузоподъемным устройствам, конструктивно сопряженным с крановыми механизмами для подъема, опускания или перемещения грузов. Устройство для дистанционного навешивания груза на двурогий крюк крана содержит корпус, серьги, опорную плиту, фиксирующую втулку и пружины. В горизонтальные пазы опорной плиты установлены регулируемые упоры с возможностью ограничения перемещения роликов и с возможностью ограничения сближения серег между собой в верхнем (вертикальном) положении, на верхней поверхности опорной плиты установлен подпружиненный вертикальный стержень, кинематически связанный с другим вертикальным стержнем, а через него с сигнализаторами положения серег, в центральной части опорной плиты выполнены четыре стержня, ограничивающие местоположение крюка крана как в рабочем положении, так и с повернутым крюком крана на 90°. Компенсатор изготовлен в виде втулки, внутренний диаметр которой выполнен с возможностью использования как опоры, так и направляющей для верхней части направляющего стержня пружин. Достигается повышение надежности, повышение срока службы, расширение технологических возможностей и обеспечение техники безопасности. 2 з.п. ф-лы, 3 ил.
Изобретение относится к подъемно-транспортному оборудованию, в частности к грузоподъемным устройствам, конструктивно сопряженным с крановыми механизмами для подъема, опускания или перемещения грузов.
Известно Устройство для дистанционного навешивания груза на двурогий крюк крана (а.с. RU №2034768, В66С 1/10, В66С 19/4, опубл. 1996 г.), содержащее корпус, в котором посредством осей закреплены серьги, опорную для крюка плиту, установленную подвижно относительно корпуса в вертикальной плоскости и кинематически связанную с серьгами посредством роликов, закрепленных на боковых сторонах серег и размещенных в горизонтальных пазах опорной плиты, фиксирующую втулку положения опорной плиты, при этом устройство снабжено закрепленными на корпусе стержнями, расположенными в вертикальных направляющих опорной плиты, пружинами, размещенными в направляющих и охватывающими упомянутые стержни, и сигнализатором положения крюка.
Недостатком данного устройства является невысокая надежность, которая обусловлена тем, что в процессе хранения серьги находятся в раскрытом положении, и тем самым пружины находятся в сжатом состоянии под нагрузкой, следовательно, возможна их релаксация.
Задача, решаемая изобретением, заключается в повышение надежности, повышении срока службы, расширении технологических возможностей и обеспечении техники безопасности.
Решение данной задачи согласно изобретению заключается в создании условий хранения устройства для дистанционного навешивания груза на двурогий крюк крана со сведенными серьгами, то есть с минимально возможными усилиями сжатия пружин.
Для решения указанной задачи предлагается устройство для дистанционного навешивания груза на двурогий крюк крана, содержащее корпус, в котором посредством осей закреплены серьги, опорную для крюка плиту, установленную подвижно относительно корпуса в вертикальной плоскости и кинематически связанную с серьгами посредством роликов, закрепленных на боковых сторонах серег и размещенных в горизонтальных пазах опорной плиты, фиксирующую втулку положения опорной плиты, снабженное закрепленными на корпусе стержнями, расположенными в вертикальных направляющих опорной плиты, и пружинами, размещенными в направляющих и охватывающими упомянутые стержни, а также сигнализатором положения крюка, согласно изобретению в горизонтальные пазы опорной плиты установлены регулируемые упоры с возможностью ограничения перемещения роликов и возможностью ограничения сближения серег между собой в верхнем (вертикальном) положении, по центру опорной плиты установлен подпружиненный вертикальный стержень, кинематически связанный с другим вертикальным стержнем, а через него с конечными выключателями, сигнализирующими о положении крюка, платформы и серег. На опорной плите выполнены четыре вертикальные направляющие стержня с возможностью ограничения местоположения крюка крана как в рабочем положении, так и с повернутым крюком крана на 90°.
Желательно компенсатор изготовить в виде втулки, внутренний диаметр которой выполнить с возможностью использования как опоры, так и направляющей для верхней части направляющего стержня пружин.
Предпочтительно пружины, размещенные в направляющих и охватывающие вертикальные стержни, тарировать, и их жесткость сбалансировать с усилием, действующим на них, серег через опорную плиту с некоторым равным запасом на всем пути перемещения.
При использовании предлагаемого изобретения могут проявиться, в частности, следующие технические результаты:
– обеспечение минимально возможных усилий сжатия пружин в процессе хранения;
– ограничение местоположения крюка крана на опорной плите;
– гашение удара при опускании крюка крана в крайнее нижнее положение;
– ограничение сближения серег между собой в верхнем (вертикальном) положении.
Технический результат заявляемого изобретения достигается тем, что пружины устройства тарируют и их жесткость балансируют с усилием, действующим на них, серег через опорную плиту с некоторым равным запасом на всем пути перемещения, что приводит к увеличению надежности и срока службы устройства.
Для повышения надежности работы стержни на опорной плите выполняют с фланцем с глухим концентрическим отверстием под компенсатор в виде втулки, внутренний диаметр которой служит опорой и направляющей для верхней части направляющего стержня пружин.
Для обеспечения техники безопасности ограничивают сближение серег между собой в верхнем (вертикальном) положении тем, что устанавливают регулируемые упоры в горизонтальных пазах опорной плиты для роликов, установленных на серьгах, кроме того, на верхнюю поверхность опорной плиты устанавливают вертикальные стержни для ограничения местоположения крюка крана как в рабочем положении, так и с повернутым крюком крана на 90°, одновременно на верхней поверхности опорной плиты устанавливают подпружиненный стержень, кинематически связанный с другим вертикальным стержнем, а через него с конечными выключателями, сигнализирующими как о положении крюка и платформы, так и о положении серег.
Заявляемое изобретение поясняется чертежами, представленными на фиг.1-3:
фиг.1. – общий вид устройства;
фиг.2. – разрез по А-А (фиг.1);
фиг.3. – развертка пазов поверхности фиксирующей втулки (фиг.1).
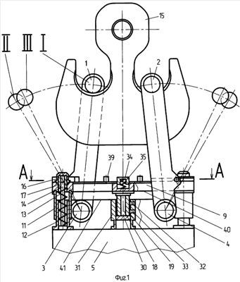
Устройство для дистанционного навешивания груза на двурогий крюк крана содержит (фиг.1) серьги 1 и 2, подвижно насаженные на оси 3 и 4, которые неподвижно закреплены в корпусе 5. На серьгах 1 и 2 установлены ролики 6 (фиг.2) с некоторым смещением оси относительно оси симметрии серьги с возможностью создания опрокидывающего момента.
Серьги 1 и 2 роликами 6 соединены посредством горизонтальных пазов 7 (фиг.2), выполненных в выступах 8 опорной плиты 9.
Для ограничения сближения серег 1 и 2 в верхнем положении в горизонтальные пазы 7 установлены регулируемые упоры 10 (фиг.2), ограничивающие перемещение роликов 6. К нижней поверхности опорной плиты 9 закреплены две полые направляющие 11, скользящие по двум направляющим стойкам 12, закрепленным на корпусе 5.
В направляющих стойках 12 установлены пружины 13, выполненные тарированными, например тарельчатые, с направляющими стержнями 14, установленными и закрепленными неподвижно в стойках 12 с возможностью подъема серег 1 и 2 через опорную плиту 9 в вертикальное положение и гашения удара при опускании крюка 15 крана в крайнее нижнее положение, что способствует обеспечению улучшения техники безопасности, увеличению надежности и срока службы устройства.
На верхней поверхности опорной плиты 9 (фиг.1) соосно направляющим стержням 14 установлены неподвижно фланцы 16 с концентричными глухими отверстиями и размещенными в них компенсаторами 17, выполненными в форме втулки. При этом наружная поверхность фланца 16 исполнена с возможностью ограничения местоположения крюка 15 крана на опорной плите 9 в продольном направлении, а внутренний диаметр компенсатора 17 выполнен направляющей для верхней части направляющего стержня 14, что позволяет расширить технологические возможности устройства.
По оси симметрии к опорной плите 9 закреплены палец 18 со свободно вращающейся фиксирующей втулкой 19, имеющей кольцевую канавку 20 (фиг.3), в стенках 21 которой выполнены смещенные друг относительно друга равномерно глухие пазы 22, 23, 24 с торцем (поверхностью) 25, одни стороны (поверхности) 26 которых расположены перпендикулярно, а другие стороны (поверхности) 27 – под острым углом к стенке канавки 20. Пазы 22, 23, 24 выполнены с одинаковыми сторонами 27 и одинаковой шириной, но различны по длине за счет дополнительных прямых участков 28. В нижней части фиксирующей втулки 19 выполнены продольные пазы 29, соосные пазам 22, 23, 24 (фиг.3).
Палец 18, со свободно вращающейся фиксирующей втулкой 19 и неподвижно установленным на нем кольцом с поверхностью 30, выполнен с возможностью скольжения поверхностью 30 в полой направляющей 31, закрепленной на корпусе 5 (фиг.1).
Полая направляющая 31 изготовлена с пальцем 32, взаимодействующим с пазами 22, 23, 24, фиксатором 33, представляющим собой подпружиненный шарик, взаимодействующий поочередно с продольными пазами 29 фиксирующей втулки 19.
Стержень 34 (фиг.2), выступающий над поверхностью опорной плиты 9, выполнен подпружиненным пружиной 35 и соединенным кинематически с ним другим стержнем 36, подвижно закрепленным на опорной плите 9, с возможностью взаимодействия с конечными выключателями 37, 38, 42 и 43, сигнализирующими, что крюк 15 крана на опорной плите 9, опорная плита 9 в крайнем нижнем положении и “скобы разведены/или сведены”. На стержне 36 нанесены также риски для визуального наблюдения за положением опорной плиты 9.
Конечные выключатели 37, 38, 42 и 43 (фиг.2) закреплены на корпусе 5.
На верхней поверхности опорной плиты 9 (фиг.2) установлены четыре вертикальные стержня 39, ограничивающие местоположение крюка 15 крана на опорной плите 9 как в рабочем положении, так и с повернутым на 90° крюком крана.
Устройство для дистанционного навешивания груза на двурогий крюк крана работает следующим образом.
В исходном положении серьги 1 и 2 находятся в крайнем верхнем положении I, ролики 6 касаются регулируемых упоров 10, опорная плита 9 совместно с полой направляющей 11, пальцем 18 с кольцом 30 находятся в крайнем верхнем положении, стержень 34 выступает над поверхностью опорной плиты 9, пружина 35 имеет предварительное поджатие, пружины 13 имеют предварительное поджатие, стержень 36 находится в крайнем верхнем положении, конечные выключатели 37, 38 и 42 отключены, а конечный выключатель 43 сигнализирует, что “скобы сведены”, палец 32 находится в пазу 24, фиксатор 33 находится в пазу 29, соосном с пазом 24.
Устанавливается крюк 15 крана осью симметрии, проходящей через оба его рога, перпендикулярно продольной оси симметрии опорной плиты 9.
При опускании крюка 15 крана на опорную плиту 9 сначала крюк 15 крана проходит между серьгами 1 и 2, затем встает на опорную плиту 9, утапливает стержень 34, сжимает пружину 35, поворачивает стержень 36, включает кулачком стержня 36 конечный выключатель 37, и включается сигнал “крюк на плите”. В случае установки крюка 15 крана на каком-нибудь из стержней 39 стержень 34 не утопится и сигнал о правильной установке крюка 15 крана на опорную плиту 9 не будет получен.
Затем крюк 15 крана под собственным весом продолжит совместно с опорной плитой 9 опускаться вниз до касания нижним торцом 40 опорной плиты 9 верхнего торца 41 корпуса 5. При этом серьги 1 и 2 занимают раскрытое положение II. Стержень 36 примет крайнее нижнее положение, конечный выключатель 38 включается и дает сигнал “крюк внизу”.
Процесс опускания крюка 15 крана прекращен. В данном положении пружины 13 сжаты, полые направляющие 11 находятся в крайнем нижнем положении, палец 18 с фиксирующей втулкой 19 и кольцом 30 находятся в крайнем нижнем положении, палец 32 находится в пазу 23, фиксатор 33 находится в продольном пазу 29, соосном с пазом 23. Причем при опускании фиксирующая втулка 19 совместно с опорной плитой 9, пальцем 18 и кольцом 30, перемещаясь, поворачивается за счет контакта неподвижного пальца 32 с поверхностью 27.
При подъеме крюка 15 крана вместе с ним поднимается и опорная плита 9 на некоторую величину под действием пружин 13, а серьги 1 и 2 занимают положение III. В этом положении серьги раскрыты, пружины 13 сжаты, фиксирующая втулка 19 слегка повернулась за счет контакта поверхности 27 с пальцем 32 и поверхностью 25 паза 22 упирается в палец 32, фиксатор 33 находится в продольном пазу 29, соосном с пазом 22. Стержни 34 и 36 занимают положение, при котором конечные выключатели 37, 38 и 43 отключаются, а конечным выключателем 42 сигнализируют, что “скобы разведены”.
Устройство готово к работе.
Перед применением устройства по прямому назначению крюк 15 крана осью симметрии, проходящей через рога крюка, устанавливается вдоль продольной оси опорной плиты 9, серьги 1 и 2 открыты и занимают положение III. Опорная плита 9 с полыми направляющими 11, пальцем 18 с фиксирующей втулкой 19 и кольцом с поверхностью 30 находятся в нижнем положении. Подпружиненный стержень 34 находится в крайнем верхнем положении, конечные выключатели 37, 38 и 43 отключены, пружины 13 сжаты, палец 32 находится в пазу 22, а стержень 36 находится в положении, при котором конечный выключатель 42 включен и сигнализирует, что “скобы разведены”.
При опускании крюка 15 крана на опорную плиту 9 сначала крюк нижним торцом нажимает и утапливает стержень 34 заподлицо с верхней поверхностью опорной плиты 9, включает конечный выключатель 37 стержнем 36 и дает сигнал “крюк на плите”. Затем крюк 15 крана вместе с опорной плитой 9 опускается вниз до касания нижней поверхностью 40 опорной плиты 9 верхнего торца 41 корпуса 5, стержнем 36 включается конечный выключатель 38 и выдается сигнал “крюк внизу”, и выключается привод перемещением крюка.
В случае установки крюка 15 крана на какой-нибудь из стержней 39 или фланцев 16 стержень 34 не утопится, не включится конечный выключатель 37, не даст сигнал “крюк на плите” и процесс опускания прекратится. В крайнем нижнем положении опорной плиты 9 фиксирующая втулка 19 несколько повернется, войдет пазом 23 в контакт с пальцем 32, а фиксатор 33 перейдет из одного паза 29 в другой напротив паза 23 и зафиксирует втулку 19 от несанкционированного проворота.
При подъеме крюка 15 крана вверх под действием пружин 13 опорная плита 9 перемещается вверх, и нижними поверхностями горизонтальных пазов 7 воздействует на ролики 6 и заставляет их катиться и подниматься совместно с серьгами 1 и 2 вверх. Серьги 1 и 2 занимают рабочее положение I, опорная плита 9 займет крайнее верхнее положение, пружины 13 будут иметь предварительное поджатие и удерживать опорную плиту 9 с серьгами 1 и 2 в крайнем верхнем положении.
При подъеме крюка 15 крана совместно с опорной плитой 9 сначала выйдет стержень 36 из контакта с конечным выключателем 38 и конечный выключатель отключится, фиксирующая втулка 19, скользя поверхностью 26 паза 23, выйдет из контакта торцом 25 с пальцем 32 и войдет в контакт с ним поверхностью 27 паза 24. Затем фиксирующая втулка 19 повернется на некоторый угол и будет скользить по прямому участку 28 паза 24. Фиксатор 33 займет место в другом продольном пазу 29 напротив паза 24.
При дальнейшем подъеме крюка 15 крана с опорной плитой 9 стержень 36 поднимается вверх, включается сигнал конечного выключателя 43, сигнализирующего, что “скобы сведены”.
При съеме крюка 15 крана с опорной плиты 9 под действием пружины 35 освобождается и отключается конечный выключатель 37, выключается сигнал “крюк на плите”.
При дальнейшем подъеме крюк 15 крана входит в контакт с серьгами 1 и 2. В дальнейшем происходит подъем груза (изделия) и его транспортирование с помощью крана.
При снятии серег 1 и 2 крюк 15 крана опускается вниз до соприкосновения с верхней поверхностью опорной плиты 9, нажимает на стержень 34, срабатывает конечный выключатель 37 и дает сигнал “крюк на плите”.
Затем крюк 15 крана совместно с опорной плитой 9 опускается вниз до упора нижней поверхностью 40 опорной плиты 9 в верхний торец 41 корпуса 5, и под действием стержня 36 срабатывает конечный выключатель 38 и подается сигнал “крюк внизу”.
Процесс опускания крюка прекращается.
При этом фиксирующая втулка 19 прямым участком 28 паза 24 скользит по пальцу 32 и при крайнем нижнем положении при входе в паз 23, касаясь поверхностью 27, поворачивается на некоторый угол, и палец 32 входит в паз 23. Фиксатор 33 перейдет из одного продольного паза 29 в другой, расположенный напротив паза 23. Серьги 1 и 2 раскрыты на наибольший угол.
Затем крюк 15 крана поднимается вверх и выходит из пределов серег 1 и 2, стержень 36 выходит из контакта с конечными выключателями 37, 38 и 43 и входит в контакт с конечным выключателем 42, сигнализирующим, что “скобы разведены”, при этом палец 18 с фиксирующей втулкой 19 слегка поднимается вверх и фиксирующая втулка 19 поверхностью 27 коснется пальца 32, слегка повернется и войдет пазом 22 в контакт с пальцем 32, и зафиксирует серьги 1 и 2 в раскрытом положении III.
При установке изделия на длительное хранение действия повторяются в том же порядке, что и при приведении устройства в рабочее положение.
Формула изобретения
1. Устройство для дистанционного навешивания груза на двурогий крюк крана, содержащее корпус, в котором посредством осей закреплены серьги, опорную для крюка плиту, установленную подвижно относительно корпуса в вертикальной плоскости и кинематически связанную с серьгами посредством роликов, закрепленных на боковых сторонах серег и размещенных в горизонтальных пазах опорной плиты, фиксирующую втулку положения опорной плиты, снабженное закрепленными на корпусе стержнями, расположенными в вертикальных направляющих опорной плиты, и пружинами, размещенными в направляющих и охватывающими упомянутые стержни, а также сигнализатором положения крюка, отличающееся тем, что в горизонтальные пазы опорной плиты установлены регулируемые упоры с возможностью ограничения перемещения роликов и с возможностью ограничения сближения серег между собой в верхнем (вертикальном) положении, на верхней поверхности опорной плиты установлен подпружиненный вертикальный стержень, кинематически связанный с другим вертикальным стержнем, а через него с сигнализаторами положения серег, в центральной части опорной плиты выполнены четыре стержня, ограничивающие местоположение крюка крана как в рабочем положении, так и с повернутым крюком крана на 90°.
2. Устройство по п.1, отличающееся тем, что компенсатор изготовлен в виде втулки, внутренний диаметр которой выполнен с возможностью использования как опоры, так и направляющей для верхней части направляющего стержня пружин.
3. Устройство по п.1, отличающееся тем, что пружины, размещенные в направляющих и охватывающие вертикальные стержни, тарированы и их жесткость сбалансирована с усилием действующих на них серег через опорную плиту с некоторым равным запасом на всем пути перемещения.
РИСУНКИ
PD4A – Изменение наименования обладателя патента СССР или патента Российской Федерации на изобретение
(73) Новое наименование патентообладателя:
Открытое акционерное общество «Центральное конструкторское бюро машиностроения» (RU)
Адрес для переписки:
195112, Санкт-Петербург, Красногвардейская пл., 3, ОАО «ЦКБМ», В.А. Никитину
Извещение опубликовано: 20.01.2009 БИ: 02/2009
|
|