|
|
(21), (22) Заявка: 2007124501/11, 29.06.2007
(24) Дата начала отсчета срока действия патента:
29.06.2007
(46) Опубликовано: 10.10.2008
(56) Список документов, цитированных в отчете о поиске:
RU 2294849 С2, 10.03.2007. RU 2148503 C1, 10.05.2000. RU 2269707 C1, 10.02.2006. DE 3821290 A, 28.12.1989.
Адрес для переписки:
107023, Москва, ул. Б. Семеновская, 38, МГТУ “МАМИ”, ОИПС
|
(72) Автор(ы):
Городецкий Константин Исаакович (RU), Шарипов Валерий Мирхитович (RU)
(73) Патентообладатель(и):
Государственное образовательное учреждение высшего профессионального образования Московский государственный технический университет “МАМИ” (RU)
|
(54) ГИДРОМЕХАНИЧЕСКАЯ ТРАНСМИССИЯ
(57) Реферат:
Изобретение относится к области транспортного машиностроения. Приводной вал трансмиссии связан с двигателем, а выходной вал – с движителем транспортного средства. Объемная гидромеханическая передача содержит трехзвенный дифференциальный механизм и объемный гидропривод с двумя гидравлическими связанными между собой гидромашинами. Одна из гидромашин выполнена регулируемой и связана с приводным валом, а другая – нерегулируемой и связана с дифференциальным механизмом. Трансмиссия снабжена дополнительной ступенчатой механической передачей, встроенной параллельно объемной гидромеханической передаче и связывающей напрямую приводной вал с выходным. Объемная гидромеханическая передача и дополнительная ступенчатая механическая передача включаются в работу попеременно управляющим устройством, например переключаемой муфтой, функционально связанной с муфтой и тормозом, которыми снабжено одно из звеньев дифференциала. Достигается упрощение кинематики передачи энергии от двигателя на выходной вал, снижается рабочий объем гидромашин и расход топлива, повышается КПД трансмиссии. 2 ил.
Изобретение относится к области транспортного машиностроения, в частности тракторостроения, и предназначено для трансмиссий тракторов различного назначения, например сельскохозяйственных, или аналогичных им транспортно-тяговых машин.
Известна гидромеханическая трансмиссия транспортного средства, имеющая приводной вал, связанный с двигателем, и выходной вал, связанный с движителем, а также объемную гидромеханическую передачу, выполненную с двумя регулируемыми гидромашинами и содержащую четырехзвенный планетарный механизм, управляемые муфты и зубчатые передачи (RU 2096672, 1997 г.). Трансмиссия обеспечивает бесступенчатое регулирование передаточного отношения с двухпоточной передачей мощности. Применение двух регулируемых гидромашин и удвоенного числа звеньев дифференциала усложняет ее конструктивно, т.к. требует системы одновременного управления синхронизаторами, а также предохраняющего автоматического управления отключением при перегрузках и т.п.
Известна гидромеханическая трансмиссия транспортного средства (RU 2238457, 2004 г.) с объемной гидромеханической передачей, одна гидромашина которой регулируемая, другая – нерегулируемая, а механическая часть передачи выполнена в виде двух трехзвенных дифференциалов. Трансмиссия работает как полнопоточная и двухпоточная с дифференциалом на выходе.
Использование этих аналогов оправдано, в основном, в машинах, функционально близких к автомобилям, большая часть работы которых происходит преимущественно на относительно высоких скоростях, т.к. конструктивное усложнение в них обусловлено целесообразным разделением общего диапазона на несколько поддиапазонов.
Наиболее близким аналогом (прототипом) изобретения по числу совпадающих существенных признаков является гидромеханическая трансмиссия тягово-транспортной гусеничной машины (RU 2294849, 2007 г.), содержащая корпус, приводной вал, связанный с двигателем, выходной вал, связанный с движителем, двухпоточную объемную гидромеханическую передачу с двумя трехзвенными дифференциальными механизмами и объемным гидроприводом с двумя гидравлически связанными между собой гидромашинами, одна из которых выполнена регулируемой и связана с приводным валом, а другая – нерегулируемая и связана с солнечной шестерней первого дифференциала. Эпициклические шестерни обоих дифференциалов выполнены с блокировкой на корпус и с помощью муфт и шестеренчатых передач связаны с приводным валом. Водило второго дифференциала кинематически связано с солнечной шестерней первого дифференциала и через реверс и промежуточный вал кинематически связано с выходным валом.
К недостаткам прототипа следует отнести насыщенность устройства кинематическими узлами и связями, усложняющую его конструктивное решение и обуславливающую снижение КПД машины; необходимость использования гидромашин с завышенным рабочим объемом, рассчитанным на все диапазоны скоростей, как рабочих, так и транспортных.
Задача, реализуемая изобретением, направлена на повышение экономической эффективности трансмиссии и, соответственно, транспортного средства.
Технический результат от использования изобретения состоит в уменьшении рабочего объема гидромашин, упрощении конструктивных связей, повышении КПД путем снижения абсолютных потерь.
Технический результат достигается тем, что гидромеханическая трансмиссия, содержащая корпус, приводной вал, связанный с двигателем, выходной вал, связанный с движителем, двухпоточную объемную гидромеханическую передачу с трехзвенным дифференциальным механизмом, одно звено которого через муфту и шестеренчатую передачу связано с приводным валом и снабжено тормозом для блокировки на корпус, а другое связано с выходным валом, и объемным гидроприводом с двумя гидравлически связанными между собой гидромашинами, одна из которых выполнена регулируемой и связана с приводным валом, а другая – нерегулируемой и связана с третьим звеном дифференциального механизма, согласно изобретению, выполнена с возможностью выборочного отключения объемной гидромеханической передачи и имеет дополнительную механическую передачу, по меньшей мере одноступенчатую, встроенную параллельно объемной гидромеханической передаче и связывающую напрямую выходной вал с приводным, а также управляющее устройство, например, в виде переключаемой муфты, функционально сблокированной с упомянутыми тормозом и муфтой одного из звеньев дифференциала так, что при ее включении объемная гидромеханическая передача отключена посредством этих тормоза и муфты, и передача мощности от двигателя на выходной вал осуществляется через ступенчатую дополнительную механическую передачу.
Для тракторов и подобных им тягово-транспортных машин в отличие от автомобилей характерны такие режимы работы, когда наибольшее время работы происходит на скоростях не более 13-15 км/ч (основной диапазон рабочих скоростей), и определенный поток мощности, например, в сельскохозяйственных тракторах идет на работу навесного орудия. При этом транспортные скорости составляют дополнительный не основной диапазон. Поэтому целесообразно обеспечение бесступенчатого регулирования скорости объемной гидромеханической передачей осуществлять в основном рабочем диапазоне, а для регулирования транспортных скоростей использовать дополнительную механическую ступенчатую передачу, что и составляет сущность предлагаемого решения. Это позволяет уменьшить рабочий объем гидромашин, избежать конструктивного усложнения трансмиссии за счет сокращения кинематических связей и узлов.
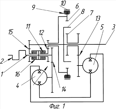
Изобретение проиллюстрировано чертежами, где на фиг.1 приведена кинематическая схема трансмиссии с одноступенчатой дополнительной механической передачей (пример); на фиг.2 – то же с многоступенчатой передачей.
Трансмиссия содержит приводной вал 1, связанный с двигателем 2, выходной вал 3, связанный с движителем транспортного средства (на представленных чертежах условно не показан), объемную гидромеханическую передачу, содержащую объемный гидропривод с двумя гидравлически связанными между собой гидромашинами: регулируемой 4 и нерегулируемой 5 и трехзвенный дифференциальный механизм с коронной шестерней 6, солнечной шестерней 7 и водилом 8.
Одно из звеньев дифференциала, например в конкретном исполнении (фиг.1 и 2) коронная шестерня 6, имеет тормоз 9 для блокировки на корпус 10 и через муфту 11 и шестеренчатую передачу 12 связано с приводным валом 1. Другое звено дифференциала, в конкретном исполнении водило 8, связано с выходным валом 3, а третье звено, солнечная шестерня 7, через шестеренчатую передачу 13 – с валом нерегулируемой машины 5. Вал регулируемой машины 4 шестеренчатой передачей 14 связан с приводным валом 1.
Трансмиссия содержит также дополнительную механическую передачу 15, одно-, двух- или многоступенчатую, встроенную параллельно основной объемной гидромеханической передаче, и управляющее устройство 16, например, в виде переключаемой муфты, функционально сблокированной с тормозом 9 и муфтой 11. Устройство 16 может быть выполнено и другим каким-либо известным образом.
При выполнении дополнительной механической передачи многоступенчатой (фиг.2) она снабжена, например, шестеренчатыми передачами 17, 18 и муфтами 19, 20.
Работа трансмиссии поясняется на конкретном примере исполнения (фиг.1).
От двигателя 2 энергия передается на приводной вал 1. При отключенных муфтах 11 и 16 и включенном тормозе 9 (заторможенной коронной шестерне 6) энергия с приводного вала 1 на выходной вал 3 передается только через объемный гидропривод. При этом обеспечивается движение транспортного средства (ТС) передним и задним ходом в диапазоне низких скоростей с возможностью остановки ТС. Этот режим является полнопоточным.
Двухпоточный режим обеспечивается при растормаживании коронной шестерни 6 тормозом 9 и включенной муфте 11. Тогда энергия передается двумя потоками: механическим – через дифференциал и гидравлическим – через объемный гидропривод. Эти два потока в дифференциале суммируются и передаются на выходной вал 3. В этом режиме реализуется основной рабочий диапазон скоростей.
Режим транспортных скоростей реализуется включением управляющего устройства 16 – тогда тормозом 9 и муфтой 11 гидропривод с дифференциалом отключаются, и энергия с двигателя 2 передается на выходной вал 3 напрямую через дополнительную ступенчатую механическую передачу.
Таким образом, благодаря разделению функций объемной гидромеханической передачи (работает в основном рабочем режиме) и дополнительной ступенчатой механической передачи (работает в режиме транспортных скоростей) достигнута возможность снижения рабочего объема гидромашин и упрощения кинематики передачи энергии от двигателя на движитель ТС. В результате снижается расход топлива, повышается КПД и эффективность ТС в целом.
Формула изобретения
Гидромеханическая трансмиссия, содержащая корпус, приводной вал, связанный с двигателем, выходной вал, связанный с движителем, двухпоточную объемную гидромеханическую передачу с трехзвенным дифференциальным механизмом, одно из звеньев которого через муфту и шестеренчатую передачу связано с приводным валом и снабжено тормозом для блокировки на корпус, а другое связано с выходным валом, и объемным гидроприводом с двумя гидравлически связанными между собой гидромашинами, одна из которых выполнена регулируемой и связана с приводным валом, а другая – нерегулируемой и связана с третьим звеном дифференциального механизма, отличающаяся тем, что она выполнена с возможностью выборочного отключения объемной гидромеханической передачи и имеет встроенную параллельно последней дополнительную механическую передачу, по меньшей мере одноступенчатую, связывающую напрямую выходной вал с приводным, а также управляющее устройство, например, в виде переключаемой муфты, функционально сблокированной с упомянутыми тормозом и муфтой одного из звеньев дифференциала так, что при ее включении объемная гидромеханическая передача посредством упомянутых муфты и тормоза отключена и передача мощности от двигателя на выходной вал осуществляется через ступенчатую дополнительную механическую передачу.
РИСУНКИ
|
|